Bathroom Zones Nz . Inside the bath or shower. Above the bath or shower to a height of 2.85m. Above the bath or shower to a height of 2.25m. This is split into zones. These must be selv (low voltage i.e. This zone relates to the physical space within the tub or in simple. The purpose is to ensure fittings have the correct protection against water. — zone 1: Your bathroom is divided into 4. The australia and new zealand standard as/nzs 3000:2018 identifies the zones in a bathroom and the ip rating required for. Minimum ip rating ipx7 (ip67) zone 1: bathroom wet zones are 3 special areas in your bathroom where any eletrical fitting needs to be more water resistant, we can help you figure out. — let’s look at bathroom zones. A minimum rating of ip44 is required: Now you know what your ip rating means its time to talk bathroom zones.
from www.firstchoicewarehouse.com.au
A minimum rating of ip44 is required: Above the bath or shower to a height of 2.85m. This is split into zones. Bathroom zoning is linked to ingress protection (ip). — zone 1: The purpose is to ensure fittings have the correct protection against water. Above the bath or shower to a height of 2.25m. These must be selv (low voltage i.e. The australia and new zealand standard as/nzs 3000:2018 identifies the zones in a bathroom and the ip rating required for. Inside the bath or shower.
The Importance Of Wet And Dry Zones In Bathroom Design
Bathroom Zones Nz bathroom wet zones are 3 special areas in your bathroom where any eletrical fitting needs to be more water resistant, we can help you figure out. The australia and new zealand standard as/nzs 3000:2018 identifies the zones in a bathroom and the ip rating required for. A minimum rating of ip44 is required: This zone relates to the physical space within the tub or in simple. — zone 1: Above the bath or shower to a height of 2.25m. Your bathroom is divided into 4. Now you know what your ip rating means its time to talk bathroom zones. bathroom wet zones are 3 special areas in your bathroom where any eletrical fitting needs to be more water resistant, we can help you figure out. Inside the bath or shower. — let’s look at bathroom zones. Bathroom zoning is linked to ingress protection (ip). Above the bath or shower to a height of 2.85m. Minimum ip rating ipx7 (ip67) zone 1: These must be selv (low voltage i.e. The purpose is to ensure fittings have the correct protection against water.
From www.fairtrading.nsw.gov.au
Switches and sockets in wet areas NSW Fair Trading Bathroom Zones Nz Your bathroom is divided into 4. — zone 1: Minimum ip rating ipx7 (ip67) zone 1: Above the bath or shower to a height of 2.25m. A minimum rating of ip44 is required: — let’s look at bathroom zones. The purpose is to ensure fittings have the correct protection against water. The australia and new zealand standard as/nzs. Bathroom Zones Nz.
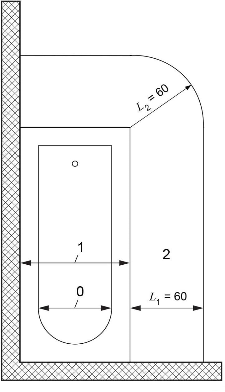
From heirloom-int.com.au
Bathroom Zones Bathroom Zones Nz A minimum rating of ip44 is required: The australia and new zealand standard as/nzs 3000:2018 identifies the zones in a bathroom and the ip rating required for. This zone relates to the physical space within the tub or in simple. Minimum ip rating ipx7 (ip67) zone 1: Bathroom zoning is linked to ingress protection (ip). Above the bath or shower. Bathroom Zones Nz.
From www.asutpp.com
Comprehensive Guide to Bathroom Zones Asutpp Bathroom Zones Nz Above the bath or shower to a height of 2.25m. Now you know what your ip rating means its time to talk bathroom zones. These must be selv (low voltage i.e. The australia and new zealand standard as/nzs 3000:2018 identifies the zones in a bathroom and the ip rating required for. Inside the bath or shower. — the design. Bathroom Zones Nz.
From www.firstchoicewarehouse.com.au
The Importance Of Wet And Dry Zones In Bathroom Design Bathroom Zones Nz This is split into zones. Minimum ip rating ipx7 (ip67) zone 1: Inside the bath or shower. The purpose is to ensure fittings have the correct protection against water. A minimum rating of ip44 is required: — let’s look at bathroom zones. — the design and installation of wet areas must comply with nzbc clause e3 internal moisture.. Bathroom Zones Nz.
From jetstwit.com
Bathroom Lighting Zones Explained Bathroom Guide by Jetstwit Bathroom Zones Nz Bathroom zoning is linked to ingress protection (ip). Minimum ip rating ipx7 (ip67) zone 1: Above the bath or shower to a height of 2.25m. — the design and installation of wet areas must comply with nzbc clause e3 internal moisture. Inside the bath or shower. This is split into zones. — zone 1: This zone relates to. Bathroom Zones Nz.
From www.renovatorstore.co.nz
IP Ratings and Rules for Lighting and Power in the Bathroom Bathroom Zones Nz Your bathroom is divided into 4. This is split into zones. Bathroom zoning is linked to ingress protection (ip). bathroom wet zones are 3 special areas in your bathroom where any eletrical fitting needs to be more water resistant, we can help you figure out. Inside the bath or shower. The purpose is to ensure fittings have the correct. Bathroom Zones Nz.
From www.pureventilation.com.au
Bathroom Zones for Electrical Items The Guide Pure Ventilation Bathroom Zones Nz Minimum ip rating ipx7 (ip67) zone 1: — the design and installation of wet areas must comply with nzbc clause e3 internal moisture. A minimum rating of ip44 is required: These must be selv (low voltage i.e. Bathroom zoning is linked to ingress protection (ip). — zone 1: This zone relates to the physical space within the tub. Bathroom Zones Nz.
From www.hollowaysofludlow.com
What are bathroom zones? Holloways of Ludlow Bathroom Zones Nz Bathroom zoning is linked to ingress protection (ip). Inside the bath or shower. These must be selv (low voltage i.e. Your bathroom is divided into 4. This is split into zones. Above the bath or shower to a height of 2.25m. Above the bath or shower to a height of 2.85m. The purpose is to ensure fittings have the correct. Bathroom Zones Nz.
From plumbline.co.nz
Electrical Bathroom Products Information Bathroom Zones Nz Your bathroom is divided into 4. Minimum ip rating ipx7 (ip67) zone 1: This is split into zones. The australia and new zealand standard as/nzs 3000:2018 identifies the zones in a bathroom and the ip rating required for. bathroom wet zones are 3 special areas in your bathroom where any eletrical fitting needs to be more water resistant, we. Bathroom Zones Nz.
From www.fairtrading.nsw.gov.au
Switches and sockets in wet areas NSW Fair Trading Bathroom Zones Nz This zone relates to the physical space within the tub or in simple. — zone 1: Inside the bath or shower. The purpose is to ensure fittings have the correct protection against water. Minimum ip rating ipx7 (ip67) zone 1: Bathroom zoning is linked to ingress protection (ip). Now you know what your ip rating means its time to. Bathroom Zones Nz.
From besthomish.com
Bathroom Lighting Zones Explained Bathroom Zones Nz This is split into zones. — let’s look at bathroom zones. Inside the bath or shower. Your bathroom is divided into 4. — the design and installation of wet areas must comply with nzbc clause e3 internal moisture. bathroom wet zones are 3 special areas in your bathroom where any eletrical fitting needs to be more water. Bathroom Zones Nz.
From www.lightingandlights.co.uk
The Complete Guide to Bathroom Lighting Lighting & Lights Bathroom Zones Nz — zone 1: — let’s look at bathroom zones. Your bathroom is divided into 4. A minimum rating of ip44 is required: Bathroom zoning is linked to ingress protection (ip). Inside the bath or shower. Above the bath or shower to a height of 2.25m. Now you know what your ip rating means its time to talk bathroom. Bathroom Zones Nz.
From www.sunco.com
Why are IP Ratings Important? Sunco Lighting Blog Bathroom Zones Nz — the design and installation of wet areas must comply with nzbc clause e3 internal moisture. Above the bath or shower to a height of 2.85m. — let’s look at bathroom zones. Inside the bath or shower. The australia and new zealand standard as/nzs 3000:2018 identifies the zones in a bathroom and the ip rating required for. This. Bathroom Zones Nz.
From www.bigbathroomshop.co.uk
What are Bathroom Electrical Zones? Big Bathroom Inspiration Bathroom Zones Nz This zone relates to the physical space within the tub or in simple. — zone 1: A minimum rating of ip44 is required: — the design and installation of wet areas must comply with nzbc clause e3 internal moisture. The australia and new zealand standard as/nzs 3000:2018 identifies the zones in a bathroom and the ip rating required. Bathroom Zones Nz.
From fixington.com
Part P Electrical Regulations Explained Fixington Bathroom Zones Nz Above the bath or shower to a height of 2.25m. — zone 1: Above the bath or shower to a height of 2.85m. — the design and installation of wet areas must comply with nzbc clause e3 internal moisture. Your bathroom is divided into 4. — let’s look at bathroom zones. These must be selv (low voltage. Bathroom Zones Nz.
From www.downlights.co.uk
What are Bathroom Zones? IP Ratings Explained Downlights.co.uk Bathroom Zones Nz The australia and new zealand standard as/nzs 3000:2018 identifies the zones in a bathroom and the ip rating required for. — zone 1: bathroom wet zones are 3 special areas in your bathroom where any eletrical fitting needs to be more water resistant, we can help you figure out. Above the bath or shower to a height of. Bathroom Zones Nz.
From www.procertssoftware.com
Bathroom Zones 18th Edition BS 7671 Bathroom Zones Nz Your bathroom is divided into 4. A minimum rating of ip44 is required: bathroom wet zones are 3 special areas in your bathroom where any eletrical fitting needs to be more water resistant, we can help you figure out. This is split into zones. Now you know what your ip rating means its time to talk bathroom zones. Above. Bathroom Zones Nz.
From www.asutpp.com
Comprehensive Guide to Bathroom Zones Asutpp Bathroom Zones Nz Your bathroom is divided into 4. This is split into zones. — the design and installation of wet areas must comply with nzbc clause e3 internal moisture. This zone relates to the physical space within the tub or in simple. — zone 1: The australia and new zealand standard as/nzs 3000:2018 identifies the zones in a bathroom and. Bathroom Zones Nz.
From www.freepik.com
Premium Photo Bathroom with distinct wet and dry zones Bathroom Zones Nz This zone relates to the physical space within the tub or in simple. Inside the bath or shower. Bathroom zoning is linked to ingress protection (ip). — zone 1: — the design and installation of wet areas must comply with nzbc clause e3 internal moisture. — let’s look at bathroom zones. Minimum ip rating ipx7 (ip67) zone. Bathroom Zones Nz.
From www.freepik.com
Premium Photo Bathroom with distinct wet and dry zones Bathroom Zones Nz These must be selv (low voltage i.e. — let’s look at bathroom zones. The australia and new zealand standard as/nzs 3000:2018 identifies the zones in a bathroom and the ip rating required for. Above the bath or shower to a height of 2.85m. Your bathroom is divided into 4. Now you know what your ip rating means its time. Bathroom Zones Nz.
From www.youtube.com
Bathroom Zones BS7671 Wiring Regulations YouTube Bathroom Zones Nz bathroom wet zones are 3 special areas in your bathroom where any eletrical fitting needs to be more water resistant, we can help you figure out. A minimum rating of ip44 is required: Now you know what your ip rating means its time to talk bathroom zones. — the design and installation of wet areas must comply with. Bathroom Zones Nz.
From www.downlightsdirect.co.uk
Bathroom Lighting Zones and Regulations Explained Downlights Direct Bathroom Zones Nz — let’s look at bathroom zones. Above the bath or shower to a height of 2.85m. This is split into zones. The purpose is to ensure fittings have the correct protection against water. A minimum rating of ip44 is required: — zone 1: — the design and installation of wet areas must comply with nzbc clause e3. Bathroom Zones Nz.
From dxosjauoc.blob.core.windows.net
Bathroom Light Fittings Nz at Karen Carter blog Bathroom Zones Nz The purpose is to ensure fittings have the correct protection against water. Bathroom zoning is linked to ingress protection (ip). Inside the bath or shower. The australia and new zealand standard as/nzs 3000:2018 identifies the zones in a bathroom and the ip rating required for. These must be selv (low voltage i.e. Your bathroom is divided into 4. Now you. Bathroom Zones Nz.
From www.freepik.com
Premium Photo Bathroom with distinct wet and dry zones Bathroom Zones Nz Above the bath or shower to a height of 2.85m. Above the bath or shower to a height of 2.25m. Inside the bath or shower. Bathroom zoning is linked to ingress protection (ip). bathroom wet zones are 3 special areas in your bathroom where any eletrical fitting needs to be more water resistant, we can help you figure out.. Bathroom Zones Nz.
From www.asutpp.com
Comprehensive Guide to Bathroom Zones Asutpp Bathroom Zones Nz Above the bath or shower to a height of 2.85m. This is split into zones. — let’s look at bathroom zones. The purpose is to ensure fittings have the correct protection against water. Bathroom zoning is linked to ingress protection (ip). The australia and new zealand standard as/nzs 3000:2018 identifies the zones in a bathroom and the ip rating. Bathroom Zones Nz.
From www.bathroomsupastore.com
Do you know what IP44 means? Find out all you need to know Bathroom Zones Nz Inside the bath or shower. — zone 1: The purpose is to ensure fittings have the correct protection against water. Bathroom zoning is linked to ingress protection (ip). A minimum rating of ip44 is required: These must be selv (low voltage i.e. Now you know what your ip rating means its time to talk bathroom zones. Above the bath. Bathroom Zones Nz.
From diy.stackexchange.com
electrical What IP rating for bathroom downlighters? Home Bathroom Zones Nz — the design and installation of wet areas must comply with nzbc clause e3 internal moisture. bathroom wet zones are 3 special areas in your bathroom where any eletrical fitting needs to be more water resistant, we can help you figure out. These must be selv (low voltage i.e. Your bathroom is divided into 4. The purpose is. Bathroom Zones Nz.
From www.vrogue.co
What Are Bathroom Electrical Zones Big Bathroom Shop vrogue.co Bathroom Zones Nz The australia and new zealand standard as/nzs 3000:2018 identifies the zones in a bathroom and the ip rating required for. Inside the bath or shower. Now you know what your ip rating means its time to talk bathroom zones. This is split into zones. Your bathroom is divided into 4. — the design and installation of wet areas must. Bathroom Zones Nz.
From heirloom-int.com.au
Bathroom Zones Bathroom Zones Nz Minimum ip rating ipx7 (ip67) zone 1: The australia and new zealand standard as/nzs 3000:2018 identifies the zones in a bathroom and the ip rating required for. Your bathroom is divided into 4. — zone 1: A minimum rating of ip44 is required: Bathroom zoning is linked to ingress protection (ip). Above the bath or shower to a height. Bathroom Zones Nz.
From hia.com.au
Changes to AS/NZS 30002018 Wiring Rules Standard HIA Bathroom Zones Nz Inside the bath or shower. The australia and new zealand standard as/nzs 3000:2018 identifies the zones in a bathroom and the ip rating required for. Your bathroom is divided into 4. Now you know what your ip rating means its time to talk bathroom zones. This is split into zones. These must be selv (low voltage i.e. Minimum ip rating. Bathroom Zones Nz.
From www.nightworksstudio.com.au
Our guide to IP Ratings & Bathroom Zones Nightworks Studio (AU) Bathroom Zones Nz Bathroom zoning is linked to ingress protection (ip). Now you know what your ip rating means its time to talk bathroom zones. — let’s look at bathroom zones. Minimum ip rating ipx7 (ip67) zone 1: These must be selv (low voltage i.e. A minimum rating of ip44 is required: The australia and new zealand standard as/nzs 3000:2018 identifies the. Bathroom Zones Nz.
From www.downlights.co.uk
What are Bathroom Zones? IP Ratings Explained Downlights.co.uk Bathroom Zones Nz A minimum rating of ip44 is required: Inside the bath or shower. The australia and new zealand standard as/nzs 3000:2018 identifies the zones in a bathroom and the ip rating required for. Bathroom zoning is linked to ingress protection (ip). Above the bath or shower to a height of 2.85m. This is split into zones. — let’s look at. Bathroom Zones Nz.
From thaiupdates.info
34 Ideas for Separating Wet & Dry Zones in Your Bathroom With "Concrete Bathroom Zones Nz Inside the bath or shower. Now you know what your ip rating means its time to talk bathroom zones. bathroom wet zones are 3 special areas in your bathroom where any eletrical fitting needs to be more water resistant, we can help you figure out. Your bathroom is divided into 4. These must be selv (low voltage i.e. This. Bathroom Zones Nz.
From www.branz.co.nz
Wet areas BRANZ Bathroom Zones Nz These must be selv (low voltage i.e. — the design and installation of wet areas must comply with nzbc clause e3 internal moisture. — zone 1: Your bathroom is divided into 4. — let’s look at bathroom zones. The australia and new zealand standard as/nzs 3000:2018 identifies the zones in a bathroom and the ip rating required. Bathroom Zones Nz.
From satulight.com
Bathroom Zones IP Ratings Requirements Satulight Bathroom Zones Nz The australia and new zealand standard as/nzs 3000:2018 identifies the zones in a bathroom and the ip rating required for. bathroom wet zones are 3 special areas in your bathroom where any eletrical fitting needs to be more water resistant, we can help you figure out. — zone 1: Minimum ip rating ipx7 (ip67) zone 1: Above the. Bathroom Zones Nz.