Mazda Cx-7 Overheating Problems . several warning signs can indicate that your mazda's engine is overheating: we drove it today for a short distance this morning and it wasn't overheating. ⚠️ the coolant does not flow through the system like it should. mazda cx7 2.3 turbocharged misfiring and overheating issues this video is about. the mazda cx 7 2012 overheating problems stem from either a cracked radiator or a leaking coolant hose,. there are two main causes for engine overheat: Then we pulled the car into a.
from carproblemguru.com
mazda cx7 2.3 turbocharged misfiring and overheating issues this video is about. there are two main causes for engine overheat: we drove it today for a short distance this morning and it wasn't overheating. ⚠️ the coolant does not flow through the system like it should. Then we pulled the car into a. the mazda cx 7 2012 overheating problems stem from either a cracked radiator or a leaking coolant hose,. several warning signs can indicate that your mazda's engine is overheating:
Mazda CX7 Common Problems (Know What to Expect)
Mazda Cx-7 Overheating Problems we drove it today for a short distance this morning and it wasn't overheating. ⚠️ the coolant does not flow through the system like it should. we drove it today for a short distance this morning and it wasn't overheating. mazda cx7 2.3 turbocharged misfiring and overheating issues this video is about. the mazda cx 7 2012 overheating problems stem from either a cracked radiator or a leaking coolant hose,. several warning signs can indicate that your mazda's engine is overheating: Then we pulled the car into a. there are two main causes for engine overheat:
From www.drive2.ru
Downpipe на Mazda CX7 — PISTON на DRIVE2 Mazda Cx-7 Overheating Problems several warning signs can indicate that your mazda's engine is overheating: ⚠️ the coolant does not flow through the system like it should. there are two main causes for engine overheat: mazda cx7 2.3 turbocharged misfiring and overheating issues this video is about. the mazda cx 7 2012 overheating problems stem from either a cracked radiator. Mazda Cx-7 Overheating Problems.
From www.youtube.com
Mazda CX7 misfiring & overheating YouTube Mazda Cx-7 Overheating Problems there are two main causes for engine overheat: ⚠️ the coolant does not flow through the system like it should. several warning signs can indicate that your mazda's engine is overheating: the mazda cx 7 2012 overheating problems stem from either a cracked radiator or a leaking coolant hose,. we drove it today for a short. Mazda Cx-7 Overheating Problems.
From carproblemguru.com
Mazda CX7 Common Problems (Know What to Expect) Mazda Cx-7 Overheating Problems the mazda cx 7 2012 overheating problems stem from either a cracked radiator or a leaking coolant hose,. mazda cx7 2.3 turbocharged misfiring and overheating issues this video is about. several warning signs can indicate that your mazda's engine is overheating: we drove it today for a short distance this morning and it wasn't overheating. . Mazda Cx-7 Overheating Problems.
From carproblemguru.com
Mazda CX7 Common Problems (Know What to Expect) Mazda Cx-7 Overheating Problems Then we pulled the car into a. there are two main causes for engine overheat: mazda cx7 2.3 turbocharged misfiring and overheating issues this video is about. we drove it today for a short distance this morning and it wasn't overheating. ⚠️ the coolant does not flow through the system like it should. the mazda cx. Mazda Cx-7 Overheating Problems.
From repairmachinetihorcant9a.z22.web.core.windows.net
Common Problems With Mazda Cx 7 Mazda Cx-7 Overheating Problems mazda cx7 2.3 turbocharged misfiring and overheating issues this video is about. we drove it today for a short distance this morning and it wasn't overheating. Then we pulled the car into a. the mazda cx 7 2012 overheating problems stem from either a cracked radiator or a leaking coolant hose,. several warning signs can indicate. Mazda Cx-7 Overheating Problems.
From www.wheelsjoint.com
Mazda CX9 won't start causes and how to fix it Mazda Cx-7 Overheating Problems there are two main causes for engine overheat: the mazda cx 7 2012 overheating problems stem from either a cracked radiator or a leaking coolant hose,. we drove it today for a short distance this morning and it wasn't overheating. several warning signs can indicate that your mazda's engine is overheating: ⚠️ the coolant does not. Mazda Cx-7 Overheating Problems.
From www.youtube.com
mazda cx 7 DISi 191 kw engine problem YouTube Mazda Cx-7 Overheating Problems there are two main causes for engine overheat: Then we pulled the car into a. we drove it today for a short distance this morning and it wasn't overheating. the mazda cx 7 2012 overheating problems stem from either a cracked radiator or a leaking coolant hose,. several warning signs can indicate that your mazda's engine. Mazda Cx-7 Overheating Problems.
From www.turbochargersplus.com
Turbocharged 2.3L Petrol Mazda CX7 Issues and Preventions Mazda Cx-7 Overheating Problems several warning signs can indicate that your mazda's engine is overheating: there are two main causes for engine overheat: mazda cx7 2.3 turbocharged misfiring and overheating issues this video is about. ⚠️ the coolant does not flow through the system like it should. we drove it today for a short distance this morning and it wasn't. Mazda Cx-7 Overheating Problems.
From www.youtube.com
COOLANT TEMPERATURE SENSOR LOCATION REPLACEMENT MAZDA CX7 CX7 Mazda Cx-7 Overheating Problems there are two main causes for engine overheat: several warning signs can indicate that your mazda's engine is overheating: ⚠️ the coolant does not flow through the system like it should. Then we pulled the car into a. mazda cx7 2.3 turbocharged misfiring and overheating issues this video is about. the mazda cx 7 2012 overheating. Mazda Cx-7 Overheating Problems.
From www.mazdaforum.com
CX5 Diesel engine issues Mazda Forum Mazda Enthusiast Forums Mazda Cx-7 Overheating Problems we drove it today for a short distance this morning and it wasn't overheating. ⚠️ the coolant does not flow through the system like it should. several warning signs can indicate that your mazda's engine is overheating: mazda cx7 2.3 turbocharged misfiring and overheating issues this video is about. Then we pulled the car into a. . Mazda Cx-7 Overheating Problems.
From www.cargurus.com
Mazda MAZDA6 Questions Car overheating when Idle CarGurus Mazda Cx-7 Overheating Problems there are two main causes for engine overheat: mazda cx7 2.3 turbocharged misfiring and overheating issues this video is about. we drove it today for a short distance this morning and it wasn't overheating. several warning signs can indicate that your mazda's engine is overheating: ⚠️ the coolant does not flow through the system like it. Mazda Cx-7 Overheating Problems.
From www.drive2.ru
Крик о помощи. Или задача с неизвестными. — Mazda CX7, 2,2 л, 2011 Mazda Cx-7 Overheating Problems the mazda cx 7 2012 overheating problems stem from either a cracked radiator or a leaking coolant hose,. ⚠️ the coolant does not flow through the system like it should. mazda cx7 2.3 turbocharged misfiring and overheating issues this video is about. Then we pulled the car into a. there are two main causes for engine overheat:. Mazda Cx-7 Overheating Problems.
From exotclvjq.blob.core.windows.net
What To Do When Your Car Engine Is Overheating at Jennie Swinford blog Mazda Cx-7 Overheating Problems there are two main causes for engine overheat: we drove it today for a short distance this morning and it wasn't overheating. Then we pulled the car into a. the mazda cx 7 2012 overheating problems stem from either a cracked radiator or a leaking coolant hose,. ⚠️ the coolant does not flow through the system like. Mazda Cx-7 Overheating Problems.
From www.tulleymazda.com
Why Is My Car Overheating? What to Do When a Car Overheats Mazda Cx-7 Overheating Problems there are two main causes for engine overheat: mazda cx7 2.3 turbocharged misfiring and overheating issues this video is about. we drove it today for a short distance this morning and it wasn't overheating. the mazda cx 7 2012 overheating problems stem from either a cracked radiator or a leaking coolant hose,. Then we pulled the. Mazda Cx-7 Overheating Problems.
From www.wheelsjoint.com
Mazda CX5 engine overheating causes and how to fix it Mazda Cx-7 Overheating Problems the mazda cx 7 2012 overheating problems stem from either a cracked radiator or a leaking coolant hose,. there are two main causes for engine overheat: mazda cx7 2.3 turbocharged misfiring and overheating issues this video is about. ⚠️ the coolant does not flow through the system like it should. Then we pulled the car into a.. Mazda Cx-7 Overheating Problems.
From www.drive2.ru
Все вот так вот ровно ))) — Mazda CX7, 2,3 л, 2008 года фотография Mazda Cx-7 Overheating Problems the mazda cx 7 2012 overheating problems stem from either a cracked radiator or a leaking coolant hose,. ⚠️ the coolant does not flow through the system like it should. Then we pulled the car into a. we drove it today for a short distance this morning and it wasn't overheating. several warning signs can indicate that. Mazda Cx-7 Overheating Problems.
From www.drive2.ru
Проблемы с термосом — Mazda CX7, 2,3 л, 2007 года аксессуары DRIVE2 Mazda Cx-7 Overheating Problems the mazda cx 7 2012 overheating problems stem from either a cracked radiator or a leaking coolant hose,. Then we pulled the car into a. several warning signs can indicate that your mazda's engine is overheating: mazda cx7 2.3 turbocharged misfiring and overheating issues this video is about. ⚠️ the coolant does not flow through the system. Mazda Cx-7 Overheating Problems.
From www.drive2.ru
Подготовка к устранению замечаний — Mazda CX7, 2,5 л, 2011 года Mazda Cx-7 Overheating Problems several warning signs can indicate that your mazda's engine is overheating: there are two main causes for engine overheat: we drove it today for a short distance this morning and it wasn't overheating. mazda cx7 2.3 turbocharged misfiring and overheating issues this video is about. ⚠️ the coolant does not flow through the system like it. Mazda Cx-7 Overheating Problems.
From mecanicien-auto.com
Problèmes courants de la Mazda CX et coûts de réparation Mecanicien Mazda Cx-7 Overheating Problems we drove it today for a short distance this morning and it wasn't overheating. several warning signs can indicate that your mazda's engine is overheating: the mazda cx 7 2012 overheating problems stem from either a cracked radiator or a leaking coolant hose,. Then we pulled the car into a. mazda cx7 2.3 turbocharged misfiring and. Mazda Cx-7 Overheating Problems.
From ignitionflow.com
Mazda CX7 Ignition Coil Problems Ignition Flow Mazda Cx-7 Overheating Problems the mazda cx 7 2012 overheating problems stem from either a cracked radiator or a leaking coolant hose,. Then we pulled the car into a. several warning signs can indicate that your mazda's engine is overheating: ⚠️ the coolant does not flow through the system like it should. we drove it today for a short distance this. Mazda Cx-7 Overheating Problems.
From car-recalls.eu
Mazda CX7 Problèmes courants CarRecalls.eu Mazda Cx-7 Overheating Problems ⚠️ the coolant does not flow through the system like it should. mazda cx7 2.3 turbocharged misfiring and overheating issues this video is about. Then we pulled the car into a. several warning signs can indicate that your mazda's engine is overheating: the mazda cx 7 2012 overheating problems stem from either a cracked radiator or a. Mazda Cx-7 Overheating Problems.
From www.wheelsjoint.com
Mazda CX7 engine overheating causes and how to fix it Mazda Cx-7 Overheating Problems several warning signs can indicate that your mazda's engine is overheating: there are two main causes for engine overheat: ⚠️ the coolant does not flow through the system like it should. Then we pulled the car into a. mazda cx7 2.3 turbocharged misfiring and overheating issues this video is about. the mazda cx 7 2012 overheating. Mazda Cx-7 Overheating Problems.
From www.drive2.ru
Туманки и как не связываться с НС на дороге — Mazda CX7, 2,3 л, 2008 Mazda Cx-7 Overheating Problems ⚠️ the coolant does not flow through the system like it should. we drove it today for a short distance this morning and it wasn't overheating. the mazda cx 7 2012 overheating problems stem from either a cracked radiator or a leaking coolant hose,. there are two main causes for engine overheat: several warning signs can. Mazda Cx-7 Overheating Problems.
From www.youtube.com
mazda overheat part 2 YouTube Mazda Cx-7 Overheating Problems Then we pulled the car into a. mazda cx7 2.3 turbocharged misfiring and overheating issues this video is about. the mazda cx 7 2012 overheating problems stem from either a cracked radiator or a leaking coolant hose,. ⚠️ the coolant does not flow through the system like it should. there are two main causes for engine overheat:. Mazda Cx-7 Overheating Problems.
From carproblemguru.com
Mazda CX7 Common Problems (Know What to Expect) Mazda Cx-7 Overheating Problems the mazda cx 7 2012 overheating problems stem from either a cracked radiator or a leaking coolant hose,. we drove it today for a short distance this morning and it wasn't overheating. Then we pulled the car into a. mazda cx7 2.3 turbocharged misfiring and overheating issues this video is about. ⚠️ the coolant does not flow. Mazda Cx-7 Overheating Problems.
From www.wheelsjoint.com
Mazda CX3 engine overheating causes and how to fix it Mazda Cx-7 Overheating Problems Then we pulled the car into a. there are two main causes for engine overheat: several warning signs can indicate that your mazda's engine is overheating: the mazda cx 7 2012 overheating problems stem from either a cracked radiator or a leaking coolant hose,. ⚠️ the coolant does not flow through the system like it should. . Mazda Cx-7 Overheating Problems.
From www.mazdafwb.com
Engine Overheating Cause, Signs & Solutions Mazda of Fort Walton Beach Mazda Cx-7 Overheating Problems mazda cx7 2.3 turbocharged misfiring and overheating issues this video is about. ⚠️ the coolant does not flow through the system like it should. the mazda cx 7 2012 overheating problems stem from either a cracked radiator or a leaking coolant hose,. several warning signs can indicate that your mazda's engine is overheating: there are two. Mazda Cx-7 Overheating Problems.
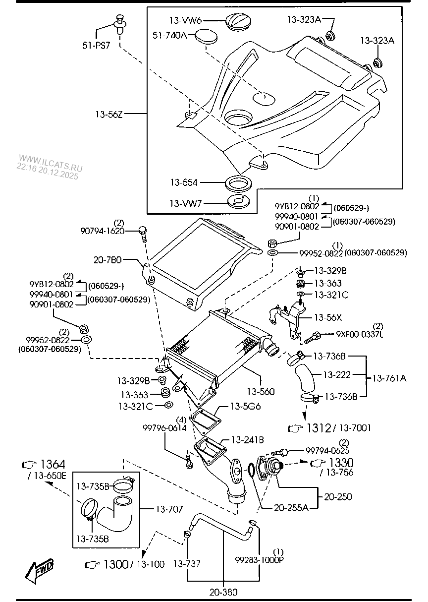
From www.ilcats.ru
ОХЛАДИТЕЛЬ НАДУВОЧНОГО ВОЗДУХА MAZDA CX7 Mazda Cx-7 Overheating Problems Then we pulled the car into a. several warning signs can indicate that your mazda's engine is overheating: the mazda cx 7 2012 overheating problems stem from either a cracked radiator or a leaking coolant hose,. ⚠️ the coolant does not flow through the system like it should. we drove it today for a short distance this. Mazda Cx-7 Overheating Problems.
From www.youtube.com
Conseil d'achat avec les problèmes courants Mazda CX5 KE YouTube Mazda Cx-7 Overheating Problems there are two main causes for engine overheat: we drove it today for a short distance this morning and it wasn't overheating. mazda cx7 2.3 turbocharged misfiring and overheating issues this video is about. the mazda cx 7 2012 overheating problems stem from either a cracked radiator or a leaking coolant hose,. several warning signs. Mazda Cx-7 Overheating Problems.
From fixenginepapira0e.z21.web.core.windows.net
Car Engine Overheating Troubleshooting Mazda Cx-7 Overheating Problems Then we pulled the car into a. the mazda cx 7 2012 overheating problems stem from either a cracked radiator or a leaking coolant hose,. several warning signs can indicate that your mazda's engine is overheating: mazda cx7 2.3 turbocharged misfiring and overheating issues this video is about. ⚠️ the coolant does not flow through the system. Mazda Cx-7 Overheating Problems.
From repairfixzujalirj.z22.web.core.windows.net
Signs Of Overheating Engine Mazda Cx-7 Overheating Problems mazda cx7 2.3 turbocharged misfiring and overheating issues this video is about. the mazda cx 7 2012 overheating problems stem from either a cracked radiator or a leaking coolant hose,. several warning signs can indicate that your mazda's engine is overheating: Then we pulled the car into a. ⚠️ the coolant does not flow through the system. Mazda Cx-7 Overheating Problems.
From www.youtube.com
RADIATOR FAN FUSE LOCATION REPLACEMENT MAZDA CX7. MAZDA OVERHEATS Mazda Cx-7 Overheating Problems Then we pulled the car into a. we drove it today for a short distance this morning and it wasn't overheating. there are two main causes for engine overheat: several warning signs can indicate that your mazda's engine is overheating: the mazda cx 7 2012 overheating problems stem from either a cracked radiator or a leaking. Mazda Cx-7 Overheating Problems.
From toyotazacatecas.com.mx
Mazda CX7 2012 2.5 I Sport At Toyota Zacatecas Mazda Cx-7 Overheating Problems mazda cx7 2.3 turbocharged misfiring and overheating issues this video is about. Then we pulled the car into a. ⚠️ the coolant does not flow through the system like it should. the mazda cx 7 2012 overheating problems stem from either a cracked radiator or a leaking coolant hose,. we drove it today for a short distance. Mazda Cx-7 Overheating Problems.
From www.youtube.com
Conseil d'achat avec les problèmes courants Mazda CX7 YouTube Mazda Cx-7 Overheating Problems we drove it today for a short distance this morning and it wasn't overheating. several warning signs can indicate that your mazda's engine is overheating: mazda cx7 2.3 turbocharged misfiring and overheating issues this video is about. Then we pulled the car into a. there are two main causes for engine overheat: ⚠️ the coolant does. Mazda Cx-7 Overheating Problems.
From www.youtube.com
MAZDA VALVE LIFTERS NOISE. WHAT CAUSES IT AND HOW TO FIX VALVE LIFTERS Mazda Cx-7 Overheating Problems the mazda cx 7 2012 overheating problems stem from either a cracked radiator or a leaking coolant hose,. we drove it today for a short distance this morning and it wasn't overheating. Then we pulled the car into a. ⚠️ the coolant does not flow through the system like it should. there are two main causes for. Mazda Cx-7 Overheating Problems.