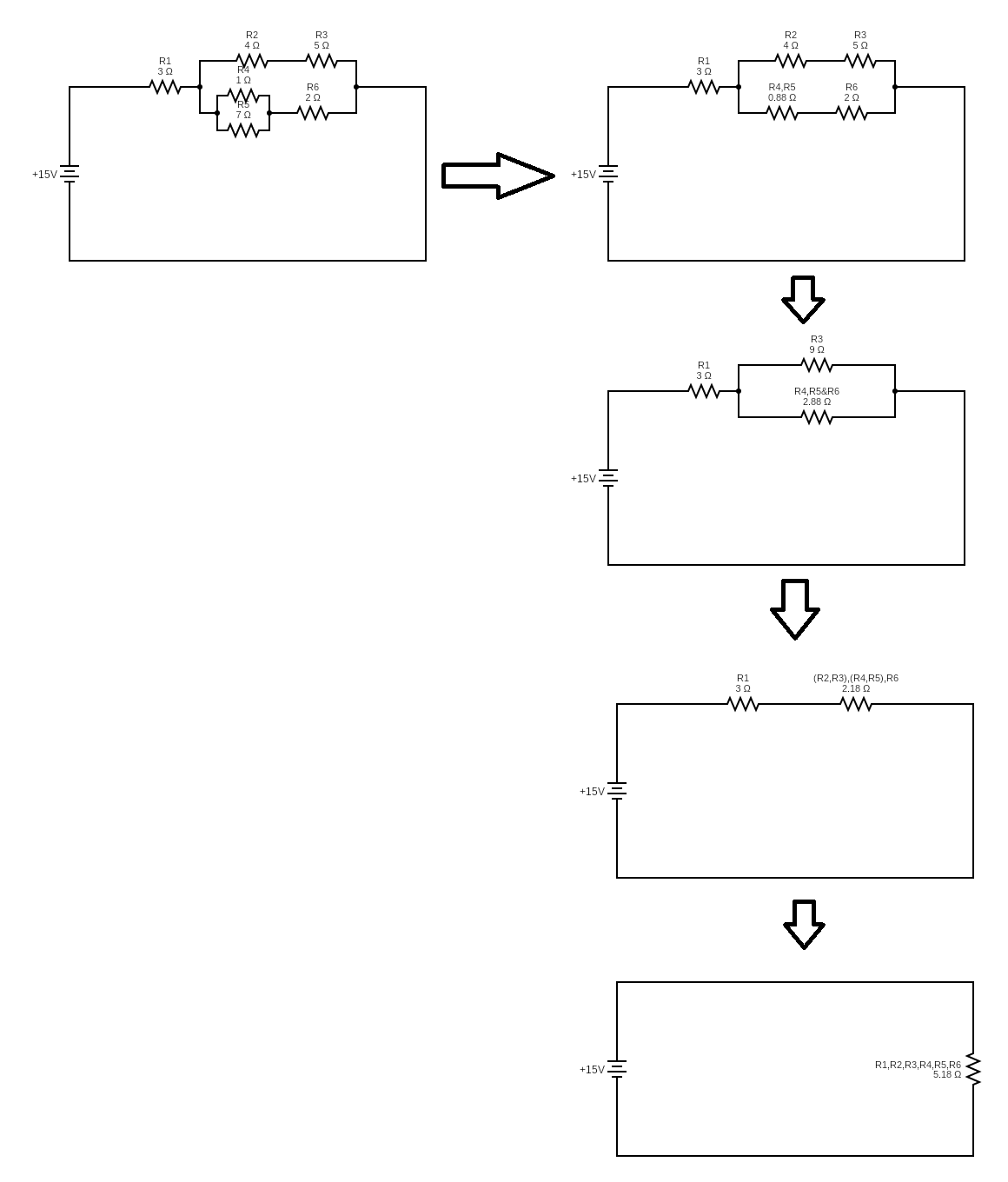
How To Solve Combination Circuit Problems . This physics video tutorial explains how to solve any resistors in series and parallel combination circuit problems. These circuits are called combination circuits. In this video tutorial i show you how to solve for a combination circuit (a circuit that has both series and parallel components). When solving problems with such circuits, use this series of steps. We can calculate the equivalent resistance of these. This tutorial discusses the variety of patterns between resistance, current, and electric potential difference associated with combination circuits. Most circuits are not just a series or parallel circuit; Most have resistors in parallel and in series. A combination circuit is a circuit with both series and parallel resistors. In combination circuits, we can identify sections of circuits in parallel and circuits in series. When solving any combinational resistor circuit that is made up of resistors in series and parallel branches, the first step we need to take is to identify the simple series and parallel resistor branches. Strategies for solving combination circuits.
from manualwiringcole.z19.web.core.windows.net
Most circuits are not just a series or parallel circuit; These circuits are called combination circuits. This physics video tutorial explains how to solve any resistors in series and parallel combination circuit problems. A combination circuit is a circuit with both series and parallel resistors. When solving problems with such circuits, use this series of steps. We can calculate the equivalent resistance of these. In this video tutorial i show you how to solve for a combination circuit (a circuit that has both series and parallel components). In combination circuits, we can identify sections of circuits in parallel and circuits in series. Most have resistors in parallel and in series. When solving any combinational resistor circuit that is made up of resistors in series and parallel branches, the first step we need to take is to identify the simple series and parallel resistor branches.
How To Solve A Series Parallel Combination Circuit
How To Solve Combination Circuit Problems A combination circuit is a circuit with both series and parallel resistors. A combination circuit is a circuit with both series and parallel resistors. Most circuits are not just a series or parallel circuit; This physics video tutorial explains how to solve any resistors in series and parallel combination circuit problems. We can calculate the equivalent resistance of these. In combination circuits, we can identify sections of circuits in parallel and circuits in series. This tutorial discusses the variety of patterns between resistance, current, and electric potential difference associated with combination circuits. Strategies for solving combination circuits. When solving problems with such circuits, use this series of steps. Most have resistors in parallel and in series. In this video tutorial i show you how to solve for a combination circuit (a circuit that has both series and parallel components). These circuits are called combination circuits. When solving any combinational resistor circuit that is made up of resistors in series and parallel branches, the first step we need to take is to identify the simple series and parallel resistor branches.
From guidewiringlori.z21.web.core.windows.net
How To Solve Combination Circuits How To Solve Combination Circuit Problems Most have resistors in parallel and in series. When solving any combinational resistor circuit that is made up of resistors in series and parallel branches, the first step we need to take is to identify the simple series and parallel resistor branches. Most circuits are not just a series or parallel circuit; These circuits are called combination circuits. We can. How To Solve Combination Circuit Problems.
From www.fity.club
How To Solve A Combination Circuit Easy Youtube How To Solve Combination Circuit Problems In combination circuits, we can identify sections of circuits in parallel and circuits in series. These circuits are called combination circuits. When solving any combinational resistor circuit that is made up of resistors in series and parallel branches, the first step we need to take is to identify the simple series and parallel resistor branches. This tutorial discusses the variety. How To Solve Combination Circuit Problems.
From userwiringharvey.z13.web.core.windows.net
How To Solve Combination Circuits How To Solve Combination Circuit Problems Most have resistors in parallel and in series. Most circuits are not just a series or parallel circuit; These circuits are called combination circuits. When solving problems with such circuits, use this series of steps. When solving any combinational resistor circuit that is made up of resistors in series and parallel branches, the first step we need to take is. How To Solve Combination Circuit Problems.
From usermanualroot.z19.web.core.windows.net
How To Solve Combo Circuits How To Solve Combination Circuit Problems When solving any combinational resistor circuit that is made up of resistors in series and parallel branches, the first step we need to take is to identify the simple series and parallel resistor branches. Most circuits are not just a series or parallel circuit; These circuits are called combination circuits. This physics video tutorial explains how to solve any resistors. How To Solve Combination Circuit Problems.
From wiringfixbabybashhunny7z.z21.web.core.windows.net
How To Solve Combination Circuits How To Solve Combination Circuit Problems In combination circuits, we can identify sections of circuits in parallel and circuits in series. This tutorial discusses the variety of patterns between resistance, current, and electric potential difference associated with combination circuits. When solving problems with such circuits, use this series of steps. Strategies for solving combination circuits. Most circuits are not just a series or parallel circuit; A. How To Solve Combination Circuit Problems.
From enginelibraryeva.z13.web.core.windows.net
How To Solve A Series Parallel Combination Circuit How To Solve Combination Circuit Problems In combination circuits, we can identify sections of circuits in parallel and circuits in series. This physics video tutorial explains how to solve any resistors in series and parallel combination circuit problems. A combination circuit is a circuit with both series and parallel resistors. Most have resistors in parallel and in series. Most circuits are not just a series or. How To Solve Combination Circuit Problems.
From wiringfixbabybashhunny7z.z21.web.core.windows.net
How To Solve Combination Circuits How To Solve Combination Circuit Problems Strategies for solving combination circuits. When solving any combinational resistor circuit that is made up of resistors in series and parallel branches, the first step we need to take is to identify the simple series and parallel resistor branches. Most have resistors in parallel and in series. This physics video tutorial explains how to solve any resistors in series and. How To Solve Combination Circuit Problems.
From electronics.stackexchange.com
parallel How to solve combination circuits? Electrical Engineering How To Solve Combination Circuit Problems In combination circuits, we can identify sections of circuits in parallel and circuits in series. In this video tutorial i show you how to solve for a combination circuit (a circuit that has both series and parallel components). This tutorial discusses the variety of patterns between resistance, current, and electric potential difference associated with combination circuits. This physics video tutorial. How To Solve Combination Circuit Problems.
From fity.club
Lesson Combination Circuit Example Hyperelectronic How To Solve Combination Circuit Problems In combination circuits, we can identify sections of circuits in parallel and circuits in series. We can calculate the equivalent resistance of these. Strategies for solving combination circuits. A combination circuit is a circuit with both series and parallel resistors. In this video tutorial i show you how to solve for a combination circuit (a circuit that has both series. How To Solve Combination Circuit Problems.
From circuitpartbaumgartner.z13.web.core.windows.net
How To Solve A Combination Circuit How To Solve Combination Circuit Problems Most circuits are not just a series or parallel circuit; We can calculate the equivalent resistance of these. Most have resistors in parallel and in series. In combination circuits, we can identify sections of circuits in parallel and circuits in series. This tutorial discusses the variety of patterns between resistance, current, and electric potential difference associated with combination circuits. When. How To Solve Combination Circuit Problems.
From fity.club
Combination Circuit Problems Youtube How To Solve Combination Circuit Problems These circuits are called combination circuits. Most circuits are not just a series or parallel circuit; A combination circuit is a circuit with both series and parallel resistors. When solving problems with such circuits, use this series of steps. This physics video tutorial explains how to solve any resistors in series and parallel combination circuit problems. When solving any combinational. How To Solve Combination Circuit Problems.
From learningmagicriegel.z4.web.core.windows.net
How To Solve A Combination Circuit How To Solve Combination Circuit Problems When solving any combinational resistor circuit that is made up of resistors in series and parallel branches, the first step we need to take is to identify the simple series and parallel resistor branches. A combination circuit is a circuit with both series and parallel resistors. Most circuits are not just a series or parallel circuit; In combination circuits, we. How To Solve Combination Circuit Problems.
From wiringfixbelieves.z19.web.core.windows.net
How To Solve Combination Circuits How To Solve Combination Circuit Problems Strategies for solving combination circuits. A combination circuit is a circuit with both series and parallel resistors. Most have resistors in parallel and in series. When solving any combinational resistor circuit that is made up of resistors in series and parallel branches, the first step we need to take is to identify the simple series and parallel resistor branches. This. How To Solve Combination Circuit Problems.
From guidewiringirene.z13.web.core.windows.net
How To Solve Combo Circuits How To Solve Combination Circuit Problems This tutorial discusses the variety of patterns between resistance, current, and electric potential difference associated with combination circuits. In combination circuits, we can identify sections of circuits in parallel and circuits in series. A combination circuit is a circuit with both series and parallel resistors. When solving any combinational resistor circuit that is made up of resistors in series and. How To Solve Combination Circuit Problems.
From usermanualdoggiest.z21.web.core.windows.net
How To Solve Combination Circuits How To Solve Combination Circuit Problems These circuits are called combination circuits. This physics video tutorial explains how to solve any resistors in series and parallel combination circuit problems. Most have resistors in parallel and in series. Strategies for solving combination circuits. When solving problems with such circuits, use this series of steps. Most circuits are not just a series or parallel circuit; When solving any. How To Solve Combination Circuit Problems.
From usermanualcuisines.z13.web.core.windows.net
How To Solve A Combination Circuit How To Solve Combination Circuit Problems In combination circuits, we can identify sections of circuits in parallel and circuits in series. This tutorial discusses the variety of patterns between resistance, current, and electric potential difference associated with combination circuits. When solving any combinational resistor circuit that is made up of resistors in series and parallel branches, the first step we need to take is to identify. How To Solve Combination Circuit Problems.
From userwiringharvey.z13.web.core.windows.net
How To Solve Combination Circuits How To Solve Combination Circuit Problems When solving problems with such circuits, use this series of steps. We can calculate the equivalent resistance of these. In this video tutorial i show you how to solve for a combination circuit (a circuit that has both series and parallel components). In combination circuits, we can identify sections of circuits in parallel and circuits in series. These circuits are. How To Solve Combination Circuit Problems.
From manualwiringcole.z19.web.core.windows.net
How To Solve A Series Parallel Combination Circuit How To Solve Combination Circuit Problems Strategies for solving combination circuits. Most have resistors in parallel and in series. When solving problems with such circuits, use this series of steps. This physics video tutorial explains how to solve any resistors in series and parallel combination circuit problems. In this video tutorial i show you how to solve for a combination circuit (a circuit that has both. How To Solve Combination Circuit Problems.
From learningschoolderrico.z21.web.core.windows.net
Solving A Combination Circuit How To Solve Combination Circuit Problems Most have resistors in parallel and in series. Most circuits are not just a series or parallel circuit; This physics video tutorial explains how to solve any resistors in series and parallel combination circuit problems. In this video tutorial i show you how to solve for a combination circuit (a circuit that has both series and parallel components). When solving. How To Solve Combination Circuit Problems.
From wiringfixbelieves.z19.web.core.windows.net
How To Solve A Combination Circuit How To Solve Combination Circuit Problems Strategies for solving combination circuits. In combination circuits, we can identify sections of circuits in parallel and circuits in series. A combination circuit is a circuit with both series and parallel resistors. These circuits are called combination circuits. In this video tutorial i show you how to solve for a combination circuit (a circuit that has both series and parallel. How To Solve Combination Circuit Problems.
From www.youtube.com
How To Solve Any Circuit Problem With Capacitors In Series and Parallel How To Solve Combination Circuit Problems These circuits are called combination circuits. Most circuits are not just a series or parallel circuit; This tutorial discusses the variety of patterns between resistance, current, and electric potential difference associated with combination circuits. We can calculate the equivalent resistance of these. In this video tutorial i show you how to solve for a combination circuit (a circuit that has. How To Solve Combination Circuit Problems.
From userwiringharvey.z13.web.core.windows.net
How To Solve Combination Circuits How To Solve Combination Circuit Problems Strategies for solving combination circuits. Most have resistors in parallel and in series. These circuits are called combination circuits. When solving any combinational resistor circuit that is made up of resistors in series and parallel branches, the first step we need to take is to identify the simple series and parallel resistor branches. When solving problems with such circuits, use. How To Solve Combination Circuit Problems.
From wiringfixbabybashhunny7z.z21.web.core.windows.net
How To Solve Combination Circuits How To Solve Combination Circuit Problems In combination circuits, we can identify sections of circuits in parallel and circuits in series. Most have resistors in parallel and in series. A combination circuit is a circuit with both series and parallel resistors. We can calculate the equivalent resistance of these. These circuits are called combination circuits. Strategies for solving combination circuits. In this video tutorial i show. How To Solve Combination Circuit Problems.
From userwiringharvey.z13.web.core.windows.net
How To Solve Combination Circuits How To Solve Combination Circuit Problems Strategies for solving combination circuits. This tutorial discusses the variety of patterns between resistance, current, and electric potential difference associated with combination circuits. When solving problems with such circuits, use this series of steps. A combination circuit is a circuit with both series and parallel resistors. In combination circuits, we can identify sections of circuits in parallel and circuits in. How To Solve Combination Circuit Problems.
From www.youtube.com
Solving a Combination Circuit YouTube How To Solve Combination Circuit Problems A combination circuit is a circuit with both series and parallel resistors. When solving problems with such circuits, use this series of steps. In combination circuits, we can identify sections of circuits in parallel and circuits in series. These circuits are called combination circuits. We can calculate the equivalent resistance of these. Most circuits are not just a series or. How To Solve Combination Circuit Problems.
From www.youtube.com
Combination Circuits Calculating Currents and Voltages YouTube How To Solve Combination Circuit Problems This tutorial discusses the variety of patterns between resistance, current, and electric potential difference associated with combination circuits. Most have resistors in parallel and in series. A combination circuit is a circuit with both series and parallel resistors. These circuits are called combination circuits. When solving problems with such circuits, use this series of steps. In combination circuits, we can. How To Solve Combination Circuit Problems.
From labintot0kfixmachine.z13.web.core.windows.net
How To Solve Combo Circuits How To Solve Combination Circuit Problems Strategies for solving combination circuits. Most have resistors in parallel and in series. These circuits are called combination circuits. We can calculate the equivalent resistance of these. When solving problems with such circuits, use this series of steps. This physics video tutorial explains how to solve any resistors in series and parallel combination circuit problems. In combination circuits, we can. How To Solve Combination Circuit Problems.
From circuitdbvolunteer.z19.web.core.windows.net
How To Solve Combination Circuits How To Solve Combination Circuit Problems These circuits are called combination circuits. Most circuits are not just a series or parallel circuit; In this video tutorial i show you how to solve for a combination circuit (a circuit that has both series and parallel components). This physics video tutorial explains how to solve any resistors in series and parallel combination circuit problems. In combination circuits, we. How To Solve Combination Circuit Problems.
From fixdbkohl.z19.web.core.windows.net
How To Solve Combo Circuits How To Solve Combination Circuit Problems When solving any combinational resistor circuit that is made up of resistors in series and parallel branches, the first step we need to take is to identify the simple series and parallel resistor branches. Strategies for solving combination circuits. Most circuits are not just a series or parallel circuit; In this video tutorial i show you how to solve for. How To Solve Combination Circuit Problems.
From guidewiringhardgrass.z14.web.core.windows.net
How To Solve Combination Circuits How To Solve Combination Circuit Problems When solving problems with such circuits, use this series of steps. In combination circuits, we can identify sections of circuits in parallel and circuits in series. This physics video tutorial explains how to solve any resistors in series and parallel combination circuit problems. Most have resistors in parallel and in series. We can calculate the equivalent resistance of these. This. How To Solve Combination Circuit Problems.
From fixlistdixon.z13.web.core.windows.net
How To Solve A Series Parallel Combination Circuit How To Solve Combination Circuit Problems This physics video tutorial explains how to solve any resistors in series and parallel combination circuit problems. When solving any combinational resistor circuit that is made up of resistors in series and parallel branches, the first step we need to take is to identify the simple series and parallel resistor branches. A combination circuit is a circuit with both series. How To Solve Combination Circuit Problems.
From schematicpolintflxbs.z21.web.core.windows.net
How To Solve Combination Circuit How To Solve Combination Circuit Problems We can calculate the equivalent resistance of these. In this video tutorial i show you how to solve for a combination circuit (a circuit that has both series and parallel components). Strategies for solving combination circuits. This physics video tutorial explains how to solve any resistors in series and parallel combination circuit problems. Most have resistors in parallel and in. How To Solve Combination Circuit Problems.
From wiringfixbabybashhunny7z.z21.web.core.windows.net
How To Solve Combination Circuits How To Solve Combination Circuit Problems A combination circuit is a circuit with both series and parallel resistors. This tutorial discusses the variety of patterns between resistance, current, and electric potential difference associated with combination circuits. These circuits are called combination circuits. In this video tutorial i show you how to solve for a combination circuit (a circuit that has both series and parallel components). Most. How To Solve Combination Circuit Problems.
From userwiringharvey.z13.web.core.windows.net
How To Solve A Series Parallel Combination Circuit How To Solve Combination Circuit Problems In this video tutorial i show you how to solve for a combination circuit (a circuit that has both series and parallel components). When solving any combinational resistor circuit that is made up of resistors in series and parallel branches, the first step we need to take is to identify the simple series and parallel resistor branches. When solving problems. How To Solve Combination Circuit Problems.
From usermanualdoggiest.z21.web.core.windows.net
How To Solve Combination Circuits How To Solve Combination Circuit Problems Most have resistors in parallel and in series. Strategies for solving combination circuits. When solving any combinational resistor circuit that is made up of resistors in series and parallel branches, the first step we need to take is to identify the simple series and parallel resistor branches. Most circuits are not just a series or parallel circuit; When solving problems. How To Solve Combination Circuit Problems.