Parts Piston Name . A piston is an essential component of an internal combustion engine. piston parts include every section of the assembly from the piston head to the rod that links the component to the crankshaft. piston components or parts: in this article, you'll learn about the piston, types of pistons, piston clearance, piston head or shape and high. the piston is attached to the connecting rod by a short hollow tube called a wrist pin , or gudgeon pin. There are total nine parts of piston assembly which are: This wrist pin carries the full force of combustion. It plays a crucial role in the. a piston is a component of reciprocating engines, reciprocating pumps, gas compressors, hydraulic cylinders, and.
from innovationdiscoveries.space
A piston is an essential component of an internal combustion engine. a piston is a component of reciprocating engines, reciprocating pumps, gas compressors, hydraulic cylinders, and. There are total nine parts of piston assembly which are: in this article, you'll learn about the piston, types of pistons, piston clearance, piston head or shape and high. This wrist pin carries the full force of combustion. piston parts include every section of the assembly from the piston head to the rod that links the component to the crankshaft. piston components or parts: the piston is attached to the connecting rod by a short hollow tube called a wrist pin , or gudgeon pin. It plays a crucial role in the.
Modern Automotive Technology Everything You Must Know (A to Z) Part 1
Parts Piston Name the piston is attached to the connecting rod by a short hollow tube called a wrist pin , or gudgeon pin. piston components or parts: A piston is an essential component of an internal combustion engine. It plays a crucial role in the. piston parts include every section of the assembly from the piston head to the rod that links the component to the crankshaft. a piston is a component of reciprocating engines, reciprocating pumps, gas compressors, hydraulic cylinders, and. the piston is attached to the connecting rod by a short hollow tube called a wrist pin , or gudgeon pin. in this article, you'll learn about the piston, types of pistons, piston clearance, piston head or shape and high. There are total nine parts of piston assembly which are: This wrist pin carries the full force of combustion.
From www.heltontoolandhome.com
Superior Parts SP EA0138 Aftermarket Piston/Driver Assembly for Senco Parts Piston Name a piston is a component of reciprocating engines, reciprocating pumps, gas compressors, hydraulic cylinders, and. This wrist pin carries the full force of combustion. piston components or parts: piston parts include every section of the assembly from the piston head to the rod that links the component to the crankshaft. There are total nine parts of piston. Parts Piston Name.
From www.heltontoolandhome.com
Superior Parts SP EA0156 Aftermarket Piston Driver Replacement Part for Parts Piston Name This wrist pin carries the full force of combustion. A piston is an essential component of an internal combustion engine. a piston is a component of reciprocating engines, reciprocating pumps, gas compressors, hydraulic cylinders, and. It plays a crucial role in the. in this article, you'll learn about the piston, types of pistons, piston clearance, piston head or. Parts Piston Name.
From therookiewire.usatoday.com
Official Detroit Pistons name Monty Williams head coach Parts Piston Name This wrist pin carries the full force of combustion. in this article, you'll learn about the piston, types of pistons, piston clearance, piston head or shape and high. a piston is a component of reciprocating engines, reciprocating pumps, gas compressors, hydraulic cylinders, and. piston parts include every section of the assembly from the piston head to the. Parts Piston Name.
From www.hyperride.co.nz
Piston Hon Crf250r 0609 / Crf250x 04> 77.96Mm Moto Hyper Ride Parts Piston Name in this article, you'll learn about the piston, types of pistons, piston clearance, piston head or shape and high. piston parts include every section of the assembly from the piston head to the rod that links the component to the crankshaft. a piston is a component of reciprocating engines, reciprocating pumps, gas compressors, hydraulic cylinders, and. A. Parts Piston Name.
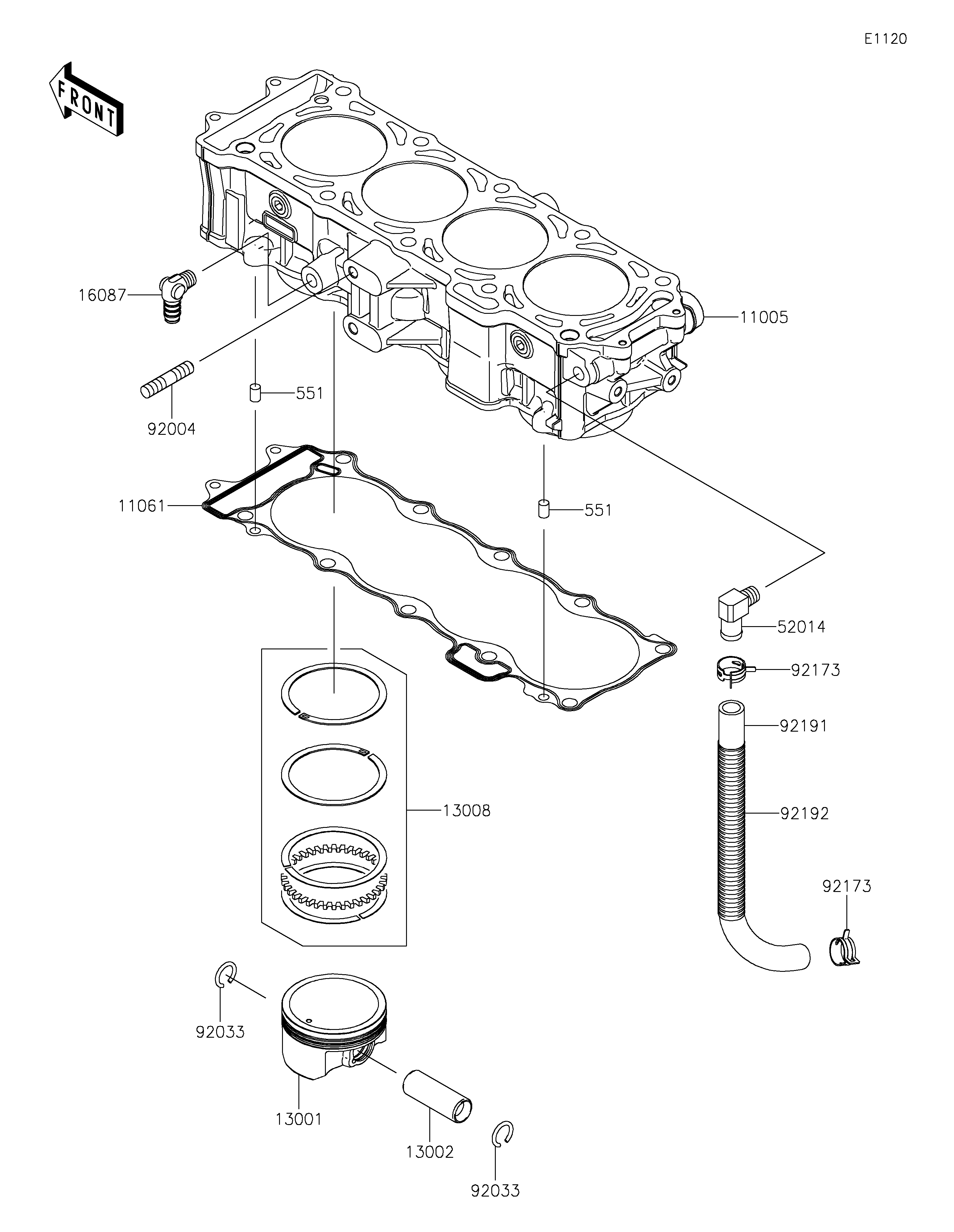
From www.kawasaki.com
Owner Center Parts Piston Name There are total nine parts of piston assembly which are: A piston is an essential component of an internal combustion engine. the piston is attached to the connecting rod by a short hollow tube called a wrist pin , or gudgeon pin. This wrist pin carries the full force of combustion. It plays a crucial role in the. . Parts Piston Name.
From engineeringlearn.com
7 Parts of Piston and Their Functions Guide] Engineering Learn Parts Piston Name in this article, you'll learn about the piston, types of pistons, piston clearance, piston head or shape and high. This wrist pin carries the full force of combustion. the piston is attached to the connecting rod by a short hollow tube called a wrist pin , or gudgeon pin. There are total nine parts of piston assembly which. Parts Piston Name.
From www.heltontoolandhome.com
Superior Parts SP EA0156 Aftermarket Piston Driver Replacement Part for Parts Piston Name in this article, you'll learn about the piston, types of pistons, piston clearance, piston head or shape and high. piston parts include every section of the assembly from the piston head to the rod that links the component to the crankshaft. piston components or parts: a piston is a component of reciprocating engines, reciprocating pumps, gas. Parts Piston Name.
From www.heltontoolandhome.com
Superior Parts SP CN35262U Aftermarket Piston Driver Assembly without O Parts Piston Name in this article, you'll learn about the piston, types of pistons, piston clearance, piston head or shape and high. a piston is a component of reciprocating engines, reciprocating pumps, gas compressors, hydraulic cylinders, and. This wrist pin carries the full force of combustion. A piston is an essential component of an internal combustion engine. piston parts include. Parts Piston Name.
From www.howacarworks.com
Engine Pistons and Connecting Rods How a Car Works Parts Piston Name a piston is a component of reciprocating engines, reciprocating pumps, gas compressors, hydraulic cylinders, and. It plays a crucial role in the. the piston is attached to the connecting rod by a short hollow tube called a wrist pin , or gudgeon pin. This wrist pin carries the full force of combustion. piston components or parts: A. Parts Piston Name.
From motorsportengineering.blogspot.com
Motorsport Zone April 2011 Parts Piston Name This wrist pin carries the full force of combustion. It plays a crucial role in the. piston components or parts: There are total nine parts of piston assembly which are: the piston is attached to the connecting rod by a short hollow tube called a wrist pin , or gudgeon pin. A piston is an essential component of. Parts Piston Name.
From av-gk.ru
PISTON AND CONNECTING ROD 4D95S1D S/N 40337UP Komatsu Запчасти Parts Piston Name There are total nine parts of piston assembly which are: in this article, you'll learn about the piston, types of pistons, piston clearance, piston head or shape and high. piston parts include every section of the assembly from the piston head to the rod that links the component to the crankshaft. a piston is a component of. Parts Piston Name.
From innovationdiscoveries.space
Modern Automotive Technology Everything You Must Know (A to Z) Part 1 Parts Piston Name There are total nine parts of piston assembly which are: piston components or parts: piston parts include every section of the assembly from the piston head to the rod that links the component to the crankshaft. A piston is an essential component of an internal combustion engine. the piston is attached to the connecting rod by a. Parts Piston Name.
From teknikcevirici.blogspot.com
Piston = Piston Makine Mühendisliği Teknik Çevirici Parts Piston Name in this article, you'll learn about the piston, types of pistons, piston clearance, piston head or shape and high. There are total nine parts of piston assembly which are: This wrist pin carries the full force of combustion. the piston is attached to the connecting rod by a short hollow tube called a wrist pin , or gudgeon. Parts Piston Name.
From wiringwiringeisenhauer.z19.web.core.windows.net
Car Parts Diagram Piston Parts Piston Name A piston is an essential component of an internal combustion engine. This wrist pin carries the full force of combustion. in this article, you'll learn about the piston, types of pistons, piston clearance, piston head or shape and high. piston parts include every section of the assembly from the piston head to the rod that links the component. Parts Piston Name.
From www.heltontoolandhome.com
Superior Parts SP EA0156 Aftermarket Piston Driver Replacement Part for Parts Piston Name a piston is a component of reciprocating engines, reciprocating pumps, gas compressors, hydraulic cylinders, and. There are total nine parts of piston assembly which are: A piston is an essential component of an internal combustion engine. piston parts include every section of the assembly from the piston head to the rod that links the component to the crankshaft.. Parts Piston Name.
From www.heltontoolandhome.com
Superior Parts SP CN35262U Aftermarket Piston Driver Assembly without O Parts Piston Name a piston is a component of reciprocating engines, reciprocating pumps, gas compressors, hydraulic cylinders, and. the piston is attached to the connecting rod by a short hollow tube called a wrist pin , or gudgeon pin. There are total nine parts of piston assembly which are: piston components or parts: It plays a crucial role in the.. Parts Piston Name.
From aquasportperformance.com
JE Pistons 100mm 8.41 SeaDoo RXPX RXTX 4TEC AquaSport Performance Parts Piston Name There are total nine parts of piston assembly which are: a piston is a component of reciprocating engines, reciprocating pumps, gas compressors, hydraulic cylinders, and. A piston is an essential component of an internal combustion engine. It plays a crucial role in the. This wrist pin carries the full force of combustion. piston parts include every section of. Parts Piston Name.
From www.heltontoolandhome.com
Superior Parts SP EA0138 Aftermarket Piston/Driver Assembly for Senco Parts Piston Name It plays a crucial role in the. piston parts include every section of the assembly from the piston head to the rod that links the component to the crankshaft. A piston is an essential component of an internal combustion engine. piston components or parts: the piston is attached to the connecting rod by a short hollow tube. Parts Piston Name.
From www.pipettesupplies.com
Piston Orings Pipette Supplies Parts Piston Name There are total nine parts of piston assembly which are: the piston is attached to the connecting rod by a short hollow tube called a wrist pin , or gudgeon pin. in this article, you'll learn about the piston, types of pistons, piston clearance, piston head or shape and high. It plays a crucial role in the. A. Parts Piston Name.
From www.hollywoodchryslerjeep.com
Gearhead Piston Rings Parts Piston Name the piston is attached to the connecting rod by a short hollow tube called a wrist pin , or gudgeon pin. in this article, you'll learn about the piston, types of pistons, piston clearance, piston head or shape and high. It plays a crucial role in the. a piston is a component of reciprocating engines, reciprocating pumps,. Parts Piston Name.
From www.heltontoolandhome.com
Superior Parts SP CN35262U Aftermarket Piston Driver Assembly without O Parts Piston Name piston components or parts: There are total nine parts of piston assembly which are: the piston is attached to the connecting rod by a short hollow tube called a wrist pin , or gudgeon pin. in this article, you'll learn about the piston, types of pistons, piston clearance, piston head or shape and high. a piston. Parts Piston Name.
From www.heltontoolandhome.com
Superior Parts SP EA0156 Aftermarket Piston Driver Replacement Part for Parts Piston Name A piston is an essential component of an internal combustion engine. There are total nine parts of piston assembly which are: This wrist pin carries the full force of combustion. piston parts include every section of the assembly from the piston head to the rod that links the component to the crankshaft. the piston is attached to the. Parts Piston Name.
From dxopuznii.blob.core.windows.net
Diesel Engine All Parts Name at Helen Flaherty blog Parts Piston Name the piston is attached to the connecting rod by a short hollow tube called a wrist pin , or gudgeon pin. in this article, you'll learn about the piston, types of pistons, piston clearance, piston head or shape and high. a piston is a component of reciprocating engines, reciprocating pumps, gas compressors, hydraulic cylinders, and. It plays. Parts Piston Name.
From engineeringlearn.com
13 Types of Piston and Their Uses Details] Engineering Learn Parts Piston Name A piston is an essential component of an internal combustion engine. the piston is attached to the connecting rod by a short hollow tube called a wrist pin , or gudgeon pin. There are total nine parts of piston assembly which are: a piston is a component of reciprocating engines, reciprocating pumps, gas compressors, hydraulic cylinders, and. This. Parts Piston Name.
From www.heltontoolandhome.com
Superior Parts SP EA0138 Aftermarket Piston/Driver Assembly for Senco Parts Piston Name It plays a crucial role in the. There are total nine parts of piston assembly which are: piston components or parts: in this article, you'll learn about the piston, types of pistons, piston clearance, piston head or shape and high. This wrist pin carries the full force of combustion. A piston is an essential component of an internal. Parts Piston Name.
From www.heltontoolandhome.com
Superior Parts SP EA0138 Aftermarket Piston/Driver Assembly for Senco Parts Piston Name piston components or parts: This wrist pin carries the full force of combustion. the piston is attached to the connecting rod by a short hollow tube called a wrist pin , or gudgeon pin. piston parts include every section of the assembly from the piston head to the rod that links the component to the crankshaft. . Parts Piston Name.
From www.heltontoolandhome.com
Superior Parts SP CN35262U Aftermarket Piston Driver Assembly without O Parts Piston Name There are total nine parts of piston assembly which are: a piston is a component of reciprocating engines, reciprocating pumps, gas compressors, hydraulic cylinders, and. piston components or parts: the piston is attached to the connecting rod by a short hollow tube called a wrist pin , or gudgeon pin. piston parts include every section of. Parts Piston Name.
From loenfurcb.blob.core.windows.net
What Are The Parts Of A Hydraulic Cylinder at Rose Duvall blog Parts Piston Name piston parts include every section of the assembly from the piston head to the rod that links the component to the crankshaft. piston components or parts: A piston is an essential component of an internal combustion engine. It plays a crucial role in the. a piston is a component of reciprocating engines, reciprocating pumps, gas compressors, hydraulic. Parts Piston Name.
From www.heltontoolandhome.com
Superior Parts SP EA0156 Aftermarket Piston Driver Replacement Part for Parts Piston Name the piston is attached to the connecting rod by a short hollow tube called a wrist pin , or gudgeon pin. There are total nine parts of piston assembly which are: piston components or parts: piston parts include every section of the assembly from the piston head to the rod that links the component to the crankshaft.. Parts Piston Name.
From dxopuznii.blob.core.windows.net
Diesel Engine All Parts Name at Helen Flaherty blog Parts Piston Name the piston is attached to the connecting rod by a short hollow tube called a wrist pin , or gudgeon pin. This wrist pin carries the full force of combustion. It plays a crucial role in the. in this article, you'll learn about the piston, types of pistons, piston clearance, piston head or shape and high. a. Parts Piston Name.
From themechanicalengineering.com
Piston Definition, Components or Parts, Types, Material, Function Parts Piston Name a piston is a component of reciprocating engines, reciprocating pumps, gas compressors, hydraulic cylinders, and. A piston is an essential component of an internal combustion engine. piston parts include every section of the assembly from the piston head to the rod that links the component to the crankshaft. There are total nine parts of piston assembly which are:. Parts Piston Name.
From www.kawasaki.com
Owner Center Parts Piston Name piston parts include every section of the assembly from the piston head to the rod that links the component to the crankshaft. It plays a crucial role in the. the piston is attached to the connecting rod by a short hollow tube called a wrist pin , or gudgeon pin. This wrist pin carries the full force of. Parts Piston Name.
From www.kawasaki.com
Owner Center Parts Piston Name a piston is a component of reciprocating engines, reciprocating pumps, gas compressors, hydraulic cylinders, and. This wrist pin carries the full force of combustion. A piston is an essential component of an internal combustion engine. There are total nine parts of piston assembly which are: in this article, you'll learn about the piston, types of pistons, piston clearance,. Parts Piston Name.
From dxopuznii.blob.core.windows.net
Diesel Engine All Parts Name at Helen Flaherty blog Parts Piston Name There are total nine parts of piston assembly which are: This wrist pin carries the full force of combustion. piston parts include every section of the assembly from the piston head to the rod that links the component to the crankshaft. the piston is attached to the connecting rod by a short hollow tube called a wrist pin. Parts Piston Name.
From dxopuznii.blob.core.windows.net
Diesel Engine All Parts Name at Helen Flaherty blog Parts Piston Name piston components or parts: the piston is attached to the connecting rod by a short hollow tube called a wrist pin , or gudgeon pin. piston parts include every section of the assembly from the piston head to the rod that links the component to the crankshaft. a piston is a component of reciprocating engines, reciprocating. Parts Piston Name.