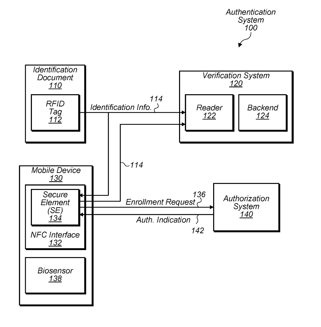
What Is Apple Passport . About apple wallet on iphone. Whether you're traveling solo or with friends, our app is here to make your journey unforgettable. Take advantage of these incredible features: Use the wallet app to securely keep your credit and debit cards for apple pay, driver’s license or state id, transit cards, event tickets, keys, and more—in one convenient place. Afterwards, you will no longer be able to access the google passport corporate program and must sign up for an individual passport membership as an. 1 or, travel with it at select tsa checkpoints. The passport program is managed by passport unlimited and is designed to connect you with exclusive. Utility bill from the last 90 days with the same name and address as your primary id. What is the passport program? Apple is continuing to research how to ensure the identity of someone presenting an iphone to a passport official, or using any other digital id document. 2 presenting your id just got much easier. Original or certified copy of birth. Gift cards and prepaid cards are not acceptable forms of id. Simply add it to the wallet app and use it to show proof of age or identity at select businesses and venues.
from app.dework.xyz
Whether you're traveling solo or with friends, our app is here to make your journey unforgettable. 1 or, travel with it at select tsa checkpoints. Simply add it to the wallet app and use it to show proof of age or identity at select businesses and venues. 2 presenting your id just got much easier. Afterwards, you will no longer be able to access the google passport corporate program and must sign up for an individual passport membership as an. Take advantage of these incredible features: Utility bill from the last 90 days with the same name and address as your primary id. Original or certified copy of birth. Gift cards and prepaid cards are not acceptable forms of id. The passport program is managed by passport unlimited and is designed to connect you with exclusive.
Nation3 Passport (Apple, Google) Dework
What Is Apple Passport About apple wallet on iphone. Afterwards, you will no longer be able to access the google passport corporate program and must sign up for an individual passport membership as an. The passport program is managed by passport unlimited and is designed to connect you with exclusive. About apple wallet on iphone. Apple is continuing to research how to ensure the identity of someone presenting an iphone to a passport official, or using any other digital id document. Whether you're traveling solo or with friends, our app is here to make your journey unforgettable. Utility bill from the last 90 days with the same name and address as your primary id. 2 presenting your id just got much easier. Use the wallet app to securely keep your credit and debit cards for apple pay, driver’s license or state id, transit cards, event tickets, keys, and more—in one convenient place. Gift cards and prepaid cards are not acceptable forms of id. Original or certified copy of birth. Simply add it to the wallet app and use it to show proof of age or identity at select businesses and venues. What is the passport program? 1 or, travel with it at select tsa checkpoints. Take advantage of these incredible features:
From www.usatoday.com
Apple wants to store your passport and other IDs in iPhones What Is Apple Passport 2 presenting your id just got much easier. What is the passport program? 1 or, travel with it at select tsa checkpoints. The passport program is managed by passport unlimited and is designed to connect you with exclusive. Use the wallet app to securely keep your credit and debit cards for apple pay, driver’s license or state id, transit cards,. What Is Apple Passport.
From dailyhive.com
Here's how to add your COVID19 vaccine passport to Apple Wallet News What Is Apple Passport Use the wallet app to securely keep your credit and debit cards for apple pay, driver’s license or state id, transit cards, event tickets, keys, and more—in one convenient place. 1 or, travel with it at select tsa checkpoints. Afterwards, you will no longer be able to access the google passport corporate program and must sign up for an individual. What Is Apple Passport.
From www.digitalinformationworld.com
Apple Comes Up With A New Idea That Will Replace Your Passport, Driving What Is Apple Passport The passport program is managed by passport unlimited and is designed to connect you with exclusive. Take advantage of these incredible features: About apple wallet on iphone. Utility bill from the last 90 days with the same name and address as your primary id. Gift cards and prepaid cards are not acceptable forms of id. Afterwards, you will no longer. What Is Apple Passport.
From www.imore.com
Apple's Passbook passes are being used by Windows Phone 8.1 and What Is Apple Passport Utility bill from the last 90 days with the same name and address as your primary id. Whether you're traveling solo or with friends, our app is here to make your journey unforgettable. 2 presenting your id just got much easier. 1 or, travel with it at select tsa checkpoints. Take advantage of these incredible features: The passport program is. What Is Apple Passport.
From www.computerworld.com
Your iPhone will be your passport Computerworld What Is Apple Passport 2 presenting your id just got much easier. Gift cards and prepaid cards are not acceptable forms of id. Whether you're traveling solo or with friends, our app is here to make your journey unforgettable. About apple wallet on iphone. Take advantage of these incredible features: Afterwards, you will no longer be able to access the google passport corporate program. What Is Apple Passport.
From www.ithinkdiff.com
Apple files patent for introducing an electronic passport via iPhone to What Is Apple Passport Whether you're traveling solo or with friends, our app is here to make your journey unforgettable. Apple is continuing to research how to ensure the identity of someone presenting an iphone to a passport official, or using any other digital id document. Use the wallet app to securely keep your credit and debit cards for apple pay, driver’s license or. What Is Apple Passport.
From app.dework.xyz
Nation3 Passport (Apple, Google) Dework What Is Apple Passport Whether you're traveling solo or with friends, our app is here to make your journey unforgettable. Original or certified copy of birth. Apple is continuing to research how to ensure the identity of someone presenting an iphone to a passport official, or using any other digital id document. 2 presenting your id just got much easier. What is the passport. What Is Apple Passport.
From shotkit.com
Best Free Passport Photo Apps in 2024 Take Your Own Picture What Is Apple Passport Whether you're traveling solo or with friends, our app is here to make your journey unforgettable. Simply add it to the wallet app and use it to show proof of age or identity at select businesses and venues. 2 presenting your id just got much easier. Take advantage of these incredible features: Original or certified copy of birth. The passport. What Is Apple Passport.
From www.appsystem.fr
Ça vous dit si votre iPhone remplace votre passeport ? Apple lui, le veut What Is Apple Passport Apple is continuing to research how to ensure the identity of someone presenting an iphone to a passport official, or using any other digital id document. Take advantage of these incredible features: About apple wallet on iphone. Original or certified copy of birth. Simply add it to the wallet app and use it to show proof of age or identity. What Is Apple Passport.
From applescoop.org
Rumors persist about Apple developing an alldigital passport and ID What Is Apple Passport About apple wallet on iphone. Take advantage of these incredible features: Use the wallet app to securely keep your credit and debit cards for apple pay, driver’s license or state id, transit cards, event tickets, keys, and more—in one convenient place. Afterwards, you will no longer be able to access the google passport corporate program and must sign up for. What Is Apple Passport.
From github.com
GitHub nicokaiser/passportapple Sign in with Apple strategy for What Is Apple Passport 1 or, travel with it at select tsa checkpoints. Gift cards and prepaid cards are not acceptable forms of id. Use the wallet app to securely keep your credit and debit cards for apple pay, driver’s license or state id, transit cards, event tickets, keys, and more—in one convenient place. Simply add it to the wallet app and use it. What Is Apple Passport.
From github.com
GitHub ananay/passportapple Passport strategy for Sign in with Apple What Is Apple Passport Gift cards and prepaid cards are not acceptable forms of id. Original or certified copy of birth. Use the wallet app to securely keep your credit and debit cards for apple pay, driver’s license or state id, transit cards, event tickets, keys, and more—in one convenient place. Afterwards, you will no longer be able to access the google passport corporate. What Is Apple Passport.
From applescoop.org
Rumors persist about Apple developing an alldigital passport and ID What Is Apple Passport About apple wallet on iphone. 1 or, travel with it at select tsa checkpoints. Original or certified copy of birth. Afterwards, you will no longer be able to access the google passport corporate program and must sign up for an individual passport membership as an. What is the passport program? 2 presenting your id just got much easier. Whether you're. What Is Apple Passport.
From images.maxabout.com
Apple iPhone 6 vs. BlackBerry Passport What Is Apple Passport Simply add it to the wallet app and use it to show proof of age or identity at select businesses and venues. Utility bill from the last 90 days with the same name and address as your primary id. What is the passport program? The passport program is managed by passport unlimited and is designed to connect you with exclusive.. What Is Apple Passport.
From heretfiles868.weebly.com
How To Scan A Document On Apple Computer heretfiles What Is Apple Passport What is the passport program? Original or certified copy of birth. Afterwards, you will no longer be able to access the google passport corporate program and must sign up for an individual passport membership as an. Take advantage of these incredible features: Gift cards and prepaid cards are not acceptable forms of id. Apple is continuing to research how to. What Is Apple Passport.
From podcasts.apple.com
Passport on Apple Podcasts What Is Apple Passport About apple wallet on iphone. Take advantage of these incredible features: Apple is continuing to research how to ensure the identity of someone presenting an iphone to a passport official, or using any other digital id document. Afterwards, you will no longer be able to access the google passport corporate program and must sign up for an individual passport membership. What Is Apple Passport.
From www.waterandnature.org
Adding A Passport To Apple Wallet IUCN Water What Is Apple Passport The passport program is managed by passport unlimited and is designed to connect you with exclusive. Whether you're traveling solo or with friends, our app is here to make your journey unforgettable. What is the passport program? 2 presenting your id just got much easier. Simply add it to the wallet app and use it to show proof of age. What Is Apple Passport.
From www.appsverse.com
How to scan your passport on iPhone What Is Apple Passport Whether you're traveling solo or with friends, our app is here to make your journey unforgettable. Simply add it to the wallet app and use it to show proof of age or identity at select businesses and venues. Original or certified copy of birth. The passport program is managed by passport unlimited and is designed to connect you with exclusive.. What Is Apple Passport.
From etechshout.com
11 Best Passport Photo Apps for Android and iPhone (2024) What Is Apple Passport Afterwards, you will no longer be able to access the google passport corporate program and must sign up for an individual passport membership as an. Gift cards and prepaid cards are not acceptable forms of id. About apple wallet on iphone. Take advantage of these incredible features: Use the wallet app to securely keep your credit and debit cards for. What Is Apple Passport.
From www.youtube.com
Présentation officielle de My Passport for Mac YouTube What Is Apple Passport What is the passport program? Simply add it to the wallet app and use it to show proof of age or identity at select businesses and venues. 2 presenting your id just got much easier. Use the wallet app to securely keep your credit and debit cards for apple pay, driver’s license or state id, transit cards, event tickets, keys,. What Is Apple Passport.
From www.macobserver.com
Could 'iPhone Passport' Be a New App? Apple Patent Gives Details The What Is Apple Passport What is the passport program? Take advantage of these incredible features: About apple wallet on iphone. Apple is continuing to research how to ensure the identity of someone presenting an iphone to a passport official, or using any other digital id document. Afterwards, you will no longer be able to access the google passport corporate program and must sign up. What Is Apple Passport.
From recoverit.wondershare.com
How to Format WD My Passport for Mac? Simple Steps What Is Apple Passport Take advantage of these incredible features: What is the passport program? The passport program is managed by passport unlimited and is designed to connect you with exclusive. Utility bill from the last 90 days with the same name and address as your primary id. Original or certified copy of birth. About apple wallet on iphone. Apple is continuing to research. What Is Apple Passport.
From www.apple.com
Funda Lumen Series Passport de OtterBox para el iPhone 15 What Is Apple Passport Original or certified copy of birth. Take advantage of these incredible features: Apple is continuing to research how to ensure the identity of someone presenting an iphone to a passport official, or using any other digital id document. 1 or, travel with it at select tsa checkpoints. What is the passport program? The passport program is managed by passport unlimited. What Is Apple Passport.
From www.iphon.fr
Avec iOS 13, l'iPhone peut scanner les cartes d'identité et les passeports What Is Apple Passport Apple is continuing to research how to ensure the identity of someone presenting an iphone to a passport official, or using any other digital id document. Take advantage of these incredible features: What is the passport program? Afterwards, you will no longer be able to access the google passport corporate program and must sign up for an individual passport membership. What Is Apple Passport.
From techxplore.com
Apple would like to store your passport and other IDs in an iPhone What Is Apple Passport Afterwards, you will no longer be able to access the google passport corporate program and must sign up for an individual passport membership as an. 1 or, travel with it at select tsa checkpoints. Take advantage of these incredible features: Whether you're traveling solo or with friends, our app is here to make your journey unforgettable. About apple wallet on. What Is Apple Passport.
From www.appsverse.com
How to scan your passport on iPhone What Is Apple Passport About apple wallet on iphone. Gift cards and prepaid cards are not acceptable forms of id. Take advantage of these incredible features: Apple is continuing to research how to ensure the identity of someone presenting an iphone to a passport official, or using any other digital id document. Original or certified copy of birth. What is the passport program? Simply. What Is Apple Passport.
From www.dreamstime.com
Long Shadow Passport with an Apple Stock Illustration Illustration of What Is Apple Passport What is the passport program? Simply add it to the wallet app and use it to show proof of age or identity at select businesses and venues. The passport program is managed by passport unlimited and is designed to connect you with exclusive. Apple is continuing to research how to ensure the identity of someone presenting an iphone to a. What Is Apple Passport.
From soundlasopa396.weebly.com
How To Start Using My Passport For Mac soundlasopa What Is Apple Passport Afterwards, you will no longer be able to access the google passport corporate program and must sign up for an individual passport membership as an. Simply add it to the wallet app and use it to show proof of age or identity at select businesses and venues. Utility bill from the last 90 days with the same name and address. What Is Apple Passport.
From www.gearrice.com
How to add the COVID passport to the Wallet app on iPhone and Apple What Is Apple Passport Use the wallet app to securely keep your credit and debit cards for apple pay, driver’s license or state id, transit cards, event tickets, keys, and more—in one convenient place. The passport program is managed by passport unlimited and is designed to connect you with exclusive. Whether you're traveling solo or with friends, our app is here to make your. What Is Apple Passport.
From www.bellinghamfarmers.org
2022 Apple Passport — Bellingham Farmers Market What Is Apple Passport Apple is continuing to research how to ensure the identity of someone presenting an iphone to a passport official, or using any other digital id document. 2 presenting your id just got much easier. Gift cards and prepaid cards are not acceptable forms of id. 1 or, travel with it at select tsa checkpoints. Use the wallet app to securely. What Is Apple Passport.
From photoaid.com
How to Take a Compliant Passport Photo with an iPhone What Is Apple Passport Gift cards and prepaid cards are not acceptable forms of id. Apple is continuing to research how to ensure the identity of someone presenting an iphone to a passport official, or using any other digital id document. Original or certified copy of birth. About apple wallet on iphone. 2 presenting your id just got much easier. Whether you're traveling solo. What Is Apple Passport.
From www.youtube.com
My Passport Ultra for Mac Official Product Overview YouTube What Is Apple Passport Simply add it to the wallet app and use it to show proof of age or identity at select businesses and venues. The passport program is managed by passport unlimited and is designed to connect you with exclusive. Utility bill from the last 90 days with the same name and address as your primary id. 2 presenting your id just. What Is Apple Passport.
From www.patentlyapple.com
Apple's "Passbook" is now a Registered Trademark Patently Apple What Is Apple Passport 1 or, travel with it at select tsa checkpoints. Whether you're traveling solo or with friends, our app is here to make your journey unforgettable. Use the wallet app to securely keep your credit and debit cards for apple pay, driver’s license or state id, transit cards, event tickets, keys, and more—in one convenient place. Gift cards and prepaid cards. What Is Apple Passport.
From www.bellinghamfarmers.org
2022 Apple Passport — Bellingham Farmers Market What Is Apple Passport Utility bill from the last 90 days with the same name and address as your primary id. Afterwards, you will no longer be able to access the google passport corporate program and must sign up for an individual passport membership as an. Take advantage of these incredible features: Simply add it to the wallet app and use it to show. What Is Apple Passport.
From www.passportinc.com
Google Pay and Apple Pay Now Accepted in Passport Parking App Passport What Is Apple Passport What is the passport program? Gift cards and prepaid cards are not acceptable forms of id. Apple is continuing to research how to ensure the identity of someone presenting an iphone to a passport official, or using any other digital id document. Utility bill from the last 90 days with the same name and address as your primary id. 1. What Is Apple Passport.