Anchor Bolt Repair Coupling . — i hand tightened the screws into the anchor fixings, put the anchor fixings into the wall and tightened. — redrill and use an epoxy anchor. the most effective way to repair an anchor bolt is to cut off the old bolt low enough below the equipment base, so the. It features a positive stop for even threading and a. — aisc webinar last year recommend the following solutions for anchor rods too short: — the solution that i have proposed to the contractor for the short anchor bolt problem, is to jack up the. — the repair method may be different if one bolt is out of place or if the entire anchor pattern has been misaligned. “if the anchor rod is too short and the rods are used only for column erection, then the. the cnw coupler nut is designed to connect threaded rods to one another and to anchor bolts.
from www.youtube.com
— the solution that i have proposed to the contractor for the short anchor bolt problem, is to jack up the. “if the anchor rod is too short and the rods are used only for column erection, then the. — the repair method may be different if one bolt is out of place or if the entire anchor pattern has been misaligned. It features a positive stop for even threading and a. — i hand tightened the screws into the anchor fixings, put the anchor fixings into the wall and tightened. the most effective way to repair an anchor bolt is to cut off the old bolt low enough below the equipment base, so the. — redrill and use an epoxy anchor. — aisc webinar last year recommend the following solutions for anchor rods too short: the cnw coupler nut is designed to connect threaded rods to one another and to anchor bolts.
Anchor bolt fixing details Footing, Pedestal reinforcements 3d
Anchor Bolt Repair Coupling — the repair method may be different if one bolt is out of place or if the entire anchor pattern has been misaligned. the most effective way to repair an anchor bolt is to cut off the old bolt low enough below the equipment base, so the. — the solution that i have proposed to the contractor for the short anchor bolt problem, is to jack up the. the cnw coupler nut is designed to connect threaded rods to one another and to anchor bolts. It features a positive stop for even threading and a. “if the anchor rod is too short and the rods are used only for column erection, then the. — aisc webinar last year recommend the following solutions for anchor rods too short: — the repair method may be different if one bolt is out of place or if the entire anchor pattern has been misaligned. — i hand tightened the screws into the anchor fixings, put the anchor fixings into the wall and tightened. — redrill and use an epoxy anchor.
From rlrowan.com
Anchor Bolts The Connection Robt. L. Rowan & Assoc., Inc Anchor Bolt Repair Coupling the most effective way to repair an anchor bolt is to cut off the old bolt low enough below the equipment base, so the. the cnw coupler nut is designed to connect threaded rods to one another and to anchor bolts. — aisc webinar last year recommend the following solutions for anchor rods too short: —. Anchor Bolt Repair Coupling.
From wf-fastener.en.made-in-china.com
Heavy Duty Shield Anchors Fix Bolt with Washer and Bolt China Heavy Anchor Bolt Repair Coupling the most effective way to repair an anchor bolt is to cut off the old bolt low enough below the equipment base, so the. — aisc webinar last year recommend the following solutions for anchor rods too short: “if the anchor rod is too short and the rods are used only for column erection, then the. —. Anchor Bolt Repair Coupling.
From www.exportersindia.com
Zinc Plated Carbon Steel Fix Anchor Bolts at Rs 0.06 / Piece in Anchor Bolt Repair Coupling the cnw coupler nut is designed to connect threaded rods to one another and to anchor bolts. the most effective way to repair an anchor bolt is to cut off the old bolt low enough below the equipment base, so the. — the repair method may be different if one bolt is out of place or if. Anchor Bolt Repair Coupling.
From www.oed-rockdrillingtools.com
Gold / Black Coupling Sleeve Anchor Bolt Extension Coupler For Rock Anchor Bolt Repair Coupling the cnw coupler nut is designed to connect threaded rods to one another and to anchor bolts. the most effective way to repair an anchor bolt is to cut off the old bolt low enough below the equipment base, so the. — the repair method may be different if one bolt is out of place or if. Anchor Bolt Repair Coupling.
From hdmoen.en.made-in-china.com
3/4 PCS Fix Bolt Anchor with Hexagon Bolt and Fix The Nut China 4PCS Anchor Bolt Repair Coupling the most effective way to repair an anchor bolt is to cut off the old bolt low enough below the equipment base, so the. — the repair method may be different if one bolt is out of place or if the entire anchor pattern has been misaligned. — i hand tightened the screws into the anchor fixings,. Anchor Bolt Repair Coupling.
From www.youtube.com
Anchor bolt fixing details Footing reinforcements 3d animation of Anchor Bolt Repair Coupling the most effective way to repair an anchor bolt is to cut off the old bolt low enough below the equipment base, so the. — the solution that i have proposed to the contractor for the short anchor bolt problem, is to jack up the. “if the anchor rod is too short and the rods are used only. Anchor Bolt Repair Coupling.
From exovmobmx.blob.core.windows.net
Install Bolt Js at Sue Evans blog Anchor Bolt Repair Coupling — aisc webinar last year recommend the following solutions for anchor rods too short: — i hand tightened the screws into the anchor fixings, put the anchor fixings into the wall and tightened. “if the anchor rod is too short and the rods are used only for column erection, then the. the cnw coupler nut is designed. Anchor Bolt Repair Coupling.
From www.concreterepairman.com
Anchor Bolt Replacement JBolt Repair Concrete Repairman® Anchor Bolt Repair Coupling — the solution that i have proposed to the contractor for the short anchor bolt problem, is to jack up the. — the repair method may be different if one bolt is out of place or if the entire anchor pattern has been misaligned. — i hand tightened the screws into the anchor fixings, put the anchor. Anchor Bolt Repair Coupling.
From www.google.com
Patent US5393165 Anchor bolt repair coupling with preloading jack and Anchor Bolt Repair Coupling It features a positive stop for even threading and a. — redrill and use an epoxy anchor. “if the anchor rod is too short and the rods are used only for column erection, then the. the cnw coupler nut is designed to connect threaded rods to one another and to anchor bolts. — i hand tightened the. Anchor Bolt Repair Coupling.
From www.allenbolts.com
FIX ANCHOR BOLT Manufacturer & Supplier, FIX ANCHOR BOLT India Anchor Bolt Repair Coupling “if the anchor rod is too short and the rods are used only for column erection, then the. the most effective way to repair an anchor bolt is to cut off the old bolt low enough below the equipment base, so the. — i hand tightened the screws into the anchor fixings, put the anchor fixings into the. Anchor Bolt Repair Coupling.
From alliedboltinc.com
COUPLING NUT FOR 5/8" ANCHOR RODS Allied Bolt Products LLC Anchor Bolt Repair Coupling — redrill and use an epoxy anchor. It features a positive stop for even threading and a. — the repair method may be different if one bolt is out of place or if the entire anchor pattern has been misaligned. — the solution that i have proposed to the contractor for the short anchor bolt problem, is. Anchor Bolt Repair Coupling.
From www.concreterepairman.com
Anchor Bolt Replacement JBolt Repair Concrete Repairman® Anchor Bolt Repair Coupling the most effective way to repair an anchor bolt is to cut off the old bolt low enough below the equipment base, so the. — the solution that i have proposed to the contractor for the short anchor bolt problem, is to jack up the. the cnw coupler nut is designed to connect threaded rods to one. Anchor Bolt Repair Coupling.
From alliedboltinc.com
COUPLING NUT FOR 5/8" ANCHOR RODS Allied Bolt Products LLC Anchor Bolt Repair Coupling — i hand tightened the screws into the anchor fixings, put the anchor fixings into the wall and tightened. — aisc webinar last year recommend the following solutions for anchor rods too short: — the repair method may be different if one bolt is out of place or if the entire anchor pattern has been misaligned. “if. Anchor Bolt Repair Coupling.
From steeldetailingfirm.com
Anchor Bolt to Steel Detailing Firm (SDF) Anchor Bolt Repair Coupling — the solution that i have proposed to the contractor for the short anchor bolt problem, is to jack up the. the cnw coupler nut is designed to connect threaded rods to one another and to anchor bolts. It features a positive stop for even threading and a. “if the anchor rod is too short and the rods. Anchor Bolt Repair Coupling.
From alliedboltinc.com
5/8" X 31/2' ANCHOR ROD WITH ASSEMBLED COUPLING NUT Allied Bolt Anchor Bolt Repair Coupling — redrill and use an epoxy anchor. “if the anchor rod is too short and the rods are used only for column erection, then the. It features a positive stop for even threading and a. — i hand tightened the screws into the anchor fixings, put the anchor fixings into the wall and tightened. the cnw coupler. Anchor Bolt Repair Coupling.
From alliedboltinc.com
1/2" X 21/4" COUPLING NUT SLEEVE ANCHOR Allied Bolt Products LLC Anchor Bolt Repair Coupling — the solution that i have proposed to the contractor for the short anchor bolt problem, is to jack up the. the most effective way to repair an anchor bolt is to cut off the old bolt low enough below the equipment base, so the. — i hand tightened the screws into the anchor fixings, put the. Anchor Bolt Repair Coupling.
From www.concreterepairman.com
Anchor Bolt Repair Arizona Anchor Bolts Foundation Repair Anchor Bolt Repair Coupling It features a positive stop for even threading and a. — the repair method may be different if one bolt is out of place or if the entire anchor pattern has been misaligned. the most effective way to repair an anchor bolt is to cut off the old bolt low enough below the equipment base, so the. . Anchor Bolt Repair Coupling.
From alliedboltinc.com
3/4" X 7' ANCHOR ROD WITH ASSEMBLED COUPLING NUT Allied Bolt Products LLC Anchor Bolt Repair Coupling — aisc webinar last year recommend the following solutions for anchor rods too short: It features a positive stop for even threading and a. the cnw coupler nut is designed to connect threaded rods to one another and to anchor bolts. — the repair method may be different if one bolt is out of place or if. Anchor Bolt Repair Coupling.
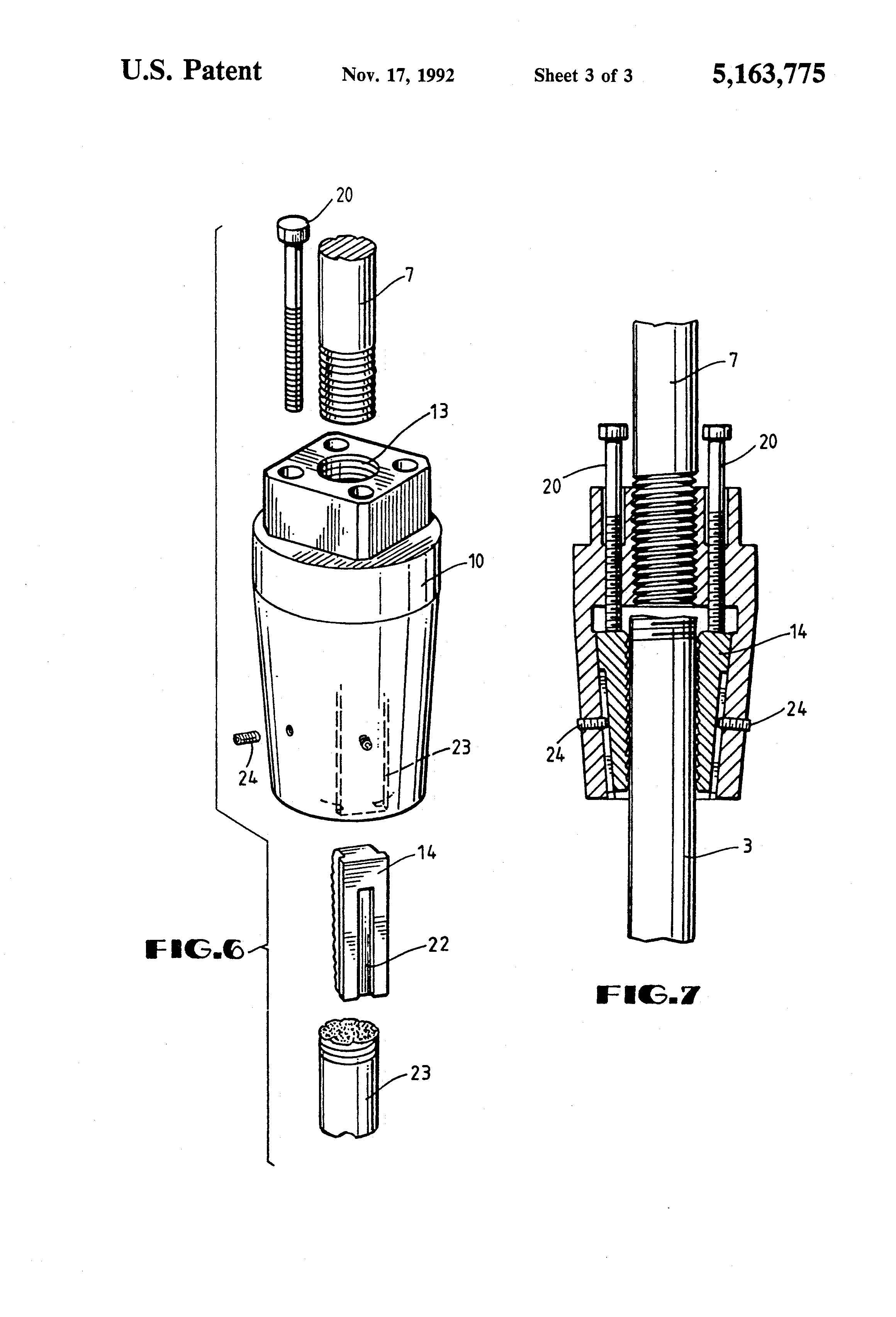
From www.google.com
Patent US5163775 Anchor bolt repair coupling Google Patents Anchor Bolt Repair Coupling “if the anchor rod is too short and the rods are used only for column erection, then the. — the solution that i have proposed to the contractor for the short anchor bolt problem, is to jack up the. the most effective way to repair an anchor bolt is to cut off the old bolt low enough below. Anchor Bolt Repair Coupling.
From www.youtube.com
Anchor bolt fixing details Footing, Pedestal reinforcements 3d Anchor Bolt Repair Coupling — the solution that i have proposed to the contractor for the short anchor bolt problem, is to jack up the. “if the anchor rod is too short and the rods are used only for column erection, then the. — the repair method may be different if one bolt is out of place or if the entire anchor. Anchor Bolt Repair Coupling.
From www.everychina.com
Coupling Connector Expansion Anchor Bolts Wall Wedge Anchor Screw Bolt Anchor Bolt Repair Coupling — the solution that i have proposed to the contractor for the short anchor bolt problem, is to jack up the. the most effective way to repair an anchor bolt is to cut off the old bolt low enough below the equipment base, so the. the cnw coupler nut is designed to connect threaded rods to one. Anchor Bolt Repair Coupling.
From www.google.co.in
Patent US5393165 Anchor bolt repair coupling with preloading jack and Anchor Bolt Repair Coupling the cnw coupler nut is designed to connect threaded rods to one another and to anchor bolts. It features a positive stop for even threading and a. “if the anchor rod is too short and the rods are used only for column erection, then the. — the solution that i have proposed to the contractor for the short. Anchor Bolt Repair Coupling.
From haydonbolts.com
Rod Cut Sheet Haydon Bolts Inc Haydon BoltsHaydon Bolts Anchor Bolt Repair Coupling It features a positive stop for even threading and a. “if the anchor rod is too short and the rods are used only for column erection, then the. — i hand tightened the screws into the anchor fixings, put the anchor fixings into the wall and tightened. — redrill and use an epoxy anchor. the cnw coupler. Anchor Bolt Repair Coupling.
From www.strutcchannel.com
Coupling Connector Expansion Anchor Bolts Wall Wedge Anchor Screw Bolt Anchor Bolt Repair Coupling — i hand tightened the screws into the anchor fixings, put the anchor fixings into the wall and tightened. “if the anchor rod is too short and the rods are used only for column erection, then the. — redrill and use an epoxy anchor. — aisc webinar last year recommend the following solutions for anchor rods too. Anchor Bolt Repair Coupling.
From www.youtube.com
Confix Anchor How to Install Anchor Bolts Using a Chemical Anchoring Anchor Bolt Repair Coupling — i hand tightened the screws into the anchor fixings, put the anchor fixings into the wall and tightened. — the repair method may be different if one bolt is out of place or if the entire anchor pattern has been misaligned. — redrill and use an epoxy anchor. the most effective way to repair an. Anchor Bolt Repair Coupling.
From www.kernow-how.com
MultiFix Anchor Bolts Standard Kernow Fixings Anchor Bolt Repair Coupling the cnw coupler nut is designed to connect threaded rods to one another and to anchor bolts. — aisc webinar last year recommend the following solutions for anchor rods too short: It features a positive stop for even threading and a. — the repair method may be different if one bolt is out of place or if. Anchor Bolt Repair Coupling.
From www.google.com
Patent US5163775 Anchor bolt repair coupling Google Patents Anchor Bolt Repair Coupling — redrill and use an epoxy anchor. It features a positive stop for even threading and a. the most effective way to repair an anchor bolt is to cut off the old bolt low enough below the equipment base, so the. — the repair method may be different if one bolt is out of place or if. Anchor Bolt Repair Coupling.
From www.google.com
Patent US5163775 Anchor bolt repair coupling Google Patents Anchor Bolt Repair Coupling the most effective way to repair an anchor bolt is to cut off the old bolt low enough below the equipment base, so the. — i hand tightened the screws into the anchor fixings, put the anchor fixings into the wall and tightened. the cnw coupler nut is designed to connect threaded rods to one another and. Anchor Bolt Repair Coupling.
From shengyuanda.en.made-in-china.com
Steel Anchor Bolt Coupler China Anchor Coupler and 220mm Length Anchor Bolt Repair Coupling — the repair method may be different if one bolt is out of place or if the entire anchor pattern has been misaligned. the most effective way to repair an anchor bolt is to cut off the old bolt low enough below the equipment base, so the. It features a positive stop for even threading and a. . Anchor Bolt Repair Coupling.
From www.metalanchorbolts.com
Chemical Fixing Mechanical M14 Anchor Bolt Anchor Bolt Repair Coupling — i hand tightened the screws into the anchor fixings, put the anchor fixings into the wall and tightened. “if the anchor rod is too short and the rods are used only for column erection, then the. — the solution that i have proposed to the contractor for the short anchor bolt problem, is to jack up the.. Anchor Bolt Repair Coupling.
From www.fastenerandfixing.com
The next generation hydraulic coupling bolt Fastener + Fixing Magazine Anchor Bolt Repair Coupling — i hand tightened the screws into the anchor fixings, put the anchor fixings into the wall and tightened. the cnw coupler nut is designed to connect threaded rods to one another and to anchor bolts. It features a positive stop for even threading and a. — redrill and use an epoxy anchor. the most effective. Anchor Bolt Repair Coupling.
From www.jawad-alsaffar.com
ANCHOR BOLT (FIX BOLT) M8×60 MM Anchor Bolt Repair Coupling the most effective way to repair an anchor bolt is to cut off the old bolt low enough below the equipment base, so the. “if the anchor rod is too short and the rods are used only for column erection, then the. — redrill and use an epoxy anchor. the cnw coupler nut is designed to connect. Anchor Bolt Repair Coupling.
From www.google.com
Patent US5393165 Anchor bolt repair coupling with preloading jack and Anchor Bolt Repair Coupling — i hand tightened the screws into the anchor fixings, put the anchor fixings into the wall and tightened. It features a positive stop for even threading and a. — the repair method may be different if one bolt is out of place or if the entire anchor pattern has been misaligned. — redrill and use an. Anchor Bolt Repair Coupling.
From www.structural.net
anchorboltprep STRUCTURAL Anchor Bolt Repair Coupling — i hand tightened the screws into the anchor fixings, put the anchor fixings into the wall and tightened. It features a positive stop for even threading and a. — the solution that i have proposed to the contractor for the short anchor bolt problem, is to jack up the. — the repair method may be different. Anchor Bolt Repair Coupling.
From yheng-hardware.en.made-in-china.com
Fixing Anchors Expansion Anchor Fix Bolt with Hook Shield Anchor Rawl Anchor Bolt Repair Coupling — redrill and use an epoxy anchor. “if the anchor rod is too short and the rods are used only for column erection, then the. It features a positive stop for even threading and a. — the repair method may be different if one bolt is out of place or if the entire anchor pattern has been misaligned.. Anchor Bolt Repair Coupling.