Class V Hitch Ratings . these hitches are typically rated around 1,000/1,200 pounds tongue weight and a maximum of 12,000 pounds towing. you have probably heard terms like class i and class v used to categorize ball mounts and trailer hitches—but what do. there are many different types of hitches and hitch classes used for towing a trailer. there are a total of 5 trailer hitch classes, with class i having the lowest capacity and class v having the highest. In this guide, we will walk through the 5 hitch. Class 5 hitches are a bit different from other hitch class ratings, as this class is not officially recognized by the society of automotive.
from repairfixwernanl8v.z19.web.core.windows.net
you have probably heard terms like class i and class v used to categorize ball mounts and trailer hitches—but what do. there are a total of 5 trailer hitch classes, with class i having the lowest capacity and class v having the highest. there are many different types of hitches and hitch classes used for towing a trailer. these hitches are typically rated around 1,000/1,200 pounds tongue weight and a maximum of 12,000 pounds towing. Class 5 hitches are a bit different from other hitch class ratings, as this class is not officially recognized by the society of automotive. In this guide, we will walk through the 5 hitch.
Different Class Trailer Hitches
Class V Hitch Ratings you have probably heard terms like class i and class v used to categorize ball mounts and trailer hitches—but what do. there are many different types of hitches and hitch classes used for towing a trailer. there are a total of 5 trailer hitch classes, with class i having the lowest capacity and class v having the highest. In this guide, we will walk through the 5 hitch. these hitches are typically rated around 1,000/1,200 pounds tongue weight and a maximum of 12,000 pounds towing. you have probably heard terms like class i and class v used to categorize ball mounts and trailer hitches—but what do. Class 5 hitches are a bit different from other hitch class ratings, as this class is not officially recognized by the society of automotive.
From www.autoaccessoriesgarage.com
Curt Class V Hitch, Curt XDC Extra Duty Class Receiver Hitch Class V Hitch Ratings you have probably heard terms like class i and class v used to categorize ball mounts and trailer hitches—but what do. there are many different types of hitches and hitch classes used for towing a trailer. Class 5 hitches are a bit different from other hitch class ratings, as this class is not officially recognized by the society. Class V Hitch Ratings.
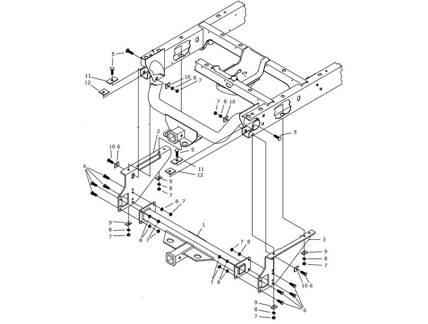
From mechanicalelements.com
Trailer Hitch Class Ratings Mechanical Elements Class V Hitch Ratings you have probably heard terms like class i and class v used to categorize ball mounts and trailer hitches—but what do. there are many different types of hitches and hitch classes used for towing a trailer. there are a total of 5 trailer hitch classes, with class i having the lowest capacity and class v having the. Class V Hitch Ratings.
From realtruck.com
Curt Class V Trailer Hitch RealTruck Class V Hitch Ratings you have probably heard terms like class i and class v used to categorize ball mounts and trailer hitches—but what do. there are a total of 5 trailer hitch classes, with class i having the lowest capacity and class v having the highest. In this guide, we will walk through the 5 hitch. Class 5 hitches are a. Class V Hitch Ratings.
From www.homedepot.com
GENY HITCH The Boss Class V Torsion Flex Drop HitchGH1225 The Home Class V Hitch Ratings Class 5 hitches are a bit different from other hitch class ratings, as this class is not officially recognized by the society of automotive. these hitches are typically rated around 1,000/1,200 pounds tongue weight and a maximum of 12,000 pounds towing. there are many different types of hitches and hitch classes used for towing a trailer. In this. Class V Hitch Ratings.
From www.homedepot.com
BULLETPROOF HITCHES 3.0IN EXTREME DUTY CLASS V 4IN DROP/RISE Hitch Class V Hitch Ratings In this guide, we will walk through the 5 hitch. there are a total of 5 trailer hitch classes, with class i having the lowest capacity and class v having the highest. there are many different types of hitches and hitch classes used for towing a trailer. Class 5 hitches are a bit different from other hitch class. Class V Hitch Ratings.
From towstats.com
Trailer Hitch Classes The Ultimate Guide & How To Choose Class V Hitch Ratings there are many different types of hitches and hitch classes used for towing a trailer. these hitches are typically rated around 1,000/1,200 pounds tongue weight and a maximum of 12,000 pounds towing. there are a total of 5 trailer hitch classes, with class i having the lowest capacity and class v having the highest. Class 5 hitches. Class V Hitch Ratings.
From www.carid.com
DrawTite® 38208 Class 5 Super Titan™ BoltOn Trailer Hitch with 3 Class V Hitch Ratings In this guide, we will walk through the 5 hitch. there are many different types of hitches and hitch classes used for towing a trailer. you have probably heard terms like class i and class v used to categorize ball mounts and trailer hitches—but what do. there are a total of 5 trailer hitch classes, with class. Class V Hitch Ratings.
From www.weigh-safe.com
How to Verify You Are Towing Within Correct Ratings and Guidelines Class V Hitch Ratings these hitches are typically rated around 1,000/1,200 pounds tongue weight and a maximum of 12,000 pounds towing. you have probably heard terms like class i and class v used to categorize ball mounts and trailer hitches—but what do. Class 5 hitches are a bit different from other hitch class ratings, as this class is not officially recognized by. Class V Hitch Ratings.
From realtruck.com
B&W Class V Trailer Hitch HDRH25211 RealTruck Class V Hitch Ratings you have probably heard terms like class i and class v used to categorize ball mounts and trailer hitches—but what do. these hitches are typically rated around 1,000/1,200 pounds tongue weight and a maximum of 12,000 pounds towing. In this guide, we will walk through the 5 hitch. Class 5 hitches are a bit different from other hitch. Class V Hitch Ratings.
From realtruck.com
B&W Class V Trailer Hitch HDRH25187 RealTruck Class V Hitch Ratings you have probably heard terms like class i and class v used to categorize ball mounts and trailer hitches—but what do. there are a total of 5 trailer hitch classes, with class i having the lowest capacity and class v having the highest. there are many different types of hitches and hitch classes used for towing a. Class V Hitch Ratings.
From www.carid.com
DrawTite® Class 5 Super Titan™ Trailer Hitch with 3" Receiver Opening Class V Hitch Ratings these hitches are typically rated around 1,000/1,200 pounds tongue weight and a maximum of 12,000 pounds towing. there are a total of 5 trailer hitch classes, with class i having the lowest capacity and class v having the highest. there are many different types of hitches and hitch classes used for towing a trailer. you have. Class V Hitch Ratings.
From realtruck.com
DrawTite Class V Trailer Hitch 2 Receiver w/o Ball Mount DWT41944 Class V Hitch Ratings there are a total of 5 trailer hitch classes, with class i having the lowest capacity and class v having the highest. you have probably heard terms like class i and class v used to categorize ball mounts and trailer hitches—but what do. In this guide, we will walk through the 5 hitch. Class 5 hitches are a. Class V Hitch Ratings.
From www.truckspring.com
41942, DrawTite Class V Trailer Hitch for the Chevy Silverado, GMC Class V Hitch Ratings In this guide, we will walk through the 5 hitch. there are many different types of hitches and hitch classes used for towing a trailer. these hitches are typically rated around 1,000/1,200 pounds tongue weight and a maximum of 12,000 pounds towing. Class 5 hitches are a bit different from other hitch class ratings, as this class is. Class V Hitch Ratings.
From www.reesehitches.com
Curt CM15802 Class V, 21/2 inch Trailer Hitch Receiver Class V Hitch Ratings there are many different types of hitches and hitch classes used for towing a trailer. Class 5 hitches are a bit different from other hitch class ratings, as this class is not officially recognized by the society of automotive. there are a total of 5 trailer hitch classes, with class i having the lowest capacity and class v. Class V Hitch Ratings.
From www.mywinch.com
Selecting the Right Hitch Hitches and Towing 101 Towing Resource Guide Class V Hitch Ratings In this guide, we will walk through the 5 hitch. there are many different types of hitches and hitch classes used for towing a trailer. you have probably heard terms like class i and class v used to categorize ball mounts and trailer hitches—but what do. there are a total of 5 trailer hitch classes, with class. Class V Hitch Ratings.
From www.carid.com
DrawTite® Ford F150 2015 Class 5 Ultra Frame Trailer Hitch with 2 Class V Hitch Ratings you have probably heard terms like class i and class v used to categorize ball mounts and trailer hitches—but what do. there are many different types of hitches and hitch classes used for towing a trailer. Class 5 hitches are a bit different from other hitch class ratings, as this class is not officially recognized by the society. Class V Hitch Ratings.
From www.homedepot.com
CURT Class 5 XD Trailer Hitch for GMC Sierra, Chevrolet Silverado15302 Class V Hitch Ratings In this guide, we will walk through the 5 hitch. you have probably heard terms like class i and class v used to categorize ball mounts and trailer hitches—but what do. these hitches are typically rated around 1,000/1,200 pounds tongue weight and a maximum of 12,000 pounds towing. Class 5 hitches are a bit different from other hitch. Class V Hitch Ratings.
From www.carid.com
DrawTite® 41943 Class 5 Ultra Frame Trailer Hitch with 2" Receiver Class V Hitch Ratings there are many different types of hitches and hitch classes used for towing a trailer. you have probably heard terms like class i and class v used to categorize ball mounts and trailer hitches—but what do. there are a total of 5 trailer hitch classes, with class i having the lowest capacity and class v having the. Class V Hitch Ratings.
From www.walmart.com
Reese Towpower 7028200 Heavy Duty Class V 5 Inch Drop Trailer Hitch Class V Hitch Ratings these hitches are typically rated around 1,000/1,200 pounds tongue weight and a maximum of 12,000 pounds towing. Class 5 hitches are a bit different from other hitch class ratings, as this class is not officially recognized by the society of automotive. there are a total of 5 trailer hitch classes, with class i having the lowest capacity and. Class V Hitch Ratings.
From www.curtmfg.com
How to Choose the Best Trailer Hitch for Your Vehicle Class V Hitch Ratings there are a total of 5 trailer hitch classes, with class i having the lowest capacity and class v having the highest. Class 5 hitches are a bit different from other hitch class ratings, as this class is not officially recognized by the society of automotive. you have probably heard terms like class i and class v used. Class V Hitch Ratings.
From www.carid.com
Torklift® D1100 Class 5 Superhitch Original Trailer Hitch with Dual 2 Class V Hitch Ratings you have probably heard terms like class i and class v used to categorize ball mounts and trailer hitches—but what do. there are many different types of hitches and hitch classes used for towing a trailer. these hitches are typically rated around 1,000/1,200 pounds tongue weight and a maximum of 12,000 pounds towing. In this guide, we. Class V Hitch Ratings.
From www.titantruck.com
Class V 2.5" Commercial Duty Hitch Titan Truck Equipment Class V Hitch Ratings there are many different types of hitches and hitch classes used for towing a trailer. In this guide, we will walk through the 5 hitch. you have probably heard terms like class i and class v used to categorize ball mounts and trailer hitches—but what do. there are a total of 5 trailer hitch classes, with class. Class V Hitch Ratings.
From www.titantruck.com
CURT Commercial Duty Class 5 Hitch Titan Truck Equipment Class V Hitch Ratings there are a total of 5 trailer hitch classes, with class i having the lowest capacity and class v having the highest. In this guide, we will walk through the 5 hitch. Class 5 hitches are a bit different from other hitch class ratings, as this class is not officially recognized by the society of automotive. these hitches. Class V Hitch Ratings.
From www.walmart.com
Reese Towpower 7028300 Heavy Duty Class V 5 Inch Drop Trailer Hitch Class V Hitch Ratings there are a total of 5 trailer hitch classes, with class i having the lowest capacity and class v having the highest. you have probably heard terms like class i and class v used to categorize ball mounts and trailer hitches—but what do. In this guide, we will walk through the 5 hitch. Class 5 hitches are a. Class V Hitch Ratings.
From repairfixwernanl8v.z19.web.core.windows.net
Different Class Trailer Hitches Class V Hitch Ratings you have probably heard terms like class i and class v used to categorize ball mounts and trailer hitches—but what do. there are a total of 5 trailer hitch classes, with class i having the lowest capacity and class v having the highest. In this guide, we will walk through the 5 hitch. there are many different. Class V Hitch Ratings.
From www.etrailer.com
Ball Mount Basics Weight Capacity, Class, and Size Class V Hitch Ratings these hitches are typically rated around 1,000/1,200 pounds tongue weight and a maximum of 12,000 pounds towing. Class 5 hitches are a bit different from other hitch class ratings, as this class is not officially recognized by the society of automotive. there are many different types of hitches and hitch classes used for towing a trailer. you. Class V Hitch Ratings.
From www.draw-tite.com
DRAWTITE 45520 Titan® Class 5 Trailer Hitch, 21/2 Inch Square Class V Hitch Ratings there are a total of 5 trailer hitch classes, with class i having the lowest capacity and class v having the highest. these hitches are typically rated around 1,000/1,200 pounds tongue weight and a maximum of 12,000 pounds towing. there are many different types of hitches and hitch classes used for towing a trailer. you have. Class V Hitch Ratings.
From towstats.com
Tow Hitch Receiver Sizes What Size Receiver Hitch Do I Need? Class V Hitch Ratings In this guide, we will walk through the 5 hitch. there are many different types of hitches and hitch classes used for towing a trailer. there are a total of 5 trailer hitch classes, with class i having the lowest capacity and class v having the highest. these hitches are typically rated around 1,000/1,200 pounds tongue weight. Class V Hitch Ratings.
From rvsupplyco.com
Trailer Hitch Installation, Clases, & Sizes for All Vehicles Comple Guide Class V Hitch Ratings there are many different types of hitches and hitch classes used for towing a trailer. Class 5 hitches are a bit different from other hitch class ratings, as this class is not officially recognized by the society of automotive. In this guide, we will walk through the 5 hitch. there are a total of 5 trailer hitch classes,. Class V Hitch Ratings.
From www.ford-trucks.com
Class V hitch upgrade? Ford Truck Enthusiasts Forums Class V Hitch Ratings Class 5 hitches are a bit different from other hitch class ratings, as this class is not officially recognized by the society of automotive. there are a total of 5 trailer hitch classes, with class i having the lowest capacity and class v having the highest. In this guide, we will walk through the 5 hitch. these hitches. Class V Hitch Ratings.
From www.hitchweb.com
Trailer Hitch Class Comparison Class V Hitch Ratings you have probably heard terms like class i and class v used to categorize ball mounts and trailer hitches—but what do. there are a total of 5 trailer hitch classes, with class i having the lowest capacity and class v having the highest. In this guide, we will walk through the 5 hitch. these hitches are typically. Class V Hitch Ratings.
From realtruck.com
B&W Class V Trailer Hitch HDRH25198 RealTruck Class V Hitch Ratings there are many different types of hitches and hitch classes used for towing a trailer. these hitches are typically rated around 1,000/1,200 pounds tongue weight and a maximum of 12,000 pounds towing. Class 5 hitches are a bit different from other hitch class ratings, as this class is not officially recognized by the society of automotive. there. Class V Hitch Ratings.
From exoklqgkl.blob.core.windows.net
Class 5 Hitch Rating at William Pyron blog Class V Hitch Ratings In this guide, we will walk through the 5 hitch. there are many different types of hitches and hitch classes used for towing a trailer. you have probably heard terms like class i and class v used to categorize ball mounts and trailer hitches—but what do. Class 5 hitches are a bit different from other hitch class ratings,. Class V Hitch Ratings.
From www.etrailer.com
Class V Universal Weldon Receiver Hitch Curt Heavy Duty Truck Hitch 15903 Class V Hitch Ratings you have probably heard terms like class i and class v used to categorize ball mounts and trailer hitches—but what do. these hitches are typically rated around 1,000/1,200 pounds tongue weight and a maximum of 12,000 pounds towing. Class 5 hitches are a bit different from other hitch class ratings, as this class is not officially recognized by. Class V Hitch Ratings.
From www.autoaccessoriesgarage.com
Curt Class V Hitch, Curt XDC Extra Duty Class Receiver Hitch Class V Hitch Ratings there are many different types of hitches and hitch classes used for towing a trailer. these hitches are typically rated around 1,000/1,200 pounds tongue weight and a maximum of 12,000 pounds towing. Class 5 hitches are a bit different from other hitch class ratings, as this class is not officially recognized by the society of automotive. In this. Class V Hitch Ratings.