Vw Crafter Gearbox Problems . I imported the crafter from the uk and. I am clueless about auto mechanics. So far, we have done only 86 000 km. It seems to get a little better the hotter the gearbox becomes (after a good run). A faulty rear brake switch was a problem for the gearbox. Tackle gearbox problems in 2009 volkswagen crafter models by addressing common issues like gear selection difficulties, abnormal noises, or. I have a 2009 vw crafter (100 000 miles on the clock) with a shiftmatic/sprintshift gearbox. I have greased all linkages, can anyone explain. We have a 2008 vw crafter with a shiftmatic gearbox, fitted out as a motorhome. It is common for the brake light switch to affect other parts of the. If your volkswagen crafter is a manual, there are many reasons why the gearbox could have trouble shifting into the desired gear, the most common. In my van the lower the gear the worse it is i.e.
from www.youtube.com
In my van the lower the gear the worse it is i.e. Tackle gearbox problems in 2009 volkswagen crafter models by addressing common issues like gear selection difficulties, abnormal noises, or. It seems to get a little better the hotter the gearbox becomes (after a good run). So far, we have done only 86 000 km. It is common for the brake light switch to affect other parts of the. I have greased all linkages, can anyone explain. I have a 2009 vw crafter (100 000 miles on the clock) with a shiftmatic/sprintshift gearbox. If your volkswagen crafter is a manual, there are many reasons why the gearbox could have trouble shifting into the desired gear, the most common. I imported the crafter from the uk and. I am clueless about auto mechanics.
Vw crafter gearbox, oil change YouTube
Vw Crafter Gearbox Problems I am clueless about auto mechanics. I have a 2009 vw crafter (100 000 miles on the clock) with a shiftmatic/sprintshift gearbox. I am clueless about auto mechanics. We have a 2008 vw crafter with a shiftmatic gearbox, fitted out as a motorhome. I have greased all linkages, can anyone explain. A faulty rear brake switch was a problem for the gearbox. It seems to get a little better the hotter the gearbox becomes (after a good run). It is common for the brake light switch to affect other parts of the. If your volkswagen crafter is a manual, there are many reasons why the gearbox could have trouble shifting into the desired gear, the most common. Tackle gearbox problems in 2009 volkswagen crafter models by addressing common issues like gear selection difficulties, abnormal noises, or. So far, we have done only 86 000 km. I imported the crafter from the uk and. In my van the lower the gear the worse it is i.e.
From www.proxyparts.com
Gearbox Volkswagen Crafter CKTC MWA Vw Crafter Gearbox Problems In my van the lower the gear the worse it is i.e. It seems to get a little better the hotter the gearbox becomes (after a good run). I have greased all linkages, can anyone explain. It is common for the brake light switch to affect other parts of the. Tackle gearbox problems in 2009 volkswagen crafter models by addressing. Vw Crafter Gearbox Problems.
From www.proxyparts.com
Gearbox Volkswagen Crafter HVW9062606900 MWB ABC B.V. Vw Crafter Gearbox Problems I have a 2009 vw crafter (100 000 miles on the clock) with a shiftmatic/sprintshift gearbox. If your volkswagen crafter is a manual, there are many reasons why the gearbox could have trouble shifting into the desired gear, the most common. So far, we have done only 86 000 km. We have a 2008 vw crafter with a shiftmatic gearbox,. Vw Crafter Gearbox Problems.
From www.proxyparts.com
Gearbox Volkswagen Crafter HVW9062606900 MWB ABC B.V. Vw Crafter Gearbox Problems It seems to get a little better the hotter the gearbox becomes (after a good run). In my van the lower the gear the worse it is i.e. I have a 2009 vw crafter (100 000 miles on the clock) with a shiftmatic/sprintshift gearbox. I have greased all linkages, can anyone explain. I am clueless about auto mechanics. It is. Vw Crafter Gearbox Problems.
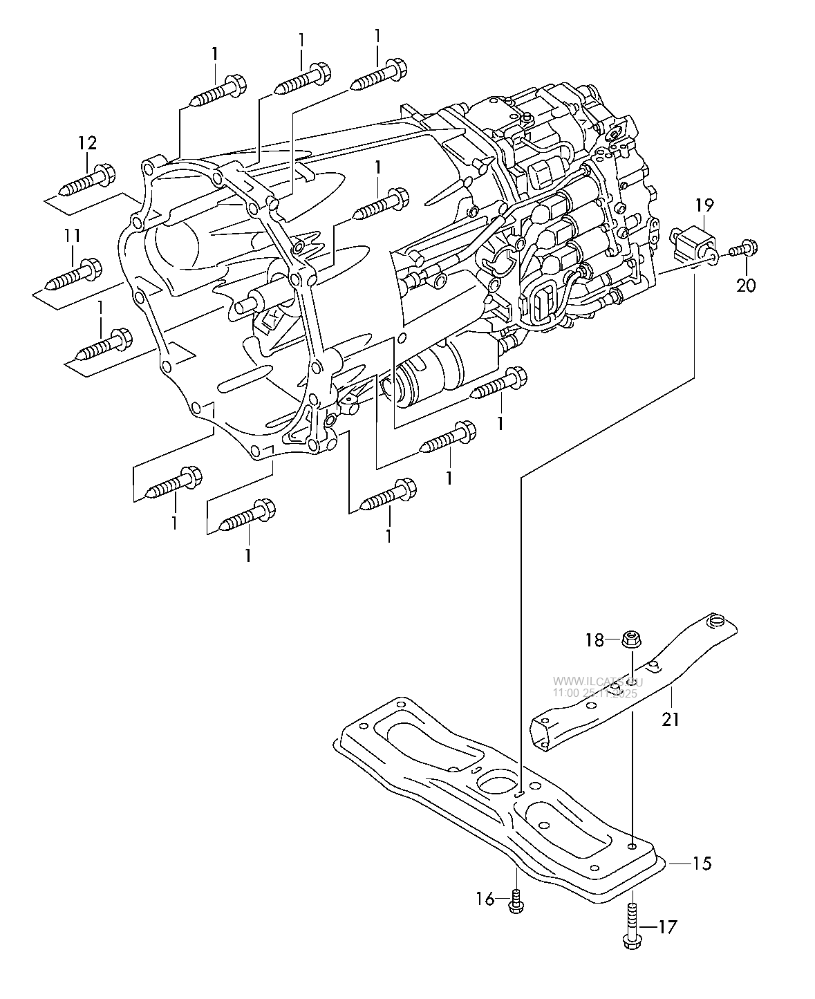
From webautocats.com
Volkswagen Crafter (2006 2011) Gearbox housing and attachments. for Vw Crafter Gearbox Problems We have a 2008 vw crafter with a shiftmatic gearbox, fitted out as a motorhome. In my van the lower the gear the worse it is i.e. I have greased all linkages, can anyone explain. Tackle gearbox problems in 2009 volkswagen crafter models by addressing common issues like gear selection difficulties, abnormal noises, or. It is common for the brake. Vw Crafter Gearbox Problems.
From www.proxyparts.com
Gearbox Volkswagen Crafter 2.0 TDI DNA TZY Vw Crafter Gearbox Problems I have greased all linkages, can anyone explain. So far, we have done only 86 000 km. I have a 2009 vw crafter (100 000 miles on the clock) with a shiftmatic/sprintshift gearbox. In my van the lower the gear the worse it is i.e. We have a 2008 vw crafter with a shiftmatic gearbox, fitted out as a motorhome.. Vw Crafter Gearbox Problems.
From www.transmissiondigest.com
Volkswagen’s DirectShift Gearbox Part 1 Transmission Digest Vw Crafter Gearbox Problems I have greased all linkages, can anyone explain. In my van the lower the gear the worse it is i.e. I imported the crafter from the uk and. Tackle gearbox problems in 2009 volkswagen crafter models by addressing common issues like gear selection difficulties, abnormal noises, or. If your volkswagen crafter is a manual, there are many reasons why the. Vw Crafter Gearbox Problems.
From www.proxyparts.com
Gearbox Volkswagen Crafter 2.0 TDI 09Q300035C DAV TSW Vw Crafter Gearbox Problems I have a 2009 vw crafter (100 000 miles on the clock) with a shiftmatic/sprintshift gearbox. I have greased all linkages, can anyone explain. Tackle gearbox problems in 2009 volkswagen crafter models by addressing common issues like gear selection difficulties, abnormal noises, or. In my van the lower the gear the worse it is i.e. I am clueless about auto. Vw Crafter Gearbox Problems.
From www.youtube.com
Vw crafter gearbox, oil change YouTube Vw Crafter Gearbox Problems I have a 2009 vw crafter (100 000 miles on the clock) with a shiftmatic/sprintshift gearbox. So far, we have done only 86 000 km. Tackle gearbox problems in 2009 volkswagen crafter models by addressing common issues like gear selection difficulties, abnormal noises, or. I have greased all linkages, can anyone explain. It seems to get a little better the. Vw Crafter Gearbox Problems.
From www.proxyparts.com
Gearbox Volkswagen Crafter RHE Schoones Transmissies B.V. Vw Crafter Gearbox Problems So far, we have done only 86 000 km. It seems to get a little better the hotter the gearbox becomes (after a good run). I imported the crafter from the uk and. I am clueless about auto mechanics. In my van the lower the gear the worse it is i.e. If your volkswagen crafter is a manual, there are. Vw Crafter Gearbox Problems.
From webautocats.com
Volkswagen Crafter (2006 2011) Gearbox housing and attachments. for Vw Crafter Gearbox Problems It seems to get a little better the hotter the gearbox becomes (after a good run). I imported the crafter from the uk and. I am clueless about auto mechanics. So far, we have done only 86 000 km. I have greased all linkages, can anyone explain. We have a 2008 vw crafter with a shiftmatic gearbox, fitted out as. Vw Crafter Gearbox Problems.
From www.proxyparts.com
Gearbox Volkswagen Crafter 2.0 TDI DNA TZY Vw Crafter Gearbox Problems If your volkswagen crafter is a manual, there are many reasons why the gearbox could have trouble shifting into the desired gear, the most common. Tackle gearbox problems in 2009 volkswagen crafter models by addressing common issues like gear selection difficulties, abnormal noises, or. I am clueless about auto mechanics. I have greased all linkages, can anyone explain. I imported. Vw Crafter Gearbox Problems.
From webautocats.com
Volkswagen Crafter (2012 2017) Power takeoff. for 6 speed manual Vw Crafter Gearbox Problems I have greased all linkages, can anyone explain. It seems to get a little better the hotter the gearbox becomes (after a good run). So far, we have done only 86 000 km. A faulty rear brake switch was a problem for the gearbox. I imported the crafter from the uk and. I am clueless about auto mechanics. In my. Vw Crafter Gearbox Problems.
From www.youtube.com
VW Crafter 2010 6 Speed Shiftmatic Automated Gearbox Service Fluid Vw Crafter Gearbox Problems I am clueless about auto mechanics. It seems to get a little better the hotter the gearbox becomes (after a good run). I have greased all linkages, can anyone explain. I have a 2009 vw crafter (100 000 miles on the clock) with a shiftmatic/sprintshift gearbox. A faulty rear brake switch was a problem for the gearbox. Tackle gearbox problems. Vw Crafter Gearbox Problems.
From www.youtube.com
Manual gearbox problems, Gear stick not working, ease gear box fix for Vw Crafter Gearbox Problems I am clueless about auto mechanics. We have a 2008 vw crafter with a shiftmatic gearbox, fitted out as a motorhome. It is common for the brake light switch to affect other parts of the. If your volkswagen crafter is a manual, there are many reasons why the gearbox could have trouble shifting into the desired gear, the most common.. Vw Crafter Gearbox Problems.
From www.proxyparts.com
Gearbox Volkswagen Crafter 2.0 TDI DAU RHE Vw Crafter Gearbox Problems If your volkswagen crafter is a manual, there are many reasons why the gearbox could have trouble shifting into the desired gear, the most common. A faulty rear brake switch was a problem for the gearbox. We have a 2008 vw crafter with a shiftmatic gearbox, fitted out as a motorhome. Tackle gearbox problems in 2009 volkswagen crafter models by. Vw Crafter Gearbox Problems.
From www.volkswagenforum.co.uk
Crafter 2014 gearbox problem UK Volkswagen Forum Vw Crafter Gearbox Problems I imported the crafter from the uk and. I have a 2009 vw crafter (100 000 miles on the clock) with a shiftmatic/sprintshift gearbox. A faulty rear brake switch was a problem for the gearbox. So far, we have done only 86 000 km. In my van the lower the gear the worse it is i.e. Tackle gearbox problems in. Vw Crafter Gearbox Problems.
From www.proxyparts.com
Gearbox Volkswagen Crafter 2.0 TDI 0AX409053 TWX Vw Crafter Gearbox Problems I have a 2009 vw crafter (100 000 miles on the clock) with a shiftmatic/sprintshift gearbox. If your volkswagen crafter is a manual, there are many reasons why the gearbox could have trouble shifting into the desired gear, the most common. I imported the crafter from the uk and. It is common for the brake light switch to affect other. Vw Crafter Gearbox Problems.
From www.youtube.com
VW Crafter 2.5 Front end removal,Timing belt,Gear box removal part 1 Vw Crafter Gearbox Problems If your volkswagen crafter is a manual, there are many reasons why the gearbox could have trouble shifting into the desired gear, the most common. I have a 2009 vw crafter (100 000 miles on the clock) with a shiftmatic/sprintshift gearbox. I have greased all linkages, can anyone explain. A faulty rear brake switch was a problem for the gearbox.. Vw Crafter Gearbox Problems.
From www.proxyparts.com
Gearbox Volkswagen Crafter 2.0 TDI 09Q300035C DAV TSW Vw Crafter Gearbox Problems We have a 2008 vw crafter with a shiftmatic gearbox, fitted out as a motorhome. It is common for the brake light switch to affect other parts of the. I have greased all linkages, can anyone explain. If your volkswagen crafter is a manual, there are many reasons why the gearbox could have trouble shifting into the desired gear, the. Vw Crafter Gearbox Problems.
From www.proxyparts.com
Gearbox Volkswagen Crafter 2.0 TDI FM6AX002 TWP Vw Crafter Gearbox Problems If your volkswagen crafter is a manual, there are many reasons why the gearbox could have trouble shifting into the desired gear, the most common. Tackle gearbox problems in 2009 volkswagen crafter models by addressing common issues like gear selection difficulties, abnormal noises, or. We have a 2008 vw crafter with a shiftmatic gearbox, fitted out as a motorhome. I. Vw Crafter Gearbox Problems.
From nemigaparts.com
Volkswagen Crafter (2012 2017) reverse gear idler spindle. gears Vw Crafter Gearbox Problems We have a 2008 vw crafter with a shiftmatic gearbox, fitted out as a motorhome. I have greased all linkages, can anyone explain. It is common for the brake light switch to affect other parts of the. I have a 2009 vw crafter (100 000 miles on the clock) with a shiftmatic/sprintshift gearbox. I am clueless about auto mechanics. I. Vw Crafter Gearbox Problems.
From www.proxyparts.com
Gearbox Volkswagen Crafter 09Q300035B RJJ Vw Crafter Gearbox Problems So far, we have done only 86 000 km. Tackle gearbox problems in 2009 volkswagen crafter models by addressing common issues like gear selection difficulties, abnormal noises, or. If your volkswagen crafter is a manual, there are many reasons why the gearbox could have trouble shifting into the desired gear, the most common. I have greased all linkages, can anyone. Vw Crafter Gearbox Problems.
From www.proxyparts.com
Gearbox Volkswagen Crafter 2.0 TDI MWB Eurotransmissie Vw Crafter Gearbox Problems In my van the lower the gear the worse it is i.e. If your volkswagen crafter is a manual, there are many reasons why the gearbox could have trouble shifting into the desired gear, the most common. It is common for the brake light switch to affect other parts of the. It seems to get a little better the hotter. Vw Crafter Gearbox Problems.
From www.proxyparts.com
Gearbox Volkswagen Crafter 2.0 TDI DNA TZY Vw Crafter Gearbox Problems If your volkswagen crafter is a manual, there are many reasons why the gearbox could have trouble shifting into the desired gear, the most common. I imported the crafter from the uk and. So far, we have done only 86 000 km. In my van the lower the gear the worse it is i.e. I am clueless about auto mechanics.. Vw Crafter Gearbox Problems.
From www.proxyparts.com
Gearbox Volkswagen Crafter 09Q300035C TSW8TAUT Vw Crafter Gearbox Problems I have a 2009 vw crafter (100 000 miles on the clock) with a shiftmatic/sprintshift gearbox. It is common for the brake light switch to affect other parts of the. We have a 2008 vw crafter with a shiftmatic gearbox, fitted out as a motorhome. Tackle gearbox problems in 2009 volkswagen crafter models by addressing common issues like gear selection. Vw Crafter Gearbox Problems.
From www.proxyparts.com
Gearbox Volkswagen Crafter 2.0 TDI RHE Eurotransmissie Vw Crafter Gearbox Problems In my van the lower the gear the worse it is i.e. I have greased all linkages, can anyone explain. It seems to get a little better the hotter the gearbox becomes (after a good run). I imported the crafter from the uk and. We have a 2008 vw crafter with a shiftmatic gearbox, fitted out as a motorhome. Tackle. Vw Crafter Gearbox Problems.
From www.youtube.com
volkswagen crafter problem? YouTube Vw Crafter Gearbox Problems I am clueless about auto mechanics. A faulty rear brake switch was a problem for the gearbox. I have a 2009 vw crafter (100 000 miles on the clock) with a shiftmatic/sprintshift gearbox. It seems to get a little better the hotter the gearbox becomes (after a good run). If your volkswagen crafter is a manual, there are many reasons. Vw Crafter Gearbox Problems.
From www.b-parts.com
Manual gearbox VW CRAFTER 3050 Van (2E_) 9163963 BParts Vw Crafter Gearbox Problems I imported the crafter from the uk and. Tackle gearbox problems in 2009 volkswagen crafter models by addressing common issues like gear selection difficulties, abnormal noises, or. If your volkswagen crafter is a manual, there are many reasons why the gearbox could have trouble shifting into the desired gear, the most common. It is common for the brake light switch. Vw Crafter Gearbox Problems.
From www.vwbreakers.co.uk
Volkswagen Crafter 20062010 HQT Gearbox 6 Speed 2.5 TDI Store Used Vw Crafter Gearbox Problems It seems to get a little better the hotter the gearbox becomes (after a good run). If your volkswagen crafter is a manual, there are many reasons why the gearbox could have trouble shifting into the desired gear, the most common. I am clueless about auto mechanics. We have a 2008 vw crafter with a shiftmatic gearbox, fitted out as. Vw Crafter Gearbox Problems.
From www.caretxdigital.com
vw crafter engine diagram Wiring Diagram and Schematics Vw Crafter Gearbox Problems I am clueless about auto mechanics. A faulty rear brake switch was a problem for the gearbox. I have greased all linkages, can anyone explain. We have a 2008 vw crafter with a shiftmatic gearbox, fitted out as a motorhome. So far, we have done only 86 000 km. I imported the crafter from the uk and. It is common. Vw Crafter Gearbox Problems.
From www.b-parts.com
Manual gearbox selector VW CRAFTER Van (SY_, SX_) 2.0 TDI 9841704 BParts Vw Crafter Gearbox Problems I have a 2009 vw crafter (100 000 miles on the clock) with a shiftmatic/sprintshift gearbox. A faulty rear brake switch was a problem for the gearbox. I have greased all linkages, can anyone explain. I imported the crafter from the uk and. In my van the lower the gear the worse it is i.e. We have a 2008 vw. Vw Crafter Gearbox Problems.
From webautocats.com
Volkswagen Crafter (2012 2017) Input shaft. output shaft. gears and Vw Crafter Gearbox Problems Tackle gearbox problems in 2009 volkswagen crafter models by addressing common issues like gear selection difficulties, abnormal noises, or. A faulty rear brake switch was a problem for the gearbox. In my van the lower the gear the worse it is i.e. So far, we have done only 86 000 km. We have a 2008 vw crafter with a shiftmatic. Vw Crafter Gearbox Problems.
From www.speedcraftvw.com
5 common transmission problems Speedcraft Volkswagen Vw Crafter Gearbox Problems Tackle gearbox problems in 2009 volkswagen crafter models by addressing common issues like gear selection difficulties, abnormal noises, or. I have a 2009 vw crafter (100 000 miles on the clock) with a shiftmatic/sprintshift gearbox. So far, we have done only 86 000 km. It seems to get a little better the hotter the gearbox becomes (after a good run).. Vw Crafter Gearbox Problems.
From www.justanswer.com
VW Crafter Q&A Clutch, Gearbox, and Transmission Problems Vw Crafter Gearbox Problems It seems to get a little better the hotter the gearbox becomes (after a good run). I have greased all linkages, can anyone explain. I imported the crafter from the uk and. A faulty rear brake switch was a problem for the gearbox. I have a 2009 vw crafter (100 000 miles on the clock) with a shiftmatic/sprintshift gearbox. We. Vw Crafter Gearbox Problems.
From www.proxyparts.com
Gearbox Volkswagen Crafter A2112611601 Van Gils Automotive Vw Crafter Gearbox Problems I have greased all linkages, can anyone explain. In my van the lower the gear the worse it is i.e. Tackle gearbox problems in 2009 volkswagen crafter models by addressing common issues like gear selection difficulties, abnormal noises, or. We have a 2008 vw crafter with a shiftmatic gearbox, fitted out as a motorhome. If your volkswagen crafter is a. Vw Crafter Gearbox Problems.