Stroboscopic Effect Stop . this illusion is referred to as the stroboscopic effect. Any rapidly flashing light (some sources suggest 15 flashes per second or more) can create stroboscopic. using the power of science, can make water look like it's falling up! this video explains the illusion behind the stroboscopic effect and how it can. the stroboscopic effect is the optical effect where objects appear to move at a slower speed than reality. you stop thinking about cowboys and the pioneer spirit of the west and start reflecting on science. stroboscopic motion (also known as the stroboscopic effect) is defined as a visual phenomenon that occurs when continuous rotational motion is.
from www.youtube.com
Any rapidly flashing light (some sources suggest 15 flashes per second or more) can create stroboscopic. using the power of science, can make water look like it's falling up! the stroboscopic effect is the optical effect where objects appear to move at a slower speed than reality. this video explains the illusion behind the stroboscopic effect and how it can. this illusion is referred to as the stroboscopic effect. stroboscopic motion (also known as the stroboscopic effect) is defined as a visual phenomenon that occurs when continuous rotational motion is. you stop thinking about cowboys and the pioneer spirit of the west and start reflecting on science.
Flickering of Lights Stroboscopic Effect Flicker Percentage
Stroboscopic Effect Stop Any rapidly flashing light (some sources suggest 15 flashes per second or more) can create stroboscopic. this illusion is referred to as the stroboscopic effect. stroboscopic motion (also known as the stroboscopic effect) is defined as a visual phenomenon that occurs when continuous rotational motion is. this video explains the illusion behind the stroboscopic effect and how it can. the stroboscopic effect is the optical effect where objects appear to move at a slower speed than reality. Any rapidly flashing light (some sources suggest 15 flashes per second or more) can create stroboscopic. you stop thinking about cowboys and the pioneer spirit of the west and start reflecting on science. using the power of science, can make water look like it's falling up!
From slideplayer.com
Slide design Dr. Mark L. Hornick ppt download Stroboscopic Effect Stop stroboscopic motion (also known as the stroboscopic effect) is defined as a visual phenomenon that occurs when continuous rotational motion is. this illusion is referred to as the stroboscopic effect. you stop thinking about cowboys and the pioneer spirit of the west and start reflecting on science. Any rapidly flashing light (some sources suggest 15 flashes per. Stroboscopic Effect Stop.
From www.airius.co.uk
The Dangers of Stroboscopic Effects Airius Lighting Stroboscopic Effect Stop this video explains the illusion behind the stroboscopic effect and how it can. using the power of science, can make water look like it's falling up! the stroboscopic effect is the optical effect where objects appear to move at a slower speed than reality. stroboscopic motion (also known as the stroboscopic effect) is defined as a. Stroboscopic Effect Stop.
From www.semanticscholar.org
Figure 1 from Stroboscopic Method for Precise GroundBased Stellar Stroboscopic Effect Stop Any rapidly flashing light (some sources suggest 15 flashes per second or more) can create stroboscopic. the stroboscopic effect is the optical effect where objects appear to move at a slower speed than reality. stroboscopic motion (also known as the stroboscopic effect) is defined as a visual phenomenon that occurs when continuous rotational motion is. you stop. Stroboscopic Effect Stop.
From www.facebook.com
The stroboscopic effect is a visual phenomenon caused by aliasing that Stroboscopic Effect Stop stroboscopic motion (also known as the stroboscopic effect) is defined as a visual phenomenon that occurs when continuous rotational motion is. the stroboscopic effect is the optical effect where objects appear to move at a slower speed than reality. this video explains the illusion behind the stroboscopic effect and how it can. using the power of. Stroboscopic Effect Stop.
From www.youtube.com
The Stroboscopic Effect shorts YouTube Stroboscopic Effect Stop Any rapidly flashing light (some sources suggest 15 flashes per second or more) can create stroboscopic. this illusion is referred to as the stroboscopic effect. this video explains the illusion behind the stroboscopic effect and how it can. using the power of science, can make water look like it's falling up! you stop thinking about cowboys. Stroboscopic Effect Stop.
From www.pinterest.com
Stroboscopic effect Wikipedia Stroboscopic effect, Wikipedia Stroboscopic Effect Stop using the power of science, can make water look like it's falling up! this illusion is referred to as the stroboscopic effect. this video explains the illusion behind the stroboscopic effect and how it can. the stroboscopic effect is the optical effect where objects appear to move at a slower speed than reality. you stop. Stroboscopic Effect Stop.
From www.researchgate.net
18. Stroboscopic transfer function for a periodic response at ωe Stroboscopic Effect Stop this video explains the illusion behind the stroboscopic effect and how it can. Any rapidly flashing light (some sources suggest 15 flashes per second or more) can create stroboscopic. stroboscopic motion (also known as the stroboscopic effect) is defined as a visual phenomenon that occurs when continuous rotational motion is. the stroboscopic effect is the optical effect. Stroboscopic Effect Stop.
From www.researchgate.net
Longexposure stroboscopic image of a playing card being dropped Stroboscopic Effect Stop stroboscopic motion (also known as the stroboscopic effect) is defined as a visual phenomenon that occurs when continuous rotational motion is. Any rapidly flashing light (some sources suggest 15 flashes per second or more) can create stroboscopic. using the power of science, can make water look like it's falling up! you stop thinking about cowboys and the. Stroboscopic Effect Stop.
From ar.inspiredpencil.com
Stroboscopic Photography Dance Stroboscopic Effect Stop stroboscopic motion (also known as the stroboscopic effect) is defined as a visual phenomenon that occurs when continuous rotational motion is. this video explains the illusion behind the stroboscopic effect and how it can. using the power of science, can make water look like it's falling up! you stop thinking about cowboys and the pioneer spirit. Stroboscopic Effect Stop.
From ar.inspiredpencil.com
Stroboscopic Effect Fluorescent Lighting Stroboscopic Effect Stop this illusion is referred to as the stroboscopic effect. you stop thinking about cowboys and the pioneer spirit of the west and start reflecting on science. the stroboscopic effect is the optical effect where objects appear to move at a slower speed than reality. this video explains the illusion behind the stroboscopic effect and how it. Stroboscopic Effect Stop.
From www.youtube.com
Making Water Fall Up? The Stroboscopic Effect Earth Lab YouTube Stroboscopic Effect Stop using the power of science, can make water look like it's falling up! this illusion is referred to as the stroboscopic effect. Any rapidly flashing light (some sources suggest 15 flashes per second or more) can create stroboscopic. you stop thinking about cowboys and the pioneer spirit of the west and start reflecting on science. stroboscopic. Stroboscopic Effect Stop.
From www.electricalvolt.com
Stroboscope Tachometer & Its Working Principle Stroboscopic Effect Stop this video explains the illusion behind the stroboscopic effect and how it can. Any rapidly flashing light (some sources suggest 15 flashes per second or more) can create stroboscopic. the stroboscopic effect is the optical effect where objects appear to move at a slower speed than reality. using the power of science, can make water look like. Stroboscopic Effect Stop.
From studiousguy.com
Stroboscopic Effect in Fluorescent Lamps StudiousGuy Stroboscopic Effect Stop this video explains the illusion behind the stroboscopic effect and how it can. this illusion is referred to as the stroboscopic effect. you stop thinking about cowboys and the pioneer spirit of the west and start reflecting on science. the stroboscopic effect is the optical effect where objects appear to move at a slower speed than. Stroboscopic Effect Stop.
From hra.animalia-life.club
Stroboscopic Movement Psychology Stroboscopic Effect Stop this video explains the illusion behind the stroboscopic effect and how it can. using the power of science, can make water look like it's falling up! the stroboscopic effect is the optical effect where objects appear to move at a slower speed than reality. you stop thinking about cowboys and the pioneer spirit of the west. Stroboscopic Effect Stop.
From www.alexkayvisuals.com
Motion Study Stroboscopic Experiment Alex Kay Visuals Stroboscopic Effect Stop this illusion is referred to as the stroboscopic effect. this video explains the illusion behind the stroboscopic effect and how it can. stroboscopic motion (also known as the stroboscopic effect) is defined as a visual phenomenon that occurs when continuous rotational motion is. you stop thinking about cowboys and the pioneer spirit of the west and. Stroboscopic Effect Stop.
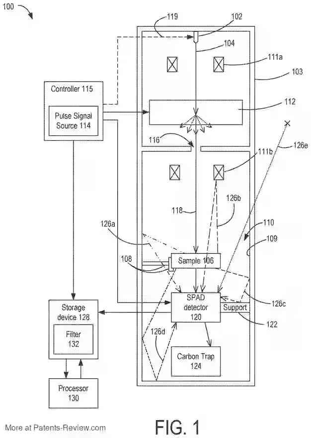
From www.patents-review.com
STROBOSCOPIC ILLUMINATION SYNCHRONIZED ELECTRON DETECTION AND IMAGING Stroboscopic Effect Stop this video explains the illusion behind the stroboscopic effect and how it can. this illusion is referred to as the stroboscopic effect. the stroboscopic effect is the optical effect where objects appear to move at a slower speed than reality. using the power of science, can make water look like it's falling up! Any rapidly flashing. Stroboscopic Effect Stop.
From www.youtube.com
Strobe Light Effect SEIZURE WARNING YouTube Stroboscopic Effect Stop the stroboscopic effect is the optical effect where objects appear to move at a slower speed than reality. stroboscopic motion (also known as the stroboscopic effect) is defined as a visual phenomenon that occurs when continuous rotational motion is. Any rapidly flashing light (some sources suggest 15 flashes per second or more) can create stroboscopic. this illusion. Stroboscopic Effect Stop.
From journals.sagepub.com
Modeling the visibility of the stroboscopic effect occurring in Stroboscopic Effect Stop the stroboscopic effect is the optical effect where objects appear to move at a slower speed than reality. you stop thinking about cowboys and the pioneer spirit of the west and start reflecting on science. using the power of science, can make water look like it's falling up! this illusion is referred to as the stroboscopic. Stroboscopic Effect Stop.
From proper-cooking.info
Stroboscopic Effect Fluorescent Lighting Stroboscopic Effect Stop the stroboscopic effect is the optical effect where objects appear to move at a slower speed than reality. you stop thinking about cowboys and the pioneer spirit of the west and start reflecting on science. this illusion is referred to as the stroboscopic effect. Any rapidly flashing light (some sources suggest 15 flashes per second or more). Stroboscopic Effect Stop.
From fineartamerica.com
Stroboscopic Golf Swing Photograph by Michel Hans Vandystadt Stroboscopic Effect Stop Any rapidly flashing light (some sources suggest 15 flashes per second or more) can create stroboscopic. this illusion is referred to as the stroboscopic effect. the stroboscopic effect is the optical effect where objects appear to move at a slower speed than reality. you stop thinking about cowboys and the pioneer spirit of the west and start. Stroboscopic Effect Stop.
From www.youtube.com
ELECTRIC LAMPS PART 02 OPERATION OF FLUORESCENT LAMP YouTube Stroboscopic Effect Stop this video explains the illusion behind the stroboscopic effect and how it can. you stop thinking about cowboys and the pioneer spirit of the west and start reflecting on science. the stroboscopic effect is the optical effect where objects appear to move at a slower speed than reality. using the power of science, can make water. Stroboscopic Effect Stop.
From www.pinterest.com
The Illustration Demonstrates the Stroboscopic Effect Stroboscopic Stroboscopic Effect Stop you stop thinking about cowboys and the pioneer spirit of the west and start reflecting on science. using the power of science, can make water look like it's falling up! this illusion is referred to as the stroboscopic effect. stroboscopic motion (also known as the stroboscopic effect) is defined as a visual phenomenon that occurs when. Stroboscopic Effect Stop.
From www.youtube.com
Stroboscopic Effect Photography! OnSet ep. 10 YouTube Stroboscopic Effect Stop this illusion is referred to as the stroboscopic effect. Any rapidly flashing light (some sources suggest 15 flashes per second or more) can create stroboscopic. this video explains the illusion behind the stroboscopic effect and how it can. you stop thinking about cowboys and the pioneer spirit of the west and start reflecting on science. stroboscopic. Stroboscopic Effect Stop.
From timfordphoto.com
How to Shoot Stroboscopic Flash Photos Tim Ford Photography & Videography Stroboscopic Effect Stop this illusion is referred to as the stroboscopic effect. using the power of science, can make water look like it's falling up! the stroboscopic effect is the optical effect where objects appear to move at a slower speed than reality. you stop thinking about cowboys and the pioneer spirit of the west and start reflecting on. Stroboscopic Effect Stop.
From hra.animalia-life.club
Stroboscopic Movement Psychology Stroboscopic Effect Stop Any rapidly flashing light (some sources suggest 15 flashes per second or more) can create stroboscopic. this video explains the illusion behind the stroboscopic effect and how it can. you stop thinking about cowboys and the pioneer spirit of the west and start reflecting on science. stroboscopic motion (also known as the stroboscopic effect) is defined as. Stroboscopic Effect Stop.
From www.allthescience.org
What is the Stroboscopic Effect? (with pictures) Stroboscopic Effect Stop stroboscopic motion (also known as the stroboscopic effect) is defined as a visual phenomenon that occurs when continuous rotational motion is. this illusion is referred to as the stroboscopic effect. this video explains the illusion behind the stroboscopic effect and how it can. you stop thinking about cowboys and the pioneer spirit of the west and. Stroboscopic Effect Stop.
From eureka.patsnap.com
Stroboscopic optical image mapping system Eureka Patsnap develop Stroboscopic Effect Stop this illusion is referred to as the stroboscopic effect. this video explains the illusion behind the stroboscopic effect and how it can. Any rapidly flashing light (some sources suggest 15 flashes per second or more) can create stroboscopic. stroboscopic motion (also known as the stroboscopic effect) is defined as a visual phenomenon that occurs when continuous rotational. Stroboscopic Effect Stop.
From www.freepik.com
Premium Vector Strobe light flash stroboscopic device information sign Stroboscopic Effect Stop you stop thinking about cowboys and the pioneer spirit of the west and start reflecting on science. Any rapidly flashing light (some sources suggest 15 flashes per second or more) can create stroboscopic. this illusion is referred to as the stroboscopic effect. using the power of science, can make water look like it's falling up! this. Stroboscopic Effect Stop.
From www.flickr.com
Stroboscopic Effect. First Attempts. Efecto estroboscópico… Flickr Stroboscopic Effect Stop Any rapidly flashing light (some sources suggest 15 flashes per second or more) can create stroboscopic. this video explains the illusion behind the stroboscopic effect and how it can. using the power of science, can make water look like it's falling up! the stroboscopic effect is the optical effect where objects appear to move at a slower. Stroboscopic Effect Stop.
From science-decor.com
What is the stroboscopic effect ? Science Decor Stroboscopic Effect Stop using the power of science, can make water look like it's falling up! the stroboscopic effect is the optical effect where objects appear to move at a slower speed than reality. Any rapidly flashing light (some sources suggest 15 flashes per second or more) can create stroboscopic. this illusion is referred to as the stroboscopic effect. . Stroboscopic Effect Stop.
From fineartamerica.com
Stroboscopic golf Swing 1 Photograph by Michel Hans Vandystadt Fine Stroboscopic Effect Stop Any rapidly flashing light (some sources suggest 15 flashes per second or more) can create stroboscopic. this illusion is referred to as the stroboscopic effect. stroboscopic motion (also known as the stroboscopic effect) is defined as a visual phenomenon that occurs when continuous rotational motion is. you stop thinking about cowboys and the pioneer spirit of the. Stroboscopic Effect Stop.
From studylib.net
Understanding Stroboscopic Effects (Flicker) Stroboscopic Effect Stop Any rapidly flashing light (some sources suggest 15 flashes per second or more) can create stroboscopic. this illusion is referred to as the stroboscopic effect. you stop thinking about cowboys and the pioneer spirit of the west and start reflecting on science. the stroboscopic effect is the optical effect where objects appear to move at a slower. Stroboscopic Effect Stop.
From www.youtube.com
Flickering of Lights Stroboscopic Effect Flicker Percentage Stroboscopic Effect Stop using the power of science, can make water look like it's falling up! Any rapidly flashing light (some sources suggest 15 flashes per second or more) can create stroboscopic. this video explains the illusion behind the stroboscopic effect and how it can. this illusion is referred to as the stroboscopic effect. stroboscopic motion (also known as. Stroboscopic Effect Stop.
From timfordphoto.com
How to Shoot Stroboscopic Flash Photos Tim Ford Photography & Videography Stroboscopic Effect Stop using the power of science, can make water look like it's falling up! this video explains the illusion behind the stroboscopic effect and how it can. stroboscopic motion (also known as the stroboscopic effect) is defined as a visual phenomenon that occurs when continuous rotational motion is. Any rapidly flashing light (some sources suggest 15 flashes per. Stroboscopic Effect Stop.
From www.suziovens.com
How To Stroboscopic Lighting — Suzi Ovens Stroboscopic Effect Stop this video explains the illusion behind the stroboscopic effect and how it can. stroboscopic motion (also known as the stroboscopic effect) is defined as a visual phenomenon that occurs when continuous rotational motion is. the stroboscopic effect is the optical effect where objects appear to move at a slower speed than reality. this illusion is referred. Stroboscopic Effect Stop.