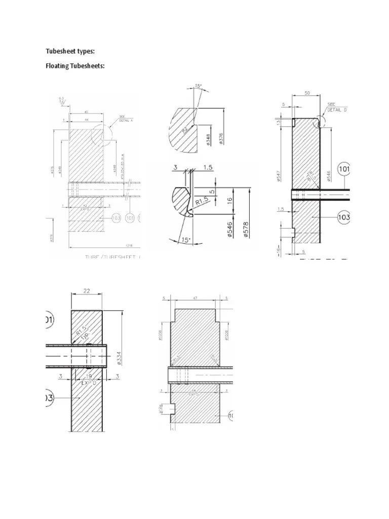
What Is A Floating Tubesheet . In this design, a cover is placed over the “far” tubeplate, which is allowed to move inside. Floating head is held in position by a split backing ring so that dismantling is possible. A clad tubesheet consists of a carbon or low alloy backing plate of sufficient thickness to satisfy the pressure vessel design code, with a layer of the higher alloy material bonded onto. If the tube bundle has a square tube. Floating tube sheet diameter is kept slightly smaller than the inner shell diameter so that the entire tube. Another widely used type is the floating head exchanger, which is better in fouling duties (see figure 2). Each design has its specific advantages and applications.
from www.bossgoo.com
Floating tube sheet diameter is kept slightly smaller than the inner shell diameter so that the entire tube. Each design has its specific advantages and applications. Another widely used type is the floating head exchanger, which is better in fouling duties (see figure 2). Floating head is held in position by a split backing ring so that dismantling is possible. In this design, a cover is placed over the “far” tubeplate, which is allowed to move inside. If the tube bundle has a square tube. A clad tubesheet consists of a carbon or low alloy backing plate of sufficient thickness to satisfy the pressure vessel design code, with a layer of the higher alloy material bonded onto.
Floating Type Tube Sheet, High Quality Floating Type Tube Sheet on
What Is A Floating Tubesheet Another widely used type is the floating head exchanger, which is better in fouling duties (see figure 2). If the tube bundle has a square tube. In this design, a cover is placed over the “far” tubeplate, which is allowed to move inside. Each design has its specific advantages and applications. Floating head is held in position by a split backing ring so that dismantling is possible. A clad tubesheet consists of a carbon or low alloy backing plate of sufficient thickness to satisfy the pressure vessel design code, with a layer of the higher alloy material bonded onto. Floating tube sheet diameter is kept slightly smaller than the inner shell diameter so that the entire tube. Another widely used type is the floating head exchanger, which is better in fouling duties (see figure 2).
From www.carbonsteel-tube.com
ASTM A350 LF1 LF2 LF6 Fittings And Flanges Floating Tubesheet Customized Size What Is A Floating Tubesheet Another widely used type is the floating head exchanger, which is better in fouling duties (see figure 2). Floating head is held in position by a split backing ring so that dismantling is possible. Floating tube sheet diameter is kept slightly smaller than the inner shell diameter so that the entire tube. Each design has its specific advantages and applications.. What Is A Floating Tubesheet.
From giokurgfz.blob.core.windows.net
What Is Floating Tube Sheet at Grant Register blog What Is A Floating Tubesheet Another widely used type is the floating head exchanger, which is better in fouling duties (see figure 2). If the tube bundle has a square tube. Floating head is held in position by a split backing ring so that dismantling is possible. Floating tube sheet diameter is kept slightly smaller than the inner shell diameter so that the entire tube.. What Is A Floating Tubesheet.
From www.researchgate.net
Schematic of a shell and tube heat exchanger a) fixedtube b)... Download Scientific Diagram What Is A Floating Tubesheet Each design has its specific advantages and applications. Another widely used type is the floating head exchanger, which is better in fouling duties (see figure 2). A clad tubesheet consists of a carbon or low alloy backing plate of sufficient thickness to satisfy the pressure vessel design code, with a layer of the higher alloy material bonded onto. Floating head. What Is A Floating Tubesheet.
From mercedesslkblog.blogspot.com
Floating Tubesheet Heat Exchanger mercedesslkblog What Is A Floating Tubesheet Another widely used type is the floating head exchanger, which is better in fouling duties (see figure 2). If the tube bundle has a square tube. A clad tubesheet consists of a carbon or low alloy backing plate of sufficient thickness to satisfy the pressure vessel design code, with a layer of the higher alloy material bonded onto. Each design. What Is A Floating Tubesheet.
From dhdz2022.en.made-in-china.com
ASTM A182 F310h Floating Tubesheet for Boiler HeatExchanger China Tube Plate and Clad What Is A Floating Tubesheet A clad tubesheet consists of a carbon or low alloy backing plate of sufficient thickness to satisfy the pressure vessel design code, with a layer of the higher alloy material bonded onto. Floating head is held in position by a split backing ring so that dismantling is possible. Another widely used type is the floating head exchanger, which is better. What Is A Floating Tubesheet.
From www.jetvisionengineering.com
stainless steel tube sheet, tube sheet, copper tube sheet, titanium tube sheet What Is A Floating Tubesheet A clad tubesheet consists of a carbon or low alloy backing plate of sufficient thickness to satisfy the pressure vessel design code, with a layer of the higher alloy material bonded onto. In this design, a cover is placed over the “far” tubeplate, which is allowed to move inside. Floating head is held in position by a split backing ring. What Is A Floating Tubesheet.
From forgingjenny.en.made-in-china.com
Floating Tube Sheet SA266 Gr. 2 (2547) China Floating Tube Sheet and Disc 4140 4130 410 What Is A Floating Tubesheet Floating tube sheet diameter is kept slightly smaller than the inner shell diameter so that the entire tube. Each design has its specific advantages and applications. If the tube bundle has a square tube. Another widely used type is the floating head exchanger, which is better in fouling duties (see figure 2). In this design, a cover is placed over. What Is A Floating Tubesheet.
From www.enerquip.com
Double Tube Sheet Design Importance and Applications Enerquip Thermal Solutions What Is A Floating Tubesheet A clad tubesheet consists of a carbon or low alloy backing plate of sufficient thickness to satisfy the pressure vessel design code, with a layer of the higher alloy material bonded onto. Another widely used type is the floating head exchanger, which is better in fouling duties (see figure 2). In this design, a cover is placed over the “far”. What Is A Floating Tubesheet.
From www.youtube.com
Floating Head Heat Exchanger Maintenance and Testing (with english subtitles) Refinery What Is A Floating Tubesheet A clad tubesheet consists of a carbon or low alloy backing plate of sufficient thickness to satisfy the pressure vessel design code, with a layer of the higher alloy material bonded onto. Floating tube sheet diameter is kept slightly smaller than the inner shell diameter so that the entire tube. Each design has its specific advantages and applications. If the. What Is A Floating Tubesheet.
From xytitan.en.made-in-china.com
ASTM A266 Gr. 2 Heat Exchanger Floating Tubesheet China Tube Sheet and Heat Exchanger What Is A Floating Tubesheet In this design, a cover is placed over the “far” tubeplate, which is allowed to move inside. Floating head is held in position by a split backing ring so that dismantling is possible. If the tube bundle has a square tube. Each design has its specific advantages and applications. A clad tubesheet consists of a carbon or low alloy backing. What Is A Floating Tubesheet.
From sdflange.en.made-in-china.com
Floating Large Diameter Flange Double Boiler Fixed Stationary Tube to Condenser Tubesheet What Is A Floating Tubesheet In this design, a cover is placed over the “far” tubeplate, which is allowed to move inside. Each design has its specific advantages and applications. If the tube bundle has a square tube. A clad tubesheet consists of a carbon or low alloy backing plate of sufficient thickness to satisfy the pressure vessel design code, with a layer of the. What Is A Floating Tubesheet.
From www.standard-xchange.com
CPK TEMA type AEW or BEW, removable bundle, packed floating tubesheet shell & tube heat What Is A Floating Tubesheet If the tube bundle has a square tube. A clad tubesheet consists of a carbon or low alloy backing plate of sufficient thickness to satisfy the pressure vessel design code, with a layer of the higher alloy material bonded onto. Floating tube sheet diameter is kept slightly smaller than the inner shell diameter so that the entire tube. Floating head. What Is A Floating Tubesheet.
From dhdz2022.en.made-in-china.com
Floating Tubesheet for Heat Exchanger China Tube Sheet and Disc What Is A Floating Tubesheet In this design, a cover is placed over the “far” tubeplate, which is allowed to move inside. If the tube bundle has a square tube. Floating tube sheet diameter is kept slightly smaller than the inner shell diameter so that the entire tube. Floating head is held in position by a split backing ring so that dismantling is possible. A. What Is A Floating Tubesheet.
From www.slideshare.net
Heat exchangers What Is A Floating Tubesheet Floating tube sheet diameter is kept slightly smaller than the inner shell diameter so that the entire tube. Another widely used type is the floating head exchanger, which is better in fouling duties (see figure 2). Floating head is held in position by a split backing ring so that dismantling is possible. If the tube bundle has a square tube.. What Is A Floating Tubesheet.
From www.scribd.com
Tubesheet Types Floating Tubesheets PDF What Is A Floating Tubesheet Floating head is held in position by a split backing ring so that dismantling is possible. If the tube bundle has a square tube. Floating tube sheet diameter is kept slightly smaller than the inner shell diameter so that the entire tube. Another widely used type is the floating head exchanger, which is better in fouling duties (see figure 2).. What Is A Floating Tubesheet.
From www.indiamart.com
Floating Tube Sheet STHE Mechanical Design Services at best price in Karamsad ID 21813824830 What Is A Floating Tubesheet Floating head is held in position by a split backing ring so that dismantling is possible. In this design, a cover is placed over the “far” tubeplate, which is allowed to move inside. Another widely used type is the floating head exchanger, which is better in fouling duties (see figure 2). Each design has its specific advantages and applications. Floating. What Is A Floating Tubesheet.
From www.indiamart.com
SS Tube Sheet Exchanger, for Hydraulic and Industrial Process, ID 19253217230 What Is A Floating Tubesheet Floating tube sheet diameter is kept slightly smaller than the inner shell diameter so that the entire tube. If the tube bundle has a square tube. Floating head is held in position by a split backing ring so that dismantling is possible. In this design, a cover is placed over the “far” tubeplate, which is allowed to move inside. Each. What Is A Floating Tubesheet.
From www.iqsdirectory.com
Shell and Tube Heat Exchanger What Is It? Types, Process What Is A Floating Tubesheet Floating head is held in position by a split backing ring so that dismantling is possible. If the tube bundle has a square tube. Floating tube sheet diameter is kept slightly smaller than the inner shell diameter so that the entire tube. A clad tubesheet consists of a carbon or low alloy backing plate of sufficient thickness to satisfy the. What Is A Floating Tubesheet.
From www.eng-tips.com
TEMA Floating Head / Tubesheet Is the tube bundle cantilevered or supported at rear end? Heat What Is A Floating Tubesheet If the tube bundle has a square tube. Another widely used type is the floating head exchanger, which is better in fouling duties (see figure 2). Each design has its specific advantages and applications. In this design, a cover is placed over the “far” tubeplate, which is allowed to move inside. Floating tube sheet diameter is kept slightly smaller than. What Is A Floating Tubesheet.
From www.indiamart.com
Floating Tube Sheet STHE Thermal Design Services at best price in Karamsad ID 21813814933 What Is A Floating Tubesheet Floating head is held in position by a split backing ring so that dismantling is possible. A clad tubesheet consists of a carbon or low alloy backing plate of sufficient thickness to satisfy the pressure vessel design code, with a layer of the higher alloy material bonded onto. Floating tube sheet diameter is kept slightly smaller than the inner shell. What Is A Floating Tubesheet.
From www.circlehmanufacturing.com
Floating Tubesheet Products Circle H Manufacturing LLC Heat Exchangers What Is A Floating Tubesheet In this design, a cover is placed over the “far” tubeplate, which is allowed to move inside. Floating tube sheet diameter is kept slightly smaller than the inner shell diameter so that the entire tube. Floating head is held in position by a split backing ring so that dismantling is possible. Another widely used type is the floating head exchanger,. What Is A Floating Tubesheet.
From houkinc.com
CPK TEMA type AEW or BEW, removable bundle, packed floating tubesheet shell & tube heat What Is A Floating Tubesheet Another widely used type is the floating head exchanger, which is better in fouling duties (see figure 2). Floating tube sheet diameter is kept slightly smaller than the inner shell diameter so that the entire tube. Each design has its specific advantages and applications. Floating head is held in position by a split backing ring so that dismantling is possible.. What Is A Floating Tubesheet.
From www.iqsdirectory.com
Shell and Tube Heat Exchanger What Is It? Types, Process What Is A Floating Tubesheet If the tube bundle has a square tube. In this design, a cover is placed over the “far” tubeplate, which is allowed to move inside. Floating tube sheet diameter is kept slightly smaller than the inner shell diameter so that the entire tube. Another widely used type is the floating head exchanger, which is better in fouling duties (see figure. What Is A Floating Tubesheet.
From haohua666.en.made-in-china.com
Floating Tube Sheet for Pressure Vessel Tube Sheet China Tubesheet and Disk What Is A Floating Tubesheet Each design has its specific advantages and applications. Another widely used type is the floating head exchanger, which is better in fouling duties (see figure 2). Floating tube sheet diameter is kept slightly smaller than the inner shell diameter so that the entire tube. Floating head is held in position by a split backing ring so that dismantling is possible.. What Is A Floating Tubesheet.
From www.bossgoo.com
Floating Type Tube Sheet, High Quality Floating Type Tube Sheet on What Is A Floating Tubesheet Floating tube sheet diameter is kept slightly smaller than the inner shell diameter so that the entire tube. If the tube bundle has a square tube. Another widely used type is the floating head exchanger, which is better in fouling duties (see figure 2). Floating head is held in position by a split backing ring so that dismantling is possible.. What Is A Floating Tubesheet.
From mercedesslkblog.blogspot.com
Floating Tubesheet Heat Exchanger mercedesslkblog What Is A Floating Tubesheet Each design has its specific advantages and applications. Floating head is held in position by a split backing ring so that dismantling is possible. Another widely used type is the floating head exchanger, which is better in fouling duties (see figure 2). In this design, a cover is placed over the “far” tubeplate, which is allowed to move inside. Floating. What Is A Floating Tubesheet.
From metal-fabrication.en.made-in-china.com
Custom Heat Exchanger Tube Sheet Fixed Tubesheet Floating Tube Sheet China Exchanger Tube What Is A Floating Tubesheet Floating head is held in position by a split backing ring so that dismantling is possible. In this design, a cover is placed over the “far” tubeplate, which is allowed to move inside. A clad tubesheet consists of a carbon or low alloy backing plate of sufficient thickness to satisfy the pressure vessel design code, with a layer of the. What Is A Floating Tubesheet.
From www.slideserve.com
PPT ShellandTube Heat Exchangers PowerPoint Presentation, free download ID1356288 What Is A Floating Tubesheet A clad tubesheet consists of a carbon or low alloy backing plate of sufficient thickness to satisfy the pressure vessel design code, with a layer of the higher alloy material bonded onto. Each design has its specific advantages and applications. Floating tube sheet diameter is kept slightly smaller than the inner shell diameter so that the entire tube. Floating head. What Is A Floating Tubesheet.
From xytitan.en.made-in-china.com
ASTM A182 F1 Heat Exchanger Floating Tubesheet China Heat Exchanger and Tube Sheet What Is A Floating Tubesheet In this design, a cover is placed over the “far” tubeplate, which is allowed to move inside. A clad tubesheet consists of a carbon or low alloy backing plate of sufficient thickness to satisfy the pressure vessel design code, with a layer of the higher alloy material bonded onto. Floating head is held in position by a split backing ring. What Is A Floating Tubesheet.
From www.steelseamlesspipe.com
ASTM A182 F304 Stainless Steel Heat Exchanger Floating Tubesheet For Propane What Is A Floating Tubesheet Floating tube sheet diameter is kept slightly smaller than the inner shell diameter so that the entire tube. Floating head is held in position by a split backing ring so that dismantling is possible. If the tube bundle has a square tube. Each design has its specific advantages and applications. In this design, a cover is placed over the “far”. What Is A Floating Tubesheet.
From giokurgfz.blob.core.windows.net
What Is Floating Tube Sheet at Grant Register blog What Is A Floating Tubesheet Floating tube sheet diameter is kept slightly smaller than the inner shell diameter so that the entire tube. In this design, a cover is placed over the “far” tubeplate, which is allowed to move inside. Floating head is held in position by a split backing ring so that dismantling is possible. Another widely used type is the floating head exchanger,. What Is A Floating Tubesheet.
From www.youtube.com
Floating Tubesheet S Type Construction details Heat Exchanger YouTube What Is A Floating Tubesheet Floating head is held in position by a split backing ring so that dismantling is possible. If the tube bundle has a square tube. Each design has its specific advantages and applications. A clad tubesheet consists of a carbon or low alloy backing plate of sufficient thickness to satisfy the pressure vessel design code, with a layer of the higher. What Is A Floating Tubesheet.
From haohua666.en.made-in-china.com
Heat Exchanger Floating Tubesheet C46400, C71500 (CuNi 70/30) China Tubesheet and Disk What Is A Floating Tubesheet Each design has its specific advantages and applications. Another widely used type is the floating head exchanger, which is better in fouling duties (see figure 2). If the tube bundle has a square tube. In this design, a cover is placed over the “far” tubeplate, which is allowed to move inside. Floating head is held in position by a split. What Is A Floating Tubesheet.
From giokurgfz.blob.core.windows.net
What Is Floating Tube Sheet at Grant Register blog What Is A Floating Tubesheet If the tube bundle has a square tube. Floating tube sheet diameter is kept slightly smaller than the inner shell diameter so that the entire tube. Each design has its specific advantages and applications. A clad tubesheet consists of a carbon or low alloy backing plate of sufficient thickness to satisfy the pressure vessel design code, with a layer of. What Is A Floating Tubesheet.
From www.bossgoo.com
Floating Type Tube Sheet, High Quality Floating Type Tube Sheet on What Is A Floating Tubesheet Floating tube sheet diameter is kept slightly smaller than the inner shell diameter so that the entire tube. Another widely used type is the floating head exchanger, which is better in fouling duties (see figure 2). Floating head is held in position by a split backing ring so that dismantling is possible. If the tube bundle has a square tube.. What Is A Floating Tubesheet.