What Is A Semi Automatic Car Transmission . A semi automatic gearbox combines the functions of a manual and an automatic transmission. It has been done to provide the driver with convenient control over gear selection for.
from www.azseal.com
It has been done to provide the driver with convenient control over gear selection for. A semi automatic gearbox combines the functions of a manual and an automatic transmission.
Cutaway car gearbox Arizona Sealing Devices, Inc.
What Is A Semi Automatic Car Transmission It has been done to provide the driver with convenient control over gear selection for. A semi automatic gearbox combines the functions of a manual and an automatic transmission. It has been done to provide the driver with convenient control over gear selection for.
From canpakauto.ca
Services Transmission System CANPAK AUTO INC What Is A Semi Automatic Car Transmission A semi automatic gearbox combines the functions of a manual and an automatic transmission. It has been done to provide the driver with convenient control over gear selection for. What Is A Semi Automatic Car Transmission.
From blog.beforward.jp
Automatic vs. Manual Car Transmissions Explained What Is A Semi Automatic Car Transmission A semi automatic gearbox combines the functions of a manual and an automatic transmission. It has been done to provide the driver with convenient control over gear selection for. What Is A Semi Automatic Car Transmission.
From www.youtube.com
iMT Gearbox Pros & Cons What Car? India SemiAutomatic Automatic What Is A Semi Automatic Car Transmission A semi automatic gearbox combines the functions of a manual and an automatic transmission. It has been done to provide the driver with convenient control over gear selection for. What Is A Semi Automatic Car Transmission.
From www.fixdapp.com
Automatic Transmission Service Everything You Need To Know What Is A Semi Automatic Car Transmission A semi automatic gearbox combines the functions of a manual and an automatic transmission. It has been done to provide the driver with convenient control over gear selection for. What Is A Semi Automatic Car Transmission.
From danq.me
Shifting into Automattic Dan Q What Is A Semi Automatic Car Transmission A semi automatic gearbox combines the functions of a manual and an automatic transmission. It has been done to provide the driver with convenient control over gear selection for. What Is A Semi Automatic Car Transmission.
From www.autotrader.co.za
How to Drive a semiautomatic car Motoring News and Advice AutoTrader What Is A Semi Automatic Car Transmission A semi automatic gearbox combines the functions of a manual and an automatic transmission. It has been done to provide the driver with convenient control over gear selection for. What Is A Semi Automatic Car Transmission.
From www.driving.org
New drivers shun manual gearboxes as automaticonly licence holders What Is A Semi Automatic Car Transmission It has been done to provide the driver with convenient control over gear selection for. A semi automatic gearbox combines the functions of a manual and an automatic transmission. What Is A Semi Automatic Car Transmission.
From www.azseal.com
Cutaway car gearbox Arizona Sealing Devices, Inc. What Is A Semi Automatic Car Transmission A semi automatic gearbox combines the functions of a manual and an automatic transmission. It has been done to provide the driver with convenient control over gear selection for. What Is A Semi Automatic Car Transmission.
From www.motorauthority.com
Find out how an F1 car's gearbox works What Is A Semi Automatic Car Transmission A semi automatic gearbox combines the functions of a manual and an automatic transmission. It has been done to provide the driver with convenient control over gear selection for. What Is A Semi Automatic Car Transmission.
From automaticman.co.uk
Semi Automatic Gearbox Repair Semi Automatic Gearbox Specialist What Is A Semi Automatic Car Transmission A semi automatic gearbox combines the functions of a manual and an automatic transmission. It has been done to provide the driver with convenient control over gear selection for. What Is A Semi Automatic Car Transmission.
From www.jjpremiumcars.co.uk
What Are Semiautomatic Cars? JJ Premium Cars Ltd What Is A Semi Automatic Car Transmission It has been done to provide the driver with convenient control over gear selection for. A semi automatic gearbox combines the functions of a manual and an automatic transmission. What Is A Semi Automatic Car Transmission.
From gomechanic.in
Explaining The CVT Gearbox and Why Its so Efficient! What Is A Semi Automatic Car Transmission It has been done to provide the driver with convenient control over gear selection for. A semi automatic gearbox combines the functions of a manual and an automatic transmission. What Is A Semi Automatic Car Transmission.
From rerev.com
Clutches in automatic transmissions — explained REREV What Is A Semi Automatic Car Transmission It has been done to provide the driver with convenient control over gear selection for. A semi automatic gearbox combines the functions of a manual and an automatic transmission. What Is A Semi Automatic Car Transmission.
From www.youtube.com
How To Drive A Semi Automatic Cars Easily for beginners YouTube What Is A Semi Automatic Car Transmission It has been done to provide the driver with convenient control over gear selection for. A semi automatic gearbox combines the functions of a manual and an automatic transmission. What Is A Semi Automatic Car Transmission.
From www.startrescue.co.uk
What is a semiautomatic car startrescue.co.uk What Is A Semi Automatic Car Transmission It has been done to provide the driver with convenient control over gear selection for. A semi automatic gearbox combines the functions of a manual and an automatic transmission. What Is A Semi Automatic Car Transmission.
From axleaddict.com
What Is a Semiautomatic Transmission? AxleAddict What Is A Semi Automatic Car Transmission A semi automatic gearbox combines the functions of a manual and an automatic transmission. It has been done to provide the driver with convenient control over gear selection for. What Is A Semi Automatic Car Transmission.
From axleaddict.com
Vehicle Transmission Types and Their Differences AxleAddict What Is A Semi Automatic Car Transmission It has been done to provide the driver with convenient control over gear selection for. A semi automatic gearbox combines the functions of a manual and an automatic transmission. What Is A Semi Automatic Car Transmission.
From www.youtube.com
Manual vs Automatic Car Transmissions Pros and Cons YouTube What Is A Semi Automatic Car Transmission A semi automatic gearbox combines the functions of a manual and an automatic transmission. It has been done to provide the driver with convenient control over gear selection for. What Is A Semi Automatic Car Transmission.
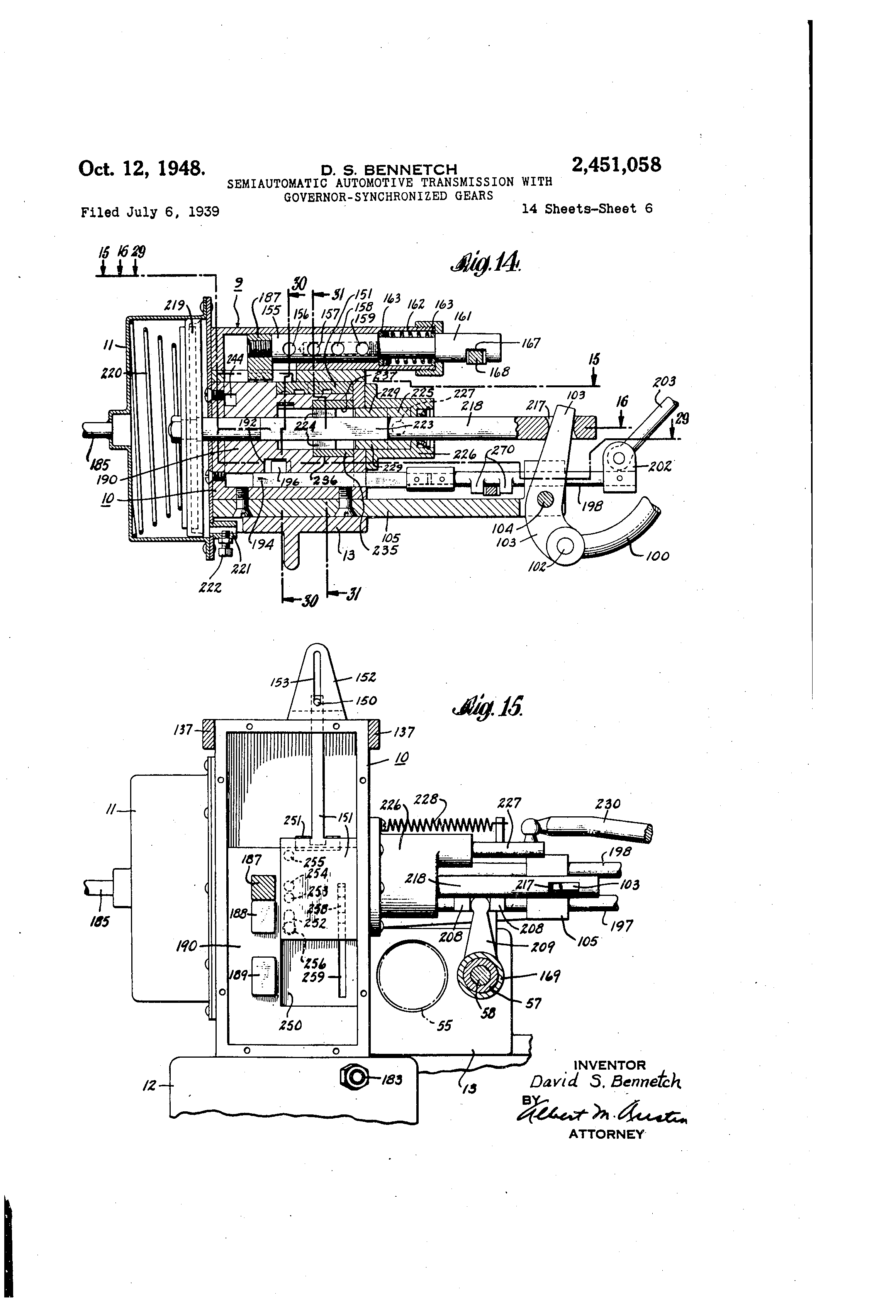
From www.google.com
Patent US2451058 Semiautomatic automotive transmission with governor What Is A Semi Automatic Car Transmission It has been done to provide the driver with convenient control over gear selection for. A semi automatic gearbox combines the functions of a manual and an automatic transmission. What Is A Semi Automatic Car Transmission.
From sdvh.co.uk
What Is A SemiAutomatic Car? Features, Pros & Cons 2023 What Is A Semi Automatic Car Transmission A semi automatic gearbox combines the functions of a manual and an automatic transmission. It has been done to provide the driver with convenient control over gear selection for. What Is A Semi Automatic Car Transmission.
From innovationdiscoveries.space
What are the Main Components of the Gear Box? What Is A Semi Automatic Car Transmission A semi automatic gearbox combines the functions of a manual and an automatic transmission. It has been done to provide the driver with convenient control over gear selection for. What Is A Semi Automatic Car Transmission.
From www.autodeft.com
Automatic Manual Transmission วิศวกรรมเก่าแนวทางใหม่ เพื่อรถยนต์นั่ง What Is A Semi Automatic Car Transmission It has been done to provide the driver with convenient control over gear selection for. A semi automatic gearbox combines the functions of a manual and an automatic transmission. What Is A Semi Automatic Car Transmission.
From k1motors.com.au
Automatic Transmission Service & Repair K1 Motors What Is A Semi Automatic Car Transmission A semi automatic gearbox combines the functions of a manual and an automatic transmission. It has been done to provide the driver with convenient control over gear selection for. What Is A Semi Automatic Car Transmission.
From news.motability.co.uk
Changing from a manual car to an automatic how to ensure a smooth What Is A Semi Automatic Car Transmission A semi automatic gearbox combines the functions of a manual and an automatic transmission. It has been done to provide the driver with convenient control over gear selection for. What Is A Semi Automatic Car Transmission.
From motoview.co.uk
Auto or semiauto ? That is the question ! Motoview What Is A Semi Automatic Car Transmission It has been done to provide the driver with convenient control over gear selection for. A semi automatic gearbox combines the functions of a manual and an automatic transmission. What Is A Semi Automatic Car Transmission.
From www.turbosquid.com
3D semi automatic transmission TurboSquid 1354150 What Is A Semi Automatic Car Transmission A semi automatic gearbox combines the functions of a manual and an automatic transmission. It has been done to provide the driver with convenient control over gear selection for. What Is A Semi Automatic Car Transmission.
From www.alamy.com
Control stick detail hires stock photography and images Alamy What Is A Semi Automatic Car Transmission It has been done to provide the driver with convenient control over gear selection for. A semi automatic gearbox combines the functions of a manual and an automatic transmission. What Is A Semi Automatic Car Transmission.
From nengeniso22schematic.z14.web.core.windows.net
Cars With Manual And Automatic Transmission What Is A Semi Automatic Car Transmission A semi automatic gearbox combines the functions of a manual and an automatic transmission. It has been done to provide the driver with convenient control over gear selection for. What Is A Semi Automatic Car Transmission.
From kiturt.com
What is a SemiAutomatic Car? (And How Do I Drive One?) (2022) What Is A Semi Automatic Car Transmission A semi automatic gearbox combines the functions of a manual and an automatic transmission. It has been done to provide the driver with convenient control over gear selection for. What Is A Semi Automatic Car Transmission.
From axleaddict.com
What Is a Semiautomatic Transmission? AxleAddict What Is A Semi Automatic Car Transmission It has been done to provide the driver with convenient control over gear selection for. A semi automatic gearbox combines the functions of a manual and an automatic transmission. What Is A Semi Automatic Car Transmission.
From circuitdelgerf1.z21.web.core.windows.net
Cars With Manual And Automatic Transmission What Is A Semi Automatic Car Transmission A semi automatic gearbox combines the functions of a manual and an automatic transmission. It has been done to provide the driver with convenient control over gear selection for. What Is A Semi Automatic Car Transmission.
From www.meineke.com
How Does an Automatic Transmission Work Meineke Car Care What Is A Semi Automatic Car Transmission It has been done to provide the driver with convenient control over gear selection for. A semi automatic gearbox combines the functions of a manual and an automatic transmission. What Is A Semi Automatic Car Transmission.
From transmissioncar.com
Allison Transmission Wont Shift into Gear Car Transmission Guide What Is A Semi Automatic Car Transmission A semi automatic gearbox combines the functions of a manual and an automatic transmission. It has been done to provide the driver with convenient control over gear selection for. What Is A Semi Automatic Car Transmission.
From blog.beforward.jp
Automatic vs. Manual Car Transmissions Explained What Is A Semi Automatic Car Transmission A semi automatic gearbox combines the functions of a manual and an automatic transmission. It has been done to provide the driver with convenient control over gear selection for. What Is A Semi Automatic Car Transmission.