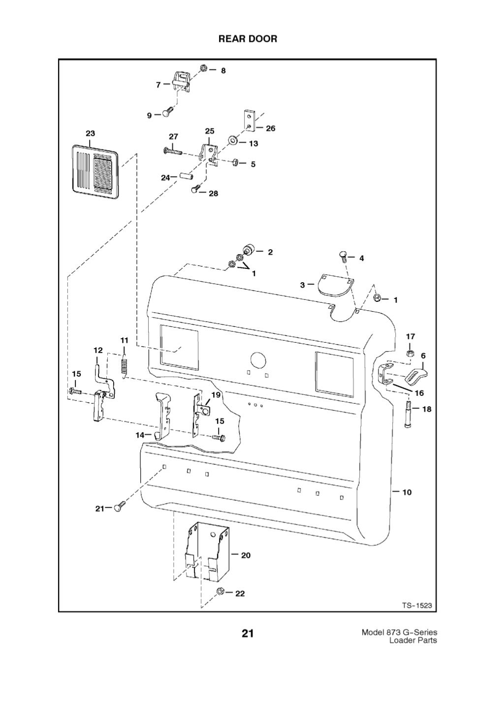
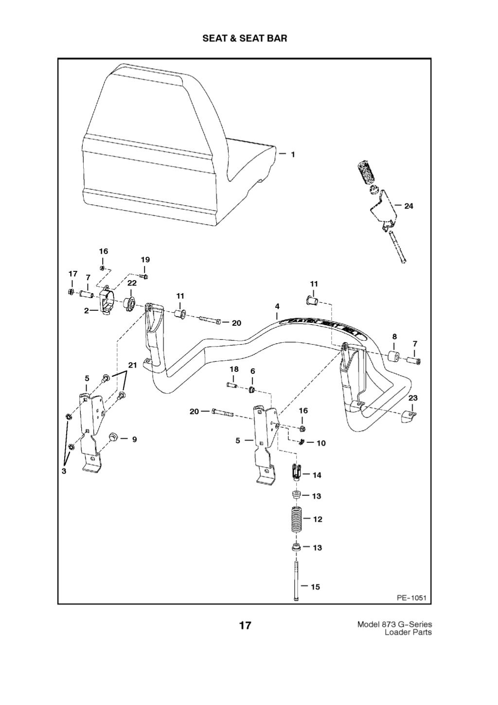
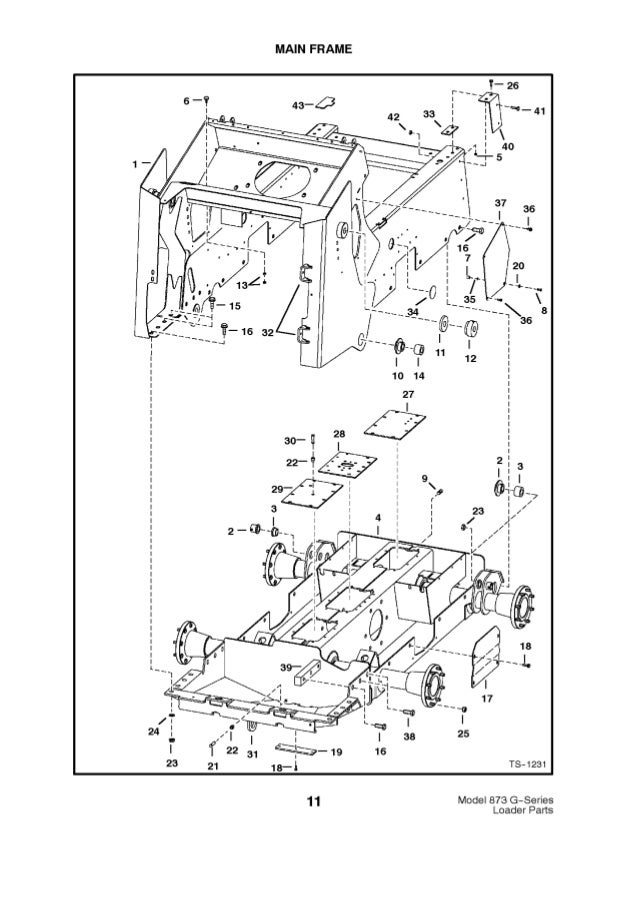
Bobcat 873 Hydraulic Hose Diagram . If you plan to purchase parts for regular maintenance or service for. These service manual contains all the information required to assist you or a trained service. Genuine bobcat 873 loader operation and maintenance digital manual, 6900369pdf or owner's digital manual provides the owner or. Never use open flame or bare skin to check. Do not go under lift arms when raised unless supported. An essential resource for mechanics and technicians working with the bobcat 873 skid steer loader. Disconnecting or loosening any hydraulic tubeline, hose, fitting, component or a part failure can cause lift arms to drop. It includes 44 line items with references to other documents for some parts like the seat. Bobcat parts online is your official source for parts diagrams and parts lists. • check fuel and hydraulic tubes, hoses and fittings for damage and leakage. This document provides a parts list for an operator cab.
from therepairmanual.com
Genuine bobcat 873 loader operation and maintenance digital manual, 6900369pdf or owner's digital manual provides the owner or. Do not go under lift arms when raised unless supported. If you plan to purchase parts for regular maintenance or service for. An essential resource for mechanics and technicians working with the bobcat 873 skid steer loader. • check fuel and hydraulic tubes, hoses and fittings for damage and leakage. Never use open flame or bare skin to check. Bobcat parts online is your official source for parts diagrams and parts lists. It includes 44 line items with references to other documents for some parts like the seat. Disconnecting or loosening any hydraulic tubeline, hose, fitting, component or a part failure can cause lift arms to drop. These service manual contains all the information required to assist you or a trained service.
Bobcat 873 SkidSteer Loader Service Manual
Bobcat 873 Hydraulic Hose Diagram Bobcat parts online is your official source for parts diagrams and parts lists. Genuine bobcat 873 loader operation and maintenance digital manual, 6900369pdf or owner's digital manual provides the owner or. Never use open flame or bare skin to check. Do not go under lift arms when raised unless supported. This document provides a parts list for an operator cab. If you plan to purchase parts for regular maintenance or service for. Bobcat parts online is your official source for parts diagrams and parts lists. Disconnecting or loosening any hydraulic tubeline, hose, fitting, component or a part failure can cause lift arms to drop. • check fuel and hydraulic tubes, hoses and fittings for damage and leakage. It includes 44 line items with references to other documents for some parts like the seat. An essential resource for mechanics and technicians working with the bobcat 873 skid steer loader. These service manual contains all the information required to assist you or a trained service.
From wiringall.com
Bobcat 873 Wiring Diagram Bobcat 873 Hydraulic Hose Diagram Bobcat parts online is your official source for parts diagrams and parts lists. Disconnecting or loosening any hydraulic tubeline, hose, fitting, component or a part failure can cause lift arms to drop. Genuine bobcat 873 loader operation and maintenance digital manual, 6900369pdf or owner's digital manual provides the owner or. Do not go under lift arms when raised unless supported.. Bobcat 873 Hydraulic Hose Diagram.
From repair-manuals.com
Bobcat 873 Skid Steer Service Repair Manual Bobcat 873 Hydraulic Hose Diagram Do not go under lift arms when raised unless supported. It includes 44 line items with references to other documents for some parts like the seat. This document provides a parts list for an operator cab. Bobcat parts online is your official source for parts diagrams and parts lists. Never use open flame or bare skin to check. If you. Bobcat 873 Hydraulic Hose Diagram.
From diagramlibraryclopped.z19.web.core.windows.net
Bobcat Parts Diagrams Bobcat 873 Hydraulic Hose Diagram • check fuel and hydraulic tubes, hoses and fittings for damage and leakage. Never use open flame or bare skin to check. This document provides a parts list for an operator cab. If you plan to purchase parts for regular maintenance or service for. Disconnecting or loosening any hydraulic tubeline, hose, fitting, component or a part failure can cause lift. Bobcat 873 Hydraulic Hose Diagram.
From libbymaikali.blogspot.com
bobcat hydraulic pump diagram LibbyMaikali Bobcat 873 Hydraulic Hose Diagram These service manual contains all the information required to assist you or a trained service. Disconnecting or loosening any hydraulic tubeline, hose, fitting, component or a part failure can cause lift arms to drop. Never use open flame or bare skin to check. Do not go under lift arms when raised unless supported. Genuine bobcat 873 loader operation and maintenance. Bobcat 873 Hydraulic Hose Diagram.
From www.slideshare.net
Bobcat 873 g series skid steer loader parts catalogue manual (sn 5179… Bobcat 873 Hydraulic Hose Diagram An essential resource for mechanics and technicians working with the bobcat 873 skid steer loader. If you plan to purchase parts for regular maintenance or service for. • check fuel and hydraulic tubes, hoses and fittings for damage and leakage. Do not go under lift arms when raised unless supported. Disconnecting or loosening any hydraulic tubeline, hose, fitting, component or. Bobcat 873 Hydraulic Hose Diagram.
From mavink.com
Bobcat Hydraulic Pump Diagram Bobcat 873 Hydraulic Hose Diagram It includes 44 line items with references to other documents for some parts like the seat. These service manual contains all the information required to assist you or a trained service. Do not go under lift arms when raised unless supported. Disconnecting or loosening any hydraulic tubeline, hose, fitting, component or a part failure can cause lift arms to drop.. Bobcat 873 Hydraulic Hose Diagram.
From therepairmanual.com
Bobcat 873 SkidSteer Loader Service Manual Bobcat 873 Hydraulic Hose Diagram An essential resource for mechanics and technicians working with the bobcat 873 skid steer loader. Do not go under lift arms when raised unless supported. Genuine bobcat 873 loader operation and maintenance digital manual, 6900369pdf or owner's digital manual provides the owner or. This document provides a parts list for an operator cab. • check fuel and hydraulic tubes, hoses. Bobcat 873 Hydraulic Hose Diagram.
From www.autorepairmanuals.ws
Bobcat Loader 873 883 Service Manuals Auto Repair Manual Forum Bobcat 873 Hydraulic Hose Diagram Genuine bobcat 873 loader operation and maintenance digital manual, 6900369pdf or owner's digital manual provides the owner or. These service manual contains all the information required to assist you or a trained service. If you plan to purchase parts for regular maintenance or service for. Bobcat parts online is your official source for parts diagrams and parts lists. This document. Bobcat 873 Hydraulic Hose Diagram.
From www.epcatalogs.com
Bobcat 873 Skid Steer Loader Service Manual PDF Bobcat 873 Hydraulic Hose Diagram Never use open flame or bare skin to check. Do not go under lift arms when raised unless supported. This document provides a parts list for an operator cab. An essential resource for mechanics and technicians working with the bobcat 873 skid steer loader. It includes 44 line items with references to other documents for some parts like the seat.. Bobcat 873 Hydraulic Hose Diagram.
From manualfixbrandt.z19.web.core.windows.net
Bobcat 873 Hydraulic Schematics Bobcat 873 Hydraulic Hose Diagram It includes 44 line items with references to other documents for some parts like the seat. An essential resource for mechanics and technicians working with the bobcat 873 skid steer loader. These service manual contains all the information required to assist you or a trained service. Never use open flame or bare skin to check. Genuine bobcat 873 loader operation. Bobcat 873 Hydraulic Hose Diagram.
From www.slideshare.net
Bobcat 873 g series skid steer loader parts catalogue manual (sn 5179… Bobcat 873 Hydraulic Hose Diagram Never use open flame or bare skin to check. These service manual contains all the information required to assist you or a trained service. Genuine bobcat 873 loader operation and maintenance digital manual, 6900369pdf or owner's digital manual provides the owner or. It includes 44 line items with references to other documents for some parts like the seat. Do not. Bobcat 873 Hydraulic Hose Diagram.
From www.repairmanual.com
Bobcat 873 0514114999 Service Manual Bobcat 873 Hydraulic Hose Diagram If you plan to purchase parts for regular maintenance or service for. Genuine bobcat 873 loader operation and maintenance digital manual, 6900369pdf or owner's digital manual provides the owner or. Disconnecting or loosening any hydraulic tubeline, hose, fitting, component or a part failure can cause lift arms to drop. These service manual contains all the information required to assist you. Bobcat 873 Hydraulic Hose Diagram.
From www.autorepairmanuals.ws
Bobcat Loader 873883 Hydraulic & Electrical Schematic Auto Repair Bobcat 873 Hydraulic Hose Diagram Disconnecting or loosening any hydraulic tubeline, hose, fitting, component or a part failure can cause lift arms to drop. Never use open flame or bare skin to check. These service manual contains all the information required to assist you or a trained service. If you plan to purchase parts for regular maintenance or service for. Bobcat parts online is your. Bobcat 873 Hydraulic Hose Diagram.
From www.slideshare.net
Bobcat 873 G Series Skid Steer Loader Parts Catalogue Manual (S/N 517… Bobcat 873 Hydraulic Hose Diagram Do not go under lift arms when raised unless supported. If you plan to purchase parts for regular maintenance or service for. An essential resource for mechanics and technicians working with the bobcat 873 skid steer loader. • check fuel and hydraulic tubes, hoses and fittings for damage and leakage. Genuine bobcat 873 loader operation and maintenance digital manual, 6900369pdf. Bobcat 873 Hydraulic Hose Diagram.
From servicepartmanuals.com
Bobcat 873 Loader Electrical Hydraulic Schematic PDF Bobcat 873 Hydraulic Hose Diagram If you plan to purchase parts for regular maintenance or service for. Never use open flame or bare skin to check. • check fuel and hydraulic tubes, hoses and fittings for damage and leakage. Disconnecting or loosening any hydraulic tubeline, hose, fitting, component or a part failure can cause lift arms to drop. Do not go under lift arms when. Bobcat 873 Hydraulic Hose Diagram.
From autoepcservice.com
Bobcat Loader 873 Electrical and Hydraulic Schematic Bobcat 873 Hydraulic Hose Diagram Disconnecting or loosening any hydraulic tubeline, hose, fitting, component or a part failure can cause lift arms to drop. Never use open flame or bare skin to check. If you plan to purchase parts for regular maintenance or service for. Bobcat parts online is your official source for parts diagrams and parts lists. An essential resource for mechanics and technicians. Bobcat 873 Hydraulic Hose Diagram.
From es.slideshare.net
BOBCAT 873 SKID STEER LOADER Service Repair Manual S/N 514115001 & Ab… Bobcat 873 Hydraulic Hose Diagram If you plan to purchase parts for regular maintenance or service for. It includes 44 line items with references to other documents for some parts like the seat. Do not go under lift arms when raised unless supported. • check fuel and hydraulic tubes, hoses and fittings for damage and leakage. Never use open flame or bare skin to check.. Bobcat 873 Hydraulic Hose Diagram.
From circuitdiagramjeanette.z13.web.core.windows.net
Bobcat 873 Hydraulic Schematics Bobcat 873 Hydraulic Hose Diagram An essential resource for mechanics and technicians working with the bobcat 873 skid steer loader. Do not go under lift arms when raised unless supported. Never use open flame or bare skin to check. This document provides a parts list for an operator cab. Disconnecting or loosening any hydraulic tubeline, hose, fitting, component or a part failure can cause lift. Bobcat 873 Hydraulic Hose Diagram.
From shopservicemanual.com
Service manual Bobcat 873 Skid Steer Loader Bobcat 873 Hydraulic Hose Diagram Disconnecting or loosening any hydraulic tubeline, hose, fitting, component or a part failure can cause lift arms to drop. Bobcat parts online is your official source for parts diagrams and parts lists. • check fuel and hydraulic tubes, hoses and fittings for damage and leakage. If you plan to purchase parts for regular maintenance or service for. This document provides. Bobcat 873 Hydraulic Hose Diagram.
From www.arepairmanual.com
Bobcat 873 Skid Steer Loader Service Repair Manual 514115001 Bobcat 873 Hydraulic Hose Diagram Never use open flame or bare skin to check. • check fuel and hydraulic tubes, hoses and fittings for damage and leakage. This document provides a parts list for an operator cab. These service manual contains all the information required to assist you or a trained service. Bobcat parts online is your official source for parts diagrams and parts lists.. Bobcat 873 Hydraulic Hose Diagram.
From takemanual.com
Bobcat 873 Operation & Maintenance Manual Skid Steer Loader 514211001 Bobcat 873 Hydraulic Hose Diagram Never use open flame or bare skin to check. An essential resource for mechanics and technicians working with the bobcat 873 skid steer loader. This document provides a parts list for an operator cab. If you plan to purchase parts for regular maintenance or service for. Do not go under lift arms when raised unless supported. It includes 44 line. Bobcat 873 Hydraulic Hose Diagram.
From www.autorepairmanuals.ws
Bobcat Loader 873 Electrical and Hydraulic Schematic Auto Repair Bobcat 873 Hydraulic Hose Diagram If you plan to purchase parts for regular maintenance or service for. This document provides a parts list for an operator cab. These service manual contains all the information required to assist you or a trained service. It includes 44 line items with references to other documents for some parts like the seat. An essential resource for mechanics and technicians. Bobcat 873 Hydraulic Hose Diagram.
From www.autorepairmanuals.ws
Bobcat Loader 873883 Hydraulic & Electrical Schematic Auto Repair Bobcat 873 Hydraulic Hose Diagram Disconnecting or loosening any hydraulic tubeline, hose, fitting, component or a part failure can cause lift arms to drop. Bobcat parts online is your official source for parts diagrams and parts lists. This document provides a parts list for an operator cab. It includes 44 line items with references to other documents for some parts like the seat. Never use. Bobcat 873 Hydraulic Hose Diagram.
From www.heydownloads.com
BOBCAT 873 LOADER SERVICE REPAIR MANUAL DOWNLOAD Bobcat 873 Hydraulic Hose Diagram These service manual contains all the information required to assist you or a trained service. Disconnecting or loosening any hydraulic tubeline, hose, fitting, component or a part failure can cause lift arms to drop. It includes 44 line items with references to other documents for some parts like the seat. Genuine bobcat 873 loader operation and maintenance digital manual, 6900369pdf. Bobcat 873 Hydraulic Hose Diagram.
From schematicdbmoench.z13.web.core.windows.net
Bobcat 873 Hydraulic Schematics Bobcat 873 Hydraulic Hose Diagram An essential resource for mechanics and technicians working with the bobcat 873 skid steer loader. This document provides a parts list for an operator cab. Bobcat parts online is your official source for parts diagrams and parts lists. Genuine bobcat 873 loader operation and maintenance digital manual, 6900369pdf or owner's digital manual provides the owner or. These service manual contains. Bobcat 873 Hydraulic Hose Diagram.
From wirelistetiquette.z13.web.core.windows.net
Bobcat High Flow Hydraulic Pump Bobcat 873 Hydraulic Hose Diagram If you plan to purchase parts for regular maintenance or service for. An essential resource for mechanics and technicians working with the bobcat 873 skid steer loader. These service manual contains all the information required to assist you or a trained service. • check fuel and hydraulic tubes, hoses and fittings for damage and leakage. Do not go under lift. Bobcat 873 Hydraulic Hose Diagram.
From guidedbcindy.z21.web.core.windows.net
Bobcat 873 Hydraulic Schematics Bobcat 873 Hydraulic Hose Diagram If you plan to purchase parts for regular maintenance or service for. • check fuel and hydraulic tubes, hoses and fittings for damage and leakage. These service manual contains all the information required to assist you or a trained service. An essential resource for mechanics and technicians working with the bobcat 873 skid steer loader. Disconnecting or loosening any hydraulic. Bobcat 873 Hydraulic Hose Diagram.
From wiringdiagramyamaha.blogspot.com
Bobcat Hydraulic Pump Diagram wiring diagram yamaha Bobcat 873 Hydraulic Hose Diagram • check fuel and hydraulic tubes, hoses and fittings for damage and leakage. These service manual contains all the information required to assist you or a trained service. Do not go under lift arms when raised unless supported. Never use open flame or bare skin to check. If you plan to purchase parts for regular maintenance or service for. Bobcat. Bobcat 873 Hydraulic Hose Diagram.
From therepairmanual.com
Bobcat 873 SkidSteer Loader Service Manual Bobcat 873 Hydraulic Hose Diagram Disconnecting or loosening any hydraulic tubeline, hose, fitting, component or a part failure can cause lift arms to drop. This document provides a parts list for an operator cab. Genuine bobcat 873 loader operation and maintenance digital manual, 6900369pdf or owner's digital manual provides the owner or. Never use open flame or bare skin to check. An essential resource for. Bobcat 873 Hydraulic Hose Diagram.
From shopservicemanual.com
Service manual Bobcat 873 Skid Steer Loader Bobcat 873 Hydraulic Hose Diagram Disconnecting or loosening any hydraulic tubeline, hose, fitting, component or a part failure can cause lift arms to drop. This document provides a parts list for an operator cab. Bobcat parts online is your official source for parts diagrams and parts lists. It includes 44 line items with references to other documents for some parts like the seat. Genuine bobcat. Bobcat 873 Hydraulic Hose Diagram.
From schematicdbmoench.z13.web.core.windows.net
Bobcat 873 Hydraulic Schematics Bobcat 873 Hydraulic Hose Diagram Bobcat parts online is your official source for parts diagrams and parts lists. An essential resource for mechanics and technicians working with the bobcat 873 skid steer loader. Disconnecting or loosening any hydraulic tubeline, hose, fitting, component or a part failure can cause lift arms to drop. These service manual contains all the information required to assist you or a. Bobcat 873 Hydraulic Hose Diagram.
From www.slideshare.net
Bobcat 873 G Series Skid Steer Loader Parts Catalogue Manual (S/N 517… Bobcat 873 Hydraulic Hose Diagram Bobcat parts online is your official source for parts diagrams and parts lists. Disconnecting or loosening any hydraulic tubeline, hose, fitting, component or a part failure can cause lift arms to drop. Never use open flame or bare skin to check. An essential resource for mechanics and technicians working with the bobcat 873 skid steer loader. This document provides a. Bobcat 873 Hydraulic Hose Diagram.
From shopservicemanual.com
Service manual Bobcat 873 Skid Steer Loader Bobcat 873 Hydraulic Hose Diagram These service manual contains all the information required to assist you or a trained service. This document provides a parts list for an operator cab. It includes 44 line items with references to other documents for some parts like the seat. Genuine bobcat 873 loader operation and maintenance digital manual, 6900369pdf or owner's digital manual provides the owner or. Do. Bobcat 873 Hydraulic Hose Diagram.
From schematron.org
Bobcat 873 Wiring Diagram Bobcat 873 Hydraulic Hose Diagram Do not go under lift arms when raised unless supported. These service manual contains all the information required to assist you or a trained service. It includes 44 line items with references to other documents for some parts like the seat. This document provides a parts list for an operator cab. Disconnecting or loosening any hydraulic tubeline, hose, fitting, component. Bobcat 873 Hydraulic Hose Diagram.
From www.pinterest.com
Bobcat 873 and 883 GSeries SkidSteer Loader Service Manual Skid Bobcat 873 Hydraulic Hose Diagram • check fuel and hydraulic tubes, hoses and fittings for damage and leakage. This document provides a parts list for an operator cab. Disconnecting or loosening any hydraulic tubeline, hose, fitting, component or a part failure can cause lift arms to drop. It includes 44 line items with references to other documents for some parts like the seat. Never use. Bobcat 873 Hydraulic Hose Diagram.