Cone Transition Calculator . No knuckle is required for these heads but reinforcement may. This article addresses the design of conical transition of a pressure vessel in accordance with asme section viii, division 1. The flat pattern of a cone is an application that calculates the parameters for a development of a full , half , truncated , concentric, frustum, eccentric cone. Conical is a simple cone that finishes at the vessel with a sharp transition. The cone is a widely. View the cone instructions below to learn how to manually layout the flat pattern for a truncated. Fabrication flat pattern app is used for developing fabrication layout of all types of shapes generally used in fabrication such as cone, shell, pipe branch connections, full cone, half cone, truncated cone, square to round, round to square, rectangular to round, round to rectangular, pyramid, truncated pyramid, cone to pipe branch, spheres.
from letsfab.in
Conical is a simple cone that finishes at the vessel with a sharp transition. Fabrication flat pattern app is used for developing fabrication layout of all types of shapes generally used in fabrication such as cone, shell, pipe branch connections, full cone, half cone, truncated cone, square to round, round to square, rectangular to round, round to rectangular, pyramid, truncated pyramid, cone to pipe branch, spheres. View the cone instructions below to learn how to manually layout the flat pattern for a truncated. The cone is a widely. The flat pattern of a cone is an application that calculates the parameters for a development of a full , half , truncated , concentric, frustum, eccentric cone. No knuckle is required for these heads but reinforcement may. This article addresses the design of conical transition of a pressure vessel in accordance with asme section viii, division 1.
Pressure Vessel Thickness Calculator
Cone Transition Calculator The cone is a widely. The cone is a widely. The flat pattern of a cone is an application that calculates the parameters for a development of a full , half , truncated , concentric, frustum, eccentric cone. This article addresses the design of conical transition of a pressure vessel in accordance with asme section viii, division 1. Fabrication flat pattern app is used for developing fabrication layout of all types of shapes generally used in fabrication such as cone, shell, pipe branch connections, full cone, half cone, truncated cone, square to round, round to square, rectangular to round, round to rectangular, pyramid, truncated pyramid, cone to pipe branch, spheres. Conical is a simple cone that finishes at the vessel with a sharp transition. View the cone instructions below to learn how to manually layout the flat pattern for a truncated. No knuckle is required for these heads but reinforcement may.
From apkpure.com
cone calculator for Android APK Download Cone Transition Calculator View the cone instructions below to learn how to manually layout the flat pattern for a truncated. The flat pattern of a cone is an application that calculates the parameters for a development of a full , half , truncated , concentric, frustum, eccentric cone. No knuckle is required for these heads but reinforcement may. This article addresses the design. Cone Transition Calculator.
From play.google.com
cone calculator Android Apps on Google Play Cone Transition Calculator Conical is a simple cone that finishes at the vessel with a sharp transition. This article addresses the design of conical transition of a pressure vessel in accordance with asme section viii, division 1. View the cone instructions below to learn how to manually layout the flat pattern for a truncated. Fabrication flat pattern app is used for developing fabrication. Cone Transition Calculator.
From play.google.com
cone calculator Android Apps on Google Play Cone Transition Calculator The flat pattern of a cone is an application that calculates the parameters for a development of a full , half , truncated , concentric, frustum, eccentric cone. This article addresses the design of conical transition of a pressure vessel in accordance with asme section viii, division 1. Fabrication flat pattern app is used for developing fabrication layout of all. Cone Transition Calculator.
From ar.inspiredpencil.com
Surface Area Of A Truncated Cone Cone Transition Calculator This article addresses the design of conical transition of a pressure vessel in accordance with asme section viii, division 1. View the cone instructions below to learn how to manually layout the flat pattern for a truncated. The flat pattern of a cone is an application that calculates the parameters for a development of a full , half , truncated. Cone Transition Calculator.
From www.pinterest.co.uk
Flat Cone Template Calculator Cone calculator, Cone template, Cone Cone Transition Calculator View the cone instructions below to learn how to manually layout the flat pattern for a truncated. No knuckle is required for these heads but reinforcement may. Conical is a simple cone that finishes at the vessel with a sharp transition. Fabrication flat pattern app is used for developing fabrication layout of all types of shapes generally used in fabrication. Cone Transition Calculator.
From www.youtube.com
How to Calculate Flat Pattern Marking of Truncated Cone, Eccentric Cone Cone Transition Calculator Conical is a simple cone that finishes at the vessel with a sharp transition. No knuckle is required for these heads but reinforcement may. View the cone instructions below to learn how to manually layout the flat pattern for a truncated. This article addresses the design of conical transition of a pressure vessel in accordance with asme section viii, division. Cone Transition Calculator.
From www.youtube.com
Calculating a Right Cone Pattern Development for Sheetmetal Fabrication Cone Transition Calculator The cone is a widely. The flat pattern of a cone is an application that calculates the parameters for a development of a full , half , truncated , concentric, frustum, eccentric cone. No knuckle is required for these heads but reinforcement may. Conical is a simple cone that finishes at the vessel with a sharp transition. View the cone. Cone Transition Calculator.
From play.google.com
cone calculator Android Apps on Google Play Cone Transition Calculator View the cone instructions below to learn how to manually layout the flat pattern for a truncated. No knuckle is required for these heads but reinforcement may. Conical is a simple cone that finishes at the vessel with a sharp transition. The cone is a widely. Fabrication flat pattern app is used for developing fabrication layout of all types of. Cone Transition Calculator.
From play.google.com
Flat pattern cone calculator Apps on Google Play Cone Transition Calculator The cone is a widely. The flat pattern of a cone is an application that calculates the parameters for a development of a full , half , truncated , concentric, frustum, eccentric cone. View the cone instructions below to learn how to manually layout the flat pattern for a truncated. Conical is a simple cone that finishes at the vessel. Cone Transition Calculator.
From www.arntzenrolling.com
Steel Cone Fabrication Custom Metal Cone Rolling Arntzen Rolling Cone Transition Calculator Fabrication flat pattern app is used for developing fabrication layout of all types of shapes generally used in fabrication such as cone, shell, pipe branch connections, full cone, half cone, truncated cone, square to round, round to square, rectangular to round, round to rectangular, pyramid, truncated pyramid, cone to pipe branch, spheres. View the cone instructions below to learn how. Cone Transition Calculator.
From perutews.weebly.com
Cone stockpile calculator perutews Cone Transition Calculator Conical is a simple cone that finishes at the vessel with a sharp transition. No knuckle is required for these heads but reinforcement may. Fabrication flat pattern app is used for developing fabrication layout of all types of shapes generally used in fabrication such as cone, shell, pipe branch connections, full cone, half cone, truncated cone, square to round, round. Cone Transition Calculator.
From teachoo.com
Ex 13.4, 2 The slant height of a frustum of a cone is 4 cm Cone Transition Calculator No knuckle is required for these heads but reinforcement may. The flat pattern of a cone is an application that calculates the parameters for a development of a full , half , truncated , concentric, frustum, eccentric cone. The cone is a widely. Conical is a simple cone that finishes at the vessel with a sharp transition. View the cone. Cone Transition Calculator.
From www.youtube.com
Cone Plate Cutting Layout or Cone Flat Pattern Layout By Marking Method Cone Transition Calculator The flat pattern of a cone is an application that calculates the parameters for a development of a full , half , truncated , concentric, frustum, eccentric cone. No knuckle is required for these heads but reinforcement may. The cone is a widely. This article addresses the design of conical transition of a pressure vessel in accordance with asme section. Cone Transition Calculator.
From areavolumecalculator.com
Cone Calculator Calculate Surface Area, Volume, Slant Height of Cone Cone Transition Calculator Fabrication flat pattern app is used for developing fabrication layout of all types of shapes generally used in fabrication such as cone, shell, pipe branch connections, full cone, half cone, truncated cone, square to round, round to square, rectangular to round, round to rectangular, pyramid, truncated pyramid, cone to pipe branch, spheres. The flat pattern of a cone is an. Cone Transition Calculator.
From steprimo.com
Flat Pattern Cone Calculator Download App for iPhone Cone Transition Calculator No knuckle is required for these heads but reinforcement may. Conical is a simple cone that finishes at the vessel with a sharp transition. The flat pattern of a cone is an application that calculates the parameters for a development of a full , half , truncated , concentric, frustum, eccentric cone. View the cone instructions below to learn how. Cone Transition Calculator.
From getcalc.com
Cone Calculator & Work with Steps Cone Transition Calculator The cone is a widely. The flat pattern of a cone is an application that calculates the parameters for a development of a full , half , truncated , concentric, frustum, eccentric cone. View the cone instructions below to learn how to manually layout the flat pattern for a truncated. Fabrication flat pattern app is used for developing fabrication layout. Cone Transition Calculator.
From meggiecat.blogspot.co.uk
meggiecat Cone Calculator Cone Transition Calculator The flat pattern of a cone is an application that calculates the parameters for a development of a full , half , truncated , concentric, frustum, eccentric cone. Fabrication flat pattern app is used for developing fabrication layout of all types of shapes generally used in fabrication such as cone, shell, pipe branch connections, full cone, half cone, truncated cone,. Cone Transition Calculator.
From www.amazon.in
Cones Calculators Amazon.in Appstore for Android Cone Transition Calculator Conical is a simple cone that finishes at the vessel with a sharp transition. This article addresses the design of conical transition of a pressure vessel in accordance with asme section viii, division 1. The cone is a widely. No knuckle is required for these heads but reinforcement may. The flat pattern of a cone is an application that calculates. Cone Transition Calculator.
From www.youtube.com
How to find the Volume of a Cone Mathcation YouTube Cone Transition Calculator No knuckle is required for these heads but reinforcement may. Fabrication flat pattern app is used for developing fabrication layout of all types of shapes generally used in fabrication such as cone, shell, pipe branch connections, full cone, half cone, truncated cone, square to round, round to square, rectangular to round, round to rectangular, pyramid, truncated pyramid, cone to pipe. Cone Transition Calculator.
From apkpure.com
cone calculator for Android APK Download Cone Transition Calculator No knuckle is required for these heads but reinforcement may. The cone is a widely. Conical is a simple cone that finishes at the vessel with a sharp transition. This article addresses the design of conical transition of a pressure vessel in accordance with asme section viii, division 1. View the cone instructions below to learn how to manually layout. Cone Transition Calculator.
From play.google.com
cone calculator Android Apps on Google Play Cone Transition Calculator Fabrication flat pattern app is used for developing fabrication layout of all types of shapes generally used in fabrication such as cone, shell, pipe branch connections, full cone, half cone, truncated cone, square to round, round to square, rectangular to round, round to rectangular, pyramid, truncated pyramid, cone to pipe branch, spheres. No knuckle is required for these heads but. Cone Transition Calculator.
From letsfab.in
Cone Calculator for Pressure Vessel Fabrication Cone Transition Calculator Fabrication flat pattern app is used for developing fabrication layout of all types of shapes generally used in fabrication such as cone, shell, pipe branch connections, full cone, half cone, truncated cone, square to round, round to square, rectangular to round, round to rectangular, pyramid, truncated pyramid, cone to pipe branch, spheres. This article addresses the design of conical transition. Cone Transition Calculator.
From www.youtube.com
How to Make Eccentric Cone Development Drawing Using AutoCad in Tamil Cone Transition Calculator The flat pattern of a cone is an application that calculates the parameters for a development of a full , half , truncated , concentric, frustum, eccentric cone. Conical is a simple cone that finishes at the vessel with a sharp transition. The cone is a widely. No knuckle is required for these heads but reinforcement may. View the cone. Cone Transition Calculator.
From letsfab.in
Pressure Vessel Thickness Calculator Cone Transition Calculator No knuckle is required for these heads but reinforcement may. View the cone instructions below to learn how to manually layout the flat pattern for a truncated. The flat pattern of a cone is an application that calculates the parameters for a development of a full , half , truncated , concentric, frustum, eccentric cone. The cone is a widely.. Cone Transition Calculator.
From www.pinterest.es
Cone Calculator in 2021 Math calculator, Cone calculator, Online math Cone Transition Calculator The flat pattern of a cone is an application that calculates the parameters for a development of a full , half , truncated , concentric, frustum, eccentric cone. No knuckle is required for these heads but reinforcement may. Conical is a simple cone that finishes at the vessel with a sharp transition. View the cone instructions below to learn how. Cone Transition Calculator.
From www.youtube.com
Development of Transition Piece Development of Rectangular to Cone Transition Calculator No knuckle is required for these heads but reinforcement may. The flat pattern of a cone is an application that calculates the parameters for a development of a full , half , truncated , concentric, frustum, eccentric cone. This article addresses the design of conical transition of a pressure vessel in accordance with asme section viii, division 1. The cone. Cone Transition Calculator.
From www.amazon.in
Volume of a Cone Calculator App on Amazon Appstore Cone Transition Calculator Fabrication flat pattern app is used for developing fabrication layout of all types of shapes generally used in fabrication such as cone, shell, pipe branch connections, full cone, half cone, truncated cone, square to round, round to square, rectangular to round, round to rectangular, pyramid, truncated pyramid, cone to pipe branch, spheres. The cone is a widely. The flat pattern. Cone Transition Calculator.
From apkpure.com
cone calculator for Android APK Download Cone Transition Calculator View the cone instructions below to learn how to manually layout the flat pattern for a truncated. Conical is a simple cone that finishes at the vessel with a sharp transition. The flat pattern of a cone is an application that calculates the parameters for a development of a full , half , truncated , concentric, frustum, eccentric cone. The. Cone Transition Calculator.
From www.youtube.com
How to Make Cone Pattern / using Cone Calculator App ( tagalog tutorial Cone Transition Calculator Conical is a simple cone that finishes at the vessel with a sharp transition. The cone is a widely. View the cone instructions below to learn how to manually layout the flat pattern for a truncated. Fabrication flat pattern app is used for developing fabrication layout of all types of shapes generally used in fabrication such as cone, shell, pipe. Cone Transition Calculator.
From joiixssfk.blob.core.windows.net
Flat Cone Calculator Inches at Rebekah Bandy blog Cone Transition Calculator Conical is a simple cone that finishes at the vessel with a sharp transition. Fabrication flat pattern app is used for developing fabrication layout of all types of shapes generally used in fabrication such as cone, shell, pipe branch connections, full cone, half cone, truncated cone, square to round, round to square, rectangular to round, round to rectangular, pyramid, truncated. Cone Transition Calculator.
From calculatorshub.net
Volume of a Cone With Diameter Calculator Online Cone Transition Calculator The cone is a widely. This article addresses the design of conical transition of a pressure vessel in accordance with asme section viii, division 1. Conical is a simple cone that finishes at the vessel with a sharp transition. The flat pattern of a cone is an application that calculates the parameters for a development of a full , half. Cone Transition Calculator.
From play.google.com
Cone Calculator Lite Android Apps on Google Play Cone Transition Calculator No knuckle is required for these heads but reinforcement may. The flat pattern of a cone is an application that calculates the parameters for a development of a full , half , truncated , concentric, frustum, eccentric cone. The cone is a widely. Fabrication flat pattern app is used for developing fabrication layout of all types of shapes generally used. Cone Transition Calculator.
From www.youtube.com
Calculator Steps to find Volume and Surface Area of Cone YouTube Cone Transition Calculator This article addresses the design of conical transition of a pressure vessel in accordance with asme section viii, division 1. The cone is a widely. The flat pattern of a cone is an application that calculates the parameters for a development of a full , half , truncated , concentric, frustum, eccentric cone. Fabrication flat pattern app is used for. Cone Transition Calculator.
From www.mecaenterprises.com
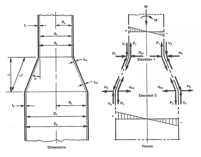
Stack Conical Transition Analysis Article Meca Enterprises Cone Transition Calculator View the cone instructions below to learn how to manually layout the flat pattern for a truncated. Fabrication flat pattern app is used for developing fabrication layout of all types of shapes generally used in fabrication such as cone, shell, pipe branch connections, full cone, half cone, truncated cone, square to round, round to square, rectangular to round, round to. Cone Transition Calculator.
From apkpure.com
cone calculator APK for Android Download Cone Transition Calculator Conical is a simple cone that finishes at the vessel with a sharp transition. This article addresses the design of conical transition of a pressure vessel in accordance with asme section viii, division 1. View the cone instructions below to learn how to manually layout the flat pattern for a truncated. The cone is a widely. Fabrication flat pattern app. Cone Transition Calculator.