Jis Fittings Specifications . X 4 dp.) choose from our selection of jis (japanese industrial. Parker's japanese industrial standard (jis) adapters address market. The quick brown fox jumped over the lazy dog. 4300 catalog jis fittings dimensions and pressures for reference only, subject to change. Japanese industrial standard (jis) adapters. These ttings are typically used. Like jic fittings, jis fittings are used to connect hydraulic hoses and tubes in a variety of applications, including industrial machinery, construction equipment, and agricultural. Introduction parker introduced japanese industrial standard (jis) adapters in the early 1990s to address market requirements for oem and replacement ttings. The system follows jis standards: Jis fittings are typically used as hose adapters on equipment designed and/or manufactured in japan and korea. Parker’s jis adapters are designed with 30° flare and 60° cone connections. Jis fittings are the natural choice for systems designed under japanese industrial standards, ensuring.
from www.pipingmaterial.ae
These ttings are typically used. Jis fittings are typically used as hose adapters on equipment designed and/or manufactured in japan and korea. Japanese industrial standard (jis) adapters. Introduction parker introduced japanese industrial standard (jis) adapters in the early 1990s to address market requirements for oem and replacement ttings. X 4 dp.) choose from our selection of jis (japanese industrial. Parker’s jis adapters are designed with 30° flare and 60° cone connections. Like jic fittings, jis fittings are used to connect hydraulic hoses and tubes in a variety of applications, including industrial machinery, construction equipment, and agricultural. Jis fittings are the natural choice for systems designed under japanese industrial standards, ensuring. Parker's japanese industrial standard (jis) adapters address market. The quick brown fox jumped over the lazy dog.
JIS hydraulic fittings and Japanese hose fitting suppliers in UAE
Jis Fittings Specifications The system follows jis standards: Jis fittings are the natural choice for systems designed under japanese industrial standards, ensuring. Parker's japanese industrial standard (jis) adapters address market. Introduction parker introduced japanese industrial standard (jis) adapters in the early 1990s to address market requirements for oem and replacement ttings. These ttings are typically used. Like jic fittings, jis fittings are used to connect hydraulic hoses and tubes in a variety of applications, including industrial machinery, construction equipment, and agricultural. Japanese industrial standard (jis) adapters. The quick brown fox jumped over the lazy dog. Jis fittings are typically used as hose adapters on equipment designed and/or manufactured in japan and korea. 4300 catalog jis fittings dimensions and pressures for reference only, subject to change. The system follows jis standards: X 4 dp.) choose from our selection of jis (japanese industrial. Parker’s jis adapters are designed with 30° flare and 60° cone connections.
From www.pipingmaterial.ae
JIS hydraulic fittings and Japanese hose fitting suppliers in UAE Jis Fittings Specifications The system follows jis standards: 4300 catalog jis fittings dimensions and pressures for reference only, subject to change. Jis fittings are typically used as hose adapters on equipment designed and/or manufactured in japan and korea. Jis fittings are the natural choice for systems designed under japanese industrial standards, ensuring. Introduction parker introduced japanese industrial standard (jis) adapters in the early. Jis Fittings Specifications.
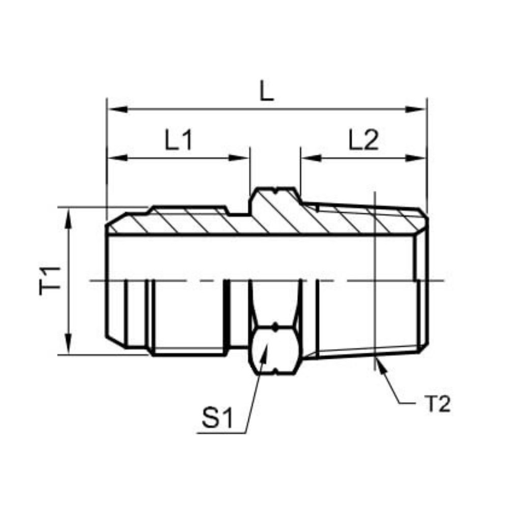
From www.cntopa.com
19611 Male Gas JIS Hydraulic Fittings China SupplierTopa Jis Fittings Specifications Jis fittings are the natural choice for systems designed under japanese industrial standards, ensuring. Japanese industrial standard (jis) adapters. Parker's japanese industrial standard (jis) adapters address market. 4300 catalog jis fittings dimensions and pressures for reference only, subject to change. Like jic fittings, jis fittings are used to connect hydraulic hoses and tubes in a variety of applications, including industrial. Jis Fittings Specifications.
From hydraxio.com
Understanding JIS Fittings Hydraxio China SS Hydraulic Fittings Jis Fittings Specifications The quick brown fox jumped over the lazy dog. X 4 dp.) choose from our selection of jis (japanese industrial. Parker’s jis adapters are designed with 30° flare and 60° cone connections. Jis fittings are typically used as hose adapters on equipment designed and/or manufactured in japan and korea. The system follows jis standards: Japanese industrial standard (jis) adapters. Parker's. Jis Fittings Specifications.
From www.cntopa.com
1KTSP Metric JIS FittingsMale 60° Cone/BSPT ThreadTopa Jis Fittings Specifications 4300 catalog jis fittings dimensions and pressures for reference only, subject to change. Parker's japanese industrial standard (jis) adapters address market. Like jic fittings, jis fittings are used to connect hydraulic hoses and tubes in a variety of applications, including industrial machinery, construction equipment, and agricultural. Parker’s jis adapters are designed with 30° flare and 60° cone connections. Jis fittings. Jis Fittings Specifications.
From www.pinterest.com
Sae, Hydraulic, Sheet Music, Size Chart, Drawing, Quick, Sketches Jis Fittings Specifications 4300 catalog jis fittings dimensions and pressures for reference only, subject to change. Parker’s jis adapters are designed with 30° flare and 60° cone connections. Japanese industrial standard (jis) adapters. The quick brown fox jumped over the lazy dog. Jis fittings are typically used as hose adapters on equipment designed and/or manufactured in japan and korea. X 4 dp.) choose. Jis Fittings Specifications.
From www.automa.com.my
JIS Flange Dimensions General Process Valves TECHNICAL REFERENCE Subang Jis Fittings Specifications The system follows jis standards: The quick brown fox jumped over the lazy dog. Jis fittings are the natural choice for systems designed under japanese industrial standards, ensuring. Jis fittings are typically used as hose adapters on equipment designed and/or manufactured in japan and korea. X 4 dp.) choose from our selection of jis (japanese industrial. Like jic fittings, jis. Jis Fittings Specifications.
From stattinstainlessshop.com
Steel Pipe Fittings Equal Tees Online Shop Stattin Stainless Jis Fittings Specifications Parker’s jis adapters are designed with 30° flare and 60° cone connections. Japanese industrial standard (jis) adapters. Parker's japanese industrial standard (jis) adapters address market. Like jic fittings, jis fittings are used to connect hydraulic hoses and tubes in a variety of applications, including industrial machinery, construction equipment, and agricultural. 4300 catalog jis fittings dimensions and pressures for reference only,. Jis Fittings Specifications.
From www.pinterest.co.uk
Pinterest Jis Fittings Specifications Parker’s jis adapters are designed with 30° flare and 60° cone connections. Japanese industrial standard (jis) adapters. Jis fittings are typically used as hose adapters on equipment designed and/or manufactured in japan and korea. 4300 catalog jis fittings dimensions and pressures for reference only, subject to change. X 4 dp.) choose from our selection of jis (japanese industrial. The quick. Jis Fittings Specifications.
From www.valvers.com
AN and JIC Fittings Jis Fittings Specifications Japanese industrial standard (jis) adapters. These ttings are typically used. Like jic fittings, jis fittings are used to connect hydraulic hoses and tubes in a variety of applications, including industrial machinery, construction equipment, and agricultural. The system follows jis standards: Parker’s jis adapters are designed with 30° flare and 60° cone connections. 4300 catalog jis fittings dimensions and pressures for. Jis Fittings Specifications.
From www.pinterest.ca
SAE Thread JIC Fitting Size Chart Jis Fittings Specifications 4300 catalog jis fittings dimensions and pressures for reference only, subject to change. Jis fittings are typically used as hose adapters on equipment designed and/or manufactured in japan and korea. Parker’s jis adapters are designed with 30° flare and 60° cone connections. These ttings are typically used. Introduction parker introduced japanese industrial standard (jis) adapters in the early 1990s to. Jis Fittings Specifications.
From www.cntopa.com
1S Hydraulic Male JIS Pipe Fittings China ManufacturerTopa Jis Fittings Specifications X 4 dp.) choose from our selection of jis (japanese industrial. The quick brown fox jumped over the lazy dog. Introduction parker introduced japanese industrial standard (jis) adapters in the early 1990s to address market requirements for oem and replacement ttings. The system follows jis standards: Jis fittings are the natural choice for systems designed under japanese industrial standards, ensuring.. Jis Fittings Specifications.
From brennaninc.com
Hydraulic Fitting Identification and Connection Types Jis Fittings Specifications These ttings are typically used. Jis fittings are typically used as hose adapters on equipment designed and/or manufactured in japan and korea. Introduction parker introduced japanese industrial standard (jis) adapters in the early 1990s to address market requirements for oem and replacement ttings. Jis fittings are the natural choice for systems designed under japanese industrial standards, ensuring. X 4 dp.). Jis Fittings Specifications.
From www.dynamicforgefittings.com
JIS standard flange manufacturers, JIS flange specification Jis Fittings Specifications Parker’s jis adapters are designed with 30° flare and 60° cone connections. Japanese industrial standard (jis) adapters. These ttings are typically used. Jis fittings are typically used as hose adapters on equipment designed and/or manufactured in japan and korea. Parker's japanese industrial standard (jis) adapters address market. 4300 catalog jis fittings dimensions and pressures for reference only, subject to change.. Jis Fittings Specifications.
From www.dynamicforgefittings.com
JIS standard flange manufacturers, JIS flange specification Jis Fittings Specifications Introduction parker introduced japanese industrial standard (jis) adapters in the early 1990s to address market requirements for oem and replacement ttings. 4300 catalog jis fittings dimensions and pressures for reference only, subject to change. Jis fittings are the natural choice for systems designed under japanese industrial standards, ensuring. Like jic fittings, jis fittings are used to connect hydraulic hoses and. Jis Fittings Specifications.
From www.sxfitting.com
Jic Hydraulic Fittings Size Chart Jis Fittings Specifications Like jic fittings, jis fittings are used to connect hydraulic hoses and tubes in a variety of applications, including industrial machinery, construction equipment, and agricultural. Japanese industrial standard (jis) adapters. These ttings are typically used. The quick brown fox jumped over the lazy dog. Introduction parker introduced japanese industrial standard (jis) adapters in the early 1990s to address market requirements. Jis Fittings Specifications.
From www.hydraulicadaptor.com
JIS Flange Hydraulic Hose Fitting Elbow XCD Jis Fittings Specifications X 4 dp.) choose from our selection of jis (japanese industrial. 4300 catalog jis fittings dimensions and pressures for reference only, subject to change. Japanese industrial standard (jis) adapters. Parker's japanese industrial standard (jis) adapters address market. The quick brown fox jumped over the lazy dog. These ttings are typically used. The system follows jis standards: Introduction parker introduced japanese. Jis Fittings Specifications.
From www.fitsch.cn
JIS Adapter Fittings 1S Buy JIS Adapter Fittings Dimensions, Parker Jis Fittings Specifications Like jic fittings, jis fittings are used to connect hydraulic hoses and tubes in a variety of applications, including industrial machinery, construction equipment, and agricultural. These ttings are typically used. Jis fittings are typically used as hose adapters on equipment designed and/or manufactured in japan and korea. Japanese industrial standard (jis) adapters. X 4 dp.) choose from our selection of. Jis Fittings Specifications.
From www.cntopa.com
1STSP Hydraulic JIS Pipe Fitting China WholesalerTopa Jis Fittings Specifications Introduction parker introduced japanese industrial standard (jis) adapters in the early 1990s to address market requirements for oem and replacement ttings. The system follows jis standards: Jis fittings are the natural choice for systems designed under japanese industrial standards, ensuring. Japanese industrial standard (jis) adapters. Like jic fittings, jis fittings are used to connect hydraulic hoses and tubes in a. Jis Fittings Specifications.
From www.fitsch.cn
JIS Adapter Fittings 1S Buy JIS Adapter Fittings Dimensions, Parker Jis Fittings Specifications X 4 dp.) choose from our selection of jis (japanese industrial. Jis fittings are the natural choice for systems designed under japanese industrial standards, ensuring. Parker’s jis adapters are designed with 30° flare and 60° cone connections. The quick brown fox jumped over the lazy dog. Japanese industrial standard (jis) adapters. Parker's japanese industrial standard (jis) adapters address market. These. Jis Fittings Specifications.
From www.cntopa.com
1S Hydraulic Male JIS Pipe Fittings China ManufacturerTopa Jis Fittings Specifications Jis fittings are the natural choice for systems designed under japanese industrial standards, ensuring. X 4 dp.) choose from our selection of jis (japanese industrial. Jis fittings are typically used as hose adapters on equipment designed and/or manufactured in japan and korea. Parker’s jis adapters are designed with 30° flare and 60° cone connections. Like jic fittings, jis fittings are. Jis Fittings Specifications.
From www.dynamicforgefittings.com
JIS standard flange manufacturers, JIS flange specification Jis Fittings Specifications Introduction parker introduced japanese industrial standard (jis) adapters in the early 1990s to address market requirements for oem and replacement ttings. Parker's japanese industrial standard (jis) adapters address market. The quick brown fox jumped over the lazy dog. Parker’s jis adapters are designed with 30° flare and 60° cone connections. Jis fittings are the natural choice for systems designed under. Jis Fittings Specifications.
From www.zzfittings.com
Socket Weld Equal Tee Specification & Stainless Steel Pipe Fittings Zizi Jis Fittings Specifications Like jic fittings, jis fittings are used to connect hydraulic hoses and tubes in a variety of applications, including industrial machinery, construction equipment, and agricultural. Introduction parker introduced japanese industrial standard (jis) adapters in the early 1990s to address market requirements for oem and replacement ttings. The quick brown fox jumped over the lazy dog. 4300 catalog jis fittings dimensions. Jis Fittings Specifications.
From sofiadonnell.z13.web.core.windows.net
Pipe Fitting Size Chart Jis Fittings Specifications The quick brown fox jumped over the lazy dog. Jis fittings are typically used as hose adapters on equipment designed and/or manufactured in japan and korea. 4300 catalog jis fittings dimensions and pressures for reference only, subject to change. Japanese industrial standard (jis) adapters. The system follows jis standards: Like jic fittings, jis fittings are used to connect hydraulic hoses. Jis Fittings Specifications.
From www.dynamicforgefittings.com
JIS standard flange manufacturers, JIS flange specification Jis Fittings Specifications The quick brown fox jumped over the lazy dog. Jis fittings are the natural choice for systems designed under japanese industrial standards, ensuring. 4300 catalog jis fittings dimensions and pressures for reference only, subject to change. Introduction parker introduced japanese industrial standard (jis) adapters in the early 1990s to address market requirements for oem and replacement ttings. Jis fittings are. Jis Fittings Specifications.
From hsflange.com
管件 JIS B 2311/2312/2313 PIPE FITTINGS, KS B 1522/1541/1543 PIPE Jis Fittings Specifications The system follows jis standards: Jis fittings are typically used as hose adapters on equipment designed and/or manufactured in japan and korea. X 4 dp.) choose from our selection of jis (japanese industrial. Introduction parker introduced japanese industrial standard (jis) adapters in the early 1990s to address market requirements for oem and replacement ttings. 4300 catalog jis fittings dimensions and. Jis Fittings Specifications.
From www.pipe-flange.com
JIS B 2311/2312/2313 Reducers, KS B 1522/1541/1543 Steel Reducers Jis Fittings Specifications Parker’s jis adapters are designed with 30° flare and 60° cone connections. The system follows jis standards: 4300 catalog jis fittings dimensions and pressures for reference only, subject to change. Japanese industrial standard (jis) adapters. Jis fittings are typically used as hose adapters on equipment designed and/or manufactured in japan and korea. Parker's japanese industrial standard (jis) adapters address market.. Jis Fittings Specifications.
From www.pinterest.co.uk
JIS fittings with G thread 30 degree flare and 60 degree cone fittings Jis Fittings Specifications The system follows jis standards: X 4 dp.) choose from our selection of jis (japanese industrial. Japanese industrial standard (jis) adapters. These ttings are typically used. The quick brown fox jumped over the lazy dog. Parker's japanese industrial standard (jis) adapters address market. Introduction parker introduced japanese industrial standard (jis) adapters in the early 1990s to address market requirements for. Jis Fittings Specifications.
From www.tu-lok.com
JIS Hydraulic Fittings and Japanese Industrial Standard Crimp/ Adapter Jis Fittings Specifications The system follows jis standards: Parker’s jis adapters are designed with 30° flare and 60° cone connections. Parker's japanese industrial standard (jis) adapters address market. Like jic fittings, jis fittings are used to connect hydraulic hoses and tubes in a variety of applications, including industrial machinery, construction equipment, and agricultural. The quick brown fox jumped over the lazy dog. X. Jis Fittings Specifications.
From www.hsflanges.com
Supply KS B1503 JIS B2220 Steel Flanges Material Specification SS400 Jis Fittings Specifications Parker's japanese industrial standard (jis) adapters address market. 4300 catalog jis fittings dimensions and pressures for reference only, subject to change. Parker’s jis adapters are designed with 30° flare and 60° cone connections. Introduction parker introduced japanese industrial standard (jis) adapters in the early 1990s to address market requirements for oem and replacement ttings. These ttings are typically used. Like. Jis Fittings Specifications.
From www.fitsch.cn
JIS B23511 24 degree compression fittings dimensions FITSCH (Ningbo Jis Fittings Specifications Like jic fittings, jis fittings are used to connect hydraulic hoses and tubes in a variety of applications, including industrial machinery, construction equipment, and agricultural. The quick brown fox jumped over the lazy dog. The system follows jis standards: Parker's japanese industrial standard (jis) adapters address market. Jis fittings are the natural choice for systems designed under japanese industrial standards,. Jis Fittings Specifications.
From www.dynamicforgefittings.com
JIS standard flange manufacturers, JIS flange specification Jis Fittings Specifications Jis fittings are the natural choice for systems designed under japanese industrial standards, ensuring. The quick brown fox jumped over the lazy dog. Jis fittings are typically used as hose adapters on equipment designed and/or manufactured in japan and korea. These ttings are typically used. Parker's japanese industrial standard (jis) adapters address market. Introduction parker introduced japanese industrial standard (jis). Jis Fittings Specifications.
From www.cntopa.com
1KTSP Metric JIS FittingsMale 60° Cone/BSPT ThreadTopa Jis Fittings Specifications Jis fittings are the natural choice for systems designed under japanese industrial standards, ensuring. The quick brown fox jumped over the lazy dog. The system follows jis standards: These ttings are typically used. Parker's japanese industrial standard (jis) adapters address market. Like jic fittings, jis fittings are used to connect hydraulic hoses and tubes in a variety of applications, including. Jis Fittings Specifications.
From www.cntopa.com
19611 Male Gas JIS Hydraulic Fittings China SupplierTopa Jis Fittings Specifications Jis fittings are typically used as hose adapters on equipment designed and/or manufactured in japan and korea. Parker’s jis adapters are designed with 30° flare and 60° cone connections. Introduction parker introduced japanese industrial standard (jis) adapters in the early 1990s to address market requirements for oem and replacement ttings. Like jic fittings, jis fittings are used to connect hydraulic. Jis Fittings Specifications.
From www.scribd.com
Fitting Table Iso 8015 (Jis b 0401) (Jis b 0024) Reference Jis Fittings Specifications The quick brown fox jumped over the lazy dog. Jis fittings are typically used as hose adapters on equipment designed and/or manufactured in japan and korea. Japanese industrial standard (jis) adapters. 4300 catalog jis fittings dimensions and pressures for reference only, subject to change. X 4 dp.) choose from our selection of jis (japanese industrial. Introduction parker introduced japanese industrial. Jis Fittings Specifications.
From www.dynamicforgefittings.com
JIS standard flange manufacturers, JIS flange specification Jis Fittings Specifications Japanese industrial standard (jis) adapters. Like jic fittings, jis fittings are used to connect hydraulic hoses and tubes in a variety of applications, including industrial machinery, construction equipment, and agricultural. Parker's japanese industrial standard (jis) adapters address market. 4300 catalog jis fittings dimensions and pressures for reference only, subject to change. The quick brown fox jumped over the lazy dog.. Jis Fittings Specifications.