Bridge Rectifier Circuit Ground . Using capacitors to filter the rippled dc wave into smooth dc with experiments. This is a widely used. Learn about the operation of this essential circuit. this type of single phase rectifier uses four individual rectifying diodes connected in a closed loop “bridge” configuration to. bridge rectifiers are circuits that convert alternating current (ac) into direct current (dc) using diodes arranged in the bridge circuit. Note that the voltages at the two ends of the resistor. the voltage at one end of the input voltage source is considered zero volts, or ground, for this illustration. in my book, this diagram is used to explain how a bridge rectifier works, in positive and negative half cycles.
from www.electronicsforu.com
in my book, this diagram is used to explain how a bridge rectifier works, in positive and negative half cycles. Using capacitors to filter the rippled dc wave into smooth dc with experiments. the voltage at one end of the input voltage source is considered zero volts, or ground, for this illustration. This is a widely used. bridge rectifiers are circuits that convert alternating current (ac) into direct current (dc) using diodes arranged in the bridge circuit. Learn about the operation of this essential circuit. Note that the voltages at the two ends of the resistor. this type of single phase rectifier uses four individual rectifying diodes connected in a closed loop “bridge” configuration to.
Bridge Rectifier Circuit, Construction, Working, and Types
Bridge Rectifier Circuit Ground This is a widely used. bridge rectifiers are circuits that convert alternating current (ac) into direct current (dc) using diodes arranged in the bridge circuit. the voltage at one end of the input voltage source is considered zero volts, or ground, for this illustration. Learn about the operation of this essential circuit. Using capacitors to filter the rippled dc wave into smooth dc with experiments. Note that the voltages at the two ends of the resistor. This is a widely used. this type of single phase rectifier uses four individual rectifying diodes connected in a closed loop “bridge” configuration to. in my book, this diagram is used to explain how a bridge rectifier works, in positive and negative half cycles.
From www.multisim.com
Full Wave Bridge rectifier circuit Multisim Live Bridge Rectifier Circuit Ground Learn about the operation of this essential circuit. This is a widely used. the voltage at one end of the input voltage source is considered zero volts, or ground, for this illustration. Using capacitors to filter the rippled dc wave into smooth dc with experiments. bridge rectifiers are circuits that convert alternating current (ac) into direct current (dc). Bridge Rectifier Circuit Ground.
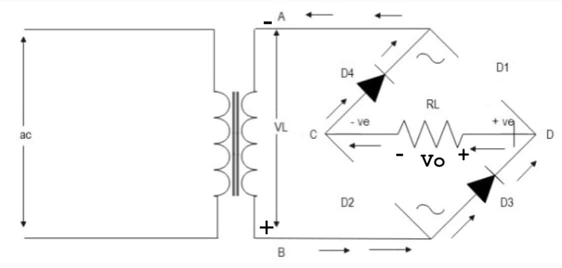
From red-pitaya-active-learning.readthedocs.io
Diode Rectifiers — Red Pitaya 1.0 documentation Bridge Rectifier Circuit Ground This is a widely used. Using capacitors to filter the rippled dc wave into smooth dc with experiments. this type of single phase rectifier uses four individual rectifying diodes connected in a closed loop “bridge” configuration to. bridge rectifiers are circuits that convert alternating current (ac) into direct current (dc) using diodes arranged in the bridge circuit. . Bridge Rectifier Circuit Ground.
From www.youtube.com
Full Wave Bridge Rectifier Circuit diagram / Step by Step Tutorial Bridge Rectifier Circuit Ground Learn about the operation of this essential circuit. Using capacitors to filter the rippled dc wave into smooth dc with experiments. the voltage at one end of the input voltage source is considered zero volts, or ground, for this illustration. Note that the voltages at the two ends of the resistor. in my book, this diagram is used. Bridge Rectifier Circuit Ground.
From byjusexamprep.com
Rectifier Circuit Definition, Types [GATE Notes] Bridge Rectifier Circuit Ground in my book, this diagram is used to explain how a bridge rectifier works, in positive and negative half cycles. This is a widely used. the voltage at one end of the input voltage source is considered zero volts, or ground, for this illustration. Using capacitors to filter the rippled dc wave into smooth dc with experiments. Note. Bridge Rectifier Circuit Ground.
From www.electronicsforu.com
Bridge Rectifier Circuit, Construction, Working, and Types Bridge Rectifier Circuit Ground bridge rectifiers are circuits that convert alternating current (ac) into direct current (dc) using diodes arranged in the bridge circuit. this type of single phase rectifier uses four individual rectifying diodes connected in a closed loop “bridge” configuration to. Learn about the operation of this essential circuit. Using capacitors to filter the rippled dc wave into smooth dc. Bridge Rectifier Circuit Ground.
From www.alamy.com
schematic diagram of 3 phase bridge rectifier Stock Vector Image & Art Bridge Rectifier Circuit Ground Using capacitors to filter the rippled dc wave into smooth dc with experiments. This is a widely used. this type of single phase rectifier uses four individual rectifying diodes connected in a closed loop “bridge” configuration to. Note that the voltages at the two ends of the resistor. Learn about the operation of this essential circuit. bridge rectifiers. Bridge Rectifier Circuit Ground.
From www.slidemake.com
Construction And Working Of Bridge Rectifier Presentation Bridge Rectifier Circuit Ground Using capacitors to filter the rippled dc wave into smooth dc with experiments. Learn about the operation of this essential circuit. bridge rectifiers are circuits that convert alternating current (ac) into direct current (dc) using diodes arranged in the bridge circuit. This is a widely used. this type of single phase rectifier uses four individual rectifying diodes connected. Bridge Rectifier Circuit Ground.
From www.youtube.com
Current flow through a bridge rectifier YouTube Bridge Rectifier Circuit Ground Learn about the operation of this essential circuit. this type of single phase rectifier uses four individual rectifying diodes connected in a closed loop “bridge” configuration to. the voltage at one end of the input voltage source is considered zero volts, or ground, for this illustration. Note that the voltages at the two ends of the resistor. . Bridge Rectifier Circuit Ground.
From www.researchgate.net
(a) Bridge rectifier with N phases, with LC filter and a load, (b Bridge Rectifier Circuit Ground in my book, this diagram is used to explain how a bridge rectifier works, in positive and negative half cycles. Using capacitors to filter the rippled dc wave into smooth dc with experiments. the voltage at one end of the input voltage source is considered zero volts, or ground, for this illustration. Learn about the operation of this. Bridge Rectifier Circuit Ground.
From electronics.stackexchange.com
voltage divider How to solve a a full wave rectifier with two diodes Bridge Rectifier Circuit Ground This is a widely used. Using capacitors to filter the rippled dc wave into smooth dc with experiments. bridge rectifiers are circuits that convert alternating current (ac) into direct current (dc) using diodes arranged in the bridge circuit. Note that the voltages at the two ends of the resistor. in my book, this diagram is used to explain. Bridge Rectifier Circuit Ground.
From schematicdiagramglocer.z19.web.core.windows.net
Bridge Rectifier Circuit Diagram With Working Bridge Rectifier Circuit Ground Learn about the operation of this essential circuit. this type of single phase rectifier uses four individual rectifying diodes connected in a closed loop “bridge” configuration to. Using capacitors to filter the rippled dc wave into smooth dc with experiments. the voltage at one end of the input voltage source is considered zero volts, or ground, for this. Bridge Rectifier Circuit Ground.
From www.circuitdiagram.co
Full Wave Bridge Rectifier Circuit Multisim Circuit Diagram Bridge Rectifier Circuit Ground in my book, this diagram is used to explain how a bridge rectifier works, in positive and negative half cycles. Using capacitors to filter the rippled dc wave into smooth dc with experiments. the voltage at one end of the input voltage source is considered zero volts, or ground, for this illustration. Learn about the operation of this. Bridge Rectifier Circuit Ground.
From www.thegeekpub.com
Bridge Rectifier Circuit Electronics Basics The Geek Pub Bridge Rectifier Circuit Ground Using capacitors to filter the rippled dc wave into smooth dc with experiments. This is a widely used. the voltage at one end of the input voltage source is considered zero volts, or ground, for this illustration. in my book, this diagram is used to explain how a bridge rectifier works, in positive and negative half cycles. Learn. Bridge Rectifier Circuit Ground.
From electricalworkbook.com
What is Bridge Rectifier? Working, Circuit Diagram & Waveforms Bridge Rectifier Circuit Ground this type of single phase rectifier uses four individual rectifying diodes connected in a closed loop “bridge” configuration to. This is a widely used. bridge rectifiers are circuits that convert alternating current (ac) into direct current (dc) using diodes arranged in the bridge circuit. Note that the voltages at the two ends of the resistor. Using capacitors to. Bridge Rectifier Circuit Ground.
From www.youtube.com
bridge rectifier circuit and find ripple factor YouTube Bridge Rectifier Circuit Ground This is a widely used. the voltage at one end of the input voltage source is considered zero volts, or ground, for this illustration. bridge rectifiers are circuits that convert alternating current (ac) into direct current (dc) using diodes arranged in the bridge circuit. this type of single phase rectifier uses four individual rectifying diodes connected in. Bridge Rectifier Circuit Ground.
From www.chegg.com
Solved Fullwave bridge rectifier The circuit shown below is Bridge Rectifier Circuit Ground Using capacitors to filter the rippled dc wave into smooth dc with experiments. Note that the voltages at the two ends of the resistor. Learn about the operation of this essential circuit. this type of single phase rectifier uses four individual rectifying diodes connected in a closed loop “bridge” configuration to. bridge rectifiers are circuits that convert alternating. Bridge Rectifier Circuit Ground.
From www.circuits-diy.com
FullWave Bridge Rectifier Circuit Bridge Rectifier Circuit Ground in my book, this diagram is used to explain how a bridge rectifier works, in positive and negative half cycles. bridge rectifiers are circuits that convert alternating current (ac) into direct current (dc) using diodes arranged in the bridge circuit. This is a widely used. this type of single phase rectifier uses four individual rectifying diodes connected. Bridge Rectifier Circuit Ground.
From www.electronicshub.org
Full Wave Bridge Rectifier Circuit Working and Applications Bridge Rectifier Circuit Ground bridge rectifiers are circuits that convert alternating current (ac) into direct current (dc) using diodes arranged in the bridge circuit. this type of single phase rectifier uses four individual rectifying diodes connected in a closed loop “bridge” configuration to. Learn about the operation of this essential circuit. the voltage at one end of the input voltage source. Bridge Rectifier Circuit Ground.
From freakengineer.com
Bridge rectifier Working, Circuit, Advantages » Freak Engineer Bridge Rectifier Circuit Ground This is a widely used. this type of single phase rectifier uses four individual rectifying diodes connected in a closed loop “bridge” configuration to. the voltage at one end of the input voltage source is considered zero volts, or ground, for this illustration. bridge rectifiers are circuits that convert alternating current (ac) into direct current (dc) using. Bridge Rectifier Circuit Ground.
From diagramnanulik38.z22.web.core.windows.net
Bridge Rectifier Circuit With Output Bridge Rectifier Circuit Ground This is a widely used. this type of single phase rectifier uses four individual rectifying diodes connected in a closed loop “bridge” configuration to. the voltage at one end of the input voltage source is considered zero volts, or ground, for this illustration. Learn about the operation of this essential circuit. Note that the voltages at the two. Bridge Rectifier Circuit Ground.
From www.multisim.com
FullWave Bridge Rectifier circuit Multisim Live Bridge Rectifier Circuit Ground Using capacitors to filter the rippled dc wave into smooth dc with experiments. this type of single phase rectifier uses four individual rectifying diodes connected in a closed loop “bridge” configuration to. Note that the voltages at the two ends of the resistor. in my book, this diagram is used to explain how a bridge rectifier works, in. Bridge Rectifier Circuit Ground.
From www.geeksforgeeks.org
Bridge Rectifier Construction, Working, Characteristics and Types Bridge Rectifier Circuit Ground in my book, this diagram is used to explain how a bridge rectifier works, in positive and negative half cycles. bridge rectifiers are circuits that convert alternating current (ac) into direct current (dc) using diodes arranged in the bridge circuit. this type of single phase rectifier uses four individual rectifying diodes connected in a closed loop “bridge”. Bridge Rectifier Circuit Ground.
From www.etechnog.com
Bipolar Output Full Wave Bridge Rectifier with Center Tapped Bridge Rectifier Circuit Ground Learn about the operation of this essential circuit. This is a widely used. the voltage at one end of the input voltage source is considered zero volts, or ground, for this illustration. Note that the voltages at the two ends of the resistor. in my book, this diagram is used to explain how a bridge rectifier works, in. Bridge Rectifier Circuit Ground.
From www.slidemake.com
Construction And Working Of Bridge Rectifier Presentation Bridge Rectifier Circuit Ground This is a widely used. this type of single phase rectifier uses four individual rectifying diodes connected in a closed loop “bridge” configuration to. in my book, this diagram is used to explain how a bridge rectifier works, in positive and negative half cycles. Using capacitors to filter the rippled dc wave into smooth dc with experiments. Learn. Bridge Rectifier Circuit Ground.
From diyburbank.blogspot.com
3 Phase Bridge Rectifier Circuit Diagram / Rectifier Theory 3 Phase Bridge Rectifier Circuit Ground Using capacitors to filter the rippled dc wave into smooth dc with experiments. in my book, this diagram is used to explain how a bridge rectifier works, in positive and negative half cycles. this type of single phase rectifier uses four individual rectifying diodes connected in a closed loop “bridge” configuration to. Learn about the operation of this. Bridge Rectifier Circuit Ground.
From electricalworkbook.com
What is Bridge Rectifier? Working, Circuit Diagram & Waveforms Bridge Rectifier Circuit Ground bridge rectifiers are circuits that convert alternating current (ac) into direct current (dc) using diodes arranged in the bridge circuit. this type of single phase rectifier uses four individual rectifying diodes connected in a closed loop “bridge” configuration to. Note that the voltages at the two ends of the resistor. This is a widely used. Learn about the. Bridge Rectifier Circuit Ground.
From www.thegeekpub.com
Bridge Rectifier Circuit Electronics Basics The Geek Pub Bridge Rectifier Circuit Ground Note that the voltages at the two ends of the resistor. Using capacitors to filter the rippled dc wave into smooth dc with experiments. this type of single phase rectifier uses four individual rectifying diodes connected in a closed loop “bridge” configuration to. bridge rectifiers are circuits that convert alternating current (ac) into direct current (dc) using diodes. Bridge Rectifier Circuit Ground.
From www.thegeekpub.com
Bridge Rectifier Circuit Electronics Basics The Geek Pub Bridge Rectifier Circuit Ground bridge rectifiers are circuits that convert alternating current (ac) into direct current (dc) using diodes arranged in the bridge circuit. in my book, this diagram is used to explain how a bridge rectifier works, in positive and negative half cycles. Learn about the operation of this essential circuit. Note that the voltages at the two ends of the. Bridge Rectifier Circuit Ground.
From schematicenginedrechsler.z19.web.core.windows.net
Circuit Diagram For Bridge Rectifier Bridge Rectifier Circuit Ground Using capacitors to filter the rippled dc wave into smooth dc with experiments. Note that the voltages at the two ends of the resistor. the voltage at one end of the input voltage source is considered zero volts, or ground, for this illustration. this type of single phase rectifier uses four individual rectifying diodes connected in a closed. Bridge Rectifier Circuit Ground.
From www.thegeekpub.com
Bridge Rectifier Circuit Electronics Basics The Geek Pub Bridge Rectifier Circuit Ground Learn about the operation of this essential circuit. Note that the voltages at the two ends of the resistor. this type of single phase rectifier uses four individual rectifying diodes connected in a closed loop “bridge” configuration to. the voltage at one end of the input voltage source is considered zero volts, or ground, for this illustration. This. Bridge Rectifier Circuit Ground.
From mungfali.com
Full Wave Bridge Rectifier Schematic Bridge Rectifier Circuit Ground this type of single phase rectifier uses four individual rectifying diodes connected in a closed loop “bridge” configuration to. Using capacitors to filter the rippled dc wave into smooth dc with experiments. This is a widely used. bridge rectifiers are circuits that convert alternating current (ac) into direct current (dc) using diodes arranged in the bridge circuit. . Bridge Rectifier Circuit Ground.
From www.electricity-magnetism.org
Threephase diode bridge rectifier How it works, Application & Advantages Bridge Rectifier Circuit Ground This is a widely used. Note that the voltages at the two ends of the resistor. Learn about the operation of this essential circuit. Using capacitors to filter the rippled dc wave into smooth dc with experiments. in my book, this diagram is used to explain how a bridge rectifier works, in positive and negative half cycles. the. Bridge Rectifier Circuit Ground.
From electricalworkbook.com
What is Bridge Rectifier? Working, Circuit Diagram & Waveforms Bridge Rectifier Circuit Ground Using capacitors to filter the rippled dc wave into smooth dc with experiments. in my book, this diagram is used to explain how a bridge rectifier works, in positive and negative half cycles. this type of single phase rectifier uses four individual rectifying diodes connected in a closed loop “bridge” configuration to. bridge rectifiers are circuits that. Bridge Rectifier Circuit Ground.
From hackaday.com
Scope Noob Bridge Rectifier Hackaday Bridge Rectifier Circuit Ground this type of single phase rectifier uses four individual rectifying diodes connected in a closed loop “bridge” configuration to. in my book, this diagram is used to explain how a bridge rectifier works, in positive and negative half cycles. This is a widely used. bridge rectifiers are circuits that convert alternating current (ac) into direct current (dc). Bridge Rectifier Circuit Ground.
From www.slidemake.com
Construction And Working Of Bridge Rectifier Presentation Bridge Rectifier Circuit Ground Learn about the operation of this essential circuit. this type of single phase rectifier uses four individual rectifying diodes connected in a closed loop “bridge” configuration to. Note that the voltages at the two ends of the resistor. the voltage at one end of the input voltage source is considered zero volts, or ground, for this illustration. . Bridge Rectifier Circuit Ground.