Gear Module Diagram . gear module is a parameter used to describe the size and geometric shape of gears, and it’s an important parameter in the model of. Module values exist in both the normal and transerve planes. December 29, 2023 by saif m. Gears will only mesh with each other if they have teeth of the same module. Cars, clocks, and can openers, along with many other devices, use gears in their mechanisms to transmit power through. understanding gear profile and gear module. Basic terms used in gear & calculation. The module (m) is a unit of gear tooth size defined by iso. In this article, you’ll learn what. what is a gear module ? The geometry of a simple spur gear tooth is complex. module is a defining parameter of gear tooth size, with units of $\rm{mm}$. in the previous pages, we introduced the basics of gears, including 'module', 'pressure angle', 'number of teeth' and 'tooth.
from qlerochef.weebly.com
what is a gear module ? module is a defining parameter of gear tooth size, with units of $\rm{mm}$. The module (m) is a unit of gear tooth size defined by iso. The geometry of a simple spur gear tooth is complex. In this article, you’ll learn what. in the previous pages, we introduced the basics of gears, including 'module', 'pressure angle', 'number of teeth' and 'tooth. Gears will only mesh with each other if they have teeth of the same module. December 29, 2023 by saif m. Module values exist in both the normal and transerve planes. understanding gear profile and gear module.
Helical gear design calculator qlerochef
Gear Module Diagram In this article, you’ll learn what. module is a defining parameter of gear tooth size, with units of $\rm{mm}$. in the previous pages, we introduced the basics of gears, including 'module', 'pressure angle', 'number of teeth' and 'tooth. The module (m) is a unit of gear tooth size defined by iso. Basic terms used in gear & calculation. The geometry of a simple spur gear tooth is complex. Module values exist in both the normal and transerve planes. gear module is a parameter used to describe the size and geometric shape of gears, and it’s an important parameter in the model of. In this article, you’ll learn what. what is a gear module ? December 29, 2023 by saif m. understanding gear profile and gear module. Gears will only mesh with each other if they have teeth of the same module. Cars, clocks, and can openers, along with many other devices, use gears in their mechanisms to transmit power through.
From cnccat.com
Pinions CNC CAT Gear Module Diagram In this article, you’ll learn what. what is a gear module ? Gears will only mesh with each other if they have teeth of the same module. understanding gear profile and gear module. December 29, 2023 by saif m. Basic terms used in gear & calculation. The module (m) is a unit of gear tooth size defined by. Gear Module Diagram.
From www.glue-it.com
Gear Design Gear Module Diagram Basic terms used in gear & calculation. what is a gear module ? Gears will only mesh with each other if they have teeth of the same module. The geometry of a simple spur gear tooth is complex. Module values exist in both the normal and transerve planes. The module (m) is a unit of gear tooth size defined. Gear Module Diagram.
From www.stlgears.com
The Free DXF Gear Designer Gear Module Diagram Cars, clocks, and can openers, along with many other devices, use gears in their mechanisms to transmit power through. December 29, 2023 by saif m. in the previous pages, we introduced the basics of gears, including 'module', 'pressure angle', 'number of teeth' and 'tooth. In this article, you’ll learn what. understanding gear profile and gear module. what. Gear Module Diagram.
From www.tec-science.com
Construction and design of involute gears tecscience Gear Module Diagram December 29, 2023 by saif m. The geometry of a simple spur gear tooth is complex. The module (m) is a unit of gear tooth size defined by iso. Module values exist in both the normal and transerve planes. module is a defining parameter of gear tooth size, with units of $\rm{mm}$. Cars, clocks, and can openers, along with. Gear Module Diagram.
From www.printables.com
Herringbone Gear Module test by maxymax Download free STL model Gear Module Diagram Basic terms used in gear & calculation. December 29, 2023 by saif m. in the previous pages, we introduced the basics of gears, including 'module', 'pressure angle', 'number of teeth' and 'tooth. understanding gear profile and gear module. The geometry of a simple spur gear tooth is complex. module is a defining parameter of gear tooth size,. Gear Module Diagram.
From learnmech.com
Basic Of Gears Gear Terminology/ Gear nomenclature Gear Module Diagram Gears will only mesh with each other if they have teeth of the same module. in the previous pages, we introduced the basics of gears, including 'module', 'pressure angle', 'number of teeth' and 'tooth. understanding gear profile and gear module. December 29, 2023 by saif m. The geometry of a simple spur gear tooth is complex. gear. Gear Module Diagram.
From www.yumpu.com
Landing gear Modul La Gear Module Diagram Basic terms used in gear & calculation. gear module is a parameter used to describe the size and geometric shape of gears, and it’s an important parameter in the model of. module is a defining parameter of gear tooth size, with units of $\rm{mm}$. In this article, you’ll learn what. December 29, 2023 by saif m. The module. Gear Module Diagram.
From zhi.works
M15 Gears ZWorks Gear Module Diagram In this article, you’ll learn what. The module (m) is a unit of gear tooth size defined by iso. Gears will only mesh with each other if they have teeth of the same module. Module values exist in both the normal and transerve planes. what is a gear module ? understanding gear profile and gear module. Cars, clocks,. Gear Module Diagram.
From userlibbaumgaertner.z19.web.core.windows.net
Wiring Diagram For Gear Vendors Od Unit Gear Module Diagram module is a defining parameter of gear tooth size, with units of $\rm{mm}$. what is a gear module ? The module (m) is a unit of gear tooth size defined by iso. Gears will only mesh with each other if they have teeth of the same module. Cars, clocks, and can openers, along with many other devices, use. Gear Module Diagram.
From blog.3dcs.com
Tom Oetjens, DCS, to Showcase Fast, Easy and Comprehensive Gear Gear Module Diagram Module values exist in both the normal and transerve planes. Basic terms used in gear & calculation. Gears will only mesh with each other if they have teeth of the same module. The geometry of a simple spur gear tooth is complex. in the previous pages, we introduced the basics of gears, including 'module', 'pressure angle', 'number of teeth'. Gear Module Diagram.
From community.3dcs.com
Tutorials > Gear Modeling Tutorial > Lesson2_ Angle_Backlash Gear Module Diagram what is a gear module ? In this article, you’ll learn what. December 29, 2023 by saif m. Gears will only mesh with each other if they have teeth of the same module. module is a defining parameter of gear tooth size, with units of $\rm{mm}$. gear module is a parameter used to describe the size and. Gear Module Diagram.
From www.powerslides.com
Gear Diagram Archives PowerSlides Gear Module Diagram The geometry of a simple spur gear tooth is complex. gear module is a parameter used to describe the size and geometric shape of gears, and it’s an important parameter in the model of. The module (m) is a unit of gear tooth size defined by iso. understanding gear profile and gear module. module is a defining. Gear Module Diagram.
From www.stlgears.com
The Free DXF Gear Designer Gear Module Diagram understanding gear profile and gear module. In this article, you’ll learn what. Module values exist in both the normal and transerve planes. Gears will only mesh with each other if they have teeth of the same module. Cars, clocks, and can openers, along with many other devices, use gears in their mechanisms to transmit power through. gear module. Gear Module Diagram.
From studylib.net
The Module of a Gear Gear Module Diagram The geometry of a simple spur gear tooth is complex. in the previous pages, we introduced the basics of gears, including 'module', 'pressure angle', 'number of teeth' and 'tooth. what is a gear module ? Module values exist in both the normal and transerve planes. Cars, clocks, and can openers, along with many other devices, use gears in. Gear Module Diagram.
From www.pinterest.es
Gear tooth geometry. Mechanical engineering, Wooden gears, Machine parts Gear Module Diagram In this article, you’ll learn what. December 29, 2023 by saif m. Cars, clocks, and can openers, along with many other devices, use gears in their mechanisms to transmit power through. what is a gear module ? understanding gear profile and gear module. The module (m) is a unit of gear tooth size defined by iso. gear. Gear Module Diagram.
From www.cgtk.co.uk
CGTK Gear Calculator / Generator Gear Module Diagram Module values exist in both the normal and transerve planes. Cars, clocks, and can openers, along with many other devices, use gears in their mechanisms to transmit power through. The geometry of a simple spur gear tooth is complex. The module (m) is a unit of gear tooth size defined by iso. understanding gear profile and gear module. Gears. Gear Module Diagram.
From www.mech4study.com
Gear Terminology Basic Definition Used in Gear mech4study Gear Module Diagram gear module is a parameter used to describe the size and geometric shape of gears, and it’s an important parameter in the model of. Module values exist in both the normal and transerve planes. what is a gear module ? understanding gear profile and gear module. in the previous pages, we introduced the basics of gears,. Gear Module Diagram.
From sol-inc.jp
Design Of Spur Gear with Equation in SolidWorks solinc.jp Gear Module Diagram Cars, clocks, and can openers, along with many other devices, use gears in their mechanisms to transmit power through. Basic terms used in gear & calculation. December 29, 2023 by saif m. understanding gear profile and gear module. In this article, you’ll learn what. gear module is a parameter used to describe the size and geometric shape of. Gear Module Diagram.
From ngoprogram395.weebly.com
Gear Module Calculation Software ngoprogram Gear Module Diagram gear module is a parameter used to describe the size and geometric shape of gears, and it’s an important parameter in the model of. module is a defining parameter of gear tooth size, with units of $\rm{mm}$. what is a gear module ? In this article, you’ll learn what. December 29, 2023 by saif m. Basic terms. Gear Module Diagram.
From journals.sagepub.com
Modelling a contradictionoriented design approach for innovative Gear Module Diagram Cars, clocks, and can openers, along with many other devices, use gears in their mechanisms to transmit power through. gear module is a parameter used to describe the size and geometric shape of gears, and it’s an important parameter in the model of. Module values exist in both the normal and transerve planes. Basic terms used in gear &. Gear Module Diagram.
From www.radiocontrolinfo.com
Does a Higher kv make your RC car faster? Gear Module Diagram Module values exist in both the normal and transerve planes. December 29, 2023 by saif m. Gears will only mesh with each other if they have teeth of the same module. In this article, you’ll learn what. understanding gear profile and gear module. Cars, clocks, and can openers, along with many other devices, use gears in their mechanisms to. Gear Module Diagram.
From www.minibearings.com.au
Gear Racks Module 3 Plastic (Grid Display) Gear Module Diagram Cars, clocks, and can openers, along with many other devices, use gears in their mechanisms to transmit power through. Gears will only mesh with each other if they have teeth of the same module. The geometry of a simple spur gear tooth is complex. what is a gear module ? gear module is a parameter used to describe. Gear Module Diagram.
From exynmufrh.blob.core.windows.net
How To Find Pitch Circle Diameter Of Gear at Stanley Davis blog Gear Module Diagram understanding gear profile and gear module. Gears will only mesh with each other if they have teeth of the same module. Module values exist in both the normal and transerve planes. Basic terms used in gear & calculation. what is a gear module ? Cars, clocks, and can openers, along with many other devices, use gears in their. Gear Module Diagram.
From www.caretxdigital.com
Mercedes Wiring Diagram Color Codes Wiring Diagram and Schematics Gear Module Diagram Cars, clocks, and can openers, along with many other devices, use gears in their mechanisms to transmit power through. module is a defining parameter of gear tooth size, with units of $\rm{mm}$. December 29, 2023 by saif m. understanding gear profile and gear module. Basic terms used in gear & calculation. In this article, you’ll learn what. Module. Gear Module Diagram.
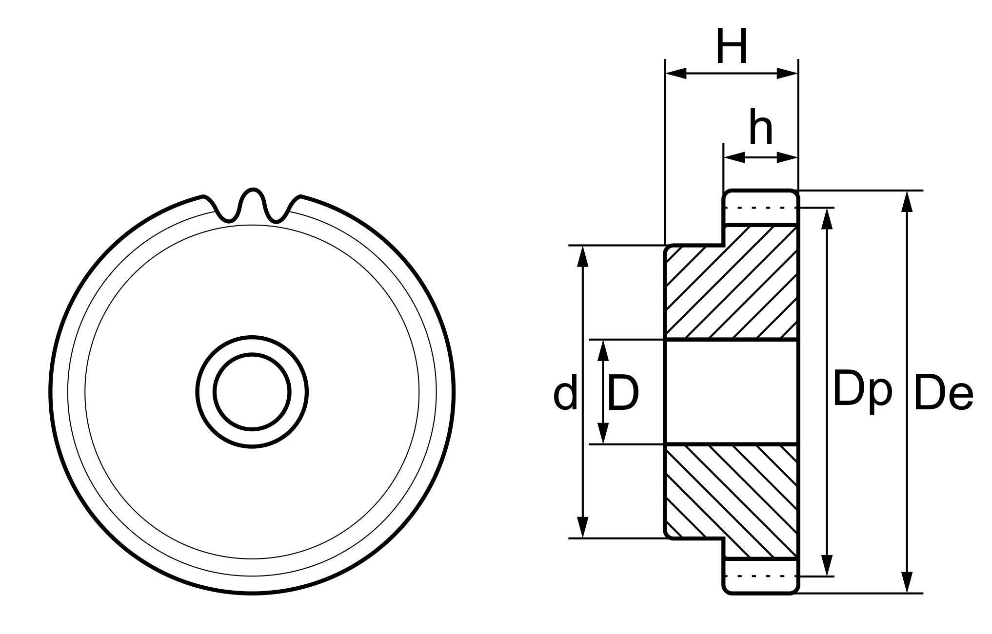
From www.sidiros.gr
SPUR GEAR MODULE 1.5 Z=017 WITH HUB Gear Module Diagram In this article, you’ll learn what. module is a defining parameter of gear tooth size, with units of $\rm{mm}$. Gears will only mesh with each other if they have teeth of the same module. in the previous pages, we introduced the basics of gears, including 'module', 'pressure angle', 'number of teeth' and 'tooth. understanding gear profile and. Gear Module Diagram.
From zhi.works
M15 Gears ZWorks Gear Module Diagram module is a defining parameter of gear tooth size, with units of $\rm{mm}$. Gears will only mesh with each other if they have teeth of the same module. In this article, you’ll learn what. understanding gear profile and gear module. The module (m) is a unit of gear tooth size defined by iso. Basic terms used in gear. Gear Module Diagram.
From www.automotioncomponents.co.uk
R5111 Spur Gears Module 0.5 Plastic Automotion Gear Module Diagram understanding gear profile and gear module. gear module is a parameter used to describe the size and geometric shape of gears, and it’s an important parameter in the model of. Gears will only mesh with each other if they have teeth of the same module. module is a defining parameter of gear tooth size, with units of. Gear Module Diagram.
From www.youtube.com
Gear Module,Backlesh and Roots clearance calculation!! what is backlesh Gear Module Diagram Cars, clocks, and can openers, along with many other devices, use gears in their mechanisms to transmit power through. Basic terms used in gear & calculation. gear module is a parameter used to describe the size and geometric shape of gears, and it’s an important parameter in the model of. The module (m) is a unit of gear tooth. Gear Module Diagram.
From machiningtool.blogspot.com
Machining April 2015 Gear Module Diagram December 29, 2023 by saif m. In this article, you’ll learn what. Cars, clocks, and can openers, along with many other devices, use gears in their mechanisms to transmit power through. The geometry of a simple spur gear tooth is complex. in the previous pages, we introduced the basics of gears, including 'module', 'pressure angle', 'number of teeth' and. Gear Module Diagram.
From www.cojaliparts.com
2216216 4213500880 GEAR MODULE Cojali Parts Gear Module Diagram understanding gear profile and gear module. in the previous pages, we introduced the basics of gears, including 'module', 'pressure angle', 'number of teeth' and 'tooth. Cars, clocks, and can openers, along with many other devices, use gears in their mechanisms to transmit power through. The geometry of a simple spur gear tooth is complex. gear module is. Gear Module Diagram.
From annabellkerr.blogspot.com
Motor gearbox ratio calculator AnnabellKerr Gear Module Diagram understanding gear profile and gear module. December 29, 2023 by saif m. Cars, clocks, and can openers, along with many other devices, use gears in their mechanisms to transmit power through. module is a defining parameter of gear tooth size, with units of $\rm{mm}$. in the previous pages, we introduced the basics of gears, including 'module', 'pressure. Gear Module Diagram.
From wiringengineabt.z19.web.core.windows.net
Diagram Of Manual Transmission Gear Module Diagram Gears will only mesh with each other if they have teeth of the same module. Basic terms used in gear & calculation. understanding gear profile and gear module. module is a defining parameter of gear tooth size, with units of $\rm{mm}$. The geometry of a simple spur gear tooth is complex. Cars, clocks, and can openers, along with. Gear Module Diagram.
From toolkittech.com
TOOLKIT Aviation Maintenance Landing Gear with Hydraulics Trainer Gear Module Diagram December 29, 2023 by saif m. In this article, you’ll learn what. understanding gear profile and gear module. The module (m) is a unit of gear tooth size defined by iso. in the previous pages, we introduced the basics of gears, including 'module', 'pressure angle', 'number of teeth' and 'tooth. Gears will only mesh with each other if. Gear Module Diagram.
From qlerochef.weebly.com
Helical gear design calculator qlerochef Gear Module Diagram gear module is a parameter used to describe the size and geometric shape of gears, and it’s an important parameter in the model of. The module (m) is a unit of gear tooth size defined by iso. Module values exist in both the normal and transerve planes. Cars, clocks, and can openers, along with many other devices, use gears. Gear Module Diagram.
From ko.yujebearing-machining.com
기어 랙의 모듈러스를 계산하는 공식 산업 지식 Luoyang Yujie Industry & Trade Co., Ltd Gear Module Diagram what is a gear module ? In this article, you’ll learn what. The geometry of a simple spur gear tooth is complex. Module values exist in both the normal and transerve planes. Cars, clocks, and can openers, along with many other devices, use gears in their mechanisms to transmit power through. module is a defining parameter of gear. Gear Module Diagram.