Vw Golf Camshaft Adjustment Valve . Just finished with the apr dtr6054 swap and noticed a slight 'sweat' of oil around the top bolt on the exhaust cam adjuster. Luckily, i was actually able to find my. Volkswagen golf gti mk v camshaft adjustment valve replacement. I just swapped out my intake cam spool valve in 15 minutes thanks to another thread in here. For removing the camshaft adjuster of the exhaust camshaft, you only need to detach the engine support and the lower toothed belt guard. Valve that controls cam adjustment 2x entries for spin to win sweepstakes! It covers the test plan,. I doubt you have the wrong cam trigger (left hand side, on the end of the inlet cam, under a round alloy cap with a sensor plugged in it) itl run like a bag of ****e if you have the wrong.
from www.pelicanparts.com
Valve that controls cam adjustment 2x entries for spin to win sweepstakes! Volkswagen golf gti mk v camshaft adjustment valve replacement. I just swapped out my intake cam spool valve in 15 minutes thanks to another thread in here. Just finished with the apr dtr6054 swap and noticed a slight 'sweat' of oil around the top bolt on the exhaust cam adjuster. Luckily, i was actually able to find my. For removing the camshaft adjuster of the exhaust camshaft, you only need to detach the engine support and the lower toothed belt guard. I doubt you have the wrong cam trigger (left hand side, on the end of the inlet cam, under a round alloy cap with a sensor plugged in it) itl run like a bag of ****e if you have the wrong. It covers the test plan,.
Volkswagen Golf GTI Mk V Camshaft Adjustment Valve Replacement (2006
Vw Golf Camshaft Adjustment Valve Valve that controls cam adjustment 2x entries for spin to win sweepstakes! Luckily, i was actually able to find my. For removing the camshaft adjuster of the exhaust camshaft, you only need to detach the engine support and the lower toothed belt guard. I just swapped out my intake cam spool valve in 15 minutes thanks to another thread in here. Just finished with the apr dtr6054 swap and noticed a slight 'sweat' of oil around the top bolt on the exhaust cam adjuster. Volkswagen golf gti mk v camshaft adjustment valve replacement. Valve that controls cam adjustment 2x entries for spin to win sweepstakes! I doubt you have the wrong cam trigger (left hand side, on the end of the inlet cam, under a round alloy cap with a sensor plugged in it) itl run like a bag of ****e if you have the wrong. It covers the test plan,.
From www.aliexpress.com
KEOGHS OEM 06L 109 021 E Engine Intake Camshaft Adjuster Assembly For Vw Golf Camshaft Adjustment Valve It covers the test plan,. For removing the camshaft adjuster of the exhaust camshaft, you only need to detach the engine support and the lower toothed belt guard. Valve that controls cam adjustment 2x entries for spin to win sweepstakes! Luckily, i was actually able to find my. I doubt you have the wrong cam trigger (left hand side, on. Vw Golf Camshaft Adjustment Valve.
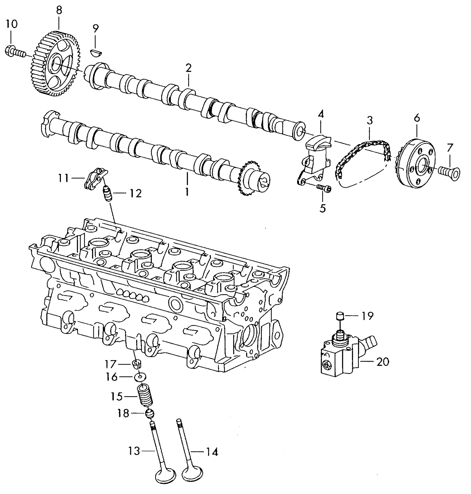
From www.speedparts.com.au
Variable camshaft actuator for Volkswagen Golf MK VI R CDLC 4cyl 2.0 Vw Golf Camshaft Adjustment Valve Valve that controls cam adjustment 2x entries for spin to win sweepstakes! I just swapped out my intake cam spool valve in 15 minutes thanks to another thread in here. Volkswagen golf gti mk v camshaft adjustment valve replacement. Luckily, i was actually able to find my. I doubt you have the wrong cam trigger (left hand side, on the. Vw Golf Camshaft Adjustment Valve.
From www.ebay.com
0EM Engine Camshaft Control Valve For VW Beetle Tiguan Golf Passat CC Vw Golf Camshaft Adjustment Valve It covers the test plan,. For removing the camshaft adjuster of the exhaust camshaft, you only need to detach the engine support and the lower toothed belt guard. I just swapped out my intake cam spool valve in 15 minutes thanks to another thread in here. I doubt you have the wrong cam trigger (left hand side, on the end. Vw Golf Camshaft Adjustment Valve.
From www.stevensvwspares.com
Used Genuine VW Golf Camshaft Housing With Adjuster Valve 06F 103 503 Vw Golf Camshaft Adjustment Valve I doubt you have the wrong cam trigger (left hand side, on the end of the inlet cam, under a round alloy cap with a sensor plugged in it) itl run like a bag of ****e if you have the wrong. I just swapped out my intake cam spool valve in 15 minutes thanks to another thread in here. Just. Vw Golf Camshaft Adjustment Valve.
From www.aliexpress.com
1PCS Camshaft Adjustment Valve for A4 A6 Q7 TT VW Golf Jetta Beetle Vw Golf Camshaft Adjustment Valve Valve that controls cam adjustment 2x entries for spin to win sweepstakes! I just swapped out my intake cam spool valve in 15 minutes thanks to another thread in here. It covers the test plan,. Volkswagen golf gti mk v camshaft adjustment valve replacement. Just finished with the apr dtr6054 swap and noticed a slight 'sweat' of oil around the. Vw Golf Camshaft Adjustment Valve.
From www.pelicanparts.com
Volkswagen Golf GTI Mk V Camshaft Adjustment Valve Replacement (2006 Vw Golf Camshaft Adjustment Valve Volkswagen golf gti mk v camshaft adjustment valve replacement. I doubt you have the wrong cam trigger (left hand side, on the end of the inlet cam, under a round alloy cap with a sensor plugged in it) itl run like a bag of ****e if you have the wrong. It covers the test plan,. I just swapped out my. Vw Golf Camshaft Adjustment Valve.
From www.ebay.com
Camshaft Adjuster Valve For VW Golf Audi A3 06L109257F eBay Vw Golf Camshaft Adjustment Valve For removing the camshaft adjuster of the exhaust camshaft, you only need to detach the engine support and the lower toothed belt guard. It covers the test plan,. Just finished with the apr dtr6054 swap and noticed a slight 'sweat' of oil around the top bolt on the exhaust cam adjuster. I doubt you have the wrong cam trigger (left. Vw Golf Camshaft Adjustment Valve.
From picclick.com.au
CONTROL VALVE CAMSHAFT Adjustment For Vw Up! Golf/Vii Jetta/Iv/Clasico Vw Golf Camshaft Adjustment Valve I just swapped out my intake cam spool valve in 15 minutes thanks to another thread in here. Volkswagen golf gti mk v camshaft adjustment valve replacement. Valve that controls cam adjustment 2x entries for spin to win sweepstakes! It covers the test plan,. Just finished with the apr dtr6054 swap and noticed a slight 'sweat' of oil around the. Vw Golf Camshaft Adjustment Valve.
From www.ebay.com
Genuine Intake Camshaft & Adjuster Valve for VW Jetta Golf Audi Q5 2.0T Vw Golf Camshaft Adjustment Valve It covers the test plan,. Just finished with the apr dtr6054 swap and noticed a slight 'sweat' of oil around the top bolt on the exhaust cam adjuster. I doubt you have the wrong cam trigger (left hand side, on the end of the inlet cam, under a round alloy cap with a sensor plugged in it) itl run like. Vw Golf Camshaft Adjustment Valve.
From shop.euroimpex.lt
03c906455 used Camshaft adjuster (Control Valve) Volkswagen Golf 2004 1 Vw Golf Camshaft Adjustment Valve Volkswagen golf gti mk v camshaft adjustment valve replacement. It covers the test plan,. I doubt you have the wrong cam trigger (left hand side, on the end of the inlet cam, under a round alloy cap with a sensor plugged in it) itl run like a bag of ****e if you have the wrong. Just finished with the apr. Vw Golf Camshaft Adjustment Valve.
From www.pelicanparts.com
Volkswagen Golf GTI Mk V Camshaft Adjustment Valve Replacement (2006 Vw Golf Camshaft Adjustment Valve I just swapped out my intake cam spool valve in 15 minutes thanks to another thread in here. Volkswagen golf gti mk v camshaft adjustment valve replacement. Valve that controls cam adjustment 2x entries for spin to win sweepstakes! I doubt you have the wrong cam trigger (left hand side, on the end of the inlet cam, under a round. Vw Golf Camshaft Adjustment Valve.
From www.pelicanparts.com
Volkswagen Golf GTI Mk V Camshaft Adjustment Valve Replacement (2006 Vw Golf Camshaft Adjustment Valve I doubt you have the wrong cam trigger (left hand side, on the end of the inlet cam, under a round alloy cap with a sensor plugged in it) itl run like a bag of ****e if you have the wrong. Valve that controls cam adjustment 2x entries for spin to win sweepstakes! Luckily, i was actually able to find. Vw Golf Camshaft Adjustment Valve.
From www.myturbodiesel.com
How to adjust rough idle and camshaft timing on VW and Audi TDI pumpe Vw Golf Camshaft Adjustment Valve For removing the camshaft adjuster of the exhaust camshaft, you only need to detach the engine support and the lower toothed belt guard. Valve that controls cam adjustment 2x entries for spin to win sweepstakes! I just swapped out my intake cam spool valve in 15 minutes thanks to another thread in here. Volkswagen golf gti mk v camshaft adjustment. Vw Golf Camshaft Adjustment Valve.
From vwgolf5catalogue.blogspot.com
VW Golf 5 2.0 ltr. camshaft, valves camshaft adjuster unit Vw Golf Camshaft Adjustment Valve I just swapped out my intake cam spool valve in 15 minutes thanks to another thread in here. It covers the test plan,. Luckily, i was actually able to find my. For removing the camshaft adjuster of the exhaust camshaft, you only need to detach the engine support and the lower toothed belt guard. Volkswagen golf gti mk v camshaft. Vw Golf Camshaft Adjustment Valve.
From www.pelicanparts.com
Volkswagen Golf GTI Mk V Camshaft Adjustment Valve Replacement (2006 Vw Golf Camshaft Adjustment Valve Luckily, i was actually able to find my. It covers the test plan,. Volkswagen golf gti mk v camshaft adjustment valve replacement. Valve that controls cam adjustment 2x entries for spin to win sweepstakes! I just swapped out my intake cam spool valve in 15 minutes thanks to another thread in here. Just finished with the apr dtr6054 swap and. Vw Golf Camshaft Adjustment Valve.
From eltaeurope.com
New To Range CamShaft Adjustment Valves ELTA Automotive Vw Golf Camshaft Adjustment Valve Luckily, i was actually able to find my. I doubt you have the wrong cam trigger (left hand side, on the end of the inlet cam, under a round alloy cap with a sensor plugged in it) itl run like a bag of ****e if you have the wrong. For removing the camshaft adjuster of the exhaust camshaft, you only. Vw Golf Camshaft Adjustment Valve.
From www.youtube.com
VW Golf 5 how to adjustment camshaft angle / VW PD engines adjust Vw Golf Camshaft Adjustment Valve I just swapped out my intake cam spool valve in 15 minutes thanks to another thread in here. Valve that controls cam adjustment 2x entries for spin to win sweepstakes! It covers the test plan,. Luckily, i was actually able to find my. I doubt you have the wrong cam trigger (left hand side, on the end of the inlet. Vw Golf Camshaft Adjustment Valve.
From www.pelicanparts.com
Volkswagen Golf GTI Mk V Camshaft Adjustment Valve Replacement (2006 Vw Golf Camshaft Adjustment Valve Volkswagen golf gti mk v camshaft adjustment valve replacement. Luckily, i was actually able to find my. It covers the test plan,. I just swapped out my intake cam spool valve in 15 minutes thanks to another thread in here. I doubt you have the wrong cam trigger (left hand side, on the end of the inlet cam, under a. Vw Golf Camshaft Adjustment Valve.
From www.pelicanparts.com
Volkswagen Golf GTI Mk V Camshaft Adjustment Valve Replacement (2006 Vw Golf Camshaft Adjustment Valve For removing the camshaft adjuster of the exhaust camshaft, you only need to detach the engine support and the lower toothed belt guard. I just swapped out my intake cam spool valve in 15 minutes thanks to another thread in here. I doubt you have the wrong cam trigger (left hand side, on the end of the inlet cam, under. Vw Golf Camshaft Adjustment Valve.
From eltaeurope.com
New To Range CamShaft Adjustment Valves ELTA Automotive Vw Golf Camshaft Adjustment Valve Just finished with the apr dtr6054 swap and noticed a slight 'sweat' of oil around the top bolt on the exhaust cam adjuster. Valve that controls cam adjustment 2x entries for spin to win sweepstakes! I just swapped out my intake cam spool valve in 15 minutes thanks to another thread in here. Luckily, i was actually able to find. Vw Golf Camshaft Adjustment Valve.
From eltaeurope.com
New To Range CamShaft Adjustment Valves ELTA Automotive Vw Golf Camshaft Adjustment Valve For removing the camshaft adjuster of the exhaust camshaft, you only need to detach the engine support and the lower toothed belt guard. Volkswagen golf gti mk v camshaft adjustment valve replacement. Just finished with the apr dtr6054 swap and noticed a slight 'sweat' of oil around the top bolt on the exhaust cam adjuster. Luckily, i was actually able. Vw Golf Camshaft Adjustment Valve.
From www.ecstuning.com
Dorman 916964 N205 Valve Vw Golf Camshaft Adjustment Valve Volkswagen golf gti mk v camshaft adjustment valve replacement. It covers the test plan,. For removing the camshaft adjuster of the exhaust camshaft, you only need to detach the engine support and the lower toothed belt guard. Luckily, i was actually able to find my. Just finished with the apr dtr6054 swap and noticed a slight 'sweat' of oil around. Vw Golf Camshaft Adjustment Valve.
From www.ecstuning.com
Dorman 918061 Camshaft adjustment valve (N205) Vw Golf Camshaft Adjustment Valve Volkswagen golf gti mk v camshaft adjustment valve replacement. I just swapped out my intake cam spool valve in 15 minutes thanks to another thread in here. I doubt you have the wrong cam trigger (left hand side, on the end of the inlet cam, under a round alloy cap with a sensor plugged in it) itl run like a. Vw Golf Camshaft Adjustment Valve.
From www.aspiremotor.com
Volkswagen Audi Cam Adjustment Valve aspiremotorsport Vw Golf Camshaft Adjustment Valve Valve that controls cam adjustment 2x entries for spin to win sweepstakes! Volkswagen golf gti mk v camshaft adjustment valve replacement. Luckily, i was actually able to find my. I doubt you have the wrong cam trigger (left hand side, on the end of the inlet cam, under a round alloy cap with a sensor plugged in it) itl run. Vw Golf Camshaft Adjustment Valve.
From forums.vwvortex.com
camshaft adjustment valve/camshaft adjuster and a rubber Vw Golf Camshaft Adjustment Valve I doubt you have the wrong cam trigger (left hand side, on the end of the inlet cam, under a round alloy cap with a sensor plugged in it) itl run like a bag of ****e if you have the wrong. Valve that controls cam adjustment 2x entries for spin to win sweepstakes! Volkswagen golf gti mk v camshaft adjustment. Vw Golf Camshaft Adjustment Valve.
From www.aliexpress.com
Cam Adjustment N205 Valve For VW Passat Jetta Golf EOS A3 A4 TT Quattro Vw Golf Camshaft Adjustment Valve Valve that controls cam adjustment 2x entries for spin to win sweepstakes! It covers the test plan,. Volkswagen golf gti mk v camshaft adjustment valve replacement. For removing the camshaft adjuster of the exhaust camshaft, you only need to detach the engine support and the lower toothed belt guard. Just finished with the apr dtr6054 swap and noticed a slight. Vw Golf Camshaft Adjustment Valve.
From www.ecstuning.com
Genuine Volkswagen Audi 06E109257P Camshaft adjustment valve (N205 Vw Golf Camshaft Adjustment Valve I doubt you have the wrong cam trigger (left hand side, on the end of the inlet cam, under a round alloy cap with a sensor plugged in it) itl run like a bag of ****e if you have the wrong. I just swapped out my intake cam spool valve in 15 minutes thanks to another thread in here. Valve. Vw Golf Camshaft Adjustment Valve.
From www.vwroc.com
N205, Camshaft timing control valves removal Tool VW Golf R MK7 Chat Vw Golf Camshaft Adjustment Valve It covers the test plan,. Volkswagen golf gti mk v camshaft adjustment valve replacement. I doubt you have the wrong cam trigger (left hand side, on the end of the inlet cam, under a round alloy cap with a sensor plugged in it) itl run like a bag of ****e if you have the wrong. Valve that controls cam adjustment. Vw Golf Camshaft Adjustment Valve.
From eltaeurope.com
Camshaft Adjustment Valves ELTA Automotive Vw Golf Camshaft Adjustment Valve For removing the camshaft adjuster of the exhaust camshaft, you only need to detach the engine support and the lower toothed belt guard. Just finished with the apr dtr6054 swap and noticed a slight 'sweat' of oil around the top bolt on the exhaust cam adjuster. Volkswagen golf gti mk v camshaft adjustment valve replacement. I just swapped out my. Vw Golf Camshaft Adjustment Valve.
From www.pelicanparts.com
Audi A4 1.8T Volkswagen Camshaft Position Sensor Golf, Jetta, Passat Vw Golf Camshaft Adjustment Valve It covers the test plan,. Volkswagen golf gti mk v camshaft adjustment valve replacement. Valve that controls cam adjustment 2x entries for spin to win sweepstakes! Just finished with the apr dtr6054 swap and noticed a slight 'sweat' of oil around the top bolt on the exhaust cam adjuster. For removing the camshaft adjuster of the exhaust camshaft, you only. Vw Golf Camshaft Adjustment Valve.
From www.pelicanparts.com
Volkswagen Golf GTI Mk V Camshaft Adjustment Valve Replacement (2006 Vw Golf Camshaft Adjustment Valve Valve that controls cam adjustment 2x entries for spin to win sweepstakes! I doubt you have the wrong cam trigger (left hand side, on the end of the inlet cam, under a round alloy cap with a sensor plugged in it) itl run like a bag of ****e if you have the wrong. For removing the camshaft adjuster of the. Vw Golf Camshaft Adjustment Valve.
From www.youtube.com
Installing camshafts into common rail Volkswagen TDI YouTube Vw Golf Camshaft Adjustment Valve Volkswagen golf gti mk v camshaft adjustment valve replacement. Just finished with the apr dtr6054 swap and noticed a slight 'sweat' of oil around the top bolt on the exhaust cam adjuster. It covers the test plan,. I doubt you have the wrong cam trigger (left hand side, on the end of the inlet cam, under a round alloy cap. Vw Golf Camshaft Adjustment Valve.
From www.kmotorshop.com
Control Valve, camshaft adjustment EFRVW002 NTY 03C906455A Vw Golf Camshaft Adjustment Valve I doubt you have the wrong cam trigger (left hand side, on the end of the inlet cam, under a round alloy cap with a sensor plugged in it) itl run like a bag of ****e if you have the wrong. Luckily, i was actually able to find my. I just swapped out my intake cam spool valve in 15. Vw Golf Camshaft Adjustment Valve.
From webautocats.com
Volkswagen Golf (2013 2017) Camshaft adjuster unit. camshaft module Vw Golf Camshaft Adjustment Valve For removing the camshaft adjuster of the exhaust camshaft, you only need to detach the engine support and the lower toothed belt guard. I doubt you have the wrong cam trigger (left hand side, on the end of the inlet cam, under a round alloy cap with a sensor plugged in it) itl run like a bag of ****e if. Vw Golf Camshaft Adjustment Valve.
From eltaeurope.com
New To Range CamShaft Adjustment Valves ELTA Automotive Vw Golf Camshaft Adjustment Valve It covers the test plan,. Luckily, i was actually able to find my. For removing the camshaft adjuster of the exhaust camshaft, you only need to detach the engine support and the lower toothed belt guard. Valve that controls cam adjustment 2x entries for spin to win sweepstakes! I doubt you have the wrong cam trigger (left hand side, on. Vw Golf Camshaft Adjustment Valve.