Vacuum Distillation Purification . a vacuum distillation is performed by applying a vacuum source to the vacuum adapter of either a simple or fractional distillation (figure 5.48). A vacuum distillation apparatus is shown in figure 5.50, using a simple distillation setup. When the pressure is lowered inside the apparatus, solutions boil at a lower temperature. how to purify by distillation at reduced pressures (vacuum distillation) how it works: vacuum distillation is a technique for the purification or separation of liquids or solvents with a boiling point. It is helpful to be able to. the boiling point of a liquid or solution drops when the pressure is reduced in a distillation apparatus. to purify a mixture of two liquids by reduced pressure distillation.
from chemicaltweak.com
a vacuum distillation is performed by applying a vacuum source to the vacuum adapter of either a simple or fractional distillation (figure 5.48). It is helpful to be able to. vacuum distillation is a technique for the purification or separation of liquids or solvents with a boiling point. When the pressure is lowered inside the apparatus, solutions boil at a lower temperature. how to purify by distillation at reduced pressures (vacuum distillation) how it works: the boiling point of a liquid or solution drops when the pressure is reduced in a distillation apparatus. to purify a mixture of two liquids by reduced pressure distillation. A vacuum distillation apparatus is shown in figure 5.50, using a simple distillation setup.
When Vacuum Distillation Is Selected Application And Uses Of VDU
Vacuum Distillation Purification to purify a mixture of two liquids by reduced pressure distillation. When the pressure is lowered inside the apparatus, solutions boil at a lower temperature. A vacuum distillation apparatus is shown in figure 5.50, using a simple distillation setup. how to purify by distillation at reduced pressures (vacuum distillation) how it works: a vacuum distillation is performed by applying a vacuum source to the vacuum adapter of either a simple or fractional distillation (figure 5.48). It is helpful to be able to. to purify a mixture of two liquids by reduced pressure distillation. the boiling point of a liquid or solution drops when the pressure is reduced in a distillation apparatus. vacuum distillation is a technique for the purification or separation of liquids or solvents with a boiling point.
From wkielab.com
What Is Molecular Distillation? Molecular Distillation Working Principle Vacuum Distillation Purification a vacuum distillation is performed by applying a vacuum source to the vacuum adapter of either a simple or fractional distillation (figure 5.48). the boiling point of a liquid or solution drops when the pressure is reduced in a distillation apparatus. A vacuum distillation apparatus is shown in figure 5.50, using a simple distillation setup. It is helpful. Vacuum Distillation Purification.
From tnlab.com
ShortPath Distillation System 5000ml 5L Essential Oil Distillation Vacuum Distillation Purification how to purify by distillation at reduced pressures (vacuum distillation) how it works: vacuum distillation is a technique for the purification or separation of liquids or solvents with a boiling point. to purify a mixture of two liquids by reduced pressure distillation. the boiling point of a liquid or solution drops when the pressure is reduced. Vacuum Distillation Purification.
From glossary.periodni.com
Chemistry Glossary Search results for 'distillation' Vacuum Distillation Purification to purify a mixture of two liquids by reduced pressure distillation. how to purify by distillation at reduced pressures (vacuum distillation) how it works: the boiling point of a liquid or solution drops when the pressure is reduced in a distillation apparatus. It is helpful to be able to. vacuum distillation is a technique for the. Vacuum Distillation Purification.
From www.thoughtco.com
What Is Distillation? Principles and Uses Vacuum Distillation Purification vacuum distillation is a technique for the purification or separation of liquids or solvents with a boiling point. to purify a mixture of two liquids by reduced pressure distillation. how to purify by distillation at reduced pressures (vacuum distillation) how it works: When the pressure is lowered inside the apparatus, solutions boil at a lower temperature. . Vacuum Distillation Purification.
From www.vecteezy.com
Diagram showing Distillation Separating Mixtures 2896364 Vector Art at Vacuum Distillation Purification vacuum distillation is a technique for the purification or separation of liquids or solvents with a boiling point. how to purify by distillation at reduced pressures (vacuum distillation) how it works: When the pressure is lowered inside the apparatus, solutions boil at a lower temperature. It is helpful to be able to. a vacuum distillation is performed. Vacuum Distillation Purification.
From dxondimvq.blob.core.windows.net
Filtration And Distillation Method at Mary Bowser blog Vacuum Distillation Purification When the pressure is lowered inside the apparatus, solutions boil at a lower temperature. It is helpful to be able to. how to purify by distillation at reduced pressures (vacuum distillation) how it works: to purify a mixture of two liquids by reduced pressure distillation. the boiling point of a liquid or solution drops when the pressure. Vacuum Distillation Purification.
From jupiter.plymouth.edu
DISTILLATION APPARATUS Vacuum Distillation Purification It is helpful to be able to. how to purify by distillation at reduced pressures (vacuum distillation) how it works: the boiling point of a liquid or solution drops when the pressure is reduced in a distillation apparatus. a vacuum distillation is performed by applying a vacuum source to the vacuum adapter of either a simple or. Vacuum Distillation Purification.
From www.researchgate.net
Diagram of the vacuum distillation still used for purification Vacuum Distillation Purification vacuum distillation is a technique for the purification or separation of liquids or solvents with a boiling point. to purify a mixture of two liquids by reduced pressure distillation. the boiling point of a liquid or solution drops when the pressure is reduced in a distillation apparatus. It is helpful to be able to. a vacuum. Vacuum Distillation Purification.
From www.vecteezy.com
Distillation, distillation under reduced pressure, vacuum distillation Vacuum Distillation Purification how to purify by distillation at reduced pressures (vacuum distillation) how it works: vacuum distillation is a technique for the purification or separation of liquids or solvents with a boiling point. a vacuum distillation is performed by applying a vacuum source to the vacuum adapter of either a simple or fractional distillation (figure 5.48). the boiling. Vacuum Distillation Purification.
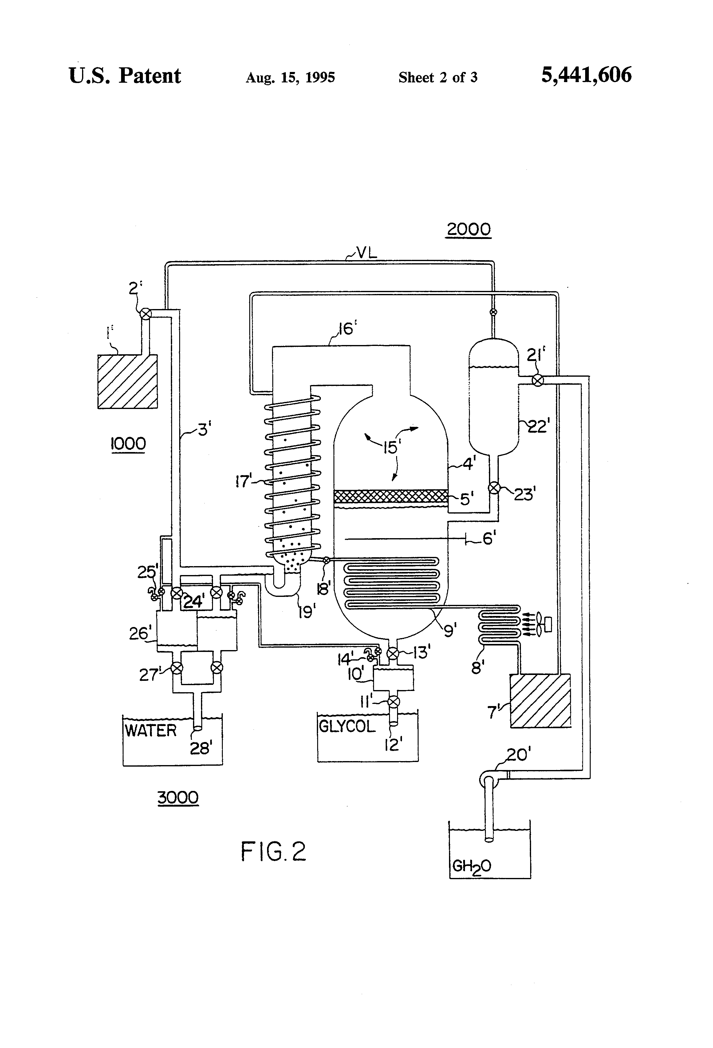
From www.google.com.au
Patent US5441606 Liquid purifying and vacuum distillation process Vacuum Distillation Purification vacuum distillation is a technique for the purification or separation of liquids or solvents with a boiling point. It is helpful to be able to. the boiling point of a liquid or solution drops when the pressure is reduced in a distillation apparatus. When the pressure is lowered inside the apparatus, solutions boil at a lower temperature. A. Vacuum Distillation Purification.
From www.cbdextracting.org
CBD extraction and Purification Methods How to Get the Best Quality Vacuum Distillation Purification A vacuum distillation apparatus is shown in figure 5.50, using a simple distillation setup. the boiling point of a liquid or solution drops when the pressure is reduced in a distillation apparatus. When the pressure is lowered inside the apparatus, solutions boil at a lower temperature. a vacuum distillation is performed by applying a vacuum source to the. Vacuum Distillation Purification.
From www.geeksforgeeks.org
Methods of Purification of Organic Compounds Vacuum Distillation Purification When the pressure is lowered inside the apparatus, solutions boil at a lower temperature. vacuum distillation is a technique for the purification or separation of liquids or solvents with a boiling point. to purify a mixture of two liquids by reduced pressure distillation. It is helpful to be able to. A vacuum distillation apparatus is shown in figure. Vacuum Distillation Purification.
From classnotes.org.in
Purification of Organic Compounds Chemistry, Class 11, Organic Vacuum Distillation Purification It is helpful to be able to. a vacuum distillation is performed by applying a vacuum source to the vacuum adapter of either a simple or fractional distillation (figure 5.48). A vacuum distillation apparatus is shown in figure 5.50, using a simple distillation setup. the boiling point of a liquid or solution drops when the pressure is reduced. Vacuum Distillation Purification.
From www.baronusa.com
Vacuum Distillation Units — BaronUSA Vacuum Distillation Purification It is helpful to be able to. A vacuum distillation apparatus is shown in figure 5.50, using a simple distillation setup. a vacuum distillation is performed by applying a vacuum source to the vacuum adapter of either a simple or fractional distillation (figure 5.48). the boiling point of a liquid or solution drops when the pressure is reduced. Vacuum Distillation Purification.
From www.askiitians.com
Organic Chemistry Purification of organic compounds askIITians Vacuum Distillation Purification a vacuum distillation is performed by applying a vacuum source to the vacuum adapter of either a simple or fractional distillation (figure 5.48). A vacuum distillation apparatus is shown in figure 5.50, using a simple distillation setup. When the pressure is lowered inside the apparatus, solutions boil at a lower temperature. vacuum distillation is a technique for the. Vacuum Distillation Purification.
From chemicaltweak.com
When Vacuum Distillation Is Selected Application And Uses Of VDU Vacuum Distillation Purification how to purify by distillation at reduced pressures (vacuum distillation) how it works: to purify a mixture of two liquids by reduced pressure distillation. the boiling point of a liquid or solution drops when the pressure is reduced in a distillation apparatus. It is helpful to be able to. When the pressure is lowered inside the apparatus,. Vacuum Distillation Purification.
From linbel.en.made-in-china.com
Rotary Evaporator Re Vacuum Distiller Negative Pressure Vacuum Vacuum Distillation Purification When the pressure is lowered inside the apparatus, solutions boil at a lower temperature. A vacuum distillation apparatus is shown in figure 5.50, using a simple distillation setup. a vacuum distillation is performed by applying a vacuum source to the vacuum adapter of either a simple or fractional distillation (figure 5.48). to purify a mixture of two liquids. Vacuum Distillation Purification.
From www.sme.in
Techpert Process Industries Vacuum Distillation Purification a vacuum distillation is performed by applying a vacuum source to the vacuum adapter of either a simple or fractional distillation (figure 5.48). When the pressure is lowered inside the apparatus, solutions boil at a lower temperature. how to purify by distillation at reduced pressures (vacuum distillation) how it works: It is helpful to be able to. A. Vacuum Distillation Purification.
From chemicalengineeringworld.com
Types of Distillation Chemical Engineering World Vacuum Distillation Purification vacuum distillation is a technique for the purification or separation of liquids or solvents with a boiling point. how to purify by distillation at reduced pressures (vacuum distillation) how it works: A vacuum distillation apparatus is shown in figure 5.50, using a simple distillation setup. the boiling point of a liquid or solution drops when the pressure. Vacuum Distillation Purification.
From safrole.com
Vacuum distillation Safrole Vacuum Distillation Purification a vacuum distillation is performed by applying a vacuum source to the vacuum adapter of either a simple or fractional distillation (figure 5.48). vacuum distillation is a technique for the purification or separation of liquids or solvents with a boiling point. When the pressure is lowered inside the apparatus, solutions boil at a lower temperature. A vacuum distillation. Vacuum Distillation Purification.
From www.britannica.com
distillation summary Britannica Vacuum Distillation Purification When the pressure is lowered inside the apparatus, solutions boil at a lower temperature. to purify a mixture of two liquids by reduced pressure distillation. the boiling point of a liquid or solution drops when the pressure is reduced in a distillation apparatus. A vacuum distillation apparatus is shown in figure 5.50, using a simple distillation setup. . Vacuum Distillation Purification.
From letymedical.en.made-in-china.com
Laboratory Distillation Purification Labortory Vacuum Rotary Vacuum Distillation Purification to purify a mixture of two liquids by reduced pressure distillation. When the pressure is lowered inside the apparatus, solutions boil at a lower temperature. It is helpful to be able to. how to purify by distillation at reduced pressures (vacuum distillation) how it works: A vacuum distillation apparatus is shown in figure 5.50, using a simple distillation. Vacuum Distillation Purification.
From www.youtube.com
Vacuum Distillation YouTube Vacuum Distillation Purification vacuum distillation is a technique for the purification or separation of liquids or solvents with a boiling point. a vacuum distillation is performed by applying a vacuum source to the vacuum adapter of either a simple or fractional distillation (figure 5.48). A vacuum distillation apparatus is shown in figure 5.50, using a simple distillation setup. It is helpful. Vacuum Distillation Purification.
From supertekglassware.com
Vacuum Distillation Vacuum Distillation Purification A vacuum distillation apparatus is shown in figure 5.50, using a simple distillation setup. When the pressure is lowered inside the apparatus, solutions boil at a lower temperature. vacuum distillation is a technique for the purification or separation of liquids or solvents with a boiling point. It is helpful to be able to. how to purify by distillation. Vacuum Distillation Purification.
From eureka.patsnap.com
Vacuum distillation device for indium and distillation method thereof Vacuum Distillation Purification vacuum distillation is a technique for the purification or separation of liquids or solvents with a boiling point. When the pressure is lowered inside the apparatus, solutions boil at a lower temperature. a vacuum distillation is performed by applying a vacuum source to the vacuum adapter of either a simple or fractional distillation (figure 5.48). the boiling. Vacuum Distillation Purification.
From www.pinterest.com
Simple Distillation Distillation, Chemistry lessons, Teaching chemistry Vacuum Distillation Purification the boiling point of a liquid or solution drops when the pressure is reduced in a distillation apparatus. When the pressure is lowered inside the apparatus, solutions boil at a lower temperature. to purify a mixture of two liquids by reduced pressure distillation. A vacuum distillation apparatus is shown in figure 5.50, using a simple distillation setup. It. Vacuum Distillation Purification.
From exolvymka.blob.core.windows.net
What Is The Role Of Safety Tube In Vacuum Distillation at Meagan Naquin Vacuum Distillation Purification vacuum distillation is a technique for the purification or separation of liquids or solvents with a boiling point. It is helpful to be able to. a vacuum distillation is performed by applying a vacuum source to the vacuum adapter of either a simple or fractional distillation (figure 5.48). When the pressure is lowered inside the apparatus, solutions boil. Vacuum Distillation Purification.
From www.pinterest.com
The Various Types of Distillation That are Worth Knowing Distillation Vacuum Distillation Purification It is helpful to be able to. to purify a mixture of two liquids by reduced pressure distillation. how to purify by distillation at reduced pressures (vacuum distillation) how it works: A vacuum distillation apparatus is shown in figure 5.50, using a simple distillation setup. vacuum distillation is a technique for the purification or separation of liquids. Vacuum Distillation Purification.
From www.askmattrab.com
Purification or Refining of Metals Class Eleven Chemistry Vacuum Distillation Purification to purify a mixture of two liquids by reduced pressure distillation. a vacuum distillation is performed by applying a vacuum source to the vacuum adapter of either a simple or fractional distillation (figure 5.48). how to purify by distillation at reduced pressures (vacuum distillation) how it works: vacuum distillation is a technique for the purification or. Vacuum Distillation Purification.
From naizaklab.com
High Vacuum Distillation units Naizak Lab Vacuum Distillation Purification vacuum distillation is a technique for the purification or separation of liquids or solvents with a boiling point. the boiling point of a liquid or solution drops when the pressure is reduced in a distillation apparatus. to purify a mixture of two liquids by reduced pressure distillation. When the pressure is lowered inside the apparatus, solutions boil. Vacuum Distillation Purification.
From exolvymka.blob.core.windows.net
What Is The Role Of Safety Tube In Vacuum Distillation at Meagan Naquin Vacuum Distillation Purification A vacuum distillation apparatus is shown in figure 5.50, using a simple distillation setup. When the pressure is lowered inside the apparatus, solutions boil at a lower temperature. It is helpful to be able to. how to purify by distillation at reduced pressures (vacuum distillation) how it works: the boiling point of a liquid or solution drops when. Vacuum Distillation Purification.
From www.labrotovap.com
The Vacuum Distillation Methods for Cannabis Extraction Process Lab Vacuum Distillation Purification the boiling point of a liquid or solution drops when the pressure is reduced in a distillation apparatus. a vacuum distillation is performed by applying a vacuum source to the vacuum adapter of either a simple or fractional distillation (figure 5.48). A vacuum distillation apparatus is shown in figure 5.50, using a simple distillation setup. how to. Vacuum Distillation Purification.
From www.aliexpress.com
Buy 2L Laboratory Simple Vacuum Distillation Unit Vacuum Distillation Purification to purify a mixture of two liquids by reduced pressure distillation. the boiling point of a liquid or solution drops when the pressure is reduced in a distillation apparatus. how to purify by distillation at reduced pressures (vacuum distillation) how it works: vacuum distillation is a technique for the purification or separation of liquids or solvents. Vacuum Distillation Purification.
From www.aliexpress.com
17pcs/lot Vacuum distillation unit,Lab purifying plant/Enrichment Vacuum Distillation Purification to purify a mixture of two liquids by reduced pressure distillation. It is helpful to be able to. A vacuum distillation apparatus is shown in figure 5.50, using a simple distillation setup. a vacuum distillation is performed by applying a vacuum source to the vacuum adapter of either a simple or fractional distillation (figure 5.48). how to. Vacuum Distillation Purification.
From chemicaltweak.com
Vacuum Distillation Process And Working Principle VDU Full Form Vacuum Distillation Purification When the pressure is lowered inside the apparatus, solutions boil at a lower temperature. It is helpful to be able to. the boiling point of a liquid or solution drops when the pressure is reduced in a distillation apparatus. a vacuum distillation is performed by applying a vacuum source to the vacuum adapter of either a simple or. Vacuum Distillation Purification.