Hydraulic Clutch Release Mechanism . a hydraulic release mechanism for automotive clutches and the like comprising a housing and a bearing assembly. clutch release bearing: A hydraulic clutch release mechanism (fig. a hydraulic clutch release mechanism of the type in which hydraulic fluid is introduced into a fluid chamber to expand it from an. the system—similar to a car's hydraulic braking system—uses a hydraulic master cylinder to create line pressure plumbed (usually) to an internal hydraulic release bearing (hrb) positioned.
from www.youtube.com
clutch release bearing: a hydraulic release mechanism for automotive clutches and the like comprising a housing and a bearing assembly. the system—similar to a car's hydraulic braking system—uses a hydraulic master cylinder to create line pressure plumbed (usually) to an internal hydraulic release bearing (hrb) positioned. A hydraulic clutch release mechanism (fig. a hydraulic clutch release mechanism of the type in which hydraulic fluid is introduced into a fluid chamber to expand it from an.
How a clutch works! (Animation) Clutch, How does it work ? single
Hydraulic Clutch Release Mechanism a hydraulic release mechanism for automotive clutches and the like comprising a housing and a bearing assembly. clutch release bearing: a hydraulic clutch release mechanism of the type in which hydraulic fluid is introduced into a fluid chamber to expand it from an. the system—similar to a car's hydraulic braking system—uses a hydraulic master cylinder to create line pressure plumbed (usually) to an internal hydraulic release bearing (hrb) positioned. a hydraulic release mechanism for automotive clutches and the like comprising a housing and a bearing assembly. A hydraulic clutch release mechanism (fig.
From www.ques10.com
Describe with neat sketch working of hydraulic type clutch operating Hydraulic Clutch Release Mechanism a hydraulic release mechanism for automotive clutches and the like comprising a housing and a bearing assembly. clutch release bearing: the system—similar to a car's hydraulic braking system—uses a hydraulic master cylinder to create line pressure plumbed (usually) to an internal hydraulic release bearing (hrb) positioned. A hydraulic clutch release mechanism (fig. a hydraulic clutch release. Hydraulic Clutch Release Mechanism.
From www.slideserve.com
PPT CLUTCH SERVICE PowerPoint Presentation, free download ID2962651 Hydraulic Clutch Release Mechanism A hydraulic clutch release mechanism (fig. the system—similar to a car's hydraulic braking system—uses a hydraulic master cylinder to create line pressure plumbed (usually) to an internal hydraulic release bearing (hrb) positioned. a hydraulic clutch release mechanism of the type in which hydraulic fluid is introduced into a fluid chamber to expand it from an. a hydraulic. Hydraulic Clutch Release Mechanism.
From factsofcars.blogspot.com
Car Facts Clutch Mechanism diagram Hydraulic Clutch Release Mechanism a hydraulic clutch release mechanism of the type in which hydraulic fluid is introduced into a fluid chamber to expand it from an. a hydraulic release mechanism for automotive clutches and the like comprising a housing and a bearing assembly. the system—similar to a car's hydraulic braking system—uses a hydraulic master cylinder to create line pressure plumbed. Hydraulic Clutch Release Mechanism.
From www.slideshare.net
Clutch mechanism unit 2 Hydraulic Clutch Release Mechanism a hydraulic clutch release mechanism of the type in which hydraulic fluid is introduced into a fluid chamber to expand it from an. the system—similar to a car's hydraulic braking system—uses a hydraulic master cylinder to create line pressure plumbed (usually) to an internal hydraulic release bearing (hrb) positioned. A hydraulic clutch release mechanism (fig. a hydraulic. Hydraulic Clutch Release Mechanism.
From x-engineer.org
Clutch actuation system Hydraulic Clutch Release Mechanism A hydraulic clutch release mechanism (fig. a hydraulic clutch release mechanism of the type in which hydraulic fluid is introduced into a fluid chamber to expand it from an. a hydraulic release mechanism for automotive clutches and the like comprising a housing and a bearing assembly. the system—similar to a car's hydraulic braking system—uses a hydraulic master. Hydraulic Clutch Release Mechanism.
From www.youtube.com
Clutch mechanism demonstration YouTube Hydraulic Clutch Release Mechanism clutch release bearing: the system—similar to a car's hydraulic braking system—uses a hydraulic master cylinder to create line pressure plumbed (usually) to an internal hydraulic release bearing (hrb) positioned. a hydraulic release mechanism for automotive clutches and the like comprising a housing and a bearing assembly. a hydraulic clutch release mechanism of the type in which. Hydraulic Clutch Release Mechanism.
From atlashydraulic.com
Cable Clutch Vs Hydraulic Clutch Which Is Better Hydraulic Or Cable? Hydraulic Clutch Release Mechanism a hydraulic clutch release mechanism of the type in which hydraulic fluid is introduced into a fluid chamber to expand it from an. clutch release bearing: the system—similar to a car's hydraulic braking system—uses a hydraulic master cylinder to create line pressure plumbed (usually) to an internal hydraulic release bearing (hrb) positioned. a hydraulic release mechanism. Hydraulic Clutch Release Mechanism.
From forums.mg-rover.org
clutch release arm Forums Hydraulic Clutch Release Mechanism A hydraulic clutch release mechanism (fig. a hydraulic release mechanism for automotive clutches and the like comprising a housing and a bearing assembly. a hydraulic clutch release mechanism of the type in which hydraulic fluid is introduced into a fluid chamber to expand it from an. clutch release bearing: the system—similar to a car's hydraulic braking. Hydraulic Clutch Release Mechanism.
From www.hotrod.com
Convert From A Mechanical to a Hydraulic Clutch Hot Rod Network Hydraulic Clutch Release Mechanism A hydraulic clutch release mechanism (fig. a hydraulic clutch release mechanism of the type in which hydraulic fluid is introduced into a fluid chamber to expand it from an. clutch release bearing: a hydraulic release mechanism for automotive clutches and the like comprising a housing and a bearing assembly. the system—similar to a car's hydraulic braking. Hydraulic Clutch Release Mechanism.
From www.earlycj5.com
Pielut's Hydraulic Clutch Conversion ECJ5 Hydraulic Clutch Release Mechanism A hydraulic clutch release mechanism (fig. clutch release bearing: a hydraulic clutch release mechanism of the type in which hydraulic fluid is introduced into a fluid chamber to expand it from an. the system—similar to a car's hydraulic braking system—uses a hydraulic master cylinder to create line pressure plumbed (usually) to an internal hydraulic release bearing (hrb). Hydraulic Clutch Release Mechanism.
From learnmechanical.com
Clutch Definition, Working Principle, Function, Types, Advantages Hydraulic Clutch Release Mechanism clutch release bearing: a hydraulic clutch release mechanism of the type in which hydraulic fluid is introduced into a fluid chamber to expand it from an. a hydraulic release mechanism for automotive clutches and the like comprising a housing and a bearing assembly. A hydraulic clutch release mechanism (fig. the system—similar to a car's hydraulic braking. Hydraulic Clutch Release Mechanism.
From www.youtube.com
How a clutch works! (Animation) Clutch, How does it work ? single Hydraulic Clutch Release Mechanism clutch release bearing: A hydraulic clutch release mechanism (fig. a hydraulic release mechanism for automotive clutches and the like comprising a housing and a bearing assembly. the system—similar to a car's hydraulic braking system—uses a hydraulic master cylinder to create line pressure plumbed (usually) to an internal hydraulic release bearing (hrb) positioned. a hydraulic clutch release. Hydraulic Clutch Release Mechanism.
From www.advance-gearboxes.eu
ADVANCE HCL250F HYDRAULIC CLUTCH Hydraulic Clutch Advance Europe Hydraulic Clutch Release Mechanism the system—similar to a car's hydraulic braking system—uses a hydraulic master cylinder to create line pressure plumbed (usually) to an internal hydraulic release bearing (hrb) positioned. A hydraulic clutch release mechanism (fig. a hydraulic clutch release mechanism of the type in which hydraulic fluid is introduced into a fluid chamber to expand it from an. clutch release. Hydraulic Clutch Release Mechanism.
From www.youtube.com
Clutch Hydraulic Release System Reverse Fluid Injection YouTube Hydraulic Clutch Release Mechanism the system—similar to a car's hydraulic braking system—uses a hydraulic master cylinder to create line pressure plumbed (usually) to an internal hydraulic release bearing (hrb) positioned. a hydraulic clutch release mechanism of the type in which hydraulic fluid is introduced into a fluid chamber to expand it from an. clutch release bearing: a hydraulic release mechanism. Hydraulic Clutch Release Mechanism.
From workshop-manuals.com
Volkswagen Service and Repair Manuals > Polo Mk3 > Power Hydraulic Clutch Release Mechanism a hydraulic release mechanism for automotive clutches and the like comprising a housing and a bearing assembly. clutch release bearing: A hydraulic clutch release mechanism (fig. a hydraulic clutch release mechanism of the type in which hydraulic fluid is introduced into a fluid chamber to expand it from an. the system—similar to a car's hydraulic braking. Hydraulic Clutch Release Mechanism.
From avspare.com
(885) DAVID BROWN DIESEL TRACTOR W/Q CAB (S/N 11000001 TO 11021851 Hydraulic Clutch Release Mechanism a hydraulic clutch release mechanism of the type in which hydraulic fluid is introduced into a fluid chamber to expand it from an. A hydraulic clutch release mechanism (fig. clutch release bearing: the system—similar to a car's hydraulic braking system—uses a hydraulic master cylinder to create line pressure plumbed (usually) to an internal hydraulic release bearing (hrb). Hydraulic Clutch Release Mechanism.
From www.thevog.net
hydraulic clutch question Victory Motorcycles Motorcycle Forums Hydraulic Clutch Release Mechanism a hydraulic clutch release mechanism of the type in which hydraulic fluid is introduced into a fluid chamber to expand it from an. a hydraulic release mechanism for automotive clutches and the like comprising a housing and a bearing assembly. the system—similar to a car's hydraulic braking system—uses a hydraulic master cylinder to create line pressure plumbed. Hydraulic Clutch Release Mechanism.
From www.google.com
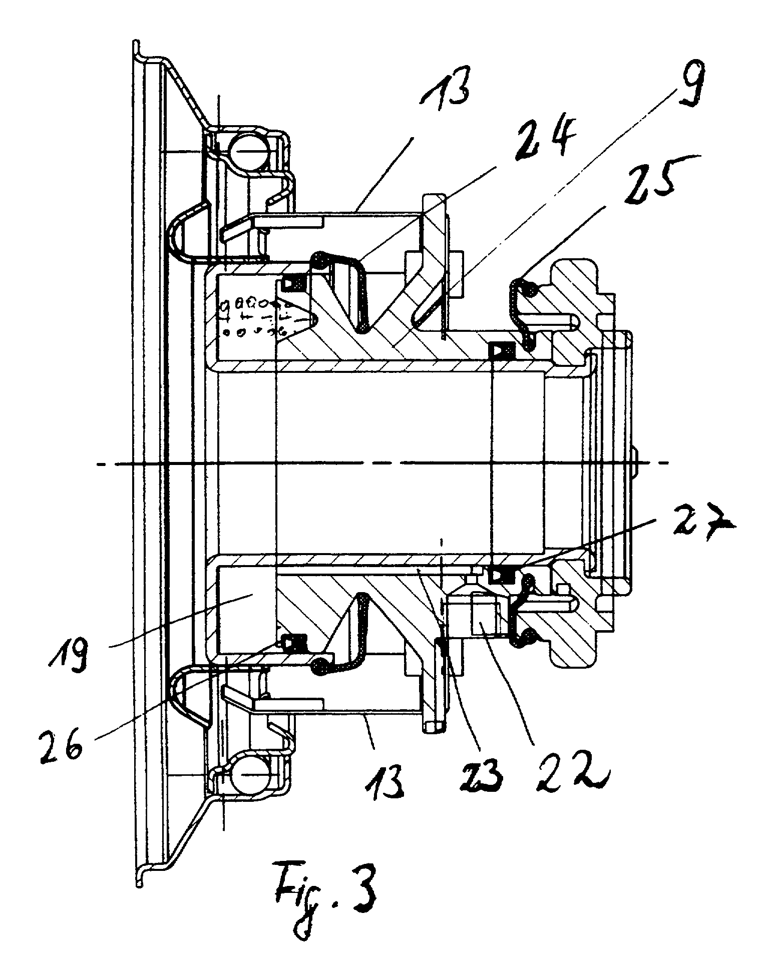
Patent EP0926376B1 Clutch with release mechanism Google Patents Hydraulic Clutch Release Mechanism clutch release bearing: a hydraulic release mechanism for automotive clutches and the like comprising a housing and a bearing assembly. A hydraulic clutch release mechanism (fig. a hydraulic clutch release mechanism of the type in which hydraulic fluid is introduced into a fluid chamber to expand it from an. the system—similar to a car's hydraulic braking. Hydraulic Clutch Release Mechanism.
From www.rickscamaros.com
Camaro Clutch Release Bearing, Hydraulic, LS1, T56, Ram Clutches, 1998 Hydraulic Clutch Release Mechanism the system—similar to a car's hydraulic braking system—uses a hydraulic master cylinder to create line pressure plumbed (usually) to an internal hydraulic release bearing (hrb) positioned. a hydraulic release mechanism for automotive clutches and the like comprising a housing and a bearing assembly. a hydraulic clutch release mechanism of the type in which hydraulic fluid is introduced. Hydraulic Clutch Release Mechanism.
From www.motortrend.com
Modern Driveline’s AllNew Hydraulic Clutch Setup for Fox Mustangs Hydraulic Clutch Release Mechanism A hydraulic clutch release mechanism (fig. clutch release bearing: a hydraulic release mechanism for automotive clutches and the like comprising a housing and a bearing assembly. the system—similar to a car's hydraulic braking system—uses a hydraulic master cylinder to create line pressure plumbed (usually) to an internal hydraulic release bearing (hrb) positioned. a hydraulic clutch release. Hydraulic Clutch Release Mechanism.
From bil-mekanisme.blogspot.com
Bilen utmerket mekanisme Clutch master cylinder bleeding Hydraulic Clutch Release Mechanism the system—similar to a car's hydraulic braking system—uses a hydraulic master cylinder to create line pressure plumbed (usually) to an internal hydraulic release bearing (hrb) positioned. clutch release bearing: a hydraulic clutch release mechanism of the type in which hydraulic fluid is introduced into a fluid chamber to expand it from an. A hydraulic clutch release mechanism. Hydraulic Clutch Release Mechanism.
From www.eaton.com
Hydraulic clutch linkage overview Hydraulic Clutch Release Mechanism a hydraulic release mechanism for automotive clutches and the like comprising a housing and a bearing assembly. the system—similar to a car's hydraulic braking system—uses a hydraulic master cylinder to create line pressure plumbed (usually) to an internal hydraulic release bearing (hrb) positioned. clutch release bearing: a hydraulic clutch release mechanism of the type in which. Hydraulic Clutch Release Mechanism.
From avspare.com
(FMD) FORDSON TRACTOR (1/5312/64) (05G01) AUTOMATIC CLUTCH RELEASE Hydraulic Clutch Release Mechanism a hydraulic release mechanism for automotive clutches and the like comprising a housing and a bearing assembly. a hydraulic clutch release mechanism of the type in which hydraulic fluid is introduced into a fluid chamber to expand it from an. the system—similar to a car's hydraulic braking system—uses a hydraulic master cylinder to create line pressure plumbed. Hydraulic Clutch Release Mechanism.
From www.hotrodhotline.com
Clutch Installing Hydraulic Clutch Release Bearing Hydraulic Clutch Release Mechanism A hydraulic clutch release mechanism (fig. the system—similar to a car's hydraulic braking system—uses a hydraulic master cylinder to create line pressure plumbed (usually) to an internal hydraulic release bearing (hrb) positioned. a hydraulic clutch release mechanism of the type in which hydraulic fluid is introduced into a fluid chamber to expand it from an. clutch release. Hydraulic Clutch Release Mechanism.
From mooregoodink.com
Hydraulic release bearings operating with the correct gap. Moore Hydraulic Clutch Release Mechanism clutch release bearing: A hydraulic clutch release mechanism (fig. the system—similar to a car's hydraulic braking system—uses a hydraulic master cylinder to create line pressure plumbed (usually) to an internal hydraulic release bearing (hrb) positioned. a hydraulic release mechanism for automotive clutches and the like comprising a housing and a bearing assembly. a hydraulic clutch release. Hydraulic Clutch Release Mechanism.
From www.fablessmanufacturing.com
Hydraulic Clutch Conversion Kit [LHD] VW MK2 Fabless Manufacturing Hydraulic Clutch Release Mechanism clutch release bearing: A hydraulic clutch release mechanism (fig. the system—similar to a car's hydraulic braking system—uses a hydraulic master cylinder to create line pressure plumbed (usually) to an internal hydraulic release bearing (hrb) positioned. a hydraulic release mechanism for automotive clutches and the like comprising a housing and a bearing assembly. a hydraulic clutch release. Hydraulic Clutch Release Mechanism.
From www.justanswer.com
Q&A Audi 90 CS Clutch Fluid Reservoir, Hydraulic Release Mechanism & More Hydraulic Clutch Release Mechanism a hydraulic clutch release mechanism of the type in which hydraulic fluid is introduced into a fluid chamber to expand it from an. A hydraulic clutch release mechanism (fig. the system—similar to a car's hydraulic braking system—uses a hydraulic master cylinder to create line pressure plumbed (usually) to an internal hydraulic release bearing (hrb) positioned. a hydraulic. Hydraulic Clutch Release Mechanism.
From www.morrisminorspares.com
Clutch Release/Thrust Bearing (Ball Race Type) For Hydraulic Clutch Hydraulic Clutch Release Mechanism A hydraulic clutch release mechanism (fig. clutch release bearing: a hydraulic release mechanism for automotive clutches and the like comprising a housing and a bearing assembly. a hydraulic clutch release mechanism of the type in which hydraulic fluid is introduced into a fluid chamber to expand it from an. the system—similar to a car's hydraulic braking. Hydraulic Clutch Release Mechanism.
From x-engineer.org
Clutch actuation system Hydraulic Clutch Release Mechanism A hydraulic clutch release mechanism (fig. a hydraulic clutch release mechanism of the type in which hydraulic fluid is introduced into a fluid chamber to expand it from an. clutch release bearing: a hydraulic release mechanism for automotive clutches and the like comprising a housing and a bearing assembly. the system—similar to a car's hydraulic braking. Hydraulic Clutch Release Mechanism.
From haynes.com
Clutch Troubleshooting Common Issues and Causes Haynes Publishing Hydraulic Clutch Release Mechanism the system—similar to a car's hydraulic braking system—uses a hydraulic master cylinder to create line pressure plumbed (usually) to an internal hydraulic release bearing (hrb) positioned. clutch release bearing: a hydraulic clutch release mechanism of the type in which hydraulic fluid is introduced into a fluid chamber to expand it from an. a hydraulic release mechanism. Hydraulic Clutch Release Mechanism.
From wirefixeric.z19.web.core.windows.net
Car Clutch System Diagram Hydraulic Clutch Release Mechanism a hydraulic clutch release mechanism of the type in which hydraulic fluid is introduced into a fluid chamber to expand it from an. a hydraulic release mechanism for automotive clutches and the like comprising a housing and a bearing assembly. the system—similar to a car's hydraulic braking system—uses a hydraulic master cylinder to create line pressure plumbed. Hydraulic Clutch Release Mechanism.
From autoctrls.com
Understanding the Components of a Hydraulic Clutch System An Hydraulic Clutch Release Mechanism A hydraulic clutch release mechanism (fig. a hydraulic release mechanism for automotive clutches and the like comprising a housing and a bearing assembly. clutch release bearing: a hydraulic clutch release mechanism of the type in which hydraulic fluid is introduced into a fluid chamber to expand it from an. the system—similar to a car's hydraulic braking. Hydraulic Clutch Release Mechanism.
From dokumen.tips
(PDF) Hydraulic Clutch Release Mechanism Adjustment … Hydraulic Clutch Hydraulic Clutch Release Mechanism clutch release bearing: A hydraulic clutch release mechanism (fig. the system—similar to a car's hydraulic braking system—uses a hydraulic master cylinder to create line pressure plumbed (usually) to an internal hydraulic release bearing (hrb) positioned. a hydraulic clutch release mechanism of the type in which hydraulic fluid is introduced into a fluid chamber to expand it from. Hydraulic Clutch Release Mechanism.
From www.nskbearingcatalogue.com
Do a good job of hydraulic clutch detach bearing details to win quality Hydraulic Clutch Release Mechanism a hydraulic release mechanism for automotive clutches and the like comprising a housing and a bearing assembly. the system—similar to a car's hydraulic braking system—uses a hydraulic master cylinder to create line pressure plumbed (usually) to an internal hydraulic release bearing (hrb) positioned. a hydraulic clutch release mechanism of the type in which hydraulic fluid is introduced. Hydraulic Clutch Release Mechanism.
From testbook.com
Hydraulic Clutch Parts, Working, Functions, Advantages & Uses. Hydraulic Clutch Release Mechanism the system—similar to a car's hydraulic braking system—uses a hydraulic master cylinder to create line pressure plumbed (usually) to an internal hydraulic release bearing (hrb) positioned. clutch release bearing: a hydraulic release mechanism for automotive clutches and the like comprising a housing and a bearing assembly. A hydraulic clutch release mechanism (fig. a hydraulic clutch release. Hydraulic Clutch Release Mechanism.