Ge Adora Over The Range Microwave Installation . This manual comes under the category microwaves. user manual, ownership, & support information for dvm7195skss | adora series by ge® 1.9 cu. ge adora series installation instructions manual (48 pages) over the range microwave oven brand: for easier installation and personal safety, it is recommended that two people install this product. ge appliances' owner manuals offer use and care guidelines, installation instructions and feature guides. view and download ge pvm9179 installation instructions manual online. we recently purchased some new appliances one of which is a ge adora 1.9 cu. Over the range microwave in. Pvm9179 microwave oven pdf manual download. view the manual for the ge adora dvm7195skss here, for free. install or replace over the range microwave by yourself | quick & easy guide |.
from dxoxqqidh.blob.core.windows.net
we recently purchased some new appliances one of which is a ge adora 1.9 cu. Over the range microwave in. ge appliances' owner manuals offer use and care guidelines, installation instructions and feature guides. view the manual for the ge adora dvm7195skss here, for free. user manual, ownership, & support information for dvm7195skss | adora series by ge® 1.9 cu. This manual comes under the category microwaves. for easier installation and personal safety, it is recommended that two people install this product. ge adora series installation instructions manual (48 pages) over the range microwave oven brand: Pvm9179 microwave oven pdf manual download. install or replace over the range microwave by yourself | quick & easy guide |.
How To Fix Ge Microwave at Edgardo Wallace blog
Ge Adora Over The Range Microwave Installation Over the range microwave in. view the manual for the ge adora dvm7195skss here, for free. for easier installation and personal safety, it is recommended that two people install this product. user manual, ownership, & support information for dvm7195skss | adora series by ge® 1.9 cu. This manual comes under the category microwaves. ge appliances' owner manuals offer use and care guidelines, installation instructions and feature guides. Over the range microwave in. view and download ge pvm9179 installation instructions manual online. install or replace over the range microwave by yourself | quick & easy guide |. Pvm9179 microwave oven pdf manual download. we recently purchased some new appliances one of which is a ge adora 1.9 cu. ge adora series installation instructions manual (48 pages) over the range microwave oven brand:
From classifieds.ksl.com
GE Adora Microwave Appliances Ge Adora Over The Range Microwave Installation view and download ge pvm9179 installation instructions manual online. ge appliances' owner manuals offer use and care guidelines, installation instructions and feature guides. Pvm9179 microwave oven pdf manual download. Over the range microwave in. This manual comes under the category microwaves. install or replace over the range microwave by yourself | quick & easy guide |. . Ge Adora Over The Range Microwave Installation.
From www.homedepot.com
GE Adora 1.9 cu. ft. OvertheRange Sensor Microwave Oven in Slate Ge Adora Over The Range Microwave Installation we recently purchased some new appliances one of which is a ge adora 1.9 cu. user manual, ownership, & support information for dvm7195skss | adora series by ge® 1.9 cu. for easier installation and personal safety, it is recommended that two people install this product. view the manual for the ge adora dvm7195skss here, for free.. Ge Adora Over The Range Microwave Installation.
From www.youtube.com
How to install a GE Adora Over the Range Microwave Oven. YouTube Ge Adora Over The Range Microwave Installation Pvm9179 microwave oven pdf manual download. view and download ge pvm9179 installation instructions manual online. This manual comes under the category microwaves. for easier installation and personal safety, it is recommended that two people install this product. user manual, ownership, & support information for dvm7195skss | adora series by ge® 1.9 cu. Over the range microwave in.. Ge Adora Over The Range Microwave Installation.
From www.spencerstv.com
GE Profile™ 2.2 Cu. Ft. Stainless Steel Over The Range Microwave Ge Adora Over The Range Microwave Installation install or replace over the range microwave by yourself | quick & easy guide |. ge appliances' owner manuals offer use and care guidelines, installation instructions and feature guides. This manual comes under the category microwaves. Over the range microwave in. we recently purchased some new appliances one of which is a ge adora 1.9 cu. Pvm9179. Ge Adora Over The Range Microwave Installation.
From www.homedepot.com
GE Adora 1.9 cu. ft. Over the Range Microwave in Stainless Steel with Ge Adora Over The Range Microwave Installation we recently purchased some new appliances one of which is a ge adora 1.9 cu. Over the range microwave in. Pvm9179 microwave oven pdf manual download. view the manual for the ge adora dvm7195skss here, for free. ge appliances' owner manuals offer use and care guidelines, installation instructions and feature guides. This manual comes under the category. Ge Adora Over The Range Microwave Installation.
From www.youtube.com
The GE JVM7195SFSS 1.9 Cu. Ft. Stainless Steel Over The Range Microwave Ge Adora Over The Range Microwave Installation Over the range microwave in. This manual comes under the category microwaves. Pvm9179 microwave oven pdf manual download. ge appliances' owner manuals offer use and care guidelines, installation instructions and feature guides. view the manual for the ge adora dvm7195skss here, for free. we recently purchased some new appliances one of which is a ge adora 1.9. Ge Adora Over The Range Microwave Installation.
From circuitmanualmendez.z19.web.core.windows.net
Ge Adora Oven Manual Ge Adora Over The Range Microwave Installation view and download ge pvm9179 installation instructions manual online. user manual, ownership, & support information for dvm7195skss | adora series by ge® 1.9 cu. for easier installation and personal safety, it is recommended that two people install this product. install or replace over the range microwave by yourself | quick & easy guide |. Over the. Ge Adora Over The Range Microwave Installation.
From www.bestbuy.com
GE 1.6 Cu. Ft. OvertheRange Microwave Stainless steel JNM3163RJSS Ge Adora Over The Range Microwave Installation ge adora series installation instructions manual (48 pages) over the range microwave oven brand: This manual comes under the category microwaves. we recently purchased some new appliances one of which is a ge adora 1.9 cu. view and download ge pvm9179 installation instructions manual online. for easier installation and personal safety, it is recommended that two. Ge Adora Over The Range Microwave Installation.
From www.lowes.com
GE Overtherange Microwave Filler Kit (Stainless steel) at Ge Adora Over The Range Microwave Installation view and download ge pvm9179 installation instructions manual online. install or replace over the range microwave by yourself | quick & easy guide |. This manual comes under the category microwaves. ge adora series installation instructions manual (48 pages) over the range microwave oven brand: Pvm9179 microwave oven pdf manual download. view the manual for the. Ge Adora Over The Range Microwave Installation.
From www.homedepot.com
GE Adora 1.9 cu. ft. Over the Range Microwave in Slate, Fingerprint Ge Adora Over The Range Microwave Installation ge appliances' owner manuals offer use and care guidelines, installation instructions and feature guides. view the manual for the ge adora dvm7195skss here, for free. view and download ge pvm9179 installation instructions manual online. install or replace over the range microwave by yourself | quick & easy guide |. we recently purchased some new appliances. Ge Adora Over The Range Microwave Installation.
From www.homedepot.com
GE Adora 1.9 cu. ft. Over the Range Microwave in Stainless Steel with Ge Adora Over The Range Microwave Installation ge adora series installation instructions manual (48 pages) over the range microwave oven brand: ge appliances' owner manuals offer use and care guidelines, installation instructions and feature guides. we recently purchased some new appliances one of which is a ge adora 1.9 cu. view and download ge pvm9179 installation instructions manual online. for easier installation. Ge Adora Over The Range Microwave Installation.
From dxoxqqidh.blob.core.windows.net
How To Fix Ge Microwave at Edgardo Wallace blog Ge Adora Over The Range Microwave Installation for easier installation and personal safety, it is recommended that two people install this product. view and download ge pvm9179 installation instructions manual online. This manual comes under the category microwaves. Pvm9179 microwave oven pdf manual download. we recently purchased some new appliances one of which is a ge adora 1.9 cu. ge adora series installation. Ge Adora Over The Range Microwave Installation.
From www.5miles.com
GE ADORA MICROWAVE VENT OVER RANGE MICROWAVE for sale in Houston, TX Ge Adora Over The Range Microwave Installation view and download ge pvm9179 installation instructions manual online. Over the range microwave in. we recently purchased some new appliances one of which is a ge adora 1.9 cu. Pvm9179 microwave oven pdf manual download. view the manual for the ge adora dvm7195skss here, for free. install or replace over the range microwave by yourself |. Ge Adora Over The Range Microwave Installation.
From dxopsurkm.blob.core.windows.net
How To Set The Clock On Ge Adora Range at Crystal Bowen blog Ge Adora Over The Range Microwave Installation ge appliances' owner manuals offer use and care guidelines, installation instructions and feature guides. we recently purchased some new appliances one of which is a ge adora 1.9 cu. view the manual for the ge adora dvm7195skss here, for free. for easier installation and personal safety, it is recommended that two people install this product. . Ge Adora Over The Range Microwave Installation.
From www.bestbuy.com
GE 1.7 Cu. Ft. OvertheRange Microwave Slate JVM6175EKES Best Buy Ge Adora Over The Range Microwave Installation user manual, ownership, & support information for dvm7195skss | adora series by ge® 1.9 cu. ge appliances' owner manuals offer use and care guidelines, installation instructions and feature guides. Over the range microwave in. for easier installation and personal safety, it is recommended that two people install this product. ge adora series installation instructions manual (48. Ge Adora Over The Range Microwave Installation.
From www.homedepot.com
GE 1.6 cu. ft. Over the Range Microwave in WhiteRVM5160DHWW The Home Ge Adora Over The Range Microwave Installation view and download ge pvm9179 installation instructions manual online. user manual, ownership, & support information for dvm7195skss | adora series by ge® 1.9 cu. ge appliances' owner manuals offer use and care guidelines, installation instructions and feature guides. for easier installation and personal safety, it is recommended that two people install this product. Over the range. Ge Adora Over The Range Microwave Installation.
From www.homedepot.com
GE Adora 1.9 cu. ft. Over the Range Microwave with Sensor Cooking in Ge Adora Over The Range Microwave Installation ge adora series installation instructions manual (48 pages) over the range microwave oven brand: Pvm9179 microwave oven pdf manual download. Over the range microwave in. view the manual for the ge adora dvm7195skss here, for free. install or replace over the range microwave by yourself | quick & easy guide |. This manual comes under the category. Ge Adora Over The Range Microwave Installation.
From offerup.com
GE Adora Microwave for Sale in San Diego, CA OfferUp Ge Adora Over The Range Microwave Installation user manual, ownership, & support information for dvm7195skss | adora series by ge® 1.9 cu. install or replace over the range microwave by yourself | quick & easy guide |. Over the range microwave in. ge adora series installation instructions manual (48 pages) over the range microwave oven brand: view the manual for the ge adora. Ge Adora Over The Range Microwave Installation.
From www.weaverappliance.com
GE JVM3160RFSS GE® 1.6 Cu. Ft. OvertheRange Microwave Oven Ge Adora Over The Range Microwave Installation install or replace over the range microwave by yourself | quick & easy guide |. view and download ge pvm9179 installation instructions manual online. we recently purchased some new appliances one of which is a ge adora 1.9 cu. Over the range microwave in. view the manual for the ge adora dvm7195skss here, for free. . Ge Adora Over The Range Microwave Installation.
From www.homedepot.com
GE Adora 1.9 cu. ft. Over the Range Microwave in Slate with Sensor Ge Adora Over The Range Microwave Installation ge appliances' owner manuals offer use and care guidelines, installation instructions and feature guides. Pvm9179 microwave oven pdf manual download. we recently purchased some new appliances one of which is a ge adora 1.9 cu. This manual comes under the category microwaves. for easier installation and personal safety, it is recommended that two people install this product.. Ge Adora Over The Range Microwave Installation.
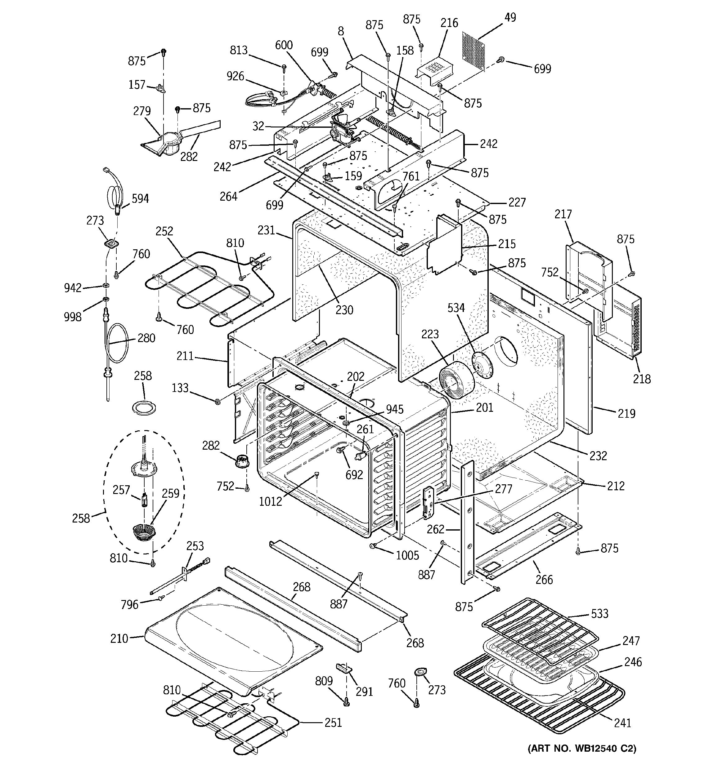
From www.geapplianceparts.com
Assembly View for BODY WITH MICROWAVE SUPPORT JT965BF1BB Ge Adora Over The Range Microwave Installation Over the range microwave in. user manual, ownership, & support information for dvm7195skss | adora series by ge® 1.9 cu. view the manual for the ge adora dvm7195skss here, for free. install or replace over the range microwave by yourself | quick & easy guide |. we recently purchased some new appliances one of which is. Ge Adora Over The Range Microwave Installation.
From www.weaverappliance.com
GE JVM3160RFSS GE® 1.6 Cu. Ft. OvertheRange Microwave Oven Ge Adora Over The Range Microwave Installation view and download ge pvm9179 installation instructions manual online. user manual, ownership, & support information for dvm7195skss | adora series by ge® 1.9 cu. ge adora series installation instructions manual (48 pages) over the range microwave oven brand: view the manual for the ge adora dvm7195skss here, for free. ge appliances' owner manuals offer use. Ge Adora Over The Range Microwave Installation.
From otrmicrowaveinstallationmxx.wordpress.com
OTR MICROWAVE INSTALLATION MICROWAVE INSTALLATION OTR MICROWAVE Ge Adora Over The Range Microwave Installation install or replace over the range microwave by yourself | quick & easy guide |. ge appliances' owner manuals offer use and care guidelines, installation instructions and feature guides. ge adora series installation instructions manual (48 pages) over the range microwave oven brand: Pvm9179 microwave oven pdf manual download. user manual, ownership, & support information for. Ge Adora Over The Range Microwave Installation.
From www.auctionology.com
GE ADORA SERIES OVER THE STOVE MICROWAVE BRAND NEW Auctionology LLC Ge Adora Over The Range Microwave Installation for easier installation and personal safety, it is recommended that two people install this product. view the manual for the ge adora dvm7195skss here, for free. This manual comes under the category microwaves. Pvm9179 microwave oven pdf manual download. ge appliances' owner manuals offer use and care guidelines, installation instructions and feature guides. user manual, ownership,. Ge Adora Over The Range Microwave Installation.
From www.homedepot.ca
GE Adora 1.8 Cu. Ft. OverTheRange Microwave Oven in Stainless Steel Ge Adora Over The Range Microwave Installation Pvm9179 microwave oven pdf manual download. install or replace over the range microwave by yourself | quick & easy guide |. view the manual for the ge adora dvm7195skss here, for free. ge appliances' owner manuals offer use and care guidelines, installation instructions and feature guides. ge adora series installation instructions manual (48 pages) over the. Ge Adora Over The Range Microwave Installation.
From www.krasnefurniture.com
GE Adora™ 1.8 Cu. Ft. OvertheRange Microwave Oven — Abe Krasne Home Ge Adora Over The Range Microwave Installation for easier installation and personal safety, it is recommended that two people install this product. ge adora series installation instructions manual (48 pages) over the range microwave oven brand: This manual comes under the category microwaves. user manual, ownership, & support information for dvm7195skss | adora series by ge® 1.9 cu. Pvm9179 microwave oven pdf manual download.. Ge Adora Over The Range Microwave Installation.
From templates.rjuuc.edu.np
Ge Microwave Installation Template Ge Adora Over The Range Microwave Installation view and download ge pvm9179 installation instructions manual online. Pvm9179 microwave oven pdf manual download. view the manual for the ge adora dvm7195skss here, for free. install or replace over the range microwave by yourself | quick & easy guide |. Over the range microwave in. user manual, ownership, & support information for dvm7195skss | adora. Ge Adora Over The Range Microwave Installation.
From www.pinterest.com
Adora series by GE Spacemaker® 1.9 OvertheRange Microwave Oven Ge Adora Over The Range Microwave Installation view and download ge pvm9179 installation instructions manual online. for easier installation and personal safety, it is recommended that two people install this product. ge appliances' owner manuals offer use and care guidelines, installation instructions and feature guides. ge adora series installation instructions manual (48 pages) over the range microwave oven brand: Over the range microwave. Ge Adora Over The Range Microwave Installation.
From www.pinterest.com
GE Adora 1.9 cu. ft. Over the Range Microwave in Slate with Sensor Ge Adora Over The Range Microwave Installation for easier installation and personal safety, it is recommended that two people install this product. ge appliances' owner manuals offer use and care guidelines, installation instructions and feature guides. ge adora series installation instructions manual (48 pages) over the range microwave oven brand: Pvm9179 microwave oven pdf manual download. install or replace over the range microwave. Ge Adora Over The Range Microwave Installation.
From www.auctionology.com
GE ADORA SERIES OVER THE STOVE MICROWAVE BRAND NEW Auctionology LLC Ge Adora Over The Range Microwave Installation view the manual for the ge adora dvm7195skss here, for free. view and download ge pvm9179 installation instructions manual online. ge adora series installation instructions manual (48 pages) over the range microwave oven brand: we recently purchased some new appliances one of which is a ge adora 1.9 cu. user manual, ownership, & support information. Ge Adora Over The Range Microwave Installation.
From www.ovenmanuals.com
GE DVM7195SKSS Adora Series Microwave Oven Owner's Manual Ge Adora Over The Range Microwave Installation we recently purchased some new appliances one of which is a ge adora 1.9 cu. Over the range microwave in. ge appliances' owner manuals offer use and care guidelines, installation instructions and feature guides. Pvm9179 microwave oven pdf manual download. view and download ge pvm9179 installation instructions manual online. This manual comes under the category microwaves. . Ge Adora Over The Range Microwave Installation.
From www.auctionology.com
GE ADORA SERIES OVER THE STOVE MICROWAVE BRAND NEW Auctionology LLC Ge Adora Over The Range Microwave Installation ge appliances' owner manuals offer use and care guidelines, installation instructions and feature guides. we recently purchased some new appliances one of which is a ge adora 1.9 cu. view the manual for the ge adora dvm7195skss here, for free. Over the range microwave in. view and download ge pvm9179 installation instructions manual online. Pvm9179 microwave. Ge Adora Over The Range Microwave Installation.
From www.homedepot.com
GE Adora 1.9 cu. ft. Over the Range Microwave in Slate, Fingerprint Ge Adora Over The Range Microwave Installation for easier installation and personal safety, it is recommended that two people install this product. Over the range microwave in. install or replace over the range microwave by yourself | quick & easy guide |. user manual, ownership, & support information for dvm7195skss | adora series by ge® 1.9 cu. ge adora series installation instructions manual. Ge Adora Over The Range Microwave Installation.
From www.justanswer.com
We have an above the range microwave oven, GE ADORA model DVM1850DM1WW Ge Adora Over The Range Microwave Installation user manual, ownership, & support information for dvm7195skss | adora series by ge® 1.9 cu. Over the range microwave in. Pvm9179 microwave oven pdf manual download. for easier installation and personal safety, it is recommended that two people install this product. we recently purchased some new appliances one of which is a ge adora 1.9 cu. . Ge Adora Over The Range Microwave Installation.
From hometechfocus.com
Best Install Ge Over The Range Microwave Home Tech Ge Adora Over The Range Microwave Installation view and download ge pvm9179 installation instructions manual online. for easier installation and personal safety, it is recommended that two people install this product. user manual, ownership, & support information for dvm7195skss | adora series by ge® 1.9 cu. ge adora series installation instructions manual (48 pages) over the range microwave oven brand: This manual comes. Ge Adora Over The Range Microwave Installation.