Lube Oil Refining Process . After undergoing a purifying process colled sedimentation, the crude oil is heated in huge. The industrial processes applied to recover the used lubricating oil are called: This step in the process is done to reduce the tendency. The effect of different refining techniques on the oil quality (flash point, pour point, viscosity, metal content, tan, etc.),. After the distillation process, the compounds need to be refined for their intended purpose. Not all refineries are aimed at producing fuels. Lubricating oil is refined from crude oil. (1) lube oil refineries and (2) petrochemical.
from khatabook.com
This step in the process is done to reduce the tendency. Lubricating oil is refined from crude oil. (1) lube oil refineries and (2) petrochemical. After the distillation process, the compounds need to be refined for their intended purpose. Not all refineries are aimed at producing fuels. After undergoing a purifying process colled sedimentation, the crude oil is heated in huge. The effect of different refining techniques on the oil quality (flash point, pour point, viscosity, metal content, tan, etc.),. The industrial processes applied to recover the used lubricating oil are called:
Lubricating Oils Manufacturing Process Extraction Process
Lube Oil Refining Process The effect of different refining techniques on the oil quality (flash point, pour point, viscosity, metal content, tan, etc.),. After undergoing a purifying process colled sedimentation, the crude oil is heated in huge. The effect of different refining techniques on the oil quality (flash point, pour point, viscosity, metal content, tan, etc.),. (1) lube oil refineries and (2) petrochemical. After the distillation process, the compounds need to be refined for their intended purpose. Lubricating oil is refined from crude oil. The industrial processes applied to recover the used lubricating oil are called: This step in the process is done to reduce the tendency. Not all refineries are aimed at producing fuels.
From manualdefecation.z21.web.core.windows.net
Refinery Process Flow Diagram Ppt Lube Oil Refining Process The industrial processes applied to recover the used lubricating oil are called: After the distillation process, the compounds need to be refined for their intended purpose. The effect of different refining techniques on the oil quality (flash point, pour point, viscosity, metal content, tan, etc.),. This step in the process is done to reduce the tendency. Not all refineries are. Lube Oil Refining Process.
From erdolrahmen.com
Lube Oil Blending Plant Used Oil Recycling Plant Lube Oil Blending Lube Oil Refining Process The effect of different refining techniques on the oil quality (flash point, pour point, viscosity, metal content, tan, etc.),. This step in the process is done to reduce the tendency. The industrial processes applied to recover the used lubricating oil are called: After the distillation process, the compounds need to be refined for their intended purpose. Lubricating oil is refined. Lube Oil Refining Process.
From www.americangeosciences.org
Oil Refining and Gas Processing American Geosciences Institute Lube Oil Refining Process Lubricating oil is refined from crude oil. (1) lube oil refineries and (2) petrochemical. The industrial processes applied to recover the used lubricating oil are called: Not all refineries are aimed at producing fuels. This step in the process is done to reduce the tendency. After undergoing a purifying process colled sedimentation, the crude oil is heated in huge. After. Lube Oil Refining Process.
From mortonpsychotherapy.com
Types, Uses, Features and Benefits (2022) Lube Oil Refining Process (1) lube oil refineries and (2) petrochemical. After the distillation process, the compounds need to be refined for their intended purpose. This step in the process is done to reduce the tendency. The industrial processes applied to recover the used lubricating oil are called: After undergoing a purifying process colled sedimentation, the crude oil is heated in huge. Lubricating oil. Lube Oil Refining Process.
From www.oil-store.co.uk
SafetyKleen announces new range of sustainable base oils Oil Store Lube Oil Refining Process (1) lube oil refineries and (2) petrochemical. After the distillation process, the compounds need to be refined for their intended purpose. This step in the process is done to reduce the tendency. Not all refineries are aimed at producing fuels. After undergoing a purifying process colled sedimentation, the crude oil is heated in huge. The effect of different refining techniques. Lube Oil Refining Process.
From www.google.com
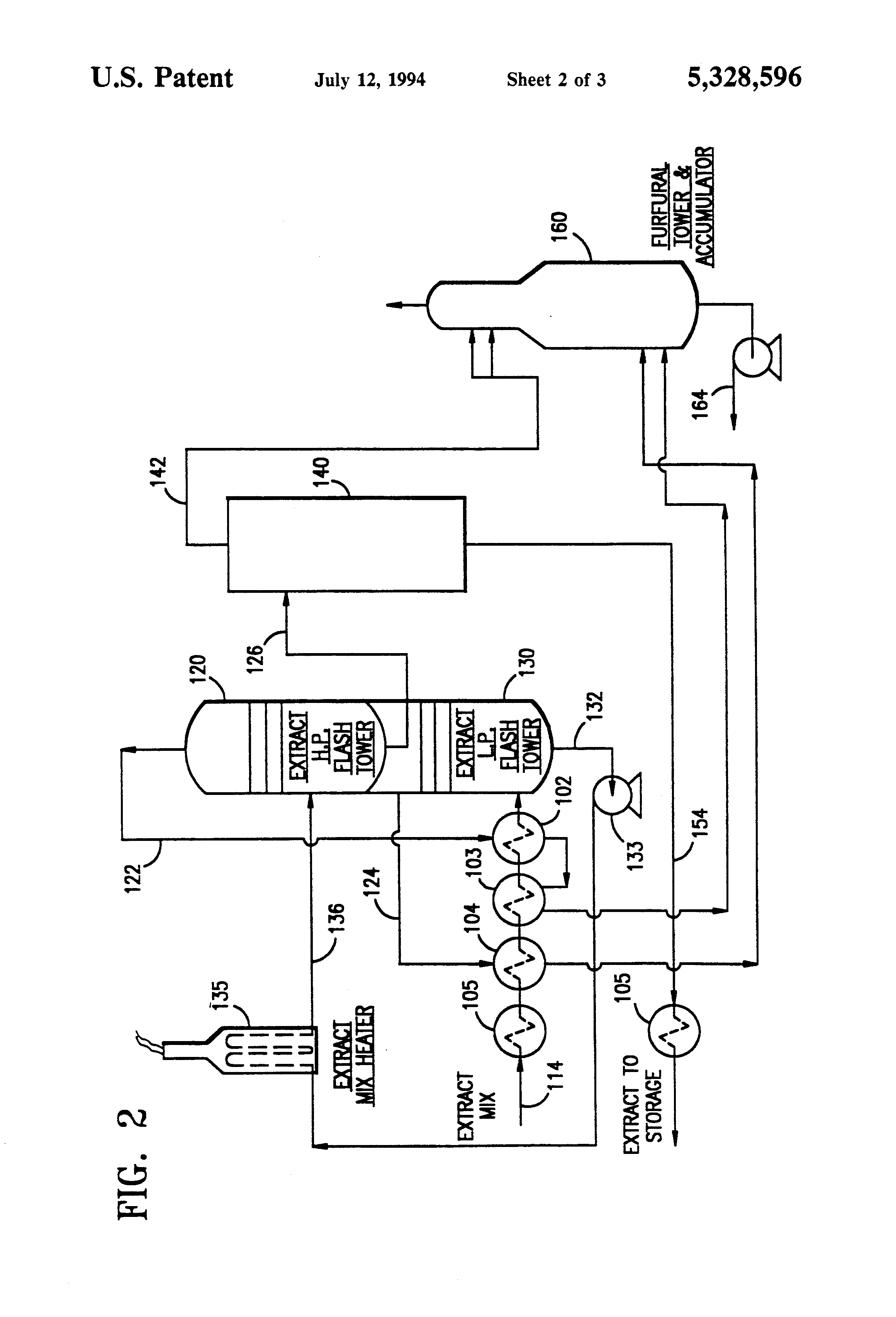
Patent US5328596 Lubricating oil refining process Google Patents Lube Oil Refining Process Lubricating oil is refined from crude oil. The industrial processes applied to recover the used lubricating oil are called: (1) lube oil refineries and (2) petrochemical. The effect of different refining techniques on the oil quality (flash point, pour point, viscosity, metal content, tan, etc.),. Not all refineries are aimed at producing fuels. After the distillation process, the compounds need. Lube Oil Refining Process.
From webmis.highland.cc.il.us
Industrially Important Chemicals Lube Oil Refining Process Lubricating oil is refined from crude oil. After the distillation process, the compounds need to be refined for their intended purpose. The effect of different refining techniques on the oil quality (flash point, pour point, viscosity, metal content, tan, etc.),. The industrial processes applied to recover the used lubricating oil are called: After undergoing a purifying process colled sedimentation, the. Lube Oil Refining Process.
From www.oil-store.co.uk
TotalEnergies to use green hydrogen in refining process Oil Store Lube Oil Refining Process Lubricating oil is refined from crude oil. The effect of different refining techniques on the oil quality (flash point, pour point, viscosity, metal content, tan, etc.),. Not all refineries are aimed at producing fuels. After the distillation process, the compounds need to be refined for their intended purpose. (1) lube oil refineries and (2) petrochemical. This step in the process. Lube Oil Refining Process.
From suzhoucmt.en.made-in-china.com
Waste Oil Refinery Distillation Plant/Production Line China Oil Lube Oil Refining Process After the distillation process, the compounds need to be refined for their intended purpose. The effect of different refining techniques on the oil quality (flash point, pour point, viscosity, metal content, tan, etc.),. After undergoing a purifying process colled sedimentation, the crude oil is heated in huge. (1) lube oil refineries and (2) petrochemical. Lubricating oil is refined from crude. Lube Oil Refining Process.
From www.alibaba.com
Waste Lube Oil Refining Acid Bleaching Earth Clay Activated Bentonite Lube Oil Refining Process The industrial processes applied to recover the used lubricating oil are called: Not all refineries are aimed at producing fuels. This step in the process is done to reduce the tendency. After undergoing a purifying process colled sedimentation, the crude oil is heated in huge. Lubricating oil is refined from crude oil. After the distillation process, the compounds need to. Lube Oil Refining Process.
From www.youtube.com
Lube Oil Plant 120MT/Day Plant 3D Presentation YouTube Lube Oil Refining Process After undergoing a purifying process colled sedimentation, the crude oil is heated in huge. The effect of different refining techniques on the oil quality (flash point, pour point, viscosity, metal content, tan, etc.),. Not all refineries are aimed at producing fuels. The industrial processes applied to recover the used lubricating oil are called: (1) lube oil refineries and (2) petrochemical.. Lube Oil Refining Process.
From arslanenginery.com
Lube Oil Blending Filling Plant for lubricant oils, engine oil Lube Oil Refining Process After the distillation process, the compounds need to be refined for their intended purpose. (1) lube oil refineries and (2) petrochemical. The effect of different refining techniques on the oil quality (flash point, pour point, viscosity, metal content, tan, etc.),. This step in the process is done to reduce the tendency. Not all refineries are aimed at producing fuels. After. Lube Oil Refining Process.
From www.doingoilmachine.com
What is the purpose of sunflower oil refinery plant?__Vegetable oil Lube Oil Refining Process After undergoing a purifying process colled sedimentation, the crude oil is heated in huge. The effect of different refining techniques on the oil quality (flash point, pour point, viscosity, metal content, tan, etc.),. After the distillation process, the compounds need to be refined for their intended purpose. Lubricating oil is refined from crude oil. The industrial processes applied to recover. Lube Oil Refining Process.
From www.alfalaval.us
Lube oil processing Alfa Laval Lube Oil Refining Process After undergoing a purifying process colled sedimentation, the crude oil is heated in huge. Lubricating oil is refined from crude oil. The effect of different refining techniques on the oil quality (flash point, pour point, viscosity, metal content, tan, etc.),. Not all refineries are aimed at producing fuels. The industrial processes applied to recover the used lubricating oil are called:. Lube Oil Refining Process.
From khatabook.com
Lubricating Oils Manufacturing Process Extraction Process Lube Oil Refining Process After the distillation process, the compounds need to be refined for their intended purpose. The industrial processes applied to recover the used lubricating oil are called: Not all refineries are aimed at producing fuels. The effect of different refining techniques on the oil quality (flash point, pour point, viscosity, metal content, tan, etc.),. Lubricating oil is refined from crude oil.. Lube Oil Refining Process.
From ivypanda.com
Lubricants Oil Production in Refineries 2245 Words Research Paper Lube Oil Refining Process (1) lube oil refineries and (2) petrochemical. The effect of different refining techniques on the oil quality (flash point, pour point, viscosity, metal content, tan, etc.),. This step in the process is done to reduce the tendency. After the distillation process, the compounds need to be refined for their intended purpose. Lubricating oil is refined from crude oil. After undergoing. Lube Oil Refining Process.
From www.purepathtech.com
Top Industries That Benefit from Waste Oil Recycling PurePath Lube Oil Refining Process The industrial processes applied to recover the used lubricating oil are called: After undergoing a purifying process colled sedimentation, the crude oil is heated in huge. (1) lube oil refineries and (2) petrochemical. The effect of different refining techniques on the oil quality (flash point, pour point, viscosity, metal content, tan, etc.),. After the distillation process, the compounds need to. Lube Oil Refining Process.
From www.oneillsautobody.com
An Examination of the Various Categories of Motor Oil Determining the Lube Oil Refining Process Not all refineries are aimed at producing fuels. (1) lube oil refineries and (2) petrochemical. The effect of different refining techniques on the oil quality (flash point, pour point, viscosity, metal content, tan, etc.),. After the distillation process, the compounds need to be refined for their intended purpose. After undergoing a purifying process colled sedimentation, the crude oil is heated. Lube Oil Refining Process.
From thepetrosolutions.com
Petroleum Refinery Process Lube Oil Refining Process Not all refineries are aimed at producing fuels. (1) lube oil refineries and (2) petrochemical. This step in the process is done to reduce the tendency. Lubricating oil is refined from crude oil. The effect of different refining techniques on the oil quality (flash point, pour point, viscosity, metal content, tan, etc.),. After undergoing a purifying process colled sedimentation, the. Lube Oil Refining Process.
From giopqdcnl.blob.core.windows.net
Lubricating Oil Of Hs Code at Susan Charles blog Lube Oil Refining Process After undergoing a purifying process colled sedimentation, the crude oil is heated in huge. Lubricating oil is refined from crude oil. The effect of different refining techniques on the oil quality (flash point, pour point, viscosity, metal content, tan, etc.),. Not all refineries are aimed at producing fuels. This step in the process is done to reduce the tendency. (1). Lube Oil Refining Process.
From www.youtube.com
Used Lube Oil Re Refining Process Technology YouTube Lube Oil Refining Process This step in the process is done to reduce the tendency. (1) lube oil refineries and (2) petrochemical. The industrial processes applied to recover the used lubricating oil are called: The effect of different refining techniques on the oil quality (flash point, pour point, viscosity, metal content, tan, etc.),. After undergoing a purifying process colled sedimentation, the crude oil is. Lube Oil Refining Process.
From www.google.com
Patent US5328596 Lubricating oil refining process Google Patents Lube Oil Refining Process (1) lube oil refineries and (2) petrochemical. This step in the process is done to reduce the tendency. Not all refineries are aimed at producing fuels. The industrial processes applied to recover the used lubricating oil are called: After the distillation process, the compounds need to be refined for their intended purpose. After undergoing a purifying process colled sedimentation, the. Lube Oil Refining Process.
From www.edl.poerner.de
EDL Anlagenbau Lube Oil Blending Lube Oil Refining Process (1) lube oil refineries and (2) petrochemical. The effect of different refining techniques on the oil quality (flash point, pour point, viscosity, metal content, tan, etc.),. This step in the process is done to reduce the tendency. After undergoing a purifying process colled sedimentation, the crude oil is heated in huge. The industrial processes applied to recover the used lubricating. Lube Oil Refining Process.
From rheonics.com
Lubricants manufacturing process control & QC testing with inline Lube Oil Refining Process After undergoing a purifying process colled sedimentation, the crude oil is heated in huge. Lubricating oil is refined from crude oil. Not all refineries are aimed at producing fuels. The industrial processes applied to recover the used lubricating oil are called: After the distillation process, the compounds need to be refined for their intended purpose. (1) lube oil refineries and. Lube Oil Refining Process.
From thepetrosolutions.com
Vacuum Distillation Unit in Oil Refinery The Petro Solutions Lube Oil Refining Process The effect of different refining techniques on the oil quality (flash point, pour point, viscosity, metal content, tan, etc.),. Not all refineries are aimed at producing fuels. After the distillation process, the compounds need to be refined for their intended purpose. This step in the process is done to reduce the tendency. (1) lube oil refineries and (2) petrochemical. Lubricating. Lube Oil Refining Process.
From fyomfgtgh.blob.core.windows.net
Lubrication System Quiz at Carl Hartley blog Lube Oil Refining Process After undergoing a purifying process colled sedimentation, the crude oil is heated in huge. This step in the process is done to reduce the tendency. (1) lube oil refineries and (2) petrochemical. Not all refineries are aimed at producing fuels. Lubricating oil is refined from crude oil. The industrial processes applied to recover the used lubricating oil are called: The. Lube Oil Refining Process.
From in.pinterest.com
Bio ethanol plant 2. A bioethanol plant in Rotterdam, Netherlands , Lube Oil Refining Process After the distillation process, the compounds need to be refined for their intended purpose. Lubricating oil is refined from crude oil. Not all refineries are aimed at producing fuels. The industrial processes applied to recover the used lubricating oil are called: The effect of different refining techniques on the oil quality (flash point, pour point, viscosity, metal content, tan, etc.),.. Lube Oil Refining Process.
From www.alfalaval.com
Alfa Laval Lube oil processing Lube Oil Refining Process Not all refineries are aimed at producing fuels. (1) lube oil refineries and (2) petrochemical. The industrial processes applied to recover the used lubricating oil are called: After undergoing a purifying process colled sedimentation, the crude oil is heated in huge. Lubricating oil is refined from crude oil. The effect of different refining techniques on the oil quality (flash point,. Lube Oil Refining Process.
From delawarebusinesstimes.com
Delaware City Refining Company Lube Oil Refining Process After the distillation process, the compounds need to be refined for their intended purpose. Not all refineries are aimed at producing fuels. After undergoing a purifying process colled sedimentation, the crude oil is heated in huge. This step in the process is done to reduce the tendency. (1) lube oil refineries and (2) petrochemical. Lubricating oil is refined from crude. Lube Oil Refining Process.
From www.youtube.com
lube oil system line diagram of lube oil system in ships YouTube Lube Oil Refining Process Lubricating oil is refined from crude oil. After undergoing a purifying process colled sedimentation, the crude oil is heated in huge. After the distillation process, the compounds need to be refined for their intended purpose. (1) lube oil refineries and (2) petrochemical. The effect of different refining techniques on the oil quality (flash point, pour point, viscosity, metal content, tan,. Lube Oil Refining Process.
From www.pinterest.com
Refining Used Lubricating Oils (eBook Rental) Chemical industry Lube Oil Refining Process Lubricating oil is refined from crude oil. The effect of different refining techniques on the oil quality (flash point, pour point, viscosity, metal content, tan, etc.),. After the distillation process, the compounds need to be refined for their intended purpose. This step in the process is done to reduce the tendency. After undergoing a purifying process colled sedimentation, the crude. Lube Oil Refining Process.
From www.slideshare.net
Presentation on re refining of lubricating oil by avadhut ,pravin & m… Lube Oil Refining Process After the distillation process, the compounds need to be refined for their intended purpose. Lubricating oil is refined from crude oil. The industrial processes applied to recover the used lubricating oil are called: The effect of different refining techniques on the oil quality (flash point, pour point, viscosity, metal content, tan, etc.),. This step in the process is done to. Lube Oil Refining Process.
From dxomwtneb.blob.core.windows.net
How Is Oil Made From Natural Gas at Vernon Nelson blog Lube Oil Refining Process After undergoing a purifying process colled sedimentation, the crude oil is heated in huge. This step in the process is done to reduce the tendency. (1) lube oil refineries and (2) petrochemical. After the distillation process, the compounds need to be refined for their intended purpose. The industrial processes applied to recover the used lubricating oil are called: Lubricating oil. Lube Oil Refining Process.
From www.alliedreliability.com
Asset Criticality Analysis Allied Reliability Helps a… Allied Lube Oil Refining Process After undergoing a purifying process colled sedimentation, the crude oil is heated in huge. This step in the process is done to reduce the tendency. After the distillation process, the compounds need to be refined for their intended purpose. The effect of different refining techniques on the oil quality (flash point, pour point, viscosity, metal content, tan, etc.),. (1) lube. Lube Oil Refining Process.
From www.oilrecyclingplant.com
Lube Oil Extraction Make Recycling From Used Engine Oils To Base Oil Lube Oil Refining Process After undergoing a purifying process colled sedimentation, the crude oil is heated in huge. This step in the process is done to reduce the tendency. Not all refineries are aimed at producing fuels. The industrial processes applied to recover the used lubricating oil are called: Lubricating oil is refined from crude oil. The effect of different refining techniques on the. Lube Oil Refining Process.