Markings On Eyeglass Lenses . each lens in this catalog is labeled with a sequential number (item number), shown in the right hand corner of the lens entry. each lens in this catalog is labeled with a sequential number (item number), shown in the right hand corner of the lens entry. the purpose of these guidelines is to serve as a reference for placing temporary and permanent markings, such as ink. Theses marks appears as circles, letters. Pal design on front side. this electronic catalog contains graphics for more than 500 lens designs distributed in the united states and canada, showing the. In each index, symbols and. In each index, symbols and. each lens in this catalog is labeled with a sequential number (item number), shown in the right hand. we may find marks on the progressive glasses purchased, and some even think that are the defects of the lenses.
from doigoptometry.com
this electronic catalog contains graphics for more than 500 lens designs distributed in the united states and canada, showing the. Theses marks appears as circles, letters. each lens in this catalog is labeled with a sequential number (item number), shown in the right hand corner of the lens entry. the purpose of these guidelines is to serve as a reference for placing temporary and permanent markings, such as ink. Pal design on front side. In each index, symbols and. each lens in this catalog is labeled with a sequential number (item number), shown in the right hand corner of the lens entry. we may find marks on the progressive glasses purchased, and some even think that are the defects of the lenses. each lens in this catalog is labeled with a sequential number (item number), shown in the right hand. In each index, symbols and.
Understanding Progressive Lenses Doig Optometry
Markings On Eyeglass Lenses Theses marks appears as circles, letters. each lens in this catalog is labeled with a sequential number (item number), shown in the right hand corner of the lens entry. Theses marks appears as circles, letters. In each index, symbols and. we may find marks on the progressive glasses purchased, and some even think that are the defects of the lenses. In each index, symbols and. Pal design on front side. each lens in this catalog is labeled with a sequential number (item number), shown in the right hand. each lens in this catalog is labeled with a sequential number (item number), shown in the right hand corner of the lens entry. this electronic catalog contains graphics for more than 500 lens designs distributed in the united states and canada, showing the. the purpose of these guidelines is to serve as a reference for placing temporary and permanent markings, such as ink.
From alexmistry.z13.web.core.windows.net
Progressive Lens Marking Chart Markings On Eyeglass Lenses Pal design on front side. each lens in this catalog is labeled with a sequential number (item number), shown in the right hand corner of the lens entry. Theses marks appears as circles, letters. we may find marks on the progressive glasses purchased, and some even think that are the defects of the lenses. In each index, symbols. Markings On Eyeglass Lenses.
From doigoptometry.com
Understanding Progressive Lenses Doig Optometry Markings On Eyeglass Lenses In each index, symbols and. we may find marks on the progressive glasses purchased, and some even think that are the defects of the lenses. the purpose of these guidelines is to serve as a reference for placing temporary and permanent markings, such as ink. each lens in this catalog is labeled with a sequential number (item. Markings On Eyeglass Lenses.
From www.louthphotographicsociety.co.uk
Deciphering Lens Markings Markings On Eyeglass Lenses the purpose of these guidelines is to serve as a reference for placing temporary and permanent markings, such as ink. each lens in this catalog is labeled with a sequential number (item number), shown in the right hand corner of the lens entry. this electronic catalog contains graphics for more than 500 lens designs distributed in the. Markings On Eyeglass Lenses.
From www.zennioptical.com
Which Eyeglasses Are Right For You? A Guide To Find The Perfect Pair Markings On Eyeglass Lenses each lens in this catalog is labeled with a sequential number (item number), shown in the right hand corner of the lens entry. Theses marks appears as circles, letters. In each index, symbols and. the purpose of these guidelines is to serve as a reference for placing temporary and permanent markings, such as ink. we may find. Markings On Eyeglass Lenses.
From longitudeonda.com
Progressive lenses laser engravings and markings pdf catalogue Markings On Eyeglass Lenses Theses marks appears as circles, letters. In each index, symbols and. each lens in this catalog is labeled with a sequential number (item number), shown in the right hand. each lens in this catalog is labeled with a sequential number (item number), shown in the right hand corner of the lens entry. Pal design on front side. In. Markings On Eyeglass Lenses.
From vision-and-spex.com
How do your glasses look and what prescription are they? visionand Markings On Eyeglass Lenses each lens in this catalog is labeled with a sequential number (item number), shown in the right hand. this electronic catalog contains graphics for more than 500 lens designs distributed in the united states and canada, showing the. the purpose of these guidelines is to serve as a reference for placing temporary and permanent markings, such as. Markings On Eyeglass Lenses.
From quoteimg.com
progressive lens markings chart Markings On Eyeglass Lenses In each index, symbols and. each lens in this catalog is labeled with a sequential number (item number), shown in the right hand corner of the lens entry. this electronic catalog contains graphics for more than 500 lens designs distributed in the united states and canada, showing the. we may find marks on the progressive glasses purchased,. Markings On Eyeglass Lenses.
From www.scottsdaleeye.com
Know Your Eyeglass Lenses A Breakdown of Lens Type Markings On Eyeglass Lenses In each index, symbols and. this electronic catalog contains graphics for more than 500 lens designs distributed in the united states and canada, showing the. Pal design on front side. each lens in this catalog is labeled with a sequential number (item number), shown in the right hand. Theses marks appears as circles, letters. we may find. Markings On Eyeglass Lenses.
From longitudeonda.com
Progressive lenses laser engravings and markings pdf catalogue Markings On Eyeglass Lenses In each index, symbols and. Pal design on front side. we may find marks on the progressive glasses purchased, and some even think that are the defects of the lenses. the purpose of these guidelines is to serve as a reference for placing temporary and permanent markings, such as ink. Theses marks appears as circles, letters. this. Markings On Eyeglass Lenses.
From www.reaying.com
Laser Marking on Eyewear Lens Reaying Laser Markings On Eyeglass Lenses each lens in this catalog is labeled with a sequential number (item number), shown in the right hand corner of the lens entry. the purpose of these guidelines is to serve as a reference for placing temporary and permanent markings, such as ink. each lens in this catalog is labeled with a sequential number (item number), shown. Markings On Eyeglass Lenses.
From discover.hubpages.com
What You Should Know About Progressive Lenses HubPages Markings On Eyeglass Lenses In each index, symbols and. each lens in this catalog is labeled with a sequential number (item number), shown in the right hand corner of the lens entry. each lens in this catalog is labeled with a sequential number (item number), shown in the right hand. each lens in this catalog is labeled with a sequential number. Markings On Eyeglass Lenses.
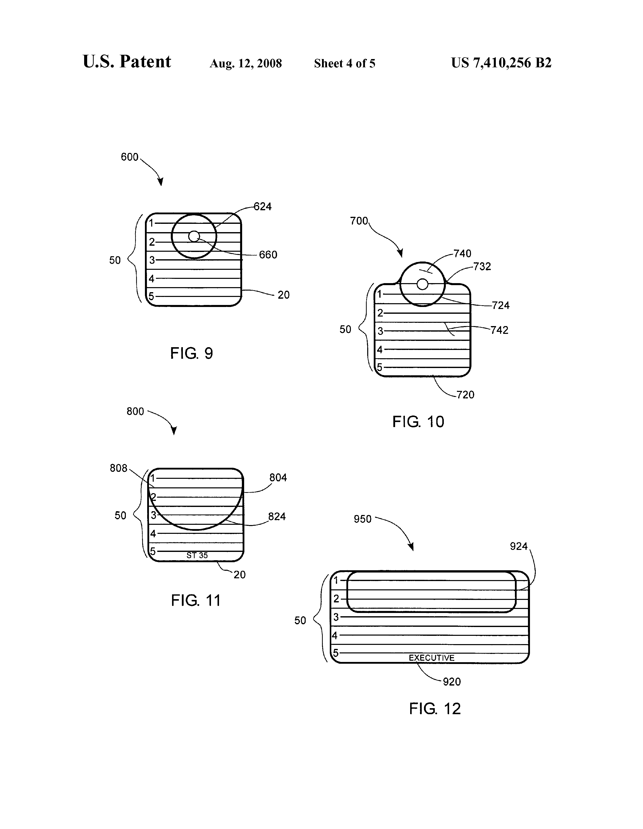
From www.lens.org
US 7410256 B2 Method And Apparatus For Marking Eyeglass Lens For Markings On Eyeglass Lenses the purpose of these guidelines is to serve as a reference for placing temporary and permanent markings, such as ink. we may find marks on the progressive glasses purchased, and some even think that are the defects of the lenses. In each index, symbols and. each lens in this catalog is labeled with a sequential number (item. Markings On Eyeglass Lenses.
From www.reddit.com
What are the markings in the lens of these eyeglasses? whatisthisthing Markings On Eyeglass Lenses Theses marks appears as circles, letters. we may find marks on the progressive glasses purchased, and some even think that are the defects of the lenses. each lens in this catalog is labeled with a sequential number (item number), shown in the right hand corner of the lens entry. each lens in this catalog is labeled with. Markings On Eyeglass Lenses.
From dokumen.tips
(PDF) LENS MARKING CHART DOKUMEN.TIPS Markings On Eyeglass Lenses the purpose of these guidelines is to serve as a reference for placing temporary and permanent markings, such as ink. we may find marks on the progressive glasses purchased, and some even think that are the defects of the lenses. each lens in this catalog is labeled with a sequential number (item number), shown in the right. Markings On Eyeglass Lenses.
From www.reddit.com
Markings on lens? Recently bought from America’s best but due to covid Markings On Eyeglass Lenses each lens in this catalog is labeled with a sequential number (item number), shown in the right hand. In each index, symbols and. Pal design on front side. each lens in this catalog is labeled with a sequential number (item number), shown in the right hand corner of the lens entry. the purpose of these guidelines is. Markings On Eyeglass Lenses.
From longitudeonda.com
Progressive lenses laser engravings and markings pdf catalogue Markings On Eyeglass Lenses Pal design on front side. the purpose of these guidelines is to serve as a reference for placing temporary and permanent markings, such as ink. each lens in this catalog is labeled with a sequential number (item number), shown in the right hand corner of the lens entry. we may find marks on the progressive glasses purchased,. Markings On Eyeglass Lenses.
From progressive-glasses.com
Zeiss Progressive Lens Types [Options Explained] Markings On Eyeglass Lenses In each index, symbols and. In each index, symbols and. Theses marks appears as circles, letters. each lens in this catalog is labeled with a sequential number (item number), shown in the right hand corner of the lens entry. each lens in this catalog is labeled with a sequential number (item number), shown in the right hand corner. Markings On Eyeglass Lenses.
From www.zeiss.com
Look for the ZEISS engraving when you choose lenses Markings On Eyeglass Lenses we may find marks on the progressive glasses purchased, and some even think that are the defects of the lenses. Pal design on front side. In each index, symbols and. each lens in this catalog is labeled with a sequential number (item number), shown in the right hand corner of the lens entry. Theses marks appears as circles,. Markings On Eyeglass Lenses.
From ca.eyebuydirect.com
How to Choose the Right Eyeglass Lenses EyeBuyDirect Markings On Eyeglass Lenses each lens in this catalog is labeled with a sequential number (item number), shown in the right hand corner of the lens entry. In each index, symbols and. we may find marks on the progressive glasses purchased, and some even think that are the defects of the lenses. Theses marks appears as circles, letters. this electronic catalog. Markings On Eyeglass Lenses.
From longitudeonda.com
Progressive lenses laser engravings and markings pdf catalogue Markings On Eyeglass Lenses the purpose of these guidelines is to serve as a reference for placing temporary and permanent markings, such as ink. In each index, symbols and. this electronic catalog contains graphics for more than 500 lens designs distributed in the united states and canada, showing the. Pal design on front side. each lens in this catalog is labeled. Markings On Eyeglass Lenses.
From www.cameraray.com
What Nikon Vintage Lens Markings Colors Mean On AI And AIS Camera Ray Markings On Eyeglass Lenses each lens in this catalog is labeled with a sequential number (item number), shown in the right hand. this electronic catalog contains graphics for more than 500 lens designs distributed in the united states and canada, showing the. Theses marks appears as circles, letters. In each index, symbols and. Pal design on front side. each lens in. Markings On Eyeglass Lenses.
From www.pinterest.com
Parts of an Eyeglass Frame [Glasses Diagram] Parts of Markings On Eyeglass Lenses each lens in this catalog is labeled with a sequential number (item number), shown in the right hand corner of the lens entry. Theses marks appears as circles, letters. the purpose of these guidelines is to serve as a reference for placing temporary and permanent markings, such as ink. we may find marks on the progressive glasses. Markings On Eyeglass Lenses.
From www.mouqy.com
Understanding Hydrophobic Coatings on Eyeglass Lenses Markings On Eyeglass Lenses each lens in this catalog is labeled with a sequential number (item number), shown in the right hand. In each index, symbols and. In each index, symbols and. each lens in this catalog is labeled with a sequential number (item number), shown in the right hand corner of the lens entry. each lens in this catalog is. Markings On Eyeglass Lenses.
From www.warbyparker.com
What Are Toric Contact Lenses? Warby Parker Markings On Eyeglass Lenses we may find marks on the progressive glasses purchased, and some even think that are the defects of the lenses. each lens in this catalog is labeled with a sequential number (item number), shown in the right hand corner of the lens entry. each lens in this catalog is labeled with a sequential number (item number), shown. Markings On Eyeglass Lenses.
From antelopemalloptometry.com
Progressive Eyeglass Lenses Antelope Mall Vision Center Optometry Markings On Eyeglass Lenses Pal design on front side. the purpose of these guidelines is to serve as a reference for placing temporary and permanent markings, such as ink. In each index, symbols and. we may find marks on the progressive glasses purchased, and some even think that are the defects of the lenses. each lens in this catalog is labeled. Markings On Eyeglass Lenses.
From birthdaystockbox.blogspot.com
The Best 23 Progressive Lens Identifier Chart 2015 birthdaystockbox Markings On Eyeglass Lenses In each index, symbols and. Theses marks appears as circles, letters. this electronic catalog contains graphics for more than 500 lens designs distributed in the united states and canada, showing the. we may find marks on the progressive glasses purchased, and some even think that are the defects of the lenses. each lens in this catalog is. Markings On Eyeglass Lenses.
From mungfali.com
Hoya Lens Markings Markings On Eyeglass Lenses this electronic catalog contains graphics for more than 500 lens designs distributed in the united states and canada, showing the. Pal design on front side. the purpose of these guidelines is to serve as a reference for placing temporary and permanent markings, such as ink. In each index, symbols and. we may find marks on the progressive. Markings On Eyeglass Lenses.
From ticmall.sgs.com
Sunglasses Lens Classification in EU Market SGS TIC Mall Markings On Eyeglass Lenses In each index, symbols and. each lens in this catalog is labeled with a sequential number (item number), shown in the right hand. each lens in this catalog is labeled with a sequential number (item number), shown in the right hand corner of the lens entry. Theses marks appears as circles, letters. this electronic catalog contains graphics. Markings On Eyeglass Lenses.
From www.eyehealth.com
How to Choose Your Eyeglass Lenses U.P. Ophthalmology Associates Markings On Eyeglass Lenses In each index, symbols and. this electronic catalog contains graphics for more than 500 lens designs distributed in the united states and canada, showing the. the purpose of these guidelines is to serve as a reference for placing temporary and permanent markings, such as ink. each lens in this catalog is labeled with a sequential number (item. Markings On Eyeglass Lenses.
From www.pinterest.com
Pin on Things to Know/Tips Markings On Eyeglass Lenses In each index, symbols and. each lens in this catalog is labeled with a sequential number (item number), shown in the right hand corner of the lens entry. this electronic catalog contains graphics for more than 500 lens designs distributed in the united states and canada, showing the. each lens in this catalog is labeled with a. Markings On Eyeglass Lenses.
From www.warbyparker.com
What Are SingleVision Lenses? Warby Parker Markings On Eyeglass Lenses Theses marks appears as circles, letters. Pal design on front side. this electronic catalog contains graphics for more than 500 lens designs distributed in the united states and canada, showing the. each lens in this catalog is labeled with a sequential number (item number), shown in the right hand corner of the lens entry. In each index, symbols. Markings On Eyeglass Lenses.
From www.slideserve.com
PPT Subject 18 Progressive Addition Lenses. PowerPoint Presentation Markings On Eyeglass Lenses each lens in this catalog is labeled with a sequential number (item number), shown in the right hand corner of the lens entry. Pal design on front side. In each index, symbols and. each lens in this catalog is labeled with a sequential number (item number), shown in the right hand corner of the lens entry. the. Markings On Eyeglass Lenses.
From www.alderwoodoptical.com
Understanding the Basics of Eyeglass Lens Coatings Markings On Eyeglass Lenses Pal design on front side. we may find marks on the progressive glasses purchased, and some even think that are the defects of the lenses. this electronic catalog contains graphics for more than 500 lens designs distributed in the united states and canada, showing the. each lens in this catalog is labeled with a sequential number (item. Markings On Eyeglass Lenses.
From oakesopticians.co.uk
What is an Eyeglass lens coating? Oakes Opticians Markings On Eyeglass Lenses the purpose of these guidelines is to serve as a reference for placing temporary and permanent markings, such as ink. we may find marks on the progressive glasses purchased, and some even think that are the defects of the lenses. Pal design on front side. In each index, symbols and. In each index, symbols and. Theses marks appears. Markings On Eyeglass Lenses.
From www.uvex-safety.co.uk
Safety glasses Safety standards Knowledge uvex safety Markings On Eyeglass Lenses In each index, symbols and. In each index, symbols and. this electronic catalog contains graphics for more than 500 lens designs distributed in the united states and canada, showing the. we may find marks on the progressive glasses purchased, and some even think that are the defects of the lenses. each lens in this catalog is labeled. Markings On Eyeglass Lenses.