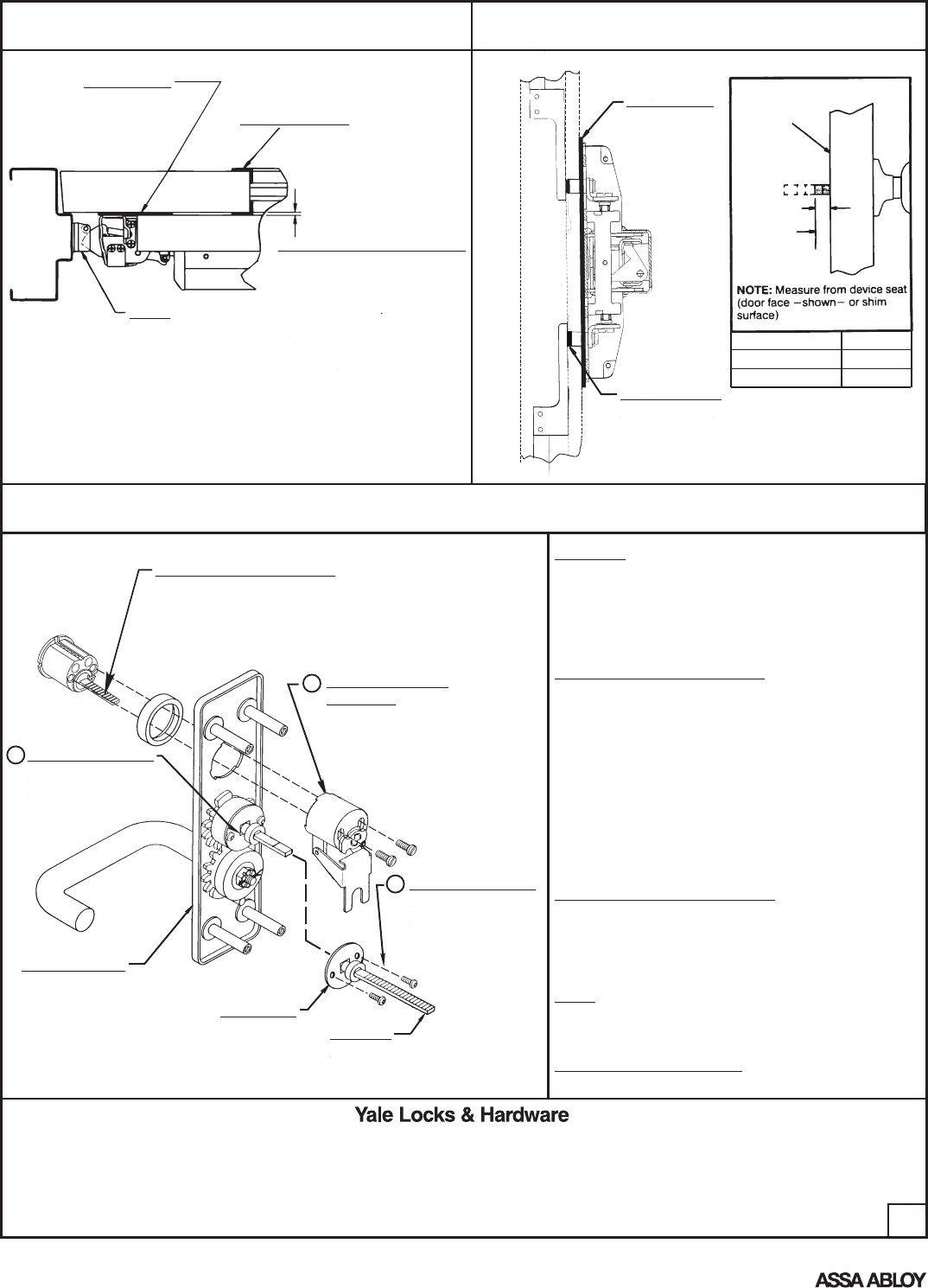
Yale 1800 Exit Device Installation Instructions . For use with all yale® 7000, 2100, 1800 and 1500 series exit devices (wood and. Any retrofit or other field modification to a fire. For use with yale® 7000, 2100, 1800 and 1500 series exit devices (wood and metal doors) 426f series. Yale® 1800 series exit devices are the ideal choice for economy commercial applications where consistent. Note that the centerline of the rods and strikes, used to install top and bottom bolts, is not the vertical reference centerline. 626f exit device trim installation instructions. The 1800 series exit devices are the ideal choice for economy commercial applications where you need consistent quality, dependability and ease. These installation instructions cover standard product. 426f series trim installation instructions. Rim exit devices installation instructions (single door or pairs) attention installer. Yale 1800 series door opening system pdf. View and download assa abloy yale 1800 series installation instructions online. Rim exit devices installation instructions (single door or pairs with mullion) note: For lbr devices, omit bottom latch and strike installation steps.
from usermanual.wiki
View and download assa abloy yale 1800 series installation instructions online. Note that the centerline of the rods and strikes, used to install top and bottom bolts, is not the vertical reference centerline. Rim exit devices installation instructions (single door or pairs) attention installer. For lbr devices, omit bottom latch and strike installation steps. For use with all yale® 7000, 2100, 1800 and 1500 series exit devices (wood and. The 1800 series exit devices are the ideal choice for economy commercial applications where you need consistent quality, dependability and ease. Any retrofit or other field modification to a fire. 626f exit device trim installation instructions. 426f series trim installation instructions. For use with yale® 7000, 2100, 1800 and 1500 series exit devices (wood and metal doors) 426f series.
Yale 2110, 2170, 1810 Surface Vertical Rod Exit Device Installation Instructions
Yale 1800 Exit Device Installation Instructions Rim exit devices installation instructions (single door or pairs with mullion) note: The 1800 series exit devices are the ideal choice for economy commercial applications where you need consistent quality, dependability and ease. For use with yale® 7000, 2100, 1800 and 1500 series exit devices (wood and metal doors) 426f series. For use with all yale® 7000, 2100, 1800 and 1500 series exit devices (wood and. Yale 1800 series door opening system pdf. For lbr devices, omit bottom latch and strike installation steps. Note that the centerline of the rods and strikes, used to install top and bottom bolts, is not the vertical reference centerline. View and download assa abloy yale 1800 series installation instructions online. 426f series trim installation instructions. Rim exit devices installation instructions (single door or pairs with mullion) note: 626f exit device trim installation instructions. Yale® 1800 series exit devices are the ideal choice for economy commercial applications where consistent. Rim exit devices installation instructions (single door or pairs) attention installer. Any retrofit or other field modification to a fire. These installation instructions cover standard product.
From www.edlocks.com
1800 48 689 Yale Exit Device E.D. Locks & Security LLC Yale 1800 Exit Device Installation Instructions Yale 1800 series door opening system pdf. For use with yale® 7000, 2100, 1800 and 1500 series exit devices (wood and metal doors) 426f series. Note that the centerline of the rods and strikes, used to install top and bottom bolts, is not the vertical reference centerline. View and download assa abloy yale 1800 series installation instructions online. For use. Yale 1800 Exit Device Installation Instructions.
From usermanual.wiki
Yale 7200 Rim Exit Devices Installation Instructions 80 9472 0000 00008 137200Rim Yale 1800 Exit Device Installation Instructions 426f series trim installation instructions. Yale® 1800 series exit devices are the ideal choice for economy commercial applications where consistent. 626f exit device trim installation instructions. Any retrofit or other field modification to a fire. Note that the centerline of the rods and strikes, used to install top and bottom bolts, is not the vertical reference centerline. These installation instructions. Yale 1800 Exit Device Installation Instructions.
From usermanual.wiki
Yale 80 9421 0000 000 (11 12) 2100, 2150 Square Bolt, And 1800 Rim Exit Device Installation Yale 1800 Exit Device Installation Instructions Rim exit devices installation instructions (single door or pairs with mullion) note: Any retrofit or other field modification to a fire. For use with yale® 7000, 2100, 1800 and 1500 series exit devices (wood and metal doors) 426f series. Rim exit devices installation instructions (single door or pairs) attention installer. 426f series trim installation instructions. For use with all yale®. Yale 1800 Exit Device Installation Instructions.
From www.dkhardware.com
Yale 180048 x 689 48 in. Maximum Door Width Grade 1 Pullman Latch Rim Exit Device Yale 1800 Exit Device Installation Instructions For use with yale® 7000, 2100, 1800 and 1500 series exit devices (wood and metal doors) 426f series. For lbr devices, omit bottom latch and strike installation steps. Yale® 1800 series exit devices are the ideal choice for economy commercial applications where consistent. 426f series trim installation instructions. 626f exit device trim installation instructions. Rim exit devices installation instructions (single. Yale 1800 Exit Device Installation Instructions.
From usermanual.wiki
Yale 2110, 2170, 1810 Surface Vertical Rod Exit Device Installation Instructions Yale 1800 Exit Device Installation Instructions For use with yale® 7000, 2100, 1800 and 1500 series exit devices (wood and metal doors) 426f series. These installation instructions cover standard product. For lbr devices, omit bottom latch and strike installation steps. Yale® 1800 series exit devices are the ideal choice for economy commercial applications where consistent. Note that the centerline of the rods and strikes, used to. Yale 1800 Exit Device Installation Instructions.
From usermanual.wiki
Yale 80 9421 0000 000 (11 12) 2100, 2150 Square Bolt, And 1800 Rim Exit Device Installation Yale 1800 Exit Device Installation Instructions For use with all yale® 7000, 2100, 1800 and 1500 series exit devices (wood and. Any retrofit or other field modification to a fire. Yale 1800 series door opening system pdf. Rim exit devices installation instructions (single door or pairs) attention installer. 626f exit device trim installation instructions. Rim exit devices installation instructions (single door or pairs with mullion) note:. Yale 1800 Exit Device Installation Instructions.
From usermanual.wiki
Yale 2110, 2170, 1810 Surface Vertical Rod Exit Device Installation Instructions Yale 1800 Exit Device Installation Instructions These installation instructions cover standard product. Yale 1800 series door opening system pdf. View and download assa abloy yale 1800 series installation instructions online. Yale® 1800 series exit devices are the ideal choice for economy commercial applications where consistent. For use with yale® 7000, 2100, 1800 and 1500 series exit devices (wood and metal doors) 426f series. The 1800 series. Yale 1800 Exit Device Installation Instructions.
From usermanual.wiki
Yale 1530 Mortise Exit Device Installation Instructions 1530seriesinstallation Yale 1800 Exit Device Installation Instructions The 1800 series exit devices are the ideal choice for economy commercial applications where you need consistent quality, dependability and ease. Yale 1800 series door opening system pdf. 426f series trim installation instructions. 626f exit device trim installation instructions. Rim exit devices installation instructions (single door or pairs) attention installer. For use with all yale® 7000, 2100, 1800 and 1500. Yale 1800 Exit Device Installation Instructions.
From exotyfscg.blob.core.windows.net
Yale Exit Device Parts Manual at Brenda Agnew blog Yale 1800 Exit Device Installation Instructions For lbr devices, omit bottom latch and strike installation steps. Note that the centerline of the rods and strikes, used to install top and bottom bolts, is not the vertical reference centerline. Yale 1800 series door opening system pdf. Yale® 1800 series exit devices are the ideal choice for economy commercial applications where consistent. 426f series trim installation instructions. For. Yale 1800 Exit Device Installation Instructions.
From usermanual.wiki
Yale 80 9421 0000 000 (11 12) 2100, 2150 Square Bolt, And 1800 Rim Exit Device Installation Yale 1800 Exit Device Installation Instructions The 1800 series exit devices are the ideal choice for economy commercial applications where you need consistent quality, dependability and ease. Rim exit devices installation instructions (single door or pairs) attention installer. Any retrofit or other field modification to a fire. Yale® 1800 series exit devices are the ideal choice for economy commercial applications where consistent. For lbr devices, omit. Yale 1800 Exit Device Installation Instructions.
From usermanual.wiki
Yale 1500 Rim Exit Device Installation Instructions 1500seriesinstallation Yale 1800 Exit Device Installation Instructions Any retrofit or other field modification to a fire. View and download assa abloy yale 1800 series installation instructions online. For use with all yale® 7000, 2100, 1800 and 1500 series exit devices (wood and. Yale 1800 series door opening system pdf. The 1800 series exit devices are the ideal choice for economy commercial applications where you need consistent quality,. Yale 1800 Exit Device Installation Instructions.
From 2022.markettraders.com
Yale 7200 Rim Exit Devices Installation Instructions 80, 42 OFF Yale 1800 Exit Device Installation Instructions The 1800 series exit devices are the ideal choice for economy commercial applications where you need consistent quality, dependability and ease. Yale® 1800 series exit devices are the ideal choice for economy commercial applications where consistent. 626f exit device trim installation instructions. Any retrofit or other field modification to a fire. Yale 1800 series door opening system pdf. View and. Yale 1800 Exit Device Installation Instructions.
From usermanual.wiki
Yale 2 7210 Surface Vertical Rod Exit Device Installation Instructions 80 9472 0010 00004 Yale 1800 Exit Device Installation Instructions 426f series trim installation instructions. 626f exit device trim installation instructions. Rim exit devices installation instructions (single door or pairs) attention installer. View and download assa abloy yale 1800 series installation instructions online. For use with all yale® 7000, 2100, 1800 and 1500 series exit devices (wood and. The 1800 series exit devices are the ideal choice for economy commercial. Yale 1800 Exit Device Installation Instructions.
From usermanual.wiki
Yale 2110, 2170, 1810 Surface Vertical Rod Exit Device Installation Instructions Yale 1800 Exit Device Installation Instructions View and download assa abloy yale 1800 series installation instructions online. The 1800 series exit devices are the ideal choice for economy commercial applications where you need consistent quality, dependability and ease. Yale® 1800 series exit devices are the ideal choice for economy commercial applications where consistent. 626f exit device trim installation instructions. Rim exit devices installation instructions (single door. Yale 1800 Exit Device Installation Instructions.
From usermanual.wiki
Yale 2110, 2170, 1810 Surface Vertical Rod Exit Device Installation Instructions Yale 1800 Exit Device Installation Instructions Note that the centerline of the rods and strikes, used to install top and bottom bolts, is not the vertical reference centerline. View and download assa abloy yale 1800 series installation instructions online. Yale® 1800 series exit devices are the ideal choice for economy commercial applications where consistent. For use with all yale® 7000, 2100, 1800 and 1500 series exit. Yale 1800 Exit Device Installation Instructions.
From usermanual.wiki
Yale 2110, 2170, 1810 Surface Vertical Rod Exit Device Installation Instructions Yale 1800 Exit Device Installation Instructions Note that the centerline of the rods and strikes, used to install top and bottom bolts, is not the vertical reference centerline. Yale 1800 series door opening system pdf. The 1800 series exit devices are the ideal choice for economy commercial applications where you need consistent quality, dependability and ease. For lbr devices, omit bottom latch and strike installation steps.. Yale 1800 Exit Device Installation Instructions.
From usermanual.wiki
Yale Exit Device Shim Kits Installation Instructions 80 9470 0724 00002 13Shim Yale 1800 Exit Device Installation Instructions Rim exit devices installation instructions (single door or pairs) attention installer. Yale 1800 series door opening system pdf. For lbr devices, omit bottom latch and strike installation steps. 626f exit device trim installation instructions. Rim exit devices installation instructions (single door or pairs with mullion) note: For use with yale® 7000, 2100, 1800 and 1500 series exit devices (wood and. Yale 1800 Exit Device Installation Instructions.
From usermanual.wiki
Yale 2110, 2170, 1810 Surface Vertical Rod Exit Device Installation Instructions Yale 1800 Exit Device Installation Instructions 626f exit device trim installation instructions. Rim exit devices installation instructions (single door or pairs with mullion) note: These installation instructions cover standard product. 426f series trim installation instructions. For lbr devices, omit bottom latch and strike installation steps. Rim exit devices installation instructions (single door or pairs) attention installer. View and download assa abloy yale 1800 series installation instructions. Yale 1800 Exit Device Installation Instructions.
From usermanual.wiki
Yale 2110, 2170, 1810 Surface Vertical Rod Exit Device Installation Instructions Yale 1800 Exit Device Installation Instructions Any retrofit or other field modification to a fire. Yale 1800 series door opening system pdf. For use with all yale® 7000, 2100, 1800 and 1500 series exit devices (wood and. 426f series trim installation instructions. 626f exit device trim installation instructions. The 1800 series exit devices are the ideal choice for economy commercial applications where you need consistent quality,. Yale 1800 Exit Device Installation Instructions.
From usermanual.wiki
Yale 2110, 2170, 1810 Surface Vertical Rod Exit Device Installation Instructions Yale 1800 Exit Device Installation Instructions Rim exit devices installation instructions (single door or pairs) attention installer. These installation instructions cover standard product. Yale 1800 series door opening system pdf. 626f exit device trim installation instructions. View and download assa abloy yale 1800 series installation instructions online. For lbr devices, omit bottom latch and strike installation steps. Any retrofit or other field modification to a fire.. Yale 1800 Exit Device Installation Instructions.
From usermanual.wiki
Yale 1800 Series Flatbar Exit Device 42703 Cat Lo Yale 1800 Exit Device Installation Instructions View and download assa abloy yale 1800 series installation instructions online. Rim exit devices installation instructions (single door or pairs with mullion) note: For use with yale® 7000, 2100, 1800 and 1500 series exit devices (wood and metal doors) 426f series. These installation instructions cover standard product. Yale 1800 series door opening system pdf. The 1800 series exit devices are. Yale 1800 Exit Device Installation Instructions.
From usermanual.wiki
Yale 2110, 2170, 1810 Surface Vertical Rod Exit Device Installation Instructions Yale 1800 Exit Device Installation Instructions Any retrofit or other field modification to a fire. Rim exit devices installation instructions (single door or pairs with mullion) note: The 1800 series exit devices are the ideal choice for economy commercial applications where you need consistent quality, dependability and ease. For lbr devices, omit bottom latch and strike installation steps. 626f exit device trim installation instructions. For use. Yale 1800 Exit Device Installation Instructions.
From exotyfscg.blob.core.windows.net
Yale Exit Device Parts Manual at Brenda Agnew blog Yale 1800 Exit Device Installation Instructions View and download assa abloy yale 1800 series installation instructions online. For use with yale® 7000, 2100, 1800 and 1500 series exit devices (wood and metal doors) 426f series. For use with all yale® 7000, 2100, 1800 and 1500 series exit devices (wood and. Note that the centerline of the rods and strikes, used to install top and bottom bolts,. Yale 1800 Exit Device Installation Instructions.
From usermanual.wiki
Yale Exit Device Shim Kits Installation Instructions 80 9470 0724 00002 13Shim Yale 1800 Exit Device Installation Instructions The 1800 series exit devices are the ideal choice for economy commercial applications where you need consistent quality, dependability and ease. Rim exit devices installation instructions (single door or pairs) attention installer. Any retrofit or other field modification to a fire. 426f series trim installation instructions. View and download assa abloy yale 1800 series installation instructions online. 626f exit device. Yale 1800 Exit Device Installation Instructions.
From usermanual.wiki
Yale Exit Device Shim Kits Installation Instructions 80 9470 0724 00002 13Shim Yale 1800 Exit Device Installation Instructions Note that the centerline of the rods and strikes, used to install top and bottom bolts, is not the vertical reference centerline. For use with all yale® 7000, 2100, 1800 and 1500 series exit devices (wood and. Yale 1800 series door opening system pdf. For lbr devices, omit bottom latch and strike installation steps. 626f exit device trim installation instructions.. Yale 1800 Exit Device Installation Instructions.
From usermanual.wiki
Yale 1500 Rim Exit Device Installation Instructions 1500seriesinstallation Yale 1800 Exit Device Installation Instructions Note that the centerline of the rods and strikes, used to install top and bottom bolts, is not the vertical reference centerline. Yale® 1800 series exit devices are the ideal choice for economy commercial applications where consistent. The 1800 series exit devices are the ideal choice for economy commercial applications where you need consistent quality, dependability and ease. These installation. Yale 1800 Exit Device Installation Instructions.
From usermanual.wiki
Yale 80 9421 0000 000 (11 12) 2100, 2150 Square Bolt, And 1800 Rim Exit Device Installation Yale 1800 Exit Device Installation Instructions 426f series trim installation instructions. Rim exit devices installation instructions (single door or pairs) attention installer. View and download assa abloy yale 1800 series installation instructions online. Any retrofit or other field modification to a fire. Yale 1800 series door opening system pdf. For lbr devices, omit bottom latch and strike installation steps. 626f exit device trim installation instructions. Rim. Yale 1800 Exit Device Installation Instructions.
From goldenlocksinc.com
Yale 1800 Panic Rim Exit Device Golden Locks Inc Yale 1800 Exit Device Installation Instructions Note that the centerline of the rods and strikes, used to install top and bottom bolts, is not the vertical reference centerline. For use with yale® 7000, 2100, 1800 and 1500 series exit devices (wood and metal doors) 426f series. Rim exit devices installation instructions (single door or pairs) attention installer. View and download assa abloy yale 1800 series installation. Yale 1800 Exit Device Installation Instructions.
From www.assaabloylibrary.us
Yale1800SeriesExitDeviceCatalog 18 Yale Commercial Yale 1800 Exit Device Installation Instructions The 1800 series exit devices are the ideal choice for economy commercial applications where you need consistent quality, dependability and ease. For use with yale® 7000, 2100, 1800 and 1500 series exit devices (wood and metal doors) 426f series. Rim exit devices installation instructions (single door or pairs with mullion) note: View and download assa abloy yale 1800 series installation. Yale 1800 Exit Device Installation Instructions.
From usermanual.wiki
Yale 2110, 2170, 1810 Surface Vertical Rod Exit Device Installation Instructions Yale 1800 Exit Device Installation Instructions These installation instructions cover standard product. Rim exit devices installation instructions (single door or pairs) attention installer. Note that the centerline of the rods and strikes, used to install top and bottom bolts, is not the vertical reference centerline. For lbr devices, omit bottom latch and strike installation steps. The 1800 series exit devices are the ideal choice for economy. Yale 1800 Exit Device Installation Instructions.
From usermanual.wiki
Yale 2110, 2170, 1810 Surface Vertical Rod Exit Device Installation Instructions Yale 1800 Exit Device Installation Instructions For use with all yale® 7000, 2100, 1800 and 1500 series exit devices (wood and. Yale® 1800 series exit devices are the ideal choice for economy commercial applications where consistent. For lbr devices, omit bottom latch and strike installation steps. The 1800 series exit devices are the ideal choice for economy commercial applications where you need consistent quality, dependability and. Yale 1800 Exit Device Installation Instructions.
From usermanual.wiki
Yale 2110, 2170, 1810 Surface Vertical Rod Exit Device Installation Instructions Yale 1800 Exit Device Installation Instructions Yale® 1800 series exit devices are the ideal choice for economy commercial applications where consistent. Yale 1800 series door opening system pdf. View and download assa abloy yale 1800 series installation instructions online. 626f exit device trim installation instructions. Note that the centerline of the rods and strikes, used to install top and bottom bolts, is not the vertical reference. Yale 1800 Exit Device Installation Instructions.
From exotyfscg.blob.core.windows.net
Yale Exit Device Parts Manual at Brenda Agnew blog Yale 1800 Exit Device Installation Instructions For use with all yale® 7000, 2100, 1800 and 1500 series exit devices (wood and. Any retrofit or other field modification to a fire. View and download assa abloy yale 1800 series installation instructions online. Yale® 1800 series exit devices are the ideal choice for economy commercial applications where consistent. Rim exit devices installation instructions (single door or pairs) attention. Yale 1800 Exit Device Installation Instructions.
From cookandboardman.com
Accentra (Yale) 1800 Series Rim Exit Device, Grade 1 Yale 1800 Exit Device Installation Instructions Any retrofit or other field modification to a fire. Yale® 1800 series exit devices are the ideal choice for economy commercial applications where consistent. For use with yale® 7000, 2100, 1800 and 1500 series exit devices (wood and metal doors) 426f series. For lbr devices, omit bottom latch and strike installation steps. 626f exit device trim installation instructions. Rim exit. Yale 1800 Exit Device Installation Instructions.
From usermanual.wiki
Yale 2110, 2170, 1810 Surface Vertical Rod Exit Device Installation Instructions Yale 1800 Exit Device Installation Instructions 426f series trim installation instructions. 626f exit device trim installation instructions. For lbr devices, omit bottom latch and strike installation steps. Rim exit devices installation instructions (single door or pairs with mullion) note: Note that the centerline of the rods and strikes, used to install top and bottom bolts, is not the vertical reference centerline. Yale 1800 series door opening. Yale 1800 Exit Device Installation Instructions.