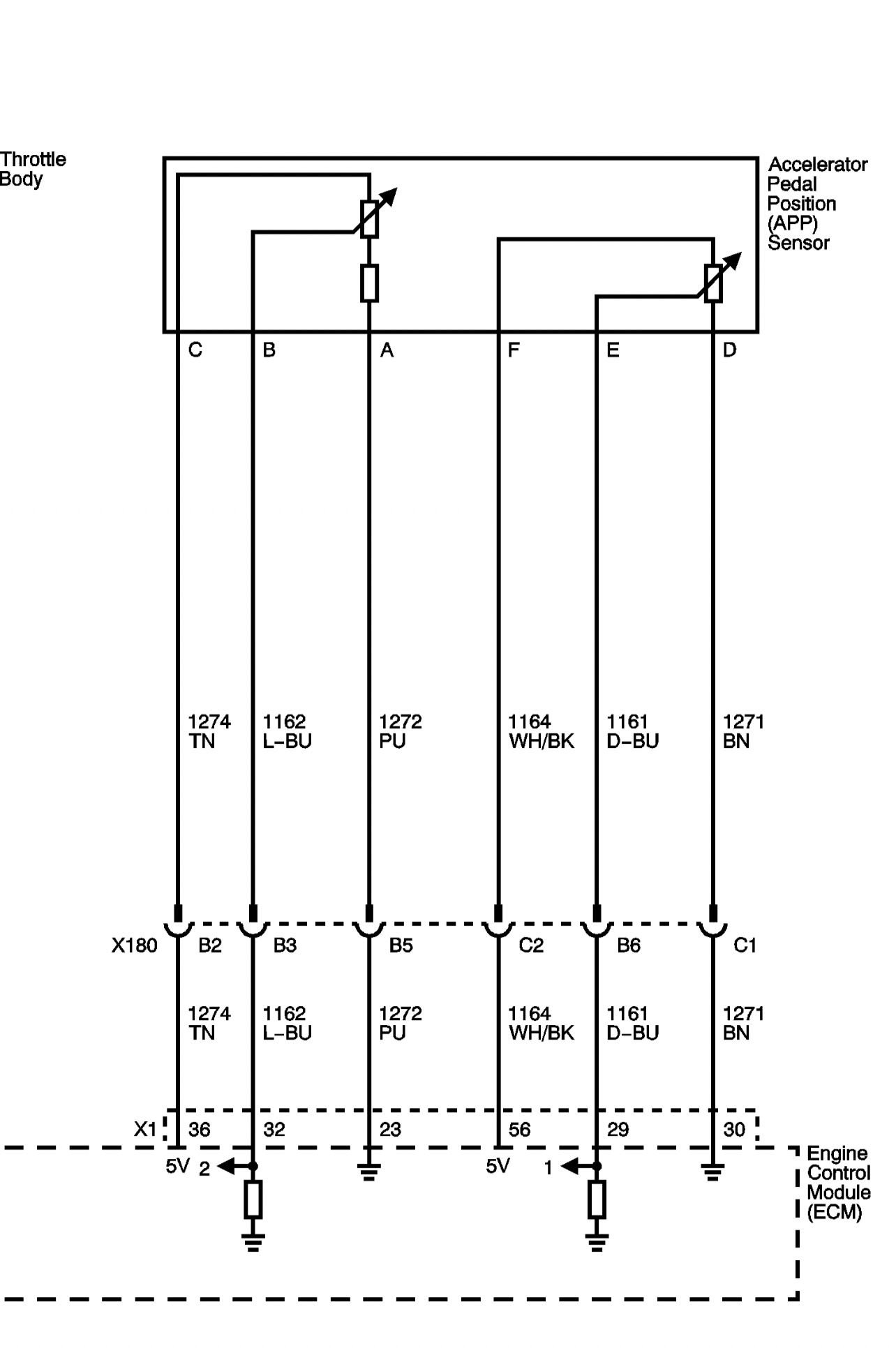
Accelerator Pedal Position Sensor Pinout . I used the app 1 sensor dark blue wire at the top of the accelerator pedal. Ecm checks the accelerator pedal position sensor output signal characteristics for abnormal conditions. I programmed the traqmate to. The throttle lever is connected by cable to the accelerator pedal. The accelerator pedal position sensor (apps) detects accelerator pedal position. The sensor detects the accelerator position and sends a signal to the ecm. Dive into the world of automotive electronics with our comprehensive guide on. Accelerator pedal position sensor has two.
from workshop-manuals.com
Accelerator pedal position sensor has two. Ecm checks the accelerator pedal position sensor output signal characteristics for abnormal conditions. The throttle lever is connected by cable to the accelerator pedal. The accelerator pedal position sensor (apps) detects accelerator pedal position. I used the app 1 sensor dark blue wire at the top of the accelerator pedal. Dive into the world of automotive electronics with our comprehensive guide on. I programmed the traqmate to. The sensor detects the accelerator position and sends a signal to the ecm.
Ford Service and Repair Manuals > F 150 2WD V85.0L (2011
Accelerator Pedal Position Sensor Pinout Dive into the world of automotive electronics with our comprehensive guide on. The sensor detects the accelerator position and sends a signal to the ecm. The accelerator pedal position sensor (apps) detects accelerator pedal position. Accelerator pedal position sensor has two. Dive into the world of automotive electronics with our comprehensive guide on. I used the app 1 sensor dark blue wire at the top of the accelerator pedal. Ecm checks the accelerator pedal position sensor output signal characteristics for abnormal conditions. I programmed the traqmate to. The throttle lever is connected by cable to the accelerator pedal.
From workshop-manuals.com
Ford Service and Repair Manuals > F 150 2WD V85.0L (2011 Accelerator Pedal Position Sensor Pinout The throttle lever is connected by cable to the accelerator pedal. Dive into the world of automotive electronics with our comprehensive guide on. Ecm checks the accelerator pedal position sensor output signal characteristics for abnormal conditions. The sensor detects the accelerator position and sends a signal to the ecm. The accelerator pedal position sensor (apps) detects accelerator pedal position. I. Accelerator Pedal Position Sensor Pinout.
From www.youtube.com
how car APP (accelerator pedal position) sensor workwiring diagram ECU Accelerator Pedal Position Sensor Pinout Ecm checks the accelerator pedal position sensor output signal characteristics for abnormal conditions. I programmed the traqmate to. Dive into the world of automotive electronics with our comprehensive guide on. The throttle lever is connected by cable to the accelerator pedal. The sensor detects the accelerator position and sends a signal to the ecm. Accelerator pedal position sensor has two.. Accelerator Pedal Position Sensor Pinout.
From www.corvetteforum.com
Accelerator Pedal Position Pinout CorvetteForum Chevrolet Corvette Accelerator Pedal Position Sensor Pinout The sensor detects the accelerator position and sends a signal to the ecm. Dive into the world of automotive electronics with our comprehensive guide on. Ecm checks the accelerator pedal position sensor output signal characteristics for abnormal conditions. The throttle lever is connected by cable to the accelerator pedal. The accelerator pedal position sensor (apps) detects accelerator pedal position. I. Accelerator Pedal Position Sensor Pinout.
From www.carparts.com
P0122 Code Throttle Position Sensor/Switch A Circuit Low Input In Accelerator Pedal Position Sensor Pinout The sensor detects the accelerator position and sends a signal to the ecm. I used the app 1 sensor dark blue wire at the top of the accelerator pedal. I programmed the traqmate to. The throttle lever is connected by cable to the accelerator pedal. Accelerator pedal position sensor has two. Ecm checks the accelerator pedal position sensor output signal. Accelerator Pedal Position Sensor Pinout.
From www.2carpros.com
After Replacing the Throttle Pedal or Accelerator Pedal Position Accelerator Pedal Position Sensor Pinout The sensor detects the accelerator position and sends a signal to the ecm. The throttle lever is connected by cable to the accelerator pedal. I used the app 1 sensor dark blue wire at the top of the accelerator pedal. The accelerator pedal position sensor (apps) detects accelerator pedal position. Ecm checks the accelerator pedal position sensor output signal characteristics. Accelerator Pedal Position Sensor Pinout.
From properinspire.blogspot.com
Gm Accelerator Pedal Position Sensor Wiring Diagram properinspire Accelerator Pedal Position Sensor Pinout I programmed the traqmate to. The accelerator pedal position sensor (apps) detects accelerator pedal position. Dive into the world of automotive electronics with our comprehensive guide on. The throttle lever is connected by cable to the accelerator pedal. Ecm checks the accelerator pedal position sensor output signal characteristics for abnormal conditions. Accelerator pedal position sensor has two. The sensor detects. Accelerator Pedal Position Sensor Pinout.
From forums.linkecu.com
370Z Pedal Position Sensor pinout G4+ Forums Link Engine Management Accelerator Pedal Position Sensor Pinout The throttle lever is connected by cable to the accelerator pedal. I used the app 1 sensor dark blue wire at the top of the accelerator pedal. Accelerator pedal position sensor has two. The sensor detects the accelerator position and sends a signal to the ecm. I programmed the traqmate to. Ecm checks the accelerator pedal position sensor output signal. Accelerator Pedal Position Sensor Pinout.
From auto-master.su
2ADFHV ENGINE CONTROL SYSTEM Dtc P2121 Throttle / Pedal Position Accelerator Pedal Position Sensor Pinout I programmed the traqmate to. The throttle lever is connected by cable to the accelerator pedal. Accelerator pedal position sensor has two. The accelerator pedal position sensor (apps) detects accelerator pedal position. The sensor detects the accelerator position and sends a signal to the ecm. Ecm checks the accelerator pedal position sensor output signal characteristics for abnormal conditions. Dive into. Accelerator Pedal Position Sensor Pinout.
From innovationdiscoveries.space
All you need to know about Accelerator Pedal Position Sensors (APPS) Accelerator Pedal Position Sensor Pinout The accelerator pedal position sensor (apps) detects accelerator pedal position. Dive into the world of automotive electronics with our comprehensive guide on. The throttle lever is connected by cable to the accelerator pedal. The sensor detects the accelerator position and sends a signal to the ecm. Accelerator pedal position sensor has two. Ecm checks the accelerator pedal position sensor output. Accelerator Pedal Position Sensor Pinout.
From www.2carpros.com
Wiring Diagram for Accelerator Pedal Position Sensor Connector Accelerator Pedal Position Sensor Pinout The accelerator pedal position sensor (apps) detects accelerator pedal position. I programmed the traqmate to. Ecm checks the accelerator pedal position sensor output signal characteristics for abnormal conditions. The throttle lever is connected by cable to the accelerator pedal. The sensor detects the accelerator position and sends a signal to the ecm. Dive into the world of automotive electronics with. Accelerator Pedal Position Sensor Pinout.
From www.efisolutions.com.au
Genuine Nissan Accelerator Pedal Position Sensor (LHD) "Z33 350z GT" Accelerator Pedal Position Sensor Pinout The sensor detects the accelerator position and sends a signal to the ecm. Accelerator pedal position sensor has two. Ecm checks the accelerator pedal position sensor output signal characteristics for abnormal conditions. I programmed the traqmate to. The accelerator pedal position sensor (apps) detects accelerator pedal position. I used the app 1 sensor dark blue wire at the top of. Accelerator Pedal Position Sensor Pinout.
From www.youtube.com
Accelerator Pedal Position Sensor Testing and Replacement Drive By Accelerator Pedal Position Sensor Pinout I used the app 1 sensor dark blue wire at the top of the accelerator pedal. The throttle lever is connected by cable to the accelerator pedal. The accelerator pedal position sensor (apps) detects accelerator pedal position. Ecm checks the accelerator pedal position sensor output signal characteristics for abnormal conditions. Dive into the world of automotive electronics with our comprehensive. Accelerator Pedal Position Sensor Pinout.
From www.carparts.com
Bad Accelerator Pedal Position Sensor Symptoms and Replacement In Accelerator Pedal Position Sensor Pinout Accelerator pedal position sensor has two. The accelerator pedal position sensor (apps) detects accelerator pedal position. Ecm checks the accelerator pedal position sensor output signal characteristics for abnormal conditions. The throttle lever is connected by cable to the accelerator pedal. Dive into the world of automotive electronics with our comprehensive guide on. I used the app 1 sensor dark blue. Accelerator Pedal Position Sensor Pinout.
From faq.out-club.ru
SENSOR Accelerator Pedal Position Sensor Pinout I used the app 1 sensor dark blue wire at the top of the accelerator pedal. The sensor detects the accelerator position and sends a signal to the ecm. I programmed the traqmate to. The throttle lever is connected by cable to the accelerator pedal. Accelerator pedal position sensor has two. The accelerator pedal position sensor (apps) detects accelerator pedal. Accelerator Pedal Position Sensor Pinout.
From inspirenetic.blogspot.com
Accelerator Pedal Position Sensor Wiring Diagram Accelerator Pedal Position Sensor Pinout The sensor detects the accelerator position and sends a signal to the ecm. Ecm checks the accelerator pedal position sensor output signal characteristics for abnormal conditions. I used the app 1 sensor dark blue wire at the top of the accelerator pedal. The throttle lever is connected by cable to the accelerator pedal. Dive into the world of automotive electronics. Accelerator Pedal Position Sensor Pinout.
From mitsubishitechinfo.com
13ADTC P2122 Accelerator Pedal Position Sensor (Main) Circuit Low Input Accelerator Pedal Position Sensor Pinout Ecm checks the accelerator pedal position sensor output signal characteristics for abnormal conditions. I programmed the traqmate to. The throttle lever is connected by cable to the accelerator pedal. The accelerator pedal position sensor (apps) detects accelerator pedal position. Accelerator pedal position sensor has two. Dive into the world of automotive electronics with our comprehensive guide on. I used the. Accelerator Pedal Position Sensor Pinout.
From www.youtube.com
HOW TO TEST an ACCELERATOR PEDAL POSITION SENSOR (APPS) YouTube Accelerator Pedal Position Sensor Pinout The sensor detects the accelerator position and sends a signal to the ecm. Accelerator pedal position sensor has two. Dive into the world of automotive electronics with our comprehensive guide on. I programmed the traqmate to. I used the app 1 sensor dark blue wire at the top of the accelerator pedal. Ecm checks the accelerator pedal position sensor output. Accelerator Pedal Position Sensor Pinout.
From www.corvetteforum.com
Accelerator Pedal Position Pinout CorvetteForum Chevrolet Corvette Accelerator Pedal Position Sensor Pinout Ecm checks the accelerator pedal position sensor output signal characteristics for abnormal conditions. The throttle lever is connected by cable to the accelerator pedal. The accelerator pedal position sensor (apps) detects accelerator pedal position. Dive into the world of automotive electronics with our comprehensive guide on. Accelerator pedal position sensor has two. I programmed the traqmate to. I used the. Accelerator Pedal Position Sensor Pinout.
From www.ebay.com
GM Accelerator Pedal Position APP Sensor 15145758 eBay Accelerator Pedal Position Sensor Pinout The throttle lever is connected by cable to the accelerator pedal. Ecm checks the accelerator pedal position sensor output signal characteristics for abnormal conditions. I used the app 1 sensor dark blue wire at the top of the accelerator pedal. The accelerator pedal position sensor (apps) detects accelerator pedal position. Accelerator pedal position sensor has two. The sensor detects the. Accelerator Pedal Position Sensor Pinout.
From www.picoauto.com
Accelerator pedal position sensor analog Accelerator Pedal Position Sensor Pinout The sensor detects the accelerator position and sends a signal to the ecm. Dive into the world of automotive electronics with our comprehensive guide on. The accelerator pedal position sensor (apps) detects accelerator pedal position. I programmed the traqmate to. The throttle lever is connected by cable to the accelerator pedal. Ecm checks the accelerator pedal position sensor output signal. Accelerator Pedal Position Sensor Pinout.
From projectopenletter.com
Accelerator Pedal Position Sensor Wiring Diagram Printable Form Accelerator Pedal Position Sensor Pinout I used the app 1 sensor dark blue wire at the top of the accelerator pedal. The throttle lever is connected by cable to the accelerator pedal. Accelerator pedal position sensor has two. Dive into the world of automotive electronics with our comprehensive guide on. Ecm checks the accelerator pedal position sensor output signal characteristics for abnormal conditions. The sensor. Accelerator Pedal Position Sensor Pinout.
From www.autozone.com
Repair Guides Components & Systems Accelerator Pedal Position Accelerator Pedal Position Sensor Pinout Ecm checks the accelerator pedal position sensor output signal characteristics for abnormal conditions. The sensor detects the accelerator position and sends a signal to the ecm. The throttle lever is connected by cable to the accelerator pedal. Accelerator pedal position sensor has two. I programmed the traqmate to. Dive into the world of automotive electronics with our comprehensive guide on.. Accelerator Pedal Position Sensor Pinout.
From www.reddit.com
Need to read an accelerator pedal position sensor and send to 2 engines Accelerator Pedal Position Sensor Pinout The accelerator pedal position sensor (apps) detects accelerator pedal position. Accelerator pedal position sensor has two. Ecm checks the accelerator pedal position sensor output signal characteristics for abnormal conditions. Dive into the world of automotive electronics with our comprehensive guide on. I programmed the traqmate to. The sensor detects the accelerator position and sends a signal to the ecm. The. Accelerator Pedal Position Sensor Pinout.
From properinspire.blogspot.com
Gm Accelerator Pedal Position Sensor Wiring Diagram properinspire Accelerator Pedal Position Sensor Pinout Dive into the world of automotive electronics with our comprehensive guide on. I programmed the traqmate to. Ecm checks the accelerator pedal position sensor output signal characteristics for abnormal conditions. Accelerator pedal position sensor has two. The sensor detects the accelerator position and sends a signal to the ecm. The accelerator pedal position sensor (apps) detects accelerator pedal position. I. Accelerator Pedal Position Sensor Pinout.
From manualengineschweitzer.z19.web.core.windows.net
6 Pin Accelerator Pedal Position Sensor Wiring Diagram Accelerator Pedal Position Sensor Pinout The throttle lever is connected by cable to the accelerator pedal. I programmed the traqmate to. The accelerator pedal position sensor (apps) detects accelerator pedal position. The sensor detects the accelerator position and sends a signal to the ecm. Dive into the world of automotive electronics with our comprehensive guide on. Accelerator pedal position sensor has two. Ecm checks the. Accelerator Pedal Position Sensor Pinout.
From inspirenetic.blogspot.com
Accelerator Pedal Position Sensor Wiring Diagram Accelerator Pedal Position Sensor Pinout The sensor detects the accelerator position and sends a signal to the ecm. I programmed the traqmate to. I used the app 1 sensor dark blue wire at the top of the accelerator pedal. Dive into the world of automotive electronics with our comprehensive guide on. Ecm checks the accelerator pedal position sensor output signal characteristics for abnormal conditions. The. Accelerator Pedal Position Sensor Pinout.
From circuitdblynne.z21.web.core.windows.net
Gm Accelerator Pedal Position Sensor Wiring Diagram Accelerator Pedal Position Sensor Pinout I programmed the traqmate to. The accelerator pedal position sensor (apps) detects accelerator pedal position. I used the app 1 sensor dark blue wire at the top of the accelerator pedal. Ecm checks the accelerator pedal position sensor output signal characteristics for abnormal conditions. The sensor detects the accelerator position and sends a signal to the ecm. Accelerator pedal position. Accelerator Pedal Position Sensor Pinout.
From www.efisolutions.com.au
Bosch Accelerator Pedal Position Sensor Accelerator Pedal Position Sensor Pinout Accelerator pedal position sensor has two. Ecm checks the accelerator pedal position sensor output signal characteristics for abnormal conditions. The accelerator pedal position sensor (apps) detects accelerator pedal position. Dive into the world of automotive electronics with our comprehensive guide on. The sensor detects the accelerator position and sends a signal to the ecm. The throttle lever is connected by. Accelerator Pedal Position Sensor Pinout.
From lace-kit.blogspot.com
6 pin accelerator pedal position sensor wiring diagram Lace Kit Accelerator Pedal Position Sensor Pinout Ecm checks the accelerator pedal position sensor output signal characteristics for abnormal conditions. The sensor detects the accelerator position and sends a signal to the ecm. Dive into the world of automotive electronics with our comprehensive guide on. Accelerator pedal position sensor has two. I used the app 1 sensor dark blue wire at the top of the accelerator pedal.. Accelerator Pedal Position Sensor Pinout.
From www.millsupply.com
Accelerator Pedal Position Sensor Mill Supply, Inc. Accelerator Pedal Position Sensor Pinout Dive into the world of automotive electronics with our comprehensive guide on. The throttle lever is connected by cable to the accelerator pedal. Ecm checks the accelerator pedal position sensor output signal characteristics for abnormal conditions. I used the app 1 sensor dark blue wire at the top of the accelerator pedal. The accelerator pedal position sensor (apps) detects accelerator. Accelerator Pedal Position Sensor Pinout.
From www.diagramboard.com
6 pin throttle position sensor wiring diagram Diagram Board Accelerator Pedal Position Sensor Pinout The sensor detects the accelerator position and sends a signal to the ecm. I programmed the traqmate to. Accelerator pedal position sensor has two. The accelerator pedal position sensor (apps) detects accelerator pedal position. Dive into the world of automotive electronics with our comprehensive guide on. I used the app 1 sensor dark blue wire at the top of the. Accelerator Pedal Position Sensor Pinout.
From www.youtube.com
How Does Accelerator Pedal Position Sensor/ App sensor Communicate With Accelerator Pedal Position Sensor Pinout The sensor detects the accelerator position and sends a signal to the ecm. Ecm checks the accelerator pedal position sensor output signal characteristics for abnormal conditions. Accelerator pedal position sensor has two. I programmed the traqmate to. The throttle lever is connected by cable to the accelerator pedal. Dive into the world of automotive electronics with our comprehensive guide on.. Accelerator Pedal Position Sensor Pinout.
From www.nzefi.com
GM / VF Holden Commodore Accelerator Pedal Position Sensor Connector Accelerator Pedal Position Sensor Pinout Dive into the world of automotive electronics with our comprehensive guide on. Accelerator pedal position sensor has two. The sensor detects the accelerator position and sends a signal to the ecm. The accelerator pedal position sensor (apps) detects accelerator pedal position. I programmed the traqmate to. Ecm checks the accelerator pedal position sensor output signal characteristics for abnormal conditions. I. Accelerator Pedal Position Sensor Pinout.
From www.corvetteforum.com
Accelerator Pedal Position Pinout CorvetteForum Chevrolet Corvette Accelerator Pedal Position Sensor Pinout The throttle lever is connected by cable to the accelerator pedal. I used the app 1 sensor dark blue wire at the top of the accelerator pedal. The accelerator pedal position sensor (apps) detects accelerator pedal position. The sensor detects the accelerator position and sends a signal to the ecm. Ecm checks the accelerator pedal position sensor output signal characteristics. Accelerator Pedal Position Sensor Pinout.
From www.autozone.com
Repair Guides Components & Systems Accelerator Pedal Position Accelerator Pedal Position Sensor Pinout Accelerator pedal position sensor has two. The throttle lever is connected by cable to the accelerator pedal. Dive into the world of automotive electronics with our comprehensive guide on. The accelerator pedal position sensor (apps) detects accelerator pedal position. The sensor detects the accelerator position and sends a signal to the ecm. I used the app 1 sensor dark blue. Accelerator Pedal Position Sensor Pinout.