Magnetic Therapy Really Work . Some researchers claim to have shown that magnets can ease period pains, lift depression and cure aching joints. It may also help treat certain. Magnetic therapy using static magnets involves placing magnets near or on the body for the purpose of pain relief or healing. Despite the popularity of magnetic bracelets, science has largely disproven the effectiveness of such magnets in treating chronic pain, inflammation, disease, and. Pemf therapy works by directing small amounts of energy toward a specific part of your body via a specialized magnetic device. The application of electromagnetic fields. Magnetic therapy involves applying a magnetic field to the body to relieve pain and speed up the healing process. Magnetic field therapy uses different kinds of magnets on the body to help boost your overall health. Static magnets marketed for pain are often encased in a wrap, such as a. Transcranial magnetic stimulation (tms) is a procedure that uses magnetic fields to stimulate nerve cells in the brain to improve symptoms of major depression.
from www.google.com
Pemf therapy works by directing small amounts of energy toward a specific part of your body via a specialized magnetic device. It may also help treat certain. Some researchers claim to have shown that magnets can ease period pains, lift depression and cure aching joints. Magnetic field therapy uses different kinds of magnets on the body to help boost your overall health. The application of electromagnetic fields. Static magnets marketed for pain are often encased in a wrap, such as a. Magnetic therapy involves applying a magnetic field to the body to relieve pain and speed up the healing process. Magnetic therapy using static magnets involves placing magnets near or on the body for the purpose of pain relief or healing. Despite the popularity of magnetic bracelets, science has largely disproven the effectiveness of such magnets in treating chronic pain, inflammation, disease, and. Transcranial magnetic stimulation (tms) is a procedure that uses magnetic fields to stimulate nerve cells in the brain to improve symptoms of major depression.
Patent US6001055 therapy device Google Patents
Magnetic Therapy Really Work Despite the popularity of magnetic bracelets, science has largely disproven the effectiveness of such magnets in treating chronic pain, inflammation, disease, and. Magnetic field therapy uses different kinds of magnets on the body to help boost your overall health. The application of electromagnetic fields. Pemf therapy works by directing small amounts of energy toward a specific part of your body via a specialized magnetic device. Despite the popularity of magnetic bracelets, science has largely disproven the effectiveness of such magnets in treating chronic pain, inflammation, disease, and. Static magnets marketed for pain are often encased in a wrap, such as a. Magnetic therapy involves applying a magnetic field to the body to relieve pain and speed up the healing process. It may also help treat certain. Transcranial magnetic stimulation (tms) is a procedure that uses magnetic fields to stimulate nerve cells in the brain to improve symptoms of major depression. Magnetic therapy using static magnets involves placing magnets near or on the body for the purpose of pain relief or healing. Some researchers claim to have shown that magnets can ease period pains, lift depression and cure aching joints.
From www.google.com
Patent US6001055 therapy device Google Patents Magnetic Therapy Really Work Despite the popularity of magnetic bracelets, science has largely disproven the effectiveness of such magnets in treating chronic pain, inflammation, disease, and. It may also help treat certain. Magnetic therapy involves applying a magnetic field to the body to relieve pain and speed up the healing process. Pemf therapy works by directing small amounts of energy toward a specific part. Magnetic Therapy Really Work.
From allnaturalideas.com
Health and Healing Using Therapy All Natural Ideas Magnetic Therapy Really Work Magnetic therapy involves applying a magnetic field to the body to relieve pain and speed up the healing process. Despite the popularity of magnetic bracelets, science has largely disproven the effectiveness of such magnets in treating chronic pain, inflammation, disease, and. Magnetic therapy using static magnets involves placing magnets near or on the body for the purpose of pain relief. Magnetic Therapy Really Work.
From www.blackdoginstitute.org.au
What is Transcranial Stimulation treatment for depression Magnetic Therapy Really Work Pemf therapy works by directing small amounts of energy toward a specific part of your body via a specialized magnetic device. Transcranial magnetic stimulation (tms) is a procedure that uses magnetic fields to stimulate nerve cells in the brain to improve symptoms of major depression. Magnetic therapy involves applying a magnetic field to the body to relieve pain and speed. Magnetic Therapy Really Work.
From coursegate.co.uk
Diploma in Therapy Healing Course Gate Magnetic Therapy Really Work It may also help treat certain. Transcranial magnetic stimulation (tms) is a procedure that uses magnetic fields to stimulate nerve cells in the brain to improve symptoms of major depression. Magnetic therapy involves applying a magnetic field to the body to relieve pain and speed up the healing process. Static magnets marketed for pain are often encased in a wrap,. Magnetic Therapy Really Work.
From www.alibaba.com
Portable Pemf Therapy Device Pmst Loop Human Pain Relief Magnetic Therapy Really Work Magnetic therapy involves applying a magnetic field to the body to relieve pain and speed up the healing process. Transcranial magnetic stimulation (tms) is a procedure that uses magnetic fields to stimulate nerve cells in the brain to improve symptoms of major depression. Static magnets marketed for pain are often encased in a wrap, such as a. Magnetic therapy using. Magnetic Therapy Really Work.
From www.aliexpress.com
Therapy Health Materials from Home Magnetic Therapy Really Work Magnetic field therapy uses different kinds of magnets on the body to help boost your overall health. Transcranial magnetic stimulation (tms) is a procedure that uses magnetic fields to stimulate nerve cells in the brain to improve symptoms of major depression. Static magnets marketed for pain are often encased in a wrap, such as a. Pemf therapy works by directing. Magnetic Therapy Really Work.
From www.amazon.ca
Therapy Earrings for Girls (Gold+Silver) Amazon.ca Health Magnetic Therapy Really Work Magnetic therapy using static magnets involves placing magnets near or on the body for the purpose of pain relief or healing. Pemf therapy works by directing small amounts of energy toward a specific part of your body via a specialized magnetic device. Transcranial magnetic stimulation (tms) is a procedure that uses magnetic fields to stimulate nerve cells in the brain. Magnetic Therapy Really Work.
From stock.adobe.com
therapy thin line icons set. Alternative Magnetic Therapy Really Work It may also help treat certain. Magnetic therapy involves applying a magnetic field to the body to relieve pain and speed up the healing process. Magnetic field therapy uses different kinds of magnets on the body to help boost your overall health. Pemf therapy works by directing small amounts of energy toward a specific part of your body via a. Magnetic Therapy Really Work.
From www.alibaba.com
Premium Quality Multifunction Therapy Devices Magnetic Therapy Really Work Static magnets marketed for pain are often encased in a wrap, such as a. Magnetic field therapy uses different kinds of magnets on the body to help boost your overall health. It may also help treat certain. Despite the popularity of magnetic bracelets, science has largely disproven the effectiveness of such magnets in treating chronic pain, inflammation, disease, and. The. Magnetic Therapy Really Work.
From stock.adobe.com
Physical Therapy Aid Icon Vector. Therapy Device And Laser Magnetic Therapy Really Work Magnetic therapy involves applying a magnetic field to the body to relieve pain and speed up the healing process. The application of electromagnetic fields. Despite the popularity of magnetic bracelets, science has largely disproven the effectiveness of such magnets in treating chronic pain, inflammation, disease, and. Transcranial magnetic stimulation (tms) is a procedure that uses magnetic fields to stimulate nerve. Magnetic Therapy Really Work.
From www.necksolutions.com
Therapy Using For Healing & Pain Relief Magnetic Therapy Really Work Despite the popularity of magnetic bracelets, science has largely disproven the effectiveness of such magnets in treating chronic pain, inflammation, disease, and. Transcranial magnetic stimulation (tms) is a procedure that uses magnetic fields to stimulate nerve cells in the brain to improve symptoms of major depression. The application of electromagnetic fields. Some researchers claim to have shown that magnets can. Magnetic Therapy Really Work.
From www.alibaba.com
430mt Electrotherapy & Therapy Cerebral Circulation Magnetic Therapy Really Work Despite the popularity of magnetic bracelets, science has largely disproven the effectiveness of such magnets in treating chronic pain, inflammation, disease, and. Transcranial magnetic stimulation (tms) is a procedure that uses magnetic fields to stimulate nerve cells in the brain to improve symptoms of major depression. Magnetic field therapy uses different kinds of magnets on the body to help boost. Magnetic Therapy Really Work.
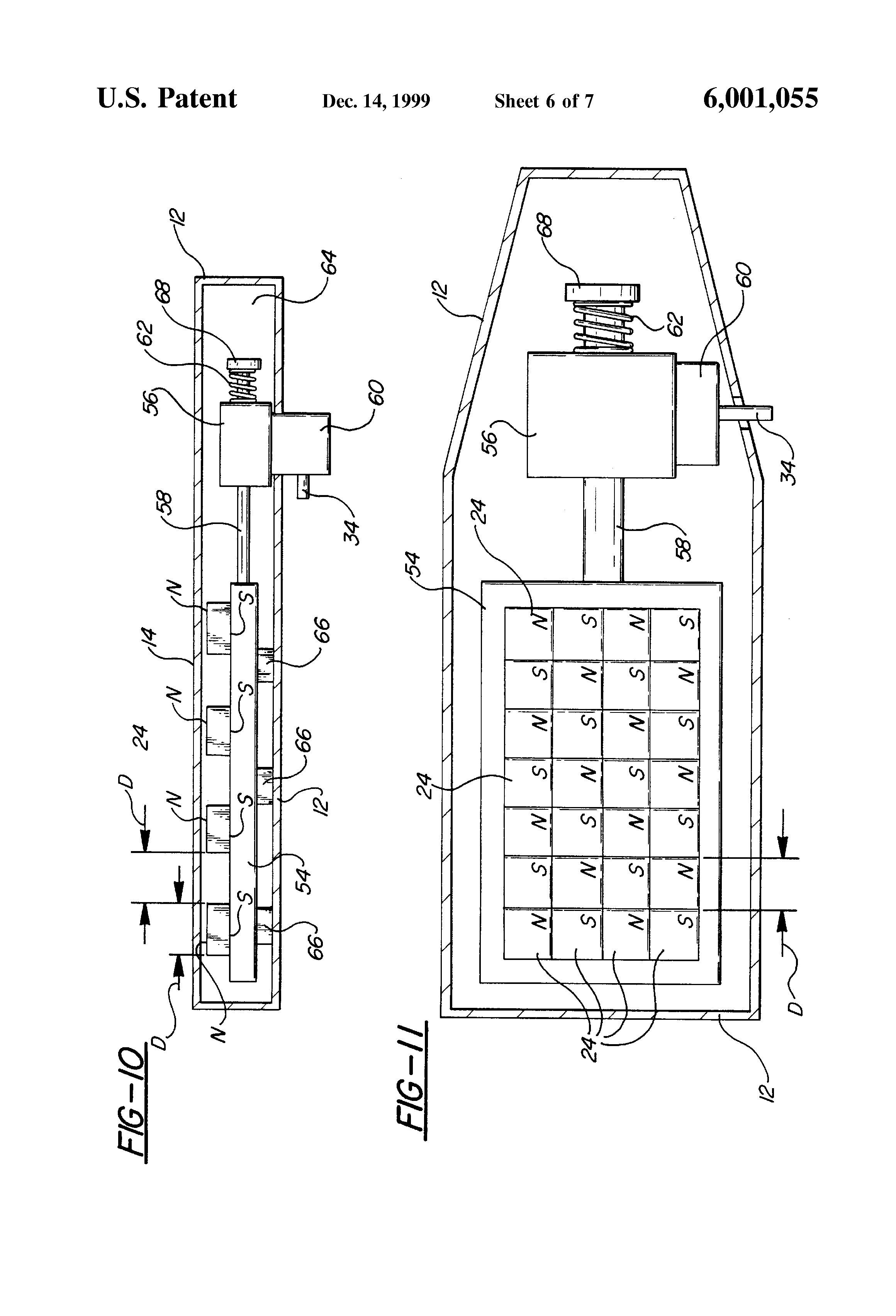
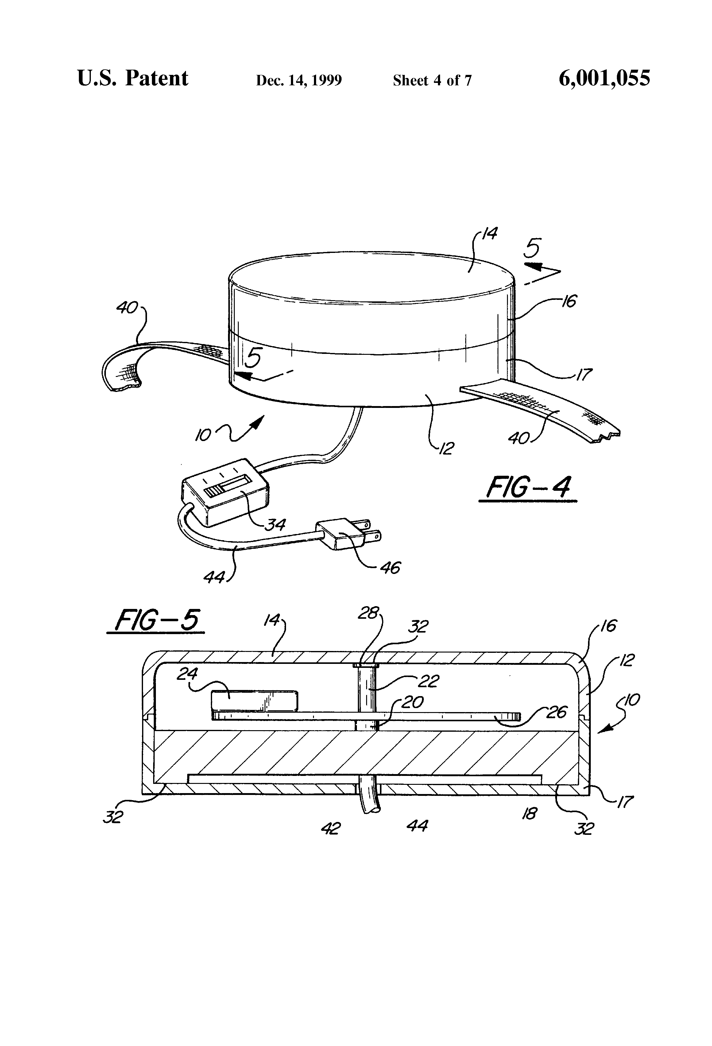
From www.google.com
Patent US6001055 therapy device Google Patents Magnetic Therapy Really Work The application of electromagnetic fields. Transcranial magnetic stimulation (tms) is a procedure that uses magnetic fields to stimulate nerve cells in the brain to improve symptoms of major depression. Static magnets marketed for pain are often encased in a wrap, such as a. It may also help treat certain. Magnetic therapy using static magnets involves placing magnets near or on. Magnetic Therapy Really Work.
From www.columbian.com
treatment takes on depression The Columbian Magnetic Therapy Really Work It may also help treat certain. Some researchers claim to have shown that magnets can ease period pains, lift depression and cure aching joints. Magnetic field therapy uses different kinds of magnets on the body to help boost your overall health. Despite the popularity of magnetic bracelets, science has largely disproven the effectiveness of such magnets in treating chronic pain,. Magnetic Therapy Really Work.
From www.amazon.com.au
Therapy Spot Kit Ultra Strength Healing Magnetic Therapy Really Work Magnetic field therapy uses different kinds of magnets on the body to help boost your overall health. Magnetic therapy involves applying a magnetic field to the body to relieve pain and speed up the healing process. Despite the popularity of magnetic bracelets, science has largely disproven the effectiveness of such magnets in treating chronic pain, inflammation, disease, and. The application. Magnetic Therapy Really Work.
From www.ebay.com
PEMF Therapy Device AMT 01 eBay Magnetic Therapy Really Work Magnetic therapy involves applying a magnetic field to the body to relieve pain and speed up the healing process. Transcranial magnetic stimulation (tms) is a procedure that uses magnetic fields to stimulate nerve cells in the brain to improve symptoms of major depression. Magnetic therapy using static magnets involves placing magnets near or on the body for the purpose of. Magnetic Therapy Really Work.
From qmagnets.com
"Q Therapy Shop Therapeutic for Sale Magnetic Therapy Really Work It may also help treat certain. Magnetic therapy using static magnets involves placing magnets near or on the body for the purpose of pain relief or healing. Magnetic therapy involves applying a magnetic field to the body to relieve pain and speed up the healing process. Transcranial magnetic stimulation (tms) is a procedure that uses magnetic fields to stimulate nerve. Magnetic Therapy Really Work.
From alternativemedicinenow.com
Does Therapy Work? Alternative Medicine Now Magnetic Therapy Really Work It may also help treat certain. Pemf therapy works by directing small amounts of energy toward a specific part of your body via a specialized magnetic device. The application of electromagnetic fields. Despite the popularity of magnetic bracelets, science has largely disproven the effectiveness of such magnets in treating chronic pain, inflammation, disease, and. Transcranial magnetic stimulation (tms) is a. Magnetic Therapy Really Work.
From dir.indiamart.com
Therapy, Therapy in India Magnetic Therapy Really Work Magnetic therapy using static magnets involves placing magnets near or on the body for the purpose of pain relief or healing. Transcranial magnetic stimulation (tms) is a procedure that uses magnetic fields to stimulate nerve cells in the brain to improve symptoms of major depression. Magnetic therapy involves applying a magnetic field to the body to relieve pain and speed. Magnetic Therapy Really Work.
From fmbs.co.uk
STATIC THERAPY FMBS Therapy Systems Magnetic Therapy Really Work Transcranial magnetic stimulation (tms) is a procedure that uses magnetic fields to stimulate nerve cells in the brain to improve symptoms of major depression. Magnetic therapy involves applying a magnetic field to the body to relieve pain and speed up the healing process. Static magnets marketed for pain are often encased in a wrap, such as a. Some researchers claim. Magnetic Therapy Really Work.
From www.nj.com
RowanSOM professor administers pulse therapy to treat Magnetic Therapy Really Work Pemf therapy works by directing small amounts of energy toward a specific part of your body via a specialized magnetic device. Despite the popularity of magnetic bracelets, science has largely disproven the effectiveness of such magnets in treating chronic pain, inflammation, disease, and. Transcranial magnetic stimulation (tms) is a procedure that uses magnetic fields to stimulate nerve cells in the. Magnetic Therapy Really Work.
From www.brainsway.com
Therapy For Depression BrainsWay Deep TMS Magnetic Therapy Really Work Magnetic field therapy uses different kinds of magnets on the body to help boost your overall health. Magnetic therapy using static magnets involves placing magnets near or on the body for the purpose of pain relief or healing. Static magnets marketed for pain are often encased in a wrap, such as a. Despite the popularity of magnetic bracelets, science has. Magnetic Therapy Really Work.
From www.medicalexpo.com
therapy unit MAGNUM 2 PRO DRIVE Globus Corporation hand Magnetic Therapy Really Work Transcranial magnetic stimulation (tms) is a procedure that uses magnetic fields to stimulate nerve cells in the brain to improve symptoms of major depression. It may also help treat certain. Some researchers claim to have shown that magnets can ease period pains, lift depression and cure aching joints. Despite the popularity of magnetic bracelets, science has largely disproven the effectiveness. Magnetic Therapy Really Work.
From www.newangie.com
Field Therapy Machines Buy field therapy machines Magnetic Therapy Really Work It may also help treat certain. Some researchers claim to have shown that magnets can ease period pains, lift depression and cure aching joints. Magnetic field therapy uses different kinds of magnets on the body to help boost your overall health. Magnetic therapy using static magnets involves placing magnets near or on the body for the purpose of pain relief. Magnetic Therapy Really Work.
From magazine.washington.edu
therapy could help some patients with depression UW Magazine Magnetic Therapy Really Work Magnetic field therapy uses different kinds of magnets on the body to help boost your overall health. Some researchers claim to have shown that magnets can ease period pains, lift depression and cure aching joints. Magnetic therapy using static magnets involves placing magnets near or on the body for the purpose of pain relief or healing. Static magnets marketed for. Magnetic Therapy Really Work.
From breedingbusiness.com
Therapy for Dogs Review, Procedure, Price, Pros & Cons Magnetic Therapy Really Work It may also help treat certain. Despite the popularity of magnetic bracelets, science has largely disproven the effectiveness of such magnets in treating chronic pain, inflammation, disease, and. Transcranial magnetic stimulation (tms) is a procedure that uses magnetic fields to stimulate nerve cells in the brain to improve symptoms of major depression. Pemf therapy works by directing small amounts of. Magnetic Therapy Really Work.
From www.issuewire.com
Most Powerful Therapeutic for Pain Relief developed by Magnetic Therapy Really Work Some researchers claim to have shown that magnets can ease period pains, lift depression and cure aching joints. Despite the popularity of magnetic bracelets, science has largely disproven the effectiveness of such magnets in treating chronic pain, inflammation, disease, and. It may also help treat certain. Magnetic therapy involves applying a magnetic field to the body to relieve pain and. Magnetic Therapy Really Work.
From www.cbsnews.com
therapy tumortreating fields show promise for patients Magnetic Therapy Really Work Magnetic therapy using static magnets involves placing magnets near or on the body for the purpose of pain relief or healing. The application of electromagnetic fields. Pemf therapy works by directing small amounts of energy toward a specific part of your body via a specialized magnetic device. Transcranial magnetic stimulation (tms) is a procedure that uses magnetic fields to stimulate. Magnetic Therapy Really Work.
From www.amazon.com.au
Therapy Spot Kit for Pain Relief Arthritis Relief and Magnetic Therapy Really Work Magnetic therapy involves applying a magnetic field to the body to relieve pain and speed up the healing process. Pemf therapy works by directing small amounts of energy toward a specific part of your body via a specialized magnetic device. It may also help treat certain. Despite the popularity of magnetic bracelets, science has largely disproven the effectiveness of such. Magnetic Therapy Really Work.
From www.ebay.com
HOMEDICS Thera P Therapy 20 Arthritis Mitt Magnetic Therapy Really Work Static magnets marketed for pain are often encased in a wrap, such as a. Transcranial magnetic stimulation (tms) is a procedure that uses magnetic fields to stimulate nerve cells in the brain to improve symptoms of major depression. Magnetic therapy using static magnets involves placing magnets near or on the body for the purpose of pain relief or healing. Pemf. Magnetic Therapy Really Work.
From breedingbusiness.com
Therapy for Dogs Review, Procedure, Price, Pros & Cons Magnetic Therapy Really Work Some researchers claim to have shown that magnets can ease period pains, lift depression and cure aching joints. It may also help treat certain. Pemf therapy works by directing small amounts of energy toward a specific part of your body via a specialized magnetic device. The application of electromagnetic fields. Magnetic field therapy uses different kinds of magnets on the. Magnetic Therapy Really Work.
From qmagnets.com
Therapy A Guide to Effective Therapy Magnetic Therapy Really Work Magnetic therapy involves applying a magnetic field to the body to relieve pain and speed up the healing process. Pemf therapy works by directing small amounts of energy toward a specific part of your body via a specialized magnetic device. It may also help treat certain. The application of electromagnetic fields. Magnetic therapy using static magnets involves placing magnets near. Magnetic Therapy Really Work.
From hellogiggles.com
What Is Therapy?HelloGiggles Magnetic Therapy Really Work Magnetic field therapy uses different kinds of magnets on the body to help boost your overall health. Magnetic therapy using static magnets involves placing magnets near or on the body for the purpose of pain relief or healing. Static magnets marketed for pain are often encased in a wrap, such as a. Pemf therapy works by directing small amounts of. Magnetic Therapy Really Work.
From www.goodreads.com
Therapy Healing in Your Hands by Abbot Burke Magnetic Therapy Really Work The application of electromagnetic fields. Static magnets marketed for pain are often encased in a wrap, such as a. Transcranial magnetic stimulation (tms) is a procedure that uses magnetic fields to stimulate nerve cells in the brain to improve symptoms of major depression. Magnetic therapy using static magnets involves placing magnets near or on the body for the purpose of. Magnetic Therapy Really Work.
From stock.adobe.com
therapy device line icon vector. therapy device sign Magnetic Therapy Really Work Transcranial magnetic stimulation (tms) is a procedure that uses magnetic fields to stimulate nerve cells in the brain to improve symptoms of major depression. Static magnets marketed for pain are often encased in a wrap, such as a. Magnetic therapy involves applying a magnetic field to the body to relieve pain and speed up the healing process. It may also. Magnetic Therapy Really Work.