An 8-Bit A/D Converter Has . No external components are required to perform a conversion. Find the output (in decimal) if the input is (a) 6.42 v (b). The ad673 interfaces to many. First, we need to determine the resolution of the a/d converter. Learn how to build an analog to digital converter using the same simple technique explained in this page. Through this article, i am going to explain. Given an analog input voltage of 2.5v,.
from www.ebay.com
Given an analog input voltage of 2.5v,. Learn how to build an analog to digital converter using the same simple technique explained in this page. No external components are required to perform a conversion. The ad673 interfaces to many. Find the output (in decimal) if the input is (a) 6.42 v (b). First, we need to determine the resolution of the a/d converter. Through this article, i am going to explain.
1 x MAX150BCWP CMOS High Speed 8Bit A/D Converter with Refr Maxim SO
An 8-Bit A/D Converter Has No external components are required to perform a conversion. First, we need to determine the resolution of the a/d converter. No external components are required to perform a conversion. Find the output (in decimal) if the input is (a) 6.42 v (b). Given an analog input voltage of 2.5v,. Learn how to build an analog to digital converter using the same simple technique explained in this page. Through this article, i am going to explain. The ad673 interfaces to many.
From www.chegg.com
Solved If an 8bit A/D converter with a 0 to 10 V voltage An 8-Bit A/D Converter Has Learn how to build an analog to digital converter using the same simple technique explained in this page. No external components are required to perform a conversion. First, we need to determine the resolution of the a/d converter. The ad673 interfaces to many. Find the output (in decimal) if the input is (a) 6.42 v (b). Given an analog input. An 8-Bit A/D Converter Has.
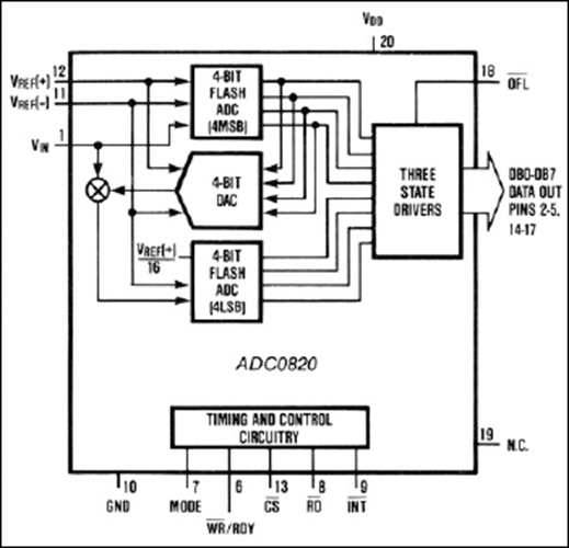
From www.analog.com
ADC0820 CMOS HighSpeed 8Bit A/D Converter with Track/Hold Function An 8-Bit A/D Converter Has Learn how to build an analog to digital converter using the same simple technique explained in this page. No external components are required to perform a conversion. Through this article, i am going to explain. First, we need to determine the resolution of the a/d converter. Given an analog input voltage of 2.5v,. The ad673 interfaces to many. Find the. An 8-Bit A/D Converter Has.
From www.chegg.com
Solved 1. An 8bit A/D converter has an input range of An 8-Bit A/D Converter Has No external components are required to perform a conversion. First, we need to determine the resolution of the a/d converter. Find the output (in decimal) if the input is (a) 6.42 v (b). Through this article, i am going to explain. The ad673 interfaces to many. Given an analog input voltage of 2.5v,. Learn how to build an analog to. An 8-Bit A/D Converter Has.
From www.parallax.com
ADC0831 8Bit A/D Converter DIP Parallax An 8-Bit A/D Converter Has Through this article, i am going to explain. Given an analog input voltage of 2.5v,. Find the output (in decimal) if the input is (a) 6.42 v (b). The ad673 interfaces to many. Learn how to build an analog to digital converter using the same simple technique explained in this page. No external components are required to perform a conversion.. An 8-Bit A/D Converter Has.
From www.geekbuying.com
A/D Converter & D/A Converter Module with I2C Interface / 8bit An 8-Bit A/D Converter Has The ad673 interfaces to many. First, we need to determine the resolution of the a/d converter. Learn how to build an analog to digital converter using the same simple technique explained in this page. Given an analog input voltage of 2.5v,. No external components are required to perform a conversion. Through this article, i am going to explain. Find the. An 8-Bit A/D Converter Has.
From cherryelectronics.in
ADC0808 8Bit A/D Converter with 8Channel Multiplexer IC DIP28 An 8-Bit A/D Converter Has First, we need to determine the resolution of the a/d converter. No external components are required to perform a conversion. The ad673 interfaces to many. Given an analog input voltage of 2.5v,. Through this article, i am going to explain. Learn how to build an analog to digital converter using the same simple technique explained in this page. Find the. An 8-Bit A/D Converter Has.
From semiconductors.es
MB40178 Datasheet (MB40168) Single Chip 8Bit A/D and 9Bit D/A Converter An 8-Bit A/D Converter Has Given an analog input voltage of 2.5v,. Through this article, i am going to explain. The ad673 interfaces to many. Learn how to build an analog to digital converter using the same simple technique explained in this page. First, we need to determine the resolution of the a/d converter. Find the output (in decimal) if the input is (a) 6.42. An 8-Bit A/D Converter Has.
From www.semanticscholar.org
Figure 1 from A single chip allMOS 8bit A/D converter Semantic Scholar An 8-Bit A/D Converter Has Through this article, i am going to explain. Given an analog input voltage of 2.5v,. No external components are required to perform a conversion. Learn how to build an analog to digital converter using the same simple technique explained in this page. First, we need to determine the resolution of the a/d converter. Find the output (in decimal) if the. An 8-Bit A/D Converter Has.
From www.coursehero.com
[Solved] An 8bit A/D converter has Vref = 2 V and Vref+ = 4 V. a) If An 8-Bit A/D Converter Has Learn how to build an analog to digital converter using the same simple technique explained in this page. The ad673 interfaces to many. Given an analog input voltage of 2.5v,. First, we need to determine the resolution of the a/d converter. Find the output (in decimal) if the input is (a) 6.42 v (b). No external components are required to. An 8-Bit A/D Converter Has.
From store.fut-electronics.com
ADC0804LCN (8bit A/D Converter ) Future Electronics Egypt An 8-Bit A/D Converter Has Find the output (in decimal) if the input is (a) 6.42 v (b). Given an analog input voltage of 2.5v,. First, we need to determine the resolution of the a/d converter. Learn how to build an analog to digital converter using the same simple technique explained in this page. No external components are required to perform a conversion. Through this. An 8-Bit A/D Converter Has.
From www.geekbuying.com
A/D Converter & D/A Converter Module with I2C Interface / 8bit An 8-Bit A/D Converter Has First, we need to determine the resolution of the a/d converter. Given an analog input voltage of 2.5v,. Learn how to build an analog to digital converter using the same simple technique explained in this page. Through this article, i am going to explain. No external components are required to perform a conversion. Find the output (in decimal) if the. An 8-Bit A/D Converter Has.
From robomart.com
Buy online PCF8591 8bit A/D D/A converter An 8-Bit A/D Converter Has The ad673 interfaces to many. Find the output (in decimal) if the input is (a) 6.42 v (b). Given an analog input voltage of 2.5v,. Learn how to build an analog to digital converter using the same simple technique explained in this page. Through this article, i am going to explain. No external components are required to perform a conversion.. An 8-Bit A/D Converter Has.
From www.bdtronics.com
ADC0820CCN+ Analog to Digital Converters ADC CMOS HighSpeed 8Bit A An 8-Bit A/D Converter Has Learn how to build an analog to digital converter using the same simple technique explained in this page. First, we need to determine the resolution of the a/d converter. No external components are required to perform a conversion. Through this article, i am going to explain. Find the output (in decimal) if the input is (a) 6.42 v (b). The. An 8-Bit A/D Converter Has.
From www.hnhcart.com
Buy ADC0809CCN 8 Bit A/D Converter with DIP28 Package at An 8-Bit A/D Converter Has First, we need to determine the resolution of the a/d converter. No external components are required to perform a conversion. Learn how to build an analog to digital converter using the same simple technique explained in this page. Through this article, i am going to explain. Given an analog input voltage of 2.5v,. Find the output (in decimal) if the. An 8-Bit A/D Converter Has.
From www.chegg.com
Solved For the twostep 8bit A/D converter shown in Fig An 8-Bit A/D Converter Has Given an analog input voltage of 2.5v,. No external components are required to perform a conversion. The ad673 interfaces to many. First, we need to determine the resolution of the a/d converter. Find the output (in decimal) if the input is (a) 6.42 v (b). Through this article, i am going to explain. Learn how to build an analog to. An 8-Bit A/D Converter Has.
From www.semanticscholar.org
A singlechip 8bit A/D converter Semantic Scholar An 8-Bit A/D Converter Has Through this article, i am going to explain. The ad673 interfaces to many. Given an analog input voltage of 2.5v,. Find the output (in decimal) if the input is (a) 6.42 v (b). No external components are required to perform a conversion. First, we need to determine the resolution of the a/d converter. Learn how to build an analog to. An 8-Bit A/D Converter Has.
From www.chegg.com
Solved 1 / 2 2) An 8bit A/D converter has a reference An 8-Bit A/D Converter Has Find the output (in decimal) if the input is (a) 6.42 v (b). Learn how to build an analog to digital converter using the same simple technique explained in this page. Through this article, i am going to explain. The ad673 interfaces to many. No external components are required to perform a conversion. Given an analog input voltage of 2.5v,.. An 8-Bit A/D Converter Has.
From www.elexp.com
8bit A D Converter Electronix Express An 8-Bit A/D Converter Has The ad673 interfaces to many. Given an analog input voltage of 2.5v,. Through this article, i am going to explain. Learn how to build an analog to digital converter using the same simple technique explained in this page. Find the output (in decimal) if the input is (a) 6.42 v (b). First, we need to determine the resolution of the. An 8-Bit A/D Converter Has.
From www.youtube.com
8bit A/Dconverter met ADC0804 YouTube An 8-Bit A/D Converter Has Given an analog input voltage of 2.5v,. First, we need to determine the resolution of the a/d converter. Through this article, i am going to explain. No external components are required to perform a conversion. The ad673 interfaces to many. Learn how to build an analog to digital converter using the same simple technique explained in this page. Find the. An 8-Bit A/D Converter Has.
From www.chegg.com
Solved 1. An 8bit A/D converter has a reference voltage of An 8-Bit A/D Converter Has Find the output (in decimal) if the input is (a) 6.42 v (b). No external components are required to perform a conversion. The ad673 interfaces to many. Learn how to build an analog to digital converter using the same simple technique explained in this page. Through this article, i am going to explain. First, we need to determine the resolution. An 8-Bit A/D Converter Has.
From www.geekbuying.com
A/D Converter & D/A Converter Module with I2C Interface / 8bit An 8-Bit A/D Converter Has No external components are required to perform a conversion. Through this article, i am going to explain. Given an analog input voltage of 2.5v,. First, we need to determine the resolution of the a/d converter. The ad673 interfaces to many. Learn how to build an analog to digital converter using the same simple technique explained in this page. Find the. An 8-Bit A/D Converter Has.
From www.circuits-diy.com
ADC0820CCN 8bit A/D Converter with Track/Hold Datasheet An 8-Bit A/D Converter Has No external components are required to perform a conversion. Given an analog input voltage of 2.5v,. The ad673 interfaces to many. Through this article, i am going to explain. Find the output (in decimal) if the input is (a) 6.42 v (b). Learn how to build an analog to digital converter using the same simple technique explained in this page.. An 8-Bit A/D Converter Has.
From www.chegg.com
Solved Question 17 0 out of 4 points An 8bit A/D converter An 8-Bit A/D Converter Has First, we need to determine the resolution of the a/d converter. Through this article, i am going to explain. No external components are required to perform a conversion. Learn how to build an analog to digital converter using the same simple technique explained in this page. Given an analog input voltage of 2.5v,. The ad673 interfaces to many. Find the. An 8-Bit A/D Converter Has.
From udvabony.com
ADC0808 Analog To Digital Converter IC 8Bit A/D Converter An 8-Bit A/D Converter Has First, we need to determine the resolution of the a/d converter. Learn how to build an analog to digital converter using the same simple technique explained in this page. No external components are required to perform a conversion. The ad673 interfaces to many. Find the output (in decimal) if the input is (a) 6.42 v (b). Through this article, i. An 8-Bit A/D Converter Has.
From www.semanticscholar.org
Figure 7 from Design of an 8bit 100 KSPS 1 mW CMOS A/D converter for An 8-Bit A/D Converter Has The ad673 interfaces to many. Find the output (in decimal) if the input is (a) 6.42 v (b). Through this article, i am going to explain. Given an analog input voltage of 2.5v,. No external components are required to perform a conversion. Learn how to build an analog to digital converter using the same simple technique explained in this page.. An 8-Bit A/D Converter Has.
From www.chegg.com
Solved If an 8bit A/D converter with a 0 to 10 V voltage An 8-Bit A/D Converter Has Learn how to build an analog to digital converter using the same simple technique explained in this page. Find the output (in decimal) if the input is (a) 6.42 v (b). Given an analog input voltage of 2.5v,. No external components are required to perform a conversion. The ad673 interfaces to many. Through this article, i am going to explain.. An 8-Bit A/D Converter Has.
From www.chegg.com
Solved An 8 bit A/D converter has an input range of 010v An 8-Bit A/D Converter Has Given an analog input voltage of 2.5v,. Find the output (in decimal) if the input is (a) 6.42 v (b). The ad673 interfaces to many. No external components are required to perform a conversion. Learn how to build an analog to digital converter using the same simple technique explained in this page. First, we need to determine the resolution of. An 8-Bit A/D Converter Has.
From www.semanticscholar.org
Figure 2.1 from An 8bit 150MHz CMOS A/D converter Semantic Scholar An 8-Bit A/D Converter Has The ad673 interfaces to many. Through this article, i am going to explain. Given an analog input voltage of 2.5v,. First, we need to determine the resolution of the a/d converter. Find the output (in decimal) if the input is (a) 6.42 v (b). Learn how to build an analog to digital converter using the same simple technique explained in. An 8-Bit A/D Converter Has.
From www.hnhcart.com
Buy ADC0809CCN 8 Bit A/D Converter with DIP28 Package at An 8-Bit A/D Converter Has First, we need to determine the resolution of the a/d converter. Learn how to build an analog to digital converter using the same simple technique explained in this page. Through this article, i am going to explain. Given an analog input voltage of 2.5v,. The ad673 interfaces to many. Find the output (in decimal) if the input is (a) 6.42. An 8-Bit A/D Converter Has.
From www.electronicscomp.com
ADC0809 IC 8Bit A/D Converter with 8Channel Multiplexer IC buy An 8-Bit A/D Converter Has Through this article, i am going to explain. The ad673 interfaces to many. Learn how to build an analog to digital converter using the same simple technique explained in this page. Find the output (in decimal) if the input is (a) 6.42 v (b). First, we need to determine the resolution of the a/d converter. Given an analog input voltage. An 8-Bit A/D Converter Has.
From www.ebay.com
1 x MAX150BCWP CMOS High Speed 8Bit A/D Converter with Refr Maxim SO An 8-Bit A/D Converter Has Given an analog input voltage of 2.5v,. Find the output (in decimal) if the input is (a) 6.42 v (b). Through this article, i am going to explain. First, we need to determine the resolution of the a/d converter. No external components are required to perform a conversion. Learn how to build an analog to digital converter using the same. An 8-Bit A/D Converter Has.
From www.scribd.com
ADC0800 8Bit A/D Converter General Description Features PDF An 8-Bit A/D Converter Has First, we need to determine the resolution of the a/d converter. Learn how to build an analog to digital converter using the same simple technique explained in this page. Find the output (in decimal) if the input is (a) 6.42 v (b). Given an analog input voltage of 2.5v,. No external components are required to perform a conversion. Through this. An 8-Bit A/D Converter Has.
From www.electronicscomp.com
ADC0808 IC 8Bit A/D Converter with 8Channel Multiplexer IC buy An 8-Bit A/D Converter Has Find the output (in decimal) if the input is (a) 6.42 v (b). The ad673 interfaces to many. Through this article, i am going to explain. Learn how to build an analog to digital converter using the same simple technique explained in this page. No external components are required to perform a conversion. Given an analog input voltage of 2.5v,.. An 8-Bit A/D Converter Has.
From www.parallax.com
ADC0831 8Bit A/D Converter DIP Parallax An 8-Bit A/D Converter Has First, we need to determine the resolution of the a/d converter. The ad673 interfaces to many. Given an analog input voltage of 2.5v,. Learn how to build an analog to digital converter using the same simple technique explained in this page. Through this article, i am going to explain. Find the output (in decimal) if the input is (a) 6.42. An 8-Bit A/D Converter Has.
From www.semanticscholar.org
Figure 4 from An AllMOS 8bit A/D/A Converter for Microprocessor based An 8-Bit A/D Converter Has The ad673 interfaces to many. Find the output (in decimal) if the input is (a) 6.42 v (b). First, we need to determine the resolution of the a/d converter. Through this article, i am going to explain. Learn how to build an analog to digital converter using the same simple technique explained in this page. Given an analog input voltage. An 8-Bit A/D Converter Has.