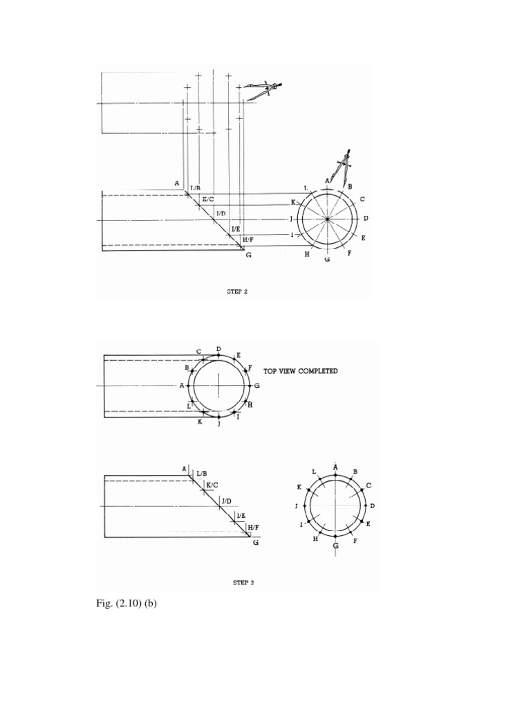
Cone Development Formula In Excel Sheet . the formula returns the volume of a cone with the radius given in column b and the height given in column c. this generates the development for the cone, which is a sector of a circle with radius r and sector angle θ. View the cone instructions below to learn how to manually layout the flat pattern for. the document provides calculations to determine the chord lengths and radii for developing a cone shape from a sheet of metal plate. sheet metal cone calculator. The picture below illustrates the task. Units are indicated generically with u, and. the calculator computes parameters of a right circular cone or truncated right circular cone development. To calculate the dimensions of the.
from www.hampsonlife.com
Units are indicated generically with u, and. the calculator computes parameters of a right circular cone or truncated right circular cone development. View the cone instructions below to learn how to manually layout the flat pattern for. To calculate the dimensions of the. The picture below illustrates the task. sheet metal cone calculator. the formula returns the volume of a cone with the radius given in column b and the height given in column c. this generates the development for the cone, which is a sector of a circle with radius r and sector angle θ. the document provides calculations to determine the chord lengths and radii for developing a cone shape from a sheet of metal plate.
Cone/Frustum/Truncated cone Calculator
Cone Development Formula In Excel Sheet Units are indicated generically with u, and. the document provides calculations to determine the chord lengths and radii for developing a cone shape from a sheet of metal plate. this generates the development for the cone, which is a sector of a circle with radius r and sector angle θ. To calculate the dimensions of the. View the cone instructions below to learn how to manually layout the flat pattern for. Units are indicated generically with u, and. The picture below illustrates the task. the formula returns the volume of a cone with the radius given in column b and the height given in column c. the calculator computes parameters of a right circular cone or truncated right circular cone development. sheet metal cone calculator.
From www.youtube.com
Development of cone Development of Surfaces Engineering Drawing Cone Development Formula In Excel Sheet The picture below illustrates the task. sheet metal cone calculator. To calculate the dimensions of the. View the cone instructions below to learn how to manually layout the flat pattern for. Units are indicated generically with u, and. this generates the development for the cone, which is a sector of a circle with radius r and sector angle. Cone Development Formula In Excel Sheet.
From www.youtube.com
Cone Plate Cutting Layout or Cone Flat Pattern Layout by Calculation Cone Development Formula In Excel Sheet the document provides calculations to determine the chord lengths and radii for developing a cone shape from a sheet of metal plate. the formula returns the volume of a cone with the radius given in column b and the height given in column c. sheet metal cone calculator. the calculator computes parameters of a right circular. Cone Development Formula In Excel Sheet.
From owlcation.com
How to Develop a Cone Cone Development Owlcation Cone Development Formula In Excel Sheet the document provides calculations to determine the chord lengths and radii for developing a cone shape from a sheet of metal plate. Units are indicated generically with u, and. sheet metal cone calculator. The picture below illustrates the task. the calculator computes parameters of a right circular cone or truncated right circular cone development. this generates. Cone Development Formula In Excel Sheet.
From getcalc.com
Cone Calculator & Work with Steps Cone Development Formula In Excel Sheet sheet metal cone calculator. the calculator computes parameters of a right circular cone or truncated right circular cone development. The picture below illustrates the task. the formula returns the volume of a cone with the radius given in column b and the height given in column c. this generates the development for the cone, which is. Cone Development Formula In Excel Sheet.
From www.youtube.com
3D Infographic Full Cone Chart in Excel 2016 YouTube Cone Development Formula In Excel Sheet View the cone instructions below to learn how to manually layout the flat pattern for. this generates the development for the cone, which is a sector of a circle with radius r and sector angle θ. the document provides calculations to determine the chord lengths and radii for developing a cone shape from a sheet of metal plate.. Cone Development Formula In Excel Sheet.
From www.youtube.com
Excel 2016 Creating a cone chart YouTube Cone Development Formula In Excel Sheet To calculate the dimensions of the. Units are indicated generically with u, and. this generates the development for the cone, which is a sector of a circle with radius r and sector angle θ. the document provides calculations to determine the chord lengths and radii for developing a cone shape from a sheet of metal plate. sheet. Cone Development Formula In Excel Sheet.
From letsfab.in
Cone Layout Development by Marking and Calculation Method Cone Development Formula In Excel Sheet this generates the development for the cone, which is a sector of a circle with radius r and sector angle θ. View the cone instructions below to learn how to manually layout the flat pattern for. the calculator computes parameters of a right circular cone or truncated right circular cone development. sheet metal cone calculator. Units are. Cone Development Formula In Excel Sheet.
From leonjane.hubpages.com
How to Develop a Cone Cone Development Owlcation Cone Development Formula In Excel Sheet sheet metal cone calculator. this generates the development for the cone, which is a sector of a circle with radius r and sector angle θ. the formula returns the volume of a cone with the radius given in column b and the height given in column c. The picture below illustrates the task. To calculate the dimensions. Cone Development Formula In Excel Sheet.
From www.scribd.com
Cone Development Calculation PDF Cone Development Formula In Excel Sheet To calculate the dimensions of the. the document provides calculations to determine the chord lengths and radii for developing a cone shape from a sheet of metal plate. The picture below illustrates the task. View the cone instructions below to learn how to manually layout the flat pattern for. the formula returns the volume of a cone with. Cone Development Formula In Excel Sheet.
From www.youtube.com
6.3bDevelopment of Sectioned Cone by the Angle Method YouTube Cone Development Formula In Excel Sheet To calculate the dimensions of the. this generates the development for the cone, which is a sector of a circle with radius r and sector angle θ. the formula returns the volume of a cone with the radius given in column b and the height given in column c. the calculator computes parameters of a right circular. Cone Development Formula In Excel Sheet.
From www.youtube.com
79 MICROSOFT EXCEL HOW TO CREATE CONE CHART YouTube Cone Development Formula In Excel Sheet To calculate the dimensions of the. the document provides calculations to determine the chord lengths and radii for developing a cone shape from a sheet of metal plate. The picture below illustrates the task. this generates the development for the cone, which is a sector of a circle with radius r and sector angle θ. View the cone. Cone Development Formula In Excel Sheet.
From www.kzell.com
Sheet Metal Cone Layout Calculator Cone Development Formula In Excel Sheet the document provides calculations to determine the chord lengths and radii for developing a cone shape from a sheet of metal plate. sheet metal cone calculator. View the cone instructions below to learn how to manually layout the flat pattern for. the formula returns the volume of a cone with the radius given in column b and. Cone Development Formula In Excel Sheet.
From www.youtube.com
Development of Cone YouTube Cone Development Formula In Excel Sheet the calculator computes parameters of a right circular cone or truncated right circular cone development. the formula returns the volume of a cone with the radius given in column b and the height given in column c. View the cone instructions below to learn how to manually layout the flat pattern for. sheet metal cone calculator. . Cone Development Formula In Excel Sheet.
From www.youtube.com
6.3Development of a sectioned Cone Surface YouTube Cone Development Formula In Excel Sheet the calculator computes parameters of a right circular cone or truncated right circular cone development. To calculate the dimensions of the. View the cone instructions below to learn how to manually layout the flat pattern for. the document provides calculations to determine the chord lengths and radii for developing a cone shape from a sheet of metal plate.. Cone Development Formula In Excel Sheet.
From www.scribd.com
Cone Development Technical Drawing Geometric Shapes Cone Development Formula In Excel Sheet The picture below illustrates the task. the calculator computes parameters of a right circular cone or truncated right circular cone development. To calculate the dimensions of the. sheet metal cone calculator. Units are indicated generically with u, and. View the cone instructions below to learn how to manually layout the flat pattern for. the formula returns the. Cone Development Formula In Excel Sheet.
From www.youtube.com
Volume of a Cone using Excel YouTube Cone Development Formula In Excel Sheet the document provides calculations to determine the chord lengths and radii for developing a cone shape from a sheet of metal plate. View the cone instructions below to learn how to manually layout the flat pattern for. this generates the development for the cone, which is a sector of a circle with radius r and sector angle θ.. Cone Development Formula In Excel Sheet.
From grabcad.com
Free CAD Designs, Files & 3D Models The GrabCAD Community Library Cone Development Formula In Excel Sheet the calculator computes parameters of a right circular cone or truncated right circular cone development. To calculate the dimensions of the. sheet metal cone calculator. The picture below illustrates the task. Units are indicated generically with u, and. the document provides calculations to determine the chord lengths and radii for developing a cone shape from a sheet. Cone Development Formula In Excel Sheet.
From www.hampsonlife.com
Cone/Frustum/Truncated cone Calculator Cone Development Formula In Excel Sheet sheet metal cone calculator. this generates the development for the cone, which is a sector of a circle with radius r and sector angle θ. View the cone instructions below to learn how to manually layout the flat pattern for. Units are indicated generically with u, and. The picture below illustrates the task. the document provides calculations. Cone Development Formula In Excel Sheet.
From www.i-logic.com
Cone Calc Cone Development Formula In Excel Sheet Units are indicated generically with u, and. this generates the development for the cone, which is a sector of a circle with radius r and sector angle θ. The picture below illustrates the task. the formula returns the volume of a cone with the radius given in column b and the height given in column c. sheet. Cone Development Formula In Excel Sheet.
From exceljet.net
Volume of a cone Excel formula Exceljet Cone Development Formula In Excel Sheet the calculator computes parameters of a right circular cone or truncated right circular cone development. sheet metal cone calculator. this generates the development for the cone, which is a sector of a circle with radius r and sector angle θ. View the cone instructions below to learn how to manually layout the flat pattern for. Units are. Cone Development Formula In Excel Sheet.
From www.youtube.com
Calculating a Right Cone Pattern Development for Sheetmetal Fabrication Cone Development Formula In Excel Sheet the document provides calculations to determine the chord lengths and radii for developing a cone shape from a sheet of metal plate. sheet metal cone calculator. To calculate the dimensions of the. Units are indicated generically with u, and. View the cone instructions below to learn how to manually layout the flat pattern for. The picture below illustrates. Cone Development Formula In Excel Sheet.
From www.youtube.com
How to make a 3D Partial Cone Chart in Excel 2016 YouTube Cone Development Formula In Excel Sheet the calculator computes parameters of a right circular cone or truncated right circular cone development. this generates the development for the cone, which is a sector of a circle with radius r and sector angle θ. the formula returns the volume of a cone with the radius given in column b and the height given in column. Cone Development Formula In Excel Sheet.
From sajithkanicheri.blogspot.com
IMPORTANT ENGINEERING DETAILS CONE DEVELOPMENT Cone Development Formula In Excel Sheet The picture below illustrates the task. the document provides calculations to determine the chord lengths and radii for developing a cone shape from a sheet of metal plate. the formula returns the volume of a cone with the radius given in column b and the height given in column c. sheet metal cone calculator. View the cone. Cone Development Formula In Excel Sheet.
From www.youtube.com
Cone Development Surface development of cone YouTube Cone Development Formula In Excel Sheet the calculator computes parameters of a right circular cone or truncated right circular cone development. To calculate the dimensions of the. the formula returns the volume of a cone with the radius given in column b and the height given in column c. the document provides calculations to determine the chord lengths and radii for developing a. Cone Development Formula In Excel Sheet.
From owlcation.com
How to Develop a Cone Owlcation Cone Development Formula In Excel Sheet To calculate the dimensions of the. The picture below illustrates the task. the calculator computes parameters of a right circular cone or truncated right circular cone development. the formula returns the volume of a cone with the radius given in column b and the height given in column c. Units are indicated generically with u, and. sheet. Cone Development Formula In Excel Sheet.
From www.cuemath.com
What is Cone Formula, Properties, Examples Cuemath Cone Development Formula In Excel Sheet sheet metal cone calculator. the calculator computes parameters of a right circular cone or truncated right circular cone development. the document provides calculations to determine the chord lengths and radii for developing a cone shape from a sheet of metal plate. View the cone instructions below to learn how to manually layout the flat pattern for. The. Cone Development Formula In Excel Sheet.
From xuri.me
3D cone column chart · Excelize Document Cone Development Formula In Excel Sheet the calculator computes parameters of a right circular cone or truncated right circular cone development. the document provides calculations to determine the chord lengths and radii for developing a cone shape from a sheet of metal plate. The picture below illustrates the task. this generates the development for the cone, which is a sector of a circle. Cone Development Formula In Excel Sheet.
From www.scribd.com
Development of Cone Excel PDF Cone Development Formula In Excel Sheet the document provides calculations to determine the chord lengths and radii for developing a cone shape from a sheet of metal plate. The picture below illustrates the task. the formula returns the volume of a cone with the radius given in column b and the height given in column c. To calculate the dimensions of the. sheet. Cone Development Formula In Excel Sheet.
From www.cuemath.com
Frustum of Cone Formula, Properties, Definition, Examples Cone Development Formula In Excel Sheet Units are indicated generically with u, and. the calculator computes parameters of a right circular cone or truncated right circular cone development. this generates the development for the cone, which is a sector of a circle with radius r and sector angle θ. View the cone instructions below to learn how to manually layout the flat pattern for.. Cone Development Formula In Excel Sheet.
From www.youtube.com
283* How to MAKE 3D DESIGNER CONE CHART in Excel {English} YouTube Cone Development Formula In Excel Sheet the document provides calculations to determine the chord lengths and radii for developing a cone shape from a sheet of metal plate. To calculate the dimensions of the. the calculator computes parameters of a right circular cone or truncated right circular cone development. this generates the development for the cone, which is a sector of a circle. Cone Development Formula In Excel Sheet.
From www.facebook.com
How to Make Cone Development in Tamil How to Make Cone Development Cone Development Formula In Excel Sheet the document provides calculations to determine the chord lengths and radii for developing a cone shape from a sheet of metal plate. The picture below illustrates the task. Units are indicated generically with u, and. this generates the development for the cone, which is a sector of a circle with radius r and sector angle θ. To calculate. Cone Development Formula In Excel Sheet.
From exoglrmwh.blob.core.windows.net
Equation Of A Cone at Margaret Carle blog Cone Development Formula In Excel Sheet To calculate the dimensions of the. this generates the development for the cone, which is a sector of a circle with radius r and sector angle θ. the calculator computes parameters of a right circular cone or truncated right circular cone development. the document provides calculations to determine the chord lengths and radii for developing a cone. Cone Development Formula In Excel Sheet.
From www.instructables.com
Development Pattern Construction 11 Steps Cone Development Formula In Excel Sheet sheet metal cone calculator. this generates the development for the cone, which is a sector of a circle with radius r and sector angle θ. the formula returns the volume of a cone with the radius given in column b and the height given in column c. the calculator computes parameters of a right circular cone. Cone Development Formula In Excel Sheet.
From www.amazon.in
Cones Calculators Amazon.in Appstore for Android Cone Development Formula In Excel Sheet sheet metal cone calculator. To calculate the dimensions of the. the document provides calculations to determine the chord lengths and radii for developing a cone shape from a sheet of metal plate. Units are indicated generically with u, and. the formula returns the volume of a cone with the radius given in column b and the height. Cone Development Formula In Excel Sheet.
From conceptera.in
Cone Formula Sheet ConceptEra Cone Development Formula In Excel Sheet The picture below illustrates the task. the document provides calculations to determine the chord lengths and radii for developing a cone shape from a sheet of metal plate. sheet metal cone calculator. To calculate the dimensions of the. the formula returns the volume of a cone with the radius given in column b and the height given. Cone Development Formula In Excel Sheet.