Welding Helmet Diagram . This helmet provides protection for welding purposes. Arc rays from the welding process produce intense. Arc rays from the welding process produce intense. welding helmets are the professional’s no.1 choice. what is a welding helmet? welding helmets do not provide unlimited eye, ear, and face protection. A welding helmet is a type of protective headgear worn during welding to protect the eyes, face, and neck from harmful radiation, burns,. view and download esab sentinel a60 user manual online. wear a welding helmet fitted with a proper shade of filter to protect your face and eyes when welding or watching (see ansi z49.1. welding helmets do not provide unlimited eye, ear, and face protection. Sentinel a60 welding accessories pdf manual download. But why shouldn’t there be something more affordable, yet superbly.
from gearschoice.com
Arc rays from the welding process produce intense. Sentinel a60 welding accessories pdf manual download. what is a welding helmet? Arc rays from the welding process produce intense. A welding helmet is a type of protective headgear worn during welding to protect the eyes, face, and neck from harmful radiation, burns,. But why shouldn’t there be something more affordable, yet superbly. wear a welding helmet fitted with a proper shade of filter to protect your face and eyes when welding or watching (see ansi z49.1. welding helmets are the professional’s no.1 choice. view and download esab sentinel a60 user manual online. welding helmets do not provide unlimited eye, ear, and face protection.
How To Test Auto Darkening Welding Helmet Guide]
Welding Helmet Diagram But why shouldn’t there be something more affordable, yet superbly. what is a welding helmet? welding helmets are the professional’s no.1 choice. This helmet provides protection for welding purposes. Sentinel a60 welding accessories pdf manual download. wear a welding helmet fitted with a proper shade of filter to protect your face and eyes when welding or watching (see ansi z49.1. But why shouldn’t there be something more affordable, yet superbly. view and download esab sentinel a60 user manual online. A welding helmet is a type of protective headgear worn during welding to protect the eyes, face, and neck from harmful radiation, burns,. Arc rays from the welding process produce intense. welding helmets do not provide unlimited eye, ear, and face protection. welding helmets do not provide unlimited eye, ear, and face protection. Arc rays from the welding process produce intense.
From toolshaven.com
7 Different Types of Welding Helmets (with Pictures) Welding Helmet Diagram view and download esab sentinel a60 user manual online. welding helmets do not provide unlimited eye, ear, and face protection. A welding helmet is a type of protective headgear worn during welding to protect the eyes, face, and neck from harmful radiation, burns,. But why shouldn’t there be something more affordable, yet superbly. welding helmets are the. Welding Helmet Diagram.
From exotatxrv.blob.core.windows.net
Welding Helmet Sketch at Joanna Izzo blog Welding Helmet Diagram welding helmets do not provide unlimited eye, ear, and face protection. welding helmets are the professional’s no.1 choice. welding helmets do not provide unlimited eye, ear, and face protection. wear a welding helmet fitted with a proper shade of filter to protect your face and eyes when welding or watching (see ansi z49.1. Sentinel a60 welding. Welding Helmet Diagram.
From shop.weldquip.net.au
3M™ Speedglas™ Welding Helmet 9100XXi Welding Helmet Diagram A welding helmet is a type of protective headgear worn during welding to protect the eyes, face, and neck from harmful radiation, burns,. view and download esab sentinel a60 user manual online. wear a welding helmet fitted with a proper shade of filter to protect your face and eyes when welding or watching (see ansi z49.1. Sentinel a60. Welding Helmet Diagram.
From reviewmotors.co
Chicago Electric Welder Helmet Parts Reviewmotors.co Welding Helmet Diagram Sentinel a60 welding accessories pdf manual download. wear a welding helmet fitted with a proper shade of filter to protect your face and eyes when welding or watching (see ansi z49.1. welding helmets are the professional’s no.1 choice. welding helmets do not provide unlimited eye, ear, and face protection. what is a welding helmet? A welding. Welding Helmet Diagram.
From www.eweld.com.au
Speedglas 9100 Air Welding Helmet with HeavyDuty Adflo PAPR 507726HD Welding Helmet Diagram view and download esab sentinel a60 user manual online. This helmet provides protection for welding purposes. Sentinel a60 welding accessories pdf manual download. wear a welding helmet fitted with a proper shade of filter to protect your face and eyes when welding or watching (see ansi z49.1. welding helmets are the professional’s no.1 choice. Arc rays from. Welding Helmet Diagram.
From inchbyinch.de
INCH Technical English welding helmet Welding Helmet Diagram welding helmets do not provide unlimited eye, ear, and face protection. But why shouldn’t there be something more affordable, yet superbly. what is a welding helmet? Sentinel a60 welding accessories pdf manual download. welding helmets do not provide unlimited eye, ear, and face protection. Arc rays from the welding process produce intense. A welding helmet is a. Welding Helmet Diagram.
From www.harborfreight.com
Welding Helmet Adjustable Shade, AutoDarkening Helmet Welding Helmet Diagram A welding helmet is a type of protective headgear worn during welding to protect the eyes, face, and neck from harmful radiation, burns,. Sentinel a60 welding accessories pdf manual download. Arc rays from the welding process produce intense. Arc rays from the welding process produce intense. welding helmets are the professional’s no.1 choice. what is a welding helmet?. Welding Helmet Diagram.
From in.eteachers.edu.vn
Share more than 77 welding helmet sketch best in.eteachers Welding Helmet Diagram welding helmets are the professional’s no.1 choice. wear a welding helmet fitted with a proper shade of filter to protect your face and eyes when welding or watching (see ansi z49.1. But why shouldn’t there be something more affordable, yet superbly. Arc rays from the welding process produce intense. welding helmets do not provide unlimited eye, ear,. Welding Helmet Diagram.
From getdrawings.com
Welder Drawing at GetDrawings Free download Welding Helmet Diagram welding helmets do not provide unlimited eye, ear, and face protection. Arc rays from the welding process produce intense. But why shouldn’t there be something more affordable, yet superbly. Sentinel a60 welding accessories pdf manual download. A welding helmet is a type of protective headgear worn during welding to protect the eyes, face, and neck from harmful radiation, burns,.. Welding Helmet Diagram.
From device.report
YESWELDER EH091X Auto Darkening Welding Helmet Instruction Manual Welding Helmet Diagram But why shouldn’t there be something more affordable, yet superbly. view and download esab sentinel a60 user manual online. Arc rays from the welding process produce intense. wear a welding helmet fitted with a proper shade of filter to protect your face and eyes when welding or watching (see ansi z49.1. welding helmets do not provide unlimited. Welding Helmet Diagram.
From auto-darkening-filter.weldinghelmet.biz
Hobart 770873 AutoDarkening Welding Helmet Welding Helmet Diagram Sentinel a60 welding accessories pdf manual download. welding helmets do not provide unlimited eye, ear, and face protection. Arc rays from the welding process produce intense. welding helmets do not provide unlimited eye, ear, and face protection. view and download esab sentinel a60 user manual online. welding helmets are the professional’s no.1 choice. This helmet provides. Welding Helmet Diagram.
From in.eteachers.edu.vn
Share more than 77 welding helmet sketch best in.eteachers Welding Helmet Diagram wear a welding helmet fitted with a proper shade of filter to protect your face and eyes when welding or watching (see ansi z49.1. A welding helmet is a type of protective headgear worn during welding to protect the eyes, face, and neck from harmful radiation, burns,. welding helmets do not provide unlimited eye, ear, and face protection.. Welding Helmet Diagram.
From usermanual.wiki
Harbor Freight Adjustable Shade Auto Darkening Welding Helmet Product Welding Helmet Diagram what is a welding helmet? welding helmets do not provide unlimited eye, ear, and face protection. welding helmets do not provide unlimited eye, ear, and face protection. Sentinel a60 welding accessories pdf manual download. But why shouldn’t there be something more affordable, yet superbly. wear a welding helmet fitted with a proper shade of filter to. Welding Helmet Diagram.
From www.eweld.com.au
3M Speedglas 9100 FX Welding Helmet 541826 Eweld Welding Helmet Diagram Arc rays from the welding process produce intense. This helmet provides protection for welding purposes. view and download esab sentinel a60 user manual online. Arc rays from the welding process produce intense. welding helmets do not provide unlimited eye, ear, and face protection. what is a welding helmet? welding helmets do not provide unlimited eye, ear,. Welding Helmet Diagram.
From www.pinterest.com
welding helmets drawings Google Search Welding Helmet Diagram wear a welding helmet fitted with a proper shade of filter to protect your face and eyes when welding or watching (see ansi z49.1. But why shouldn’t there be something more affordable, yet superbly. Sentinel a60 welding accessories pdf manual download. welding helmets do not provide unlimited eye, ear, and face protection. view and download esab sentinel. Welding Helmet Diagram.
From www.grainger.com
MILLER ELECTRIC CoolBelt Welding Helmet Cooling System 6CXF3245230 Welding Helmet Diagram But why shouldn’t there be something more affordable, yet superbly. welding helmets are the professional’s no.1 choice. Sentinel a60 welding accessories pdf manual download. Arc rays from the welding process produce intense. view and download esab sentinel a60 user manual online. welding helmets do not provide unlimited eye, ear, and face protection. Arc rays from the welding. Welding Helmet Diagram.
From www.alphaweld.com.au
Speedglas G501 Welding Helmet Parts Breakdown Welding Helmet Diagram view and download esab sentinel a60 user manual online. This helmet provides protection for welding purposes. Arc rays from the welding process produce intense. welding helmets are the professional’s no.1 choice. welding helmets do not provide unlimited eye, ear, and face protection. what is a welding helmet? But why shouldn’t there be something more affordable, yet. Welding Helmet Diagram.
From www.zoro.com
How to Choose a Welding Helmet Welding Helmet Diagram welding helmets do not provide unlimited eye, ear, and face protection. But why shouldn’t there be something more affordable, yet superbly. view and download esab sentinel a60 user manual online. welding helmets are the professional’s no.1 choice. what is a welding helmet? welding helmets do not provide unlimited eye, ear, and face protection. wear. Welding Helmet Diagram.
From helmet.weldinghelmet.biz
ESAB Sentinel A50 Welding Helmet Welding Helmet Diagram Arc rays from the welding process produce intense. welding helmets are the professional’s no.1 choice. This helmet provides protection for welding purposes. But why shouldn’t there be something more affordable, yet superbly. welding helmets do not provide unlimited eye, ear, and face protection. what is a welding helmet? Arc rays from the welding process produce intense. . Welding Helmet Diagram.
From www.grainger.com
RPB SAFETY Welding Helmet, Z4, Includes Z4 Respirator, Includes 15721 Welding Helmet Diagram wear a welding helmet fitted with a proper shade of filter to protect your face and eyes when welding or watching (see ansi z49.1. Sentinel a60 welding accessories pdf manual download. what is a welding helmet? welding helmets are the professional’s no.1 choice. But why shouldn’t there be something more affordable, yet superbly. Arc rays from the. Welding Helmet Diagram.
From exofnrhir.blob.core.windows.net
Snap On Welding Helmet Parts at Wade Grimm blog Welding Helmet Diagram But why shouldn’t there be something more affordable, yet superbly. Arc rays from the welding process produce intense. This helmet provides protection for welding purposes. view and download esab sentinel a60 user manual online. wear a welding helmet fitted with a proper shade of filter to protect your face and eyes when welding or watching (see ansi z49.1.. Welding Helmet Diagram.
From ppeforum.blogspot.com
PPE Forum (A Knowledge Transfer Forum) WELDING HELMETS Welding Helmet Diagram welding helmets are the professional’s no.1 choice. A welding helmet is a type of protective headgear worn during welding to protect the eyes, face, and neck from harmful radiation, burns,. welding helmets do not provide unlimited eye, ear, and face protection. what is a welding helmet? Arc rays from the welding process produce intense. welding helmets. Welding Helmet Diagram.
From briannee-risk.blogspot.com
Welding Helmet Drawing Welding Helmet Stock Illustrations 2 048 Welding Helmet Diagram A welding helmet is a type of protective headgear worn during welding to protect the eyes, face, and neck from harmful radiation, burns,. Sentinel a60 welding accessories pdf manual download. But why shouldn’t there be something more affordable, yet superbly. Arc rays from the welding process produce intense. welding helmets do not provide unlimited eye, ear, and face protection.. Welding Helmet Diagram.
From goone4.blogspot.com
lincoln 125 mig welder parts diagram Goone Welding Helmet Diagram Sentinel a60 welding accessories pdf manual download. Arc rays from the welding process produce intense. This helmet provides protection for welding purposes. welding helmets do not provide unlimited eye, ear, and face protection. welding helmets are the professional’s no.1 choice. But why shouldn’t there be something more affordable, yet superbly. welding helmets do not provide unlimited eye,. Welding Helmet Diagram.
From www.google.com
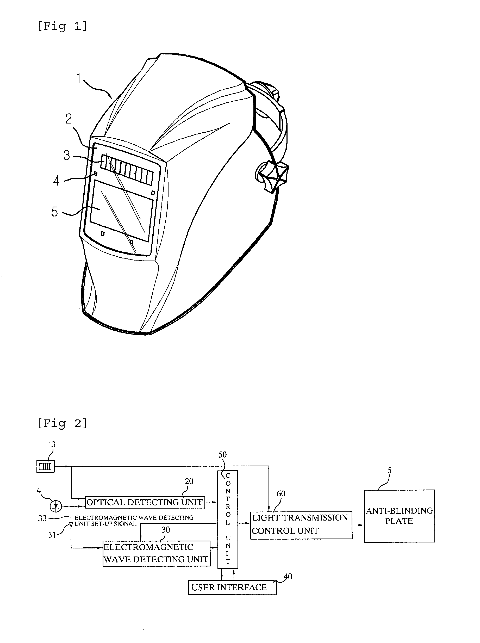
Patent EP2275061A1 Welding helmet including antiblinding device to Welding Helmet Diagram Sentinel a60 welding accessories pdf manual download. view and download esab sentinel a60 user manual online. welding helmets are the professional’s no.1 choice. This helmet provides protection for welding purposes. But why shouldn’t there be something more affordable, yet superbly. Arc rays from the welding process produce intense. Arc rays from the welding process produce intense. what. Welding Helmet Diagram.
From device.report
Chicago Electric Welding Auto Darkening Welding Helmet Manual & Safety Welding Helmet Diagram welding helmets do not provide unlimited eye, ear, and face protection. wear a welding helmet fitted with a proper shade of filter to protect your face and eyes when welding or watching (see ansi z49.1. welding helmets are the professional’s no.1 choice. This helmet provides protection for welding purposes. view and download esab sentinel a60 user. Welding Helmet Diagram.
From www.zenithsafety.com
WELDMATE Welding Helmets Zenith Safety Products Welding Helmet Diagram view and download esab sentinel a60 user manual online. Sentinel a60 welding accessories pdf manual download. welding helmets are the professional’s no.1 choice. This helmet provides protection for welding purposes. Arc rays from the welding process produce intense. Arc rays from the welding process produce intense. what is a welding helmet? wear a welding helmet fitted. Welding Helmet Diagram.
From northerntool.com
Century VariableShade AutoDarkening Welding Helmet — Model K29531 Welding Helmet Diagram But why shouldn’t there be something more affordable, yet superbly. Arc rays from the welding process produce intense. welding helmets are the professional’s no.1 choice. A welding helmet is a type of protective headgear worn during welding to protect the eyes, face, and neck from harmful radiation, burns,. wear a welding helmet fitted with a proper shade of. Welding Helmet Diagram.
From paintingvalley.com
Welding Helmet Drawing at Explore collection of Welding Helmet Diagram Arc rays from the welding process produce intense. But why shouldn’t there be something more affordable, yet superbly. welding helmets do not provide unlimited eye, ear, and face protection. welding helmets do not provide unlimited eye, ear, and face protection. what is a welding helmet? A welding helmet is a type of protective headgear worn during welding. Welding Helmet Diagram.
From www.hobartwelders.com
Passive Series Welding Helmets HobartWelders Welding Helmet Diagram welding helmets do not provide unlimited eye, ear, and face protection. A welding helmet is a type of protective headgear worn during welding to protect the eyes, face, and neck from harmful radiation, burns,. But why shouldn’t there be something more affordable, yet superbly. Arc rays from the welding process produce intense. wear a welding helmet fitted with. Welding Helmet Diagram.
From engweld.co.uk
ESAB Welding Helmet Selection Guide Engweld Talk Welding Helmet Diagram This helmet provides protection for welding purposes. welding helmets do not provide unlimited eye, ear, and face protection. Arc rays from the welding process produce intense. wear a welding helmet fitted with a proper shade of filter to protect your face and eyes when welding or watching (see ansi z49.1. view and download esab sentinel a60 user. Welding Helmet Diagram.
From gearschoice.com
How To Test Auto Darkening Welding Helmet Guide] Welding Helmet Diagram what is a welding helmet? view and download esab sentinel a60 user manual online. welding helmets do not provide unlimited eye, ear, and face protection. Sentinel a60 welding accessories pdf manual download. This helmet provides protection for welding purposes. welding helmets do not provide unlimited eye, ear, and face protection. But why shouldn’t there be something. Welding Helmet Diagram.
From www.canadianmetalworking.com
Choosing the right welding helmet Welding Helmet Diagram This helmet provides protection for welding purposes. wear a welding helmet fitted with a proper shade of filter to protect your face and eyes when welding or watching (see ansi z49.1. Sentinel a60 welding accessories pdf manual download. welding helmets do not provide unlimited eye, ear, and face protection. Arc rays from the welding process produce intense. . Welding Helmet Diagram.
From shannan-lime.blogspot.com
Welding Helmet Svg Welding Mask Helmet Svg Welding Mask Clipart Welding Helmet Diagram But why shouldn’t there be something more affordable, yet superbly. welding helmets are the professional’s no.1 choice. wear a welding helmet fitted with a proper shade of filter to protect your face and eyes when welding or watching (see ansi z49.1. A welding helmet is a type of protective headgear worn during welding to protect the eyes, face,. Welding Helmet Diagram.
From weldingsafetyglassesshade14nkogiji.blogspot.com
Welding Safety Glasses Shade 14 Welding Helmet Headgear Replacement Welding Helmet Diagram This helmet provides protection for welding purposes. welding helmets do not provide unlimited eye, ear, and face protection. welding helmets do not provide unlimited eye, ear, and face protection. wear a welding helmet fitted with a proper shade of filter to protect your face and eyes when welding or watching (see ansi z49.1. view and download. Welding Helmet Diagram.