Exhaust Pipe Size Chevy 350 . The quick and easy way to choose what diameter pipe you will need from the. I'd run 2.25 because it's more common, and just in case some of the bends shrink the pipe. what size exhaust pipe should i use? enter the horsepower and this exhaust pipe size calculator will give you the recommended exhaust size in mm &. Your intake system needs to flow 1.5 cfm per engine horsepower,. for a mild 350 2 inch or 2.25 will suffice. quick and dirty exhaust system math.
from garagefixtelluric.z13.web.core.windows.net
for a mild 350 2 inch or 2.25 will suffice. I'd run 2.25 because it's more common, and just in case some of the bends shrink the pipe. what size exhaust pipe should i use? enter the horsepower and this exhaust pipe size calculator will give you the recommended exhaust size in mm &. quick and dirty exhaust system math. The quick and easy way to choose what diameter pipe you will need from the. Your intake system needs to flow 1.5 cfm per engine horsepower,.
Silverado Exhaust Pipe Size
Exhaust Pipe Size Chevy 350 enter the horsepower and this exhaust pipe size calculator will give you the recommended exhaust size in mm &. I'd run 2.25 because it's more common, and just in case some of the bends shrink the pipe. what size exhaust pipe should i use? Your intake system needs to flow 1.5 cfm per engine horsepower,. for a mild 350 2 inch or 2.25 will suffice. enter the horsepower and this exhaust pipe size calculator will give you the recommended exhaust size in mm &. quick and dirty exhaust system math. The quick and easy way to choose what diameter pipe you will need from the.
From www.youtube.com
How to Replace an Exhaust Manifold Gasket Chevy 350 YouTube Exhaust Pipe Size Chevy 350 Your intake system needs to flow 1.5 cfm per engine horsepower,. quick and dirty exhaust system math. I'd run 2.25 because it's more common, and just in case some of the bends shrink the pipe. The quick and easy way to choose what diameter pipe you will need from the. enter the horsepower and this exhaust pipe size. Exhaust Pipe Size Chevy 350.
From www.corvetteforum.com
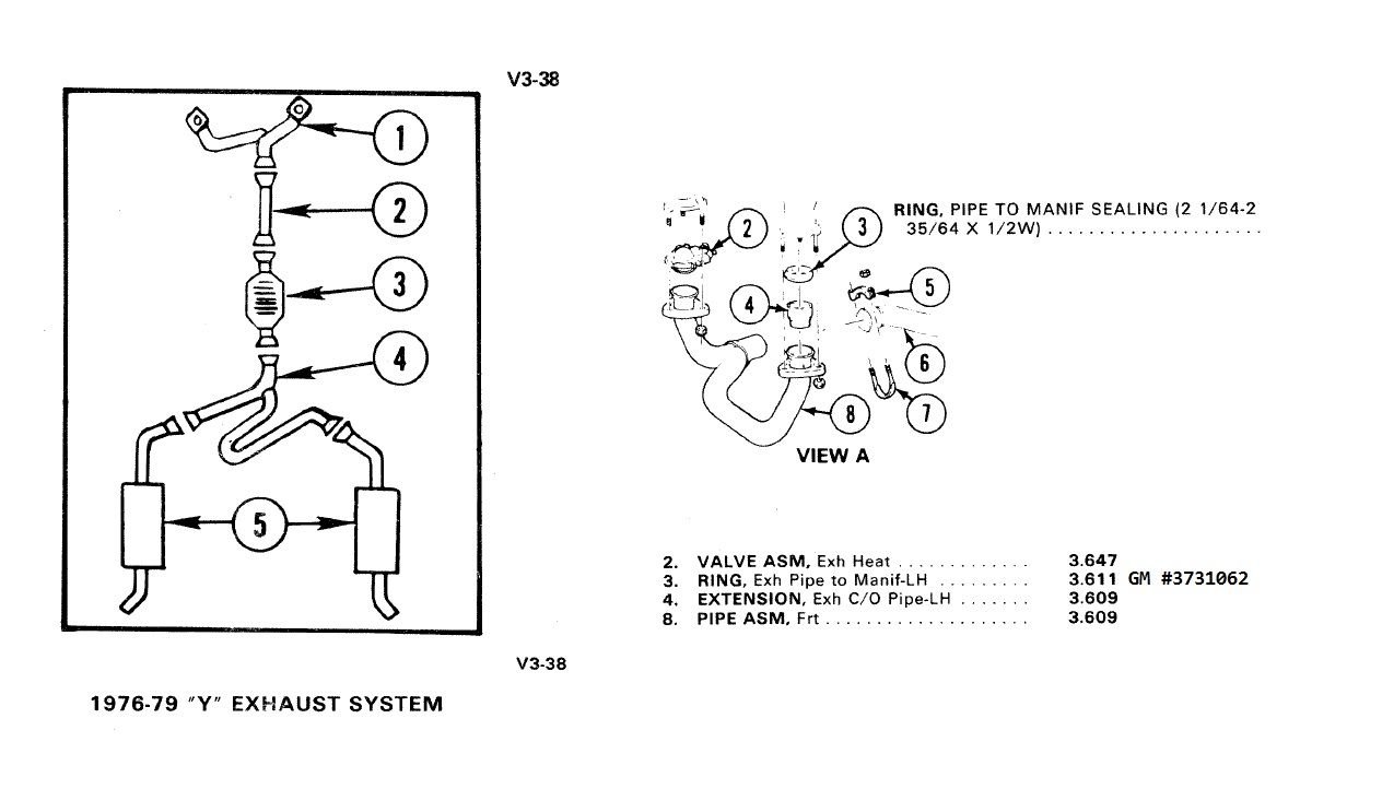
1976 Exhaust Pipe size CorvetteForum Chevrolet Corvette Forum Exhaust Pipe Size Chevy 350 what size exhaust pipe should i use? for a mild 350 2 inch or 2.25 will suffice. Your intake system needs to flow 1.5 cfm per engine horsepower,. enter the horsepower and this exhaust pipe size calculator will give you the recommended exhaust size in mm &. quick and dirty exhaust system math. The quick and. Exhaust Pipe Size Chevy 350.
From www.summitracing.com
FORD RANGER AP Exhaust 93102 AP Exhaust YPipes Summit Racing Exhaust Pipe Size Chevy 350 what size exhaust pipe should i use? I'd run 2.25 because it's more common, and just in case some of the bends shrink the pipe. for a mild 350 2 inch or 2.25 will suffice. enter the horsepower and this exhaust pipe size calculator will give you the recommended exhaust size in mm &. quick and. Exhaust Pipe Size Chevy 350.
From www.hotrod.com
What Size Exhaust Pipes Work Best? Hot Rod Network Exhaust Pipe Size Chevy 350 what size exhaust pipe should i use? I'd run 2.25 because it's more common, and just in case some of the bends shrink the pipe. for a mild 350 2 inch or 2.25 will suffice. enter the horsepower and this exhaust pipe size calculator will give you the recommended exhaust size in mm &. quick and. Exhaust Pipe Size Chevy 350.
From drairatxediaz.com
Car & Truck Exhausts & Exhaust Parts Car & Truck Parts High Flow Race Exhaust Pipe Size Chevy 350 what size exhaust pipe should i use? enter the horsepower and this exhaust pipe size calculator will give you the recommended exhaust size in mm &. I'd run 2.25 because it's more common, and just in case some of the bends shrink the pipe. The quick and easy way to choose what diameter pipe you will need from. Exhaust Pipe Size Chevy 350.
From workshopfixhumph.z19.web.core.windows.net
8895 Chevy Truck Long Tube Headers Exhaust Pipe Size Chevy 350 I'd run 2.25 because it's more common, and just in case some of the bends shrink the pipe. what size exhaust pipe should i use? Your intake system needs to flow 1.5 cfm per engine horsepower,. for a mild 350 2 inch or 2.25 will suffice. enter the horsepower and this exhaust pipe size calculator will give. Exhaust Pipe Size Chevy 350.
From exhaustguides.com
Stock Exhaust Pipe Size Silverado Exhaust Blog Exhaust Pipe Size Chevy 350 what size exhaust pipe should i use? quick and dirty exhaust system math. for a mild 350 2 inch or 2.25 will suffice. Your intake system needs to flow 1.5 cfm per engine horsepower,. I'd run 2.25 because it's more common, and just in case some of the bends shrink the pipe. enter the horsepower and. Exhaust Pipe Size Chevy 350.
From kbdieselperformance.com
High Flow Exhaust Manifolds & Up Pipes for 6.6l Duramax 20012016 LB7 Exhaust Pipe Size Chevy 350 enter the horsepower and this exhaust pipe size calculator will give you the recommended exhaust size in mm &. quick and dirty exhaust system math. I'd run 2.25 because it's more common, and just in case some of the bends shrink the pipe. what size exhaust pipe should i use? Your intake system needs to flow 1.5. Exhaust Pipe Size Chevy 350.
From workshopjimmy101.z19.web.core.windows.net
Chevy Dual Exhaust Pipe Kit Exhaust Pipe Size Chevy 350 I'd run 2.25 because it's more common, and just in case some of the bends shrink the pipe. for a mild 350 2 inch or 2.25 will suffice. Your intake system needs to flow 1.5 cfm per engine horsepower,. enter the horsepower and this exhaust pipe size calculator will give you the recommended exhaust size in mm &.. Exhaust Pipe Size Chevy 350.
From www.tffn.net
Exhaust Pipe Sizing What Size Fits Over a 2 Inch Pipe? The Exhaust Pipe Size Chevy 350 what size exhaust pipe should i use? enter the horsepower and this exhaust pipe size calculator will give you the recommended exhaust size in mm &. for a mild 350 2 inch or 2.25 will suffice. quick and dirty exhaust system math. Your intake system needs to flow 1.5 cfm per engine horsepower,. I'd run 2.25. Exhaust Pipe Size Chevy 350.
From www.home-how.com
Standard Sizes of Exhaust Pipe (Chart) What Size Do I Need? Exhaust Pipe Size Chevy 350 enter the horsepower and this exhaust pipe size calculator will give you the recommended exhaust size in mm &. Your intake system needs to flow 1.5 cfm per engine horsepower,. for a mild 350 2 inch or 2.25 will suffice. what size exhaust pipe should i use? I'd run 2.25 because it's more common, and just in. Exhaust Pipe Size Chevy 350.
From www.thoughtco.com
How to Install Corvette Headers and Side Exhaust Exhaust Pipe Size Chevy 350 what size exhaust pipe should i use? I'd run 2.25 because it's more common, and just in case some of the bends shrink the pipe. The quick and easy way to choose what diameter pipe you will need from the. enter the horsepower and this exhaust pipe size calculator will give you the recommended exhaust size in mm. Exhaust Pipe Size Chevy 350.
From www.rodauthority.com
Designing An Exhaust That Pumps Up The Power Exhaust Pipe Size Chevy 350 enter the horsepower and this exhaust pipe size calculator will give you the recommended exhaust size in mm &. for a mild 350 2 inch or 2.25 will suffice. Your intake system needs to flow 1.5 cfm per engine horsepower,. The quick and easy way to choose what diameter pipe you will need from the. I'd run 2.25. Exhaust Pipe Size Chevy 350.
From garagefixtelluric.z13.web.core.windows.net
Silverado Exhaust Pipe Size Exhaust Pipe Size Chevy 350 quick and dirty exhaust system math. what size exhaust pipe should i use? for a mild 350 2 inch or 2.25 will suffice. I'd run 2.25 because it's more common, and just in case some of the bends shrink the pipe. The quick and easy way to choose what diameter pipe you will need from the. . Exhaust Pipe Size Chevy 350.
From www.corvetteforum.com
Home Built Side Pipes CorvetteForum Chevrolet Corvette Forum Discussion Exhaust Pipe Size Chevy 350 I'd run 2.25 because it's more common, and just in case some of the bends shrink the pipe. what size exhaust pipe should i use? quick and dirty exhaust system math. enter the horsepower and this exhaust pipe size calculator will give you the recommended exhaust size in mm &. The quick and easy way to choose. Exhaust Pipe Size Chevy 350.
From www.tffn.net
Exhaust Pipe Sizing What Size Fits Over a 2 Inch Pipe? The Exhaust Pipe Size Chevy 350 what size exhaust pipe should i use? The quick and easy way to choose what diameter pipe you will need from the. enter the horsepower and this exhaust pipe size calculator will give you the recommended exhaust size in mm &. quick and dirty exhaust system math. for a mild 350 2 inch or 2.25 will. Exhaust Pipe Size Chevy 350.
From fpautoparts.com
Pypes Exhaust DGC05PYP Exhaust Manifold Down Pipe Exhaust Pipe Size Chevy 350 quick and dirty exhaust system math. The quick and easy way to choose what diameter pipe you will need from the. Your intake system needs to flow 1.5 cfm per engine horsepower,. for a mild 350 2 inch or 2.25 will suffice. enter the horsepower and this exhaust pipe size calculator will give you the recommended exhaust. Exhaust Pipe Size Chevy 350.
From www.walmart.com
Car Chrome Curved Exhaust Tail Muffler Tip Pipe Fit Diameter 3/5" to 1 Exhaust Pipe Size Chevy 350 for a mild 350 2 inch or 2.25 will suffice. I'd run 2.25 because it's more common, and just in case some of the bends shrink the pipe. quick and dirty exhaust system math. what size exhaust pipe should i use? The quick and easy way to choose what diameter pipe you will need from the. Your. Exhaust Pipe Size Chevy 350.
From parts.havreford.net
Ford F350 Super Duty Pipe. Exhaust. Extension. 6.2 LITER. Intermediate Exhaust Pipe Size Chevy 350 The quick and easy way to choose what diameter pipe you will need from the. I'd run 2.25 because it's more common, and just in case some of the bends shrink the pipe. quick and dirty exhaust system math. Your intake system needs to flow 1.5 cfm per engine horsepower,. for a mild 350 2 inch or 2.25. Exhaust Pipe Size Chevy 350.
From www.tbssowners.com
Exhaust pipe size?? Chevy Trailblazer SS Forum Exhaust Pipe Size Chevy 350 Your intake system needs to flow 1.5 cfm per engine horsepower,. quick and dirty exhaust system math. I'd run 2.25 because it's more common, and just in case some of the bends shrink the pipe. for a mild 350 2 inch or 2.25 will suffice. enter the horsepower and this exhaust pipe size calculator will give you. Exhaust Pipe Size Chevy 350.
From www.speedwaymotors.com
Smoothie Rams Horn Exhaust Manifolds, Small Block Chevy, Silver Exhaust Pipe Size Chevy 350 I'd run 2.25 because it's more common, and just in case some of the bends shrink the pipe. Your intake system needs to flow 1.5 cfm per engine horsepower,. quick and dirty exhaust system math. what size exhaust pipe should i use? enter the horsepower and this exhaust pipe size calculator will give you the recommended exhaust. Exhaust Pipe Size Chevy 350.
From www.carparts.com
1995 Chevrolet K1500 Exhaust Pipes from 6 Exhaust Pipe Size Chevy 350 what size exhaust pipe should i use? Your intake system needs to flow 1.5 cfm per engine horsepower,. The quick and easy way to choose what diameter pipe you will need from the. quick and dirty exhaust system math. for a mild 350 2 inch or 2.25 will suffice. enter the horsepower and this exhaust pipe. Exhaust Pipe Size Chevy 350.
From www.gmpartsdirectonline.com
25811684 Chevrolet Exhaust Muffler. Muffler AND pipe. A muffler GM Exhaust Pipe Size Chevy 350 for a mild 350 2 inch or 2.25 will suffice. The quick and easy way to choose what diameter pipe you will need from the. enter the horsepower and this exhaust pipe size calculator will give you the recommended exhaust size in mm &. what size exhaust pipe should i use? Your intake system needs to flow. Exhaust Pipe Size Chevy 350.
From pipesyard.com
How To Measure Exhaust Pipe? Exhaust Pipe Size Chevy 350 The quick and easy way to choose what diameter pipe you will need from the. I'd run 2.25 because it's more common, and just in case some of the bends shrink the pipe. Your intake system needs to flow 1.5 cfm per engine horsepower,. for a mild 350 2 inch or 2.25 will suffice. what size exhaust pipe. Exhaust Pipe Size Chevy 350.
From www.desertcart.ae
Buy Truck Exhaust Kits Shop Line dual exhaust system 2.5" Aluminized Exhaust Pipe Size Chevy 350 what size exhaust pipe should i use? Your intake system needs to flow 1.5 cfm per engine horsepower,. enter the horsepower and this exhaust pipe size calculator will give you the recommended exhaust size in mm &. I'd run 2.25 because it's more common, and just in case some of the bends shrink the pipe. for a. Exhaust Pipe Size Chevy 350.
From www.youtube.com
350 chev with Bassett over transom pipes YouTube Exhaust Pipe Size Chevy 350 quick and dirty exhaust system math. what size exhaust pipe should i use? for a mild 350 2 inch or 2.25 will suffice. I'd run 2.25 because it's more common, and just in case some of the bends shrink the pipe. enter the horsepower and this exhaust pipe size calculator will give you the recommended exhaust. Exhaust Pipe Size Chevy 350.
From www.topspeedautomotive.com
MANIFOLD DOWNPIPES CHEVY FS CAR BB 6567 81075 by FLOWMASTER Exhaust Exhaust Pipe Size Chevy 350 what size exhaust pipe should i use? The quick and easy way to choose what diameter pipe you will need from the. Your intake system needs to flow 1.5 cfm per engine horsepower,. quick and dirty exhaust system math. for a mild 350 2 inch or 2.25 will suffice. I'd run 2.25 because it's more common, and. Exhaust Pipe Size Chevy 350.
From www.youtube.com
Flowmaster Exhaust on Squarebody *Chevy 350* YouTube Exhaust Pipe Size Chevy 350 Your intake system needs to flow 1.5 cfm per engine horsepower,. The quick and easy way to choose what diameter pipe you will need from the. enter the horsepower and this exhaust pipe size calculator will give you the recommended exhaust size in mm &. what size exhaust pipe should i use? I'd run 2.25 because it's more. Exhaust Pipe Size Chevy 350.
From www.speedwaymotors.com
11504YFLT YPipe Exhaust, 198895 GM Pickup, 305/350 SBC Exhaust Pipe Size Chevy 350 I'd run 2.25 because it's more common, and just in case some of the bends shrink the pipe. The quick and easy way to choose what diameter pipe you will need from the. what size exhaust pipe should i use? for a mild 350 2 inch or 2.25 will suffice. Your intake system needs to flow 1.5 cfm. Exhaust Pipe Size Chevy 350.
From www.rodauthority.com
The Ultimate Chevy Bel Air Exhaust System Construction Rod Authority Exhaust Pipe Size Chevy 350 for a mild 350 2 inch or 2.25 will suffice. quick and dirty exhaust system math. The quick and easy way to choose what diameter pipe you will need from the. I'd run 2.25 because it's more common, and just in case some of the bends shrink the pipe. enter the horsepower and this exhaust pipe size. Exhaust Pipe Size Chevy 350.
From exydpxhbf.blob.core.windows.net
Exhaust Pipe Size For Turbo at Byron Ford blog Exhaust Pipe Size Chevy 350 for a mild 350 2 inch or 2.25 will suffice. enter the horsepower and this exhaust pipe size calculator will give you the recommended exhaust size in mm &. The quick and easy way to choose what diameter pipe you will need from the. Your intake system needs to flow 1.5 cfm per engine horsepower,. quick and. Exhaust Pipe Size Chevy 350.
From www.youtube.com
Exhaust Pipe Size & Custom Exhaust Tips Summit Racing Quick Flicks Exhaust Pipe Size Chevy 350 Your intake system needs to flow 1.5 cfm per engine horsepower,. I'd run 2.25 because it's more common, and just in case some of the bends shrink the pipe. enter the horsepower and this exhaust pipe size calculator will give you the recommended exhaust size in mm &. quick and dirty exhaust system math. for a mild. Exhaust Pipe Size Chevy 350.
From kbdieselperformance.com
Exhaust Up Pipes Manifolds to Turbo for 6.6l Duramax Chevy GMC 2001 Exhaust Pipe Size Chevy 350 I'd run 2.25 because it's more common, and just in case some of the bends shrink the pipe. for a mild 350 2 inch or 2.25 will suffice. The quick and easy way to choose what diameter pipe you will need from the. quick and dirty exhaust system math. enter the horsepower and this exhaust pipe size. Exhaust Pipe Size Chevy 350.
From www.silveradosierra.com
Stock Exhaust Size Chevy Silverado and GMC Sierra Forum Exhaust Pipe Size Chevy 350 quick and dirty exhaust system math. what size exhaust pipe should i use? I'd run 2.25 because it's more common, and just in case some of the bends shrink the pipe. The quick and easy way to choose what diameter pipe you will need from the. Your intake system needs to flow 1.5 cfm per engine horsepower,. . Exhaust Pipe Size Chevy 350.
From www.walmart.com
AP Exhaust Tail Pipe Exhaust Pipe Size Chevy 350 Your intake system needs to flow 1.5 cfm per engine horsepower,. what size exhaust pipe should i use? quick and dirty exhaust system math. for a mild 350 2 inch or 2.25 will suffice. enter the horsepower and this exhaust pipe size calculator will give you the recommended exhaust size in mm &. I'd run 2.25. Exhaust Pipe Size Chevy 350.