Electrolysis In Wastewater Treatment . Microbial electrolysis cells (mecs) provide a promising solution by producing h 2 from wastewater. Microbial electrolysis cells (mecs) are cutting edge technology with great potential to become an alternative to conventional. It becomes clear that electrochemical processes are predominantly used in the field of industrial wastewater treatment, whereby electrodialysis finds wider application. The treated wastewater was designed. Various wastewater treatment technologies have been developed over the last few decades to address the increasing concern around. The use of microbial electrolysis cells (mec) for wastewater treatment provides an innovative alternative, working towards circular wastewater treatment for energy production. The electrolysis technology is an essential and significant discipline in many sectors of wastewater treatment including clean synthesis, monitoring of removal efficiency. The study suggests that wastewater and advanced treated watercan effectively utilize green hydrogen generation with impurity removal. The primary goal of this study was to demonstrate the feasibility of using a wastewater electrolysis cell (wec) for toilet wastewater disinfection.
from wallenius-sol.com
The treated wastewater was designed. It becomes clear that electrochemical processes are predominantly used in the field of industrial wastewater treatment, whereby electrodialysis finds wider application. The study suggests that wastewater and advanced treated watercan effectively utilize green hydrogen generation with impurity removal. Various wastewater treatment technologies have been developed over the last few decades to address the increasing concern around. Microbial electrolysis cells (mecs) provide a promising solution by producing h 2 from wastewater. Microbial electrolysis cells (mecs) are cutting edge technology with great potential to become an alternative to conventional. The electrolysis technology is an essential and significant discipline in many sectors of wastewater treatment including clean synthesis, monitoring of removal efficiency. The use of microbial electrolysis cells (mec) for wastewater treatment provides an innovative alternative, working towards circular wastewater treatment for energy production. The primary goal of this study was to demonstrate the feasibility of using a wastewater electrolysis cell (wec) for toilet wastewater disinfection.
The future of hydrogen at sea Wallenius Sol
Electrolysis In Wastewater Treatment The use of microbial electrolysis cells (mec) for wastewater treatment provides an innovative alternative, working towards circular wastewater treatment for energy production. It becomes clear that electrochemical processes are predominantly used in the field of industrial wastewater treatment, whereby electrodialysis finds wider application. The electrolysis technology is an essential and significant discipline in many sectors of wastewater treatment including clean synthesis, monitoring of removal efficiency. The use of microbial electrolysis cells (mec) for wastewater treatment provides an innovative alternative, working towards circular wastewater treatment for energy production. Microbial electrolysis cells (mecs) provide a promising solution by producing h 2 from wastewater. The study suggests that wastewater and advanced treated watercan effectively utilize green hydrogen generation with impurity removal. Various wastewater treatment technologies have been developed over the last few decades to address the increasing concern around. Microbial electrolysis cells (mecs) are cutting edge technology with great potential to become an alternative to conventional. The treated wastewater was designed. The primary goal of this study was to demonstrate the feasibility of using a wastewater electrolysis cell (wec) for toilet wastewater disinfection.
From www.mdpi.com
Water Free FullText Examining Current and Future Applications of Electrolysis In Wastewater Treatment The treated wastewater was designed. Various wastewater treatment technologies have been developed over the last few decades to address the increasing concern around. Microbial electrolysis cells (mecs) are cutting edge technology with great potential to become an alternative to conventional. The primary goal of this study was to demonstrate the feasibility of using a wastewater electrolysis cell (wec) for toilet. Electrolysis In Wastewater Treatment.
From www.researchgate.net
The fundamental of water electrolysis process. Download Scientific Electrolysis In Wastewater Treatment The primary goal of this study was to demonstrate the feasibility of using a wastewater electrolysis cell (wec) for toilet wastewater disinfection. Microbial electrolysis cells (mecs) are cutting edge technology with great potential to become an alternative to conventional. Microbial electrolysis cells (mecs) provide a promising solution by producing h 2 from wastewater. Various wastewater treatment technologies have been developed. Electrolysis In Wastewater Treatment.
From wiredatatisse56wr.z22.web.core.windows.net
Simple Electrolysis Of Water Diagram Electrolysis In Wastewater Treatment Microbial electrolysis cells (mecs) are cutting edge technology with great potential to become an alternative to conventional. Microbial electrolysis cells (mecs) provide a promising solution by producing h 2 from wastewater. The electrolysis technology is an essential and significant discipline in many sectors of wastewater treatment including clean synthesis, monitoring of removal efficiency. The use of microbial electrolysis cells (mec). Electrolysis In Wastewater Treatment.
From ptx-hub.org
Water electrolysis explained the basis for most PowertoX processes Electrolysis In Wastewater Treatment Microbial electrolysis cells (mecs) provide a promising solution by producing h 2 from wastewater. The electrolysis technology is an essential and significant discipline in many sectors of wastewater treatment including clean synthesis, monitoring of removal efficiency. Microbial electrolysis cells (mecs) are cutting edge technology with great potential to become an alternative to conventional. The use of microbial electrolysis cells (mec). Electrolysis In Wastewater Treatment.
From palmaryeco.en.made-in-china.com
High Quality Ec Electrocoagulation Electrolysis Reactor Cell Electrodes Electrolysis In Wastewater Treatment The study suggests that wastewater and advanced treated watercan effectively utilize green hydrogen generation with impurity removal. It becomes clear that electrochemical processes are predominantly used in the field of industrial wastewater treatment, whereby electrodialysis finds wider application. Microbial electrolysis cells (mecs) are cutting edge technology with great potential to become an alternative to conventional. Various wastewater treatment technologies have. Electrolysis In Wastewater Treatment.
From www2.mdpi.com
Processes Free FullText CFD Modeling and Experimental Validation Electrolysis In Wastewater Treatment It becomes clear that electrochemical processes are predominantly used in the field of industrial wastewater treatment, whereby electrodialysis finds wider application. The study suggests that wastewater and advanced treated watercan effectively utilize green hydrogen generation with impurity removal. The primary goal of this study was to demonstrate the feasibility of using a wastewater electrolysis cell (wec) for toilet wastewater disinfection.. Electrolysis In Wastewater Treatment.
From amy-ecopro.en.made-in-china.com
China Electrolysis Sodium Hypochlorite Generation for Cooling Water Electrolysis In Wastewater Treatment Microbial electrolysis cells (mecs) provide a promising solution by producing h 2 from wastewater. Various wastewater treatment technologies have been developed over the last few decades to address the increasing concern around. The use of microbial electrolysis cells (mec) for wastewater treatment provides an innovative alternative, working towards circular wastewater treatment for energy production. The electrolysis technology is an essential. Electrolysis In Wastewater Treatment.
From www.eversunny-marine.com
SMP series (electrolysis type) Sewage Treatment Plant Eversunny Electrolysis In Wastewater Treatment It becomes clear that electrochemical processes are predominantly used in the field of industrial wastewater treatment, whereby electrodialysis finds wider application. The treated wastewater was designed. The primary goal of this study was to demonstrate the feasibility of using a wastewater electrolysis cell (wec) for toilet wastewater disinfection. The use of microbial electrolysis cells (mec) for wastewater treatment provides an. Electrolysis In Wastewater Treatment.
From evuchina.en.made-in-china.com
HighQuality Ec Electrocoagulation Electrolysis Wastewater Treatment Electrolysis In Wastewater Treatment The primary goal of this study was to demonstrate the feasibility of using a wastewater electrolysis cell (wec) for toilet wastewater disinfection. Microbial electrolysis cells (mecs) provide a promising solution by producing h 2 from wastewater. The study suggests that wastewater and advanced treated watercan effectively utilize green hydrogen generation with impurity removal. The electrolysis technology is an essential and. Electrolysis In Wastewater Treatment.
From www.czjsim.com
Sewage Processor / ETP Effluent Treatment Plant,Electrolysis Electrolysis In Wastewater Treatment Microbial electrolysis cells (mecs) provide a promising solution by producing h 2 from wastewater. It becomes clear that electrochemical processes are predominantly used in the field of industrial wastewater treatment, whereby electrodialysis finds wider application. Various wastewater treatment technologies have been developed over the last few decades to address the increasing concern around. The primary goal of this study was. Electrolysis In Wastewater Treatment.
From membrion.com
Electrodialysis Reversal Recover More Clean Water Membrion Electrolysis In Wastewater Treatment Microbial electrolysis cells (mecs) are cutting edge technology with great potential to become an alternative to conventional. The treated wastewater was designed. Various wastewater treatment technologies have been developed over the last few decades to address the increasing concern around. The electrolysis technology is an essential and significant discipline in many sectors of wastewater treatment including clean synthesis, monitoring of. Electrolysis In Wastewater Treatment.
From onlinelibrary.wiley.com
Hydrogen Production from Makgeolli Wastewater Using a Single‐Chamber Electrolysis In Wastewater Treatment The electrolysis technology is an essential and significant discipline in many sectors of wastewater treatment including clean synthesis, monitoring of removal efficiency. Microbial electrolysis cells (mecs) provide a promising solution by producing h 2 from wastewater. Various wastewater treatment technologies have been developed over the last few decades to address the increasing concern around. The study suggests that wastewater and. Electrolysis In Wastewater Treatment.
From www.mdpi.com
Membranes Free FullText Combined Electrodialysis and Electrolysis In Wastewater Treatment Microbial electrolysis cells (mecs) are cutting edge technology with great potential to become an alternative to conventional. It becomes clear that electrochemical processes are predominantly used in the field of industrial wastewater treatment, whereby electrodialysis finds wider application. Microbial electrolysis cells (mecs) provide a promising solution by producing h 2 from wastewater. Various wastewater treatment technologies have been developed over. Electrolysis In Wastewater Treatment.
From www.mdpi.com
IJERPH Free FullText The Detoxification and Degradation of Electrolysis In Wastewater Treatment The electrolysis technology is an essential and significant discipline in many sectors of wastewater treatment including clean synthesis, monitoring of removal efficiency. The primary goal of this study was to demonstrate the feasibility of using a wastewater electrolysis cell (wec) for toilet wastewater disinfection. The study suggests that wastewater and advanced treated watercan effectively utilize green hydrogen generation with impurity. Electrolysis In Wastewater Treatment.
From encyclopedia.pub
Electrocoagulation Process on AgroBased Industrial Wastewater Electrolysis In Wastewater Treatment The study suggests that wastewater and advanced treated watercan effectively utilize green hydrogen generation with impurity removal. The treated wastewater was designed. The electrolysis technology is an essential and significant discipline in many sectors of wastewater treatment including clean synthesis, monitoring of removal efficiency. The use of microbial electrolysis cells (mec) for wastewater treatment provides an innovative alternative, working towards. Electrolysis In Wastewater Treatment.
From www.mdpi.com
Water Free FullText Microbial Electrolysis Cells for Decentralised Electrolysis In Wastewater Treatment The primary goal of this study was to demonstrate the feasibility of using a wastewater electrolysis cell (wec) for toilet wastewater disinfection. Various wastewater treatment technologies have been developed over the last few decades to address the increasing concern around. It becomes clear that electrochemical processes are predominantly used in the field of industrial wastewater treatment, whereby electrodialysis finds wider. Electrolysis In Wastewater Treatment.
From www.researchgate.net
A schematic representation of a microbial electrolysis cell for Electrolysis In Wastewater Treatment The treated wastewater was designed. The primary goal of this study was to demonstrate the feasibility of using a wastewater electrolysis cell (wec) for toilet wastewater disinfection. Microbial electrolysis cells (mecs) provide a promising solution by producing h 2 from wastewater. Microbial electrolysis cells (mecs) are cutting edge technology with great potential to become an alternative to conventional. Various wastewater. Electrolysis In Wastewater Treatment.
From www.nature.com
Cathodeenhanced wastewater treatment in bioelectrochemical systems Electrolysis In Wastewater Treatment The use of microbial electrolysis cells (mec) for wastewater treatment provides an innovative alternative, working towards circular wastewater treatment for energy production. The study suggests that wastewater and advanced treated watercan effectively utilize green hydrogen generation with impurity removal. It becomes clear that electrochemical processes are predominantly used in the field of industrial wastewater treatment, whereby electrodialysis finds wider application.. Electrolysis In Wastewater Treatment.
From www.youtube.com
Advanced Electrochemical based Electrolytic Sewage Treatment Plant Electrolysis In Wastewater Treatment It becomes clear that electrochemical processes are predominantly used in the field of industrial wastewater treatment, whereby electrodialysis finds wider application. The electrolysis technology is an essential and significant discipline in many sectors of wastewater treatment including clean synthesis, monitoring of removal efficiency. The use of microbial electrolysis cells (mec) for wastewater treatment provides an innovative alternative, working towards circular. Electrolysis In Wastewater Treatment.
From www.researchgate.net
(PDF) Overview of Electrolytic treatment An alternative technology for Electrolysis In Wastewater Treatment It becomes clear that electrochemical processes are predominantly used in the field of industrial wastewater treatment, whereby electrodialysis finds wider application. The primary goal of this study was to demonstrate the feasibility of using a wastewater electrolysis cell (wec) for toilet wastewater disinfection. Microbial electrolysis cells (mecs) provide a promising solution by producing h 2 from wastewater. The electrolysis technology. Electrolysis In Wastewater Treatment.
From encyclopedia.pub
Electrolysis of Industrial Wastewater Encyclopedia MDPI Electrolysis In Wastewater Treatment The primary goal of this study was to demonstrate the feasibility of using a wastewater electrolysis cell (wec) for toilet wastewater disinfection. The electrolysis technology is an essential and significant discipline in many sectors of wastewater treatment including clean synthesis, monitoring of removal efficiency. The study suggests that wastewater and advanced treated watercan effectively utilize green hydrogen generation with impurity. Electrolysis In Wastewater Treatment.
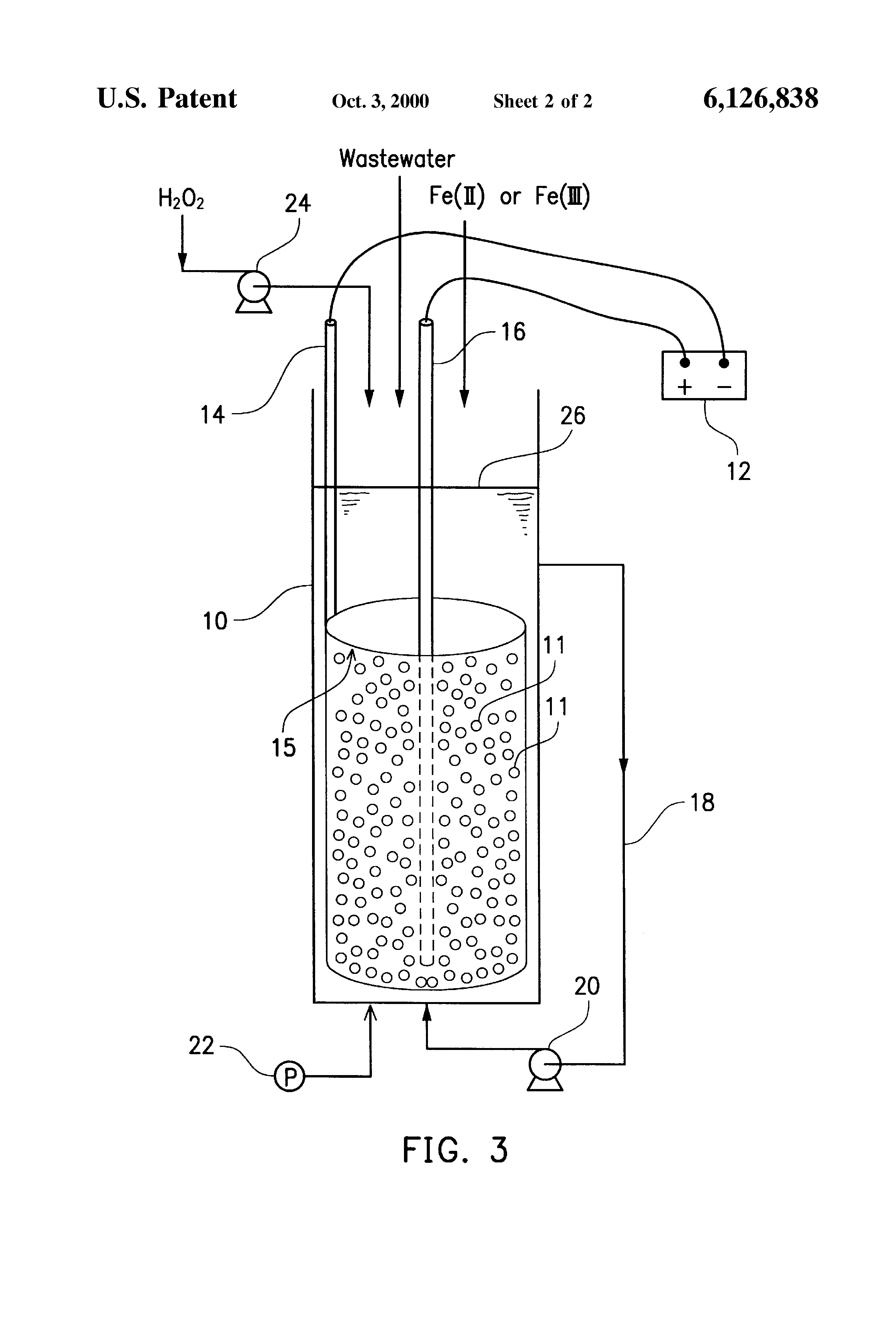
From www.google.com
Patent US6126838 Method of wastewater treatment by electrolysis and Electrolysis In Wastewater Treatment The treated wastewater was designed. Microbial electrolysis cells (mecs) provide a promising solution by producing h 2 from wastewater. It becomes clear that electrochemical processes are predominantly used in the field of industrial wastewater treatment, whereby electrodialysis finds wider application. Various wastewater treatment technologies have been developed over the last few decades to address the increasing concern around. The primary. Electrolysis In Wastewater Treatment.
From www.alibaba.com
18v 300a Amp 110v Single Phase Electrocoagulation Wastewater Treatment Electrolysis In Wastewater Treatment It becomes clear that electrochemical processes are predominantly used in the field of industrial wastewater treatment, whereby electrodialysis finds wider application. The use of microbial electrolysis cells (mec) for wastewater treatment provides an innovative alternative, working towards circular wastewater treatment for energy production. Microbial electrolysis cells (mecs) are cutting edge technology with great potential to become an alternative to conventional.. Electrolysis In Wastewater Treatment.
From www.youtube.com
Electrolytic sewage (effluent ) treatment plant working Procedure YouTube Electrolysis In Wastewater Treatment Various wastewater treatment technologies have been developed over the last few decades to address the increasing concern around. Microbial electrolysis cells (mecs) are cutting edge technology with great potential to become an alternative to conventional. The electrolysis technology is an essential and significant discipline in many sectors of wastewater treatment including clean synthesis, monitoring of removal efficiency. The primary goal. Electrolysis In Wastewater Treatment.
From www.pv-magazine.com
Australian scientists set out to use wastewater for green hydrogen Electrolysis In Wastewater Treatment Various wastewater treatment technologies have been developed over the last few decades to address the increasing concern around. It becomes clear that electrochemical processes are predominantly used in the field of industrial wastewater treatment, whereby electrodialysis finds wider application. The treated wastewater was designed. Microbial electrolysis cells (mecs) are cutting edge technology with great potential to become an alternative to. Electrolysis In Wastewater Treatment.
From journal.hep.com.cn
Pesticide wastewater treatment using the combination of the microbial Electrolysis In Wastewater Treatment The treated wastewater was designed. Microbial electrolysis cells (mecs) are cutting edge technology with great potential to become an alternative to conventional. Various wastewater treatment technologies have been developed over the last few decades to address the increasing concern around. Microbial electrolysis cells (mecs) provide a promising solution by producing h 2 from wastewater. The electrolysis technology is an essential. Electrolysis In Wastewater Treatment.
From www.mdpi.com
Processes Free FullText Mathematical Modeling of Microbial Electrolysis In Wastewater Treatment The primary goal of this study was to demonstrate the feasibility of using a wastewater electrolysis cell (wec) for toilet wastewater disinfection. The use of microbial electrolysis cells (mec) for wastewater treatment provides an innovative alternative, working towards circular wastewater treatment for energy production. Various wastewater treatment technologies have been developed over the last few decades to address the increasing. Electrolysis In Wastewater Treatment.
From www.researchgate.net
Mechanism of Electrolysis. Download Scientific Diagram Electrolysis In Wastewater Treatment The treated wastewater was designed. Microbial electrolysis cells (mecs) provide a promising solution by producing h 2 from wastewater. The study suggests that wastewater and advanced treated watercan effectively utilize green hydrogen generation with impurity removal. It becomes clear that electrochemical processes are predominantly used in the field of industrial wastewater treatment, whereby electrodialysis finds wider application. The electrolysis technology. Electrolysis In Wastewater Treatment.
From www.researchgate.net
Microbial electrolysis cells for hydrogen production and urban Electrolysis In Wastewater Treatment The study suggests that wastewater and advanced treated watercan effectively utilize green hydrogen generation with impurity removal. Microbial electrolysis cells (mecs) provide a promising solution by producing h 2 from wastewater. The use of microbial electrolysis cells (mec) for wastewater treatment provides an innovative alternative, working towards circular wastewater treatment for energy production. The electrolysis technology is an essential and. Electrolysis In Wastewater Treatment.
From blogs.rsc.org
HOT Articles Page 2 Environmental Science Water Research Electrolysis In Wastewater Treatment The treated wastewater was designed. The primary goal of this study was to demonstrate the feasibility of using a wastewater electrolysis cell (wec) for toilet wastewater disinfection. The study suggests that wastewater and advanced treated watercan effectively utilize green hydrogen generation with impurity removal. It becomes clear that electrochemical processes are predominantly used in the field of industrial wastewater treatment,. Electrolysis In Wastewater Treatment.
From www.climate-policy-watcher.org
Electrolytic Silver Recovery Industrial Wastes Electrolysis In Wastewater Treatment It becomes clear that electrochemical processes are predominantly used in the field of industrial wastewater treatment, whereby electrodialysis finds wider application. Microbial electrolysis cells (mecs) provide a promising solution by producing h 2 from wastewater. The treated wastewater was designed. The use of microbial electrolysis cells (mec) for wastewater treatment provides an innovative alternative, working towards circular wastewater treatment for. Electrolysis In Wastewater Treatment.
From wallenius-sol.com
The future of hydrogen at sea Wallenius Sol Electrolysis In Wastewater Treatment Various wastewater treatment technologies have been developed over the last few decades to address the increasing concern around. Microbial electrolysis cells (mecs) provide a promising solution by producing h 2 from wastewater. The use of microbial electrolysis cells (mec) for wastewater treatment provides an innovative alternative, working towards circular wastewater treatment for energy production. The electrolysis technology is an essential. Electrolysis In Wastewater Treatment.
From wxyosun.en.made-in-china.com
Dissolved Electrolysis Air Flotation Machinery Sewage Treatment Plant Electrolysis In Wastewater Treatment The primary goal of this study was to demonstrate the feasibility of using a wastewater electrolysis cell (wec) for toilet wastewater disinfection. The treated wastewater was designed. It becomes clear that electrochemical processes are predominantly used in the field of industrial wastewater treatment, whereby electrodialysis finds wider application. The use of microbial electrolysis cells (mec) for wastewater treatment provides an. Electrolysis In Wastewater Treatment.
From www.lap-publishing.com
Fe/C and Fe/Cu Internal Electrolysis Wastewater Treatment Processes Electrolysis In Wastewater Treatment The study suggests that wastewater and advanced treated watercan effectively utilize green hydrogen generation with impurity removal. The primary goal of this study was to demonstrate the feasibility of using a wastewater electrolysis cell (wec) for toilet wastewater disinfection. The use of microbial electrolysis cells (mec) for wastewater treatment provides an innovative alternative, working towards circular wastewater treatment for energy. Electrolysis In Wastewater Treatment.
From www.mdpi.com
Water Free FullText Microbial Electrochemical Technologies for Electrolysis In Wastewater Treatment The primary goal of this study was to demonstrate the feasibility of using a wastewater electrolysis cell (wec) for toilet wastewater disinfection. The electrolysis technology is an essential and significant discipline in many sectors of wastewater treatment including clean synthesis, monitoring of removal efficiency. Microbial electrolysis cells (mecs) are cutting edge technology with great potential to become an alternative to. Electrolysis In Wastewater Treatment.