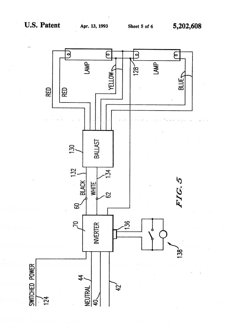
T8 Electronic Ballast Wiring Diagram . Engineered to optimize lighting performance and maximize energy savings, optanium ballasts fully support the wide variety of t8 fluorescent. Learn how to wire a t8 electronic ballast with a wiring diagram. The new ballast has one black wire, one white wire, two blue and. This article provides a detailed guide on how to read and interpret t8 ballast wiring. The basics of fluorescent lamps and dimming ballasts, including functional principles, lamp varieties, ballast factor, and lifetime. Need help understanding t8 ballast wiring diagrams? I am installing a new t8 single tube ballast to replace an older ballast. Information about fluorescent ballasts including description, wiring diagrams, and ballast installation including a video.
from schematron.org
The new ballast has one black wire, one white wire, two blue and. Learn how to wire a t8 electronic ballast with a wiring diagram. The basics of fluorescent lamps and dimming ballasts, including functional principles, lamp varieties, ballast factor, and lifetime. Information about fluorescent ballasts including description, wiring diagrams, and ballast installation including a video. Engineered to optimize lighting performance and maximize energy savings, optanium ballasts fully support the wide variety of t8 fluorescent. Need help understanding t8 ballast wiring diagrams? I am installing a new t8 single tube ballast to replace an older ballast. This article provides a detailed guide on how to read and interpret t8 ballast wiring.
T8 Electronic Ballast Wiring Diagram Wiring Diagram Pictures
T8 Electronic Ballast Wiring Diagram Information about fluorescent ballasts including description, wiring diagrams, and ballast installation including a video. The new ballast has one black wire, one white wire, two blue and. Need help understanding t8 ballast wiring diagrams? This article provides a detailed guide on how to read and interpret t8 ballast wiring. The basics of fluorescent lamps and dimming ballasts, including functional principles, lamp varieties, ballast factor, and lifetime. Learn how to wire a t8 electronic ballast with a wiring diagram. I am installing a new t8 single tube ballast to replace an older ballast. Information about fluorescent ballasts including description, wiring diagrams, and ballast installation including a video. Engineered to optimize lighting performance and maximize energy savings, optanium ballasts fully support the wide variety of t8 fluorescent.
From guidewiringtimothy.z21.web.core.windows.net
Wiring T8 Ballast T12 Fixture T8 Electronic Ballast Wiring Diagram This article provides a detailed guide on how to read and interpret t8 ballast wiring. I am installing a new t8 single tube ballast to replace an older ballast. Learn how to wire a t8 electronic ballast with a wiring diagram. The basics of fluorescent lamps and dimming ballasts, including functional principles, lamp varieties, ballast factor, and lifetime. Engineered to. T8 Electronic Ballast Wiring Diagram.
From enginedatapisceans.z13.web.core.windows.net
4 Lamp T8 Ballast Wiring Diagram T8 Electronic Ballast Wiring Diagram Need help understanding t8 ballast wiring diagrams? I am installing a new t8 single tube ballast to replace an older ballast. This article provides a detailed guide on how to read and interpret t8 ballast wiring. The basics of fluorescent lamps and dimming ballasts, including functional principles, lamp varieties, ballast factor, and lifetime. Learn how to wire a t8 electronic. T8 Electronic Ballast Wiring Diagram.
From 2020cadillac.com
T8 Ballast Wiring Schematic Wiring Library 2Lamp T8 Ballast Wiring Diagram Cadician's Blog T8 Electronic Ballast Wiring Diagram I am installing a new t8 single tube ballast to replace an older ballast. The basics of fluorescent lamps and dimming ballasts, including functional principles, lamp varieties, ballast factor, and lifetime. Need help understanding t8 ballast wiring diagrams? This article provides a detailed guide on how to read and interpret t8 ballast wiring. Learn how to wire a t8 electronic. T8 Electronic Ballast Wiring Diagram.
From www.got2bwireless.com
2Lamp T8 Ballast Wiring Diagram For Your Needs T8 Electronic Ballast Wiring Diagram The new ballast has one black wire, one white wire, two blue and. Learn how to wire a t8 electronic ballast with a wiring diagram. The basics of fluorescent lamps and dimming ballasts, including functional principles, lamp varieties, ballast factor, and lifetime. Information about fluorescent ballasts including description, wiring diagrams, and ballast installation including a video. Engineered to optimize lighting. T8 Electronic Ballast Wiring Diagram.
From manualdbstrouted.z21.web.core.windows.net
T8 4 Lamp Ballast Wiring Diagram T8 Electronic Ballast Wiring Diagram Engineered to optimize lighting performance and maximize energy savings, optanium ballasts fully support the wide variety of t8 fluorescent. Information about fluorescent ballasts including description, wiring diagrams, and ballast installation including a video. This article provides a detailed guide on how to read and interpret t8 ballast wiring. The new ballast has one black wire, one white wire, two blue. T8 Electronic Ballast Wiring Diagram.
From birdiesandcupcakes.blogspot.com
Wiring Diagram For T8 Electronic Ballast T8 Electronic Ballast Wiring Diagram The basics of fluorescent lamps and dimming ballasts, including functional principles, lamp varieties, ballast factor, and lifetime. Learn how to wire a t8 electronic ballast with a wiring diagram. This article provides a detailed guide on how to read and interpret t8 ballast wiring. I am installing a new t8 single tube ballast to replace an older ballast. Information about. T8 Electronic Ballast Wiring Diagram.
From diagramweb.net
T8 Electronic Ballast Wiring Diagram T8 Electronic Ballast Wiring Diagram The basics of fluorescent lamps and dimming ballasts, including functional principles, lamp varieties, ballast factor, and lifetime. Need help understanding t8 ballast wiring diagrams? This article provides a detailed guide on how to read and interpret t8 ballast wiring. Engineered to optimize lighting performance and maximize energy savings, optanium ballasts fully support the wide variety of t8 fluorescent. I am. T8 Electronic Ballast Wiring Diagram.
From www.got2bwireless.com
3 Lamp T8 Ballast Wiring Diagram Database T8 Electronic Ballast Wiring Diagram Need help understanding t8 ballast wiring diagrams? The new ballast has one black wire, one white wire, two blue and. I am installing a new t8 single tube ballast to replace an older ballast. Engineered to optimize lighting performance and maximize energy savings, optanium ballasts fully support the wide variety of t8 fluorescent. Learn how to wire a t8 electronic. T8 Electronic Ballast Wiring Diagram.
From 2020cadillac.com
3 L T8 Ballast Wiring Diagram Free Download Simple Wiring Diagrams Ballast Wiring Diagram T8 T8 Electronic Ballast Wiring Diagram Learn how to wire a t8 electronic ballast with a wiring diagram. The new ballast has one black wire, one white wire, two blue and. Information about fluorescent ballasts including description, wiring diagrams, and ballast installation including a video. This article provides a detailed guide on how to read and interpret t8 ballast wiring. Engineered to optimize lighting performance and. T8 Electronic Ballast Wiring Diagram.
From fixdiagramregina.z6.web.core.windows.net
T8 4 Lamp Ballast Wiring Diagram T8 Electronic Ballast Wiring Diagram Information about fluorescent ballasts including description, wiring diagrams, and ballast installation including a video. Need help understanding t8 ballast wiring diagrams? The new ballast has one black wire, one white wire, two blue and. Learn how to wire a t8 electronic ballast with a wiring diagram. Engineered to optimize lighting performance and maximize energy savings, optanium ballasts fully support the. T8 Electronic Ballast Wiring Diagram.
From schematicpartfordoes.z5.web.core.windows.net
T12 To T8 Ballast Wiring Diagram T8 Electronic Ballast Wiring Diagram The new ballast has one black wire, one white wire, two blue and. Information about fluorescent ballasts including description, wiring diagrams, and ballast installation including a video. The basics of fluorescent lamps and dimming ballasts, including functional principles, lamp varieties, ballast factor, and lifetime. Need help understanding t8 ballast wiring diagrams? Learn how to wire a t8 electronic ballast with. T8 Electronic Ballast Wiring Diagram.
From 2020cadillac.com
Sylvania Quicktronic Ballast Wiring Diagram Fresh T8 Electronic Ballast Wiring Diagram T8 Electronic Ballast Wiring Diagram This article provides a detailed guide on how to read and interpret t8 ballast wiring. The basics of fluorescent lamps and dimming ballasts, including functional principles, lamp varieties, ballast factor, and lifetime. Learn how to wire a t8 electronic ballast with a wiring diagram. Information about fluorescent ballasts including description, wiring diagrams, and ballast installation including a video. Need help. T8 Electronic Ballast Wiring Diagram.
From fixdiagramkathy99.z19.web.core.windows.net
T8 Ballast Wiring T8 Electronic Ballast Wiring Diagram The new ballast has one black wire, one white wire, two blue and. The basics of fluorescent lamps and dimming ballasts, including functional principles, lamp varieties, ballast factor, and lifetime. I am installing a new t8 single tube ballast to replace an older ballast. Engineered to optimize lighting performance and maximize energy savings, optanium ballasts fully support the wide variety. T8 Electronic Ballast Wiring Diagram.
From schematron.org
T8 Electronic Ballast Wiring Diagram Wiring Diagram Pictures T8 Electronic Ballast Wiring Diagram The new ballast has one black wire, one white wire, two blue and. Learn how to wire a t8 electronic ballast with a wiring diagram. This article provides a detailed guide on how to read and interpret t8 ballast wiring. Information about fluorescent ballasts including description, wiring diagrams, and ballast installation including a video. The basics of fluorescent lamps and. T8 Electronic Ballast Wiring Diagram.
From circuitmanualostermann.z19.web.core.windows.net
Universal T8 Ballast Wiring Diagram T8 Electronic Ballast Wiring Diagram The new ballast has one black wire, one white wire, two blue and. Engineered to optimize lighting performance and maximize energy savings, optanium ballasts fully support the wide variety of t8 fluorescent. Learn how to wire a t8 electronic ballast with a wiring diagram. I am installing a new t8 single tube ballast to replace an older ballast. The basics. T8 Electronic Ballast Wiring Diagram.
From diysusz.blogspot.com
2 Lamp T8 Ballast Wiring Diagram Diysus T8 Electronic Ballast Wiring Diagram Engineered to optimize lighting performance and maximize energy savings, optanium ballasts fully support the wide variety of t8 fluorescent. I am installing a new t8 single tube ballast to replace an older ballast. This article provides a detailed guide on how to read and interpret t8 ballast wiring. The basics of fluorescent lamps and dimming ballasts, including functional principles, lamp. T8 Electronic Ballast Wiring Diagram.
From greenced63.blogspot.com
T8 Dimming Ballast Wiring Diagram Greenced T8 Electronic Ballast Wiring Diagram Need help understanding t8 ballast wiring diagrams? Learn how to wire a t8 electronic ballast with a wiring diagram. I am installing a new t8 single tube ballast to replace an older ballast. This article provides a detailed guide on how to read and interpret t8 ballast wiring. Information about fluorescent ballasts including description, wiring diagrams, and ballast installation including. T8 Electronic Ballast Wiring Diagram.
From schematron.org
Ge Electronic Ballast T8 2 Lamp 48 Wiring Diagram T8 Electronic Ballast Wiring Diagram I am installing a new t8 single tube ballast to replace an older ballast. Engineered to optimize lighting performance and maximize energy savings, optanium ballasts fully support the wide variety of t8 fluorescent. Learn how to wire a t8 electronic ballast with a wiring diagram. Information about fluorescent ballasts including description, wiring diagrams, and ballast installation including a video. The. T8 Electronic Ballast Wiring Diagram.
From schematicdatagentry123.z13.web.core.windows.net
T8 Ballast Bypass Wiring Diagram T8 Electronic Ballast Wiring Diagram Engineered to optimize lighting performance and maximize energy savings, optanium ballasts fully support the wide variety of t8 fluorescent. Information about fluorescent ballasts including description, wiring diagrams, and ballast installation including a video. This article provides a detailed guide on how to read and interpret t8 ballast wiring. I am installing a new t8 single tube ballast to replace an. T8 Electronic Ballast Wiring Diagram.
From wirelibrarymasters.z5.web.core.windows.net
T8 Ballast Wiring Diagram 277 Volt T8 Electronic Ballast Wiring Diagram Information about fluorescent ballasts including description, wiring diagrams, and ballast installation including a video. I am installing a new t8 single tube ballast to replace an older ballast. Engineered to optimize lighting performance and maximize energy savings, optanium ballasts fully support the wide variety of t8 fluorescent. The new ballast has one black wire, one white wire, two blue and.. T8 Electronic Ballast Wiring Diagram.
From annawiringdiagram.com
Ballast Wiring Diagram T8 Wiring Diagram T8 Electronic Ballast Wiring Diagram This article provides a detailed guide on how to read and interpret t8 ballast wiring. Information about fluorescent ballasts including description, wiring diagrams, and ballast installation including a video. Learn how to wire a t8 electronic ballast with a wiring diagram. The basics of fluorescent lamps and dimming ballasts, including functional principles, lamp varieties, ballast factor, and lifetime. Engineered to. T8 Electronic Ballast Wiring Diagram.
From annawiringdiagram.com
Sylvania Quicktronic Ballast Wiring Diagram Fresh T8 Electronic Ballast Wiring Diagram T8 Electronic Ballast Wiring Diagram Need help understanding t8 ballast wiring diagrams? I am installing a new t8 single tube ballast to replace an older ballast. This article provides a detailed guide on how to read and interpret t8 ballast wiring. Learn how to wire a t8 electronic ballast with a wiring diagram. Information about fluorescent ballasts including description, wiring diagrams, and ballast installation including. T8 Electronic Ballast Wiring Diagram.
From enginelibrhonda.z6.web.core.windows.net
T8 Emergency Ballast Wiring Diagram T8 Electronic Ballast Wiring Diagram The basics of fluorescent lamps and dimming ballasts, including functional principles, lamp varieties, ballast factor, and lifetime. Information about fluorescent ballasts including description, wiring diagrams, and ballast installation including a video. Need help understanding t8 ballast wiring diagrams? The new ballast has one black wire, one white wire, two blue and. I am installing a new t8 single tube ballast. T8 Electronic Ballast Wiring Diagram.
From 2020cadillac.com
T8 Ballast Wiring Schematic Wiring Library 2Lamp T8 Ballast Wiring Diagram Cadician's Blog T8 Electronic Ballast Wiring Diagram Engineered to optimize lighting performance and maximize energy savings, optanium ballasts fully support the wide variety of t8 fluorescent. Need help understanding t8 ballast wiring diagrams? Information about fluorescent ballasts including description, wiring diagrams, and ballast installation including a video. I am installing a new t8 single tube ballast to replace an older ballast. Learn how to wire a t8. T8 Electronic Ballast Wiring Diagram.
From manualwiringwexler.z19.web.core.windows.net
T8 Light Ballast Wiring Diagram 6 T8 Electronic Ballast Wiring Diagram This article provides a detailed guide on how to read and interpret t8 ballast wiring. I am installing a new t8 single tube ballast to replace an older ballast. Information about fluorescent ballasts including description, wiring diagrams, and ballast installation including a video. The new ballast has one black wire, one white wire, two blue and. Learn how to wire. T8 Electronic Ballast Wiring Diagram.
From manualwiringwexler.z19.web.core.windows.net
4 Lamp T8 Ballast Wiring T8 Electronic Ballast Wiring Diagram Learn how to wire a t8 electronic ballast with a wiring diagram. The new ballast has one black wire, one white wire, two blue and. Information about fluorescent ballasts including description, wiring diagrams, and ballast installation including a video. I am installing a new t8 single tube ballast to replace an older ballast. Need help understanding t8 ballast wiring diagrams?. T8 Electronic Ballast Wiring Diagram.
From annawiringdiagram.com
4 Lamp T8 Ballast Wiring Diagram Wiring Diagram T8 Electronic Ballast Wiring Diagram The new ballast has one black wire, one white wire, two blue and. Learn how to wire a t8 electronic ballast with a wiring diagram. Need help understanding t8 ballast wiring diagrams? Engineered to optimize lighting performance and maximize energy savings, optanium ballasts fully support the wide variety of t8 fluorescent. The basics of fluorescent lamps and dimming ballasts, including. T8 Electronic Ballast Wiring Diagram.
From diysusz.blogspot.com
2 Lamp T8 Ballast Wiring Diagram Diysus T8 Electronic Ballast Wiring Diagram Engineered to optimize lighting performance and maximize energy savings, optanium ballasts fully support the wide variety of t8 fluorescent. The basics of fluorescent lamps and dimming ballasts, including functional principles, lamp varieties, ballast factor, and lifetime. Information about fluorescent ballasts including description, wiring diagrams, and ballast installation including a video. The new ballast has one black wire, one white wire,. T8 Electronic Ballast Wiring Diagram.
From guidelistausterlitz.z19.web.core.windows.net
Wiring T8 Ballast T8 Electronic Ballast Wiring Diagram The basics of fluorescent lamps and dimming ballasts, including functional principles, lamp varieties, ballast factor, and lifetime. Learn how to wire a t8 electronic ballast with a wiring diagram. The new ballast has one black wire, one white wire, two blue and. I am installing a new t8 single tube ballast to replace an older ballast. This article provides a. T8 Electronic Ballast Wiring Diagram.
From abbbysworld.blogspot.com
T8 Ballast Wiring Diagram Parallel T8 Electronic Ballast Wiring Diagram Need help understanding t8 ballast wiring diagrams? Learn how to wire a t8 electronic ballast with a wiring diagram. This article provides a detailed guide on how to read and interpret t8 ballast wiring. Engineered to optimize lighting performance and maximize energy savings, optanium ballasts fully support the wide variety of t8 fluorescent. The new ballast has one black wire,. T8 Electronic Ballast Wiring Diagram.
From annawiringdiagram.com
4 Lamp T8 Ballast Wiring Diagram Wiring Diagram T8 Electronic Ballast Wiring Diagram Learn how to wire a t8 electronic ballast with a wiring diagram. Information about fluorescent ballasts including description, wiring diagrams, and ballast installation including a video. This article provides a detailed guide on how to read and interpret t8 ballast wiring. I am installing a new t8 single tube ballast to replace an older ballast. The new ballast has one. T8 Electronic Ballast Wiring Diagram.
From annawiringdiagram.com
2 Lamp T8 Ballast Wiring Diagram Wiring Diagram T8 Electronic Ballast Wiring Diagram Information about fluorescent ballasts including description, wiring diagrams, and ballast installation including a video. Learn how to wire a t8 electronic ballast with a wiring diagram. This article provides a detailed guide on how to read and interpret t8 ballast wiring. The basics of fluorescent lamps and dimming ballasts, including functional principles, lamp varieties, ballast factor, and lifetime. I am. T8 Electronic Ballast Wiring Diagram.
From manualwiringwexler.z19.web.core.windows.net
T12 To T8 Ballast Wiring Diagram T8 Electronic Ballast Wiring Diagram Engineered to optimize lighting performance and maximize energy savings, optanium ballasts fully support the wide variety of t8 fluorescent. The basics of fluorescent lamps and dimming ballasts, including functional principles, lamp varieties, ballast factor, and lifetime. Need help understanding t8 ballast wiring diagrams? Learn how to wire a t8 electronic ballast with a wiring diagram. Information about fluorescent ballasts including. T8 Electronic Ballast Wiring Diagram.
From schematiclisteva.z19.web.core.windows.net
T8 Ballast Wiring Instructions T8 Electronic Ballast Wiring Diagram Engineered to optimize lighting performance and maximize energy savings, optanium ballasts fully support the wide variety of t8 fluorescent. I am installing a new t8 single tube ballast to replace an older ballast. Information about fluorescent ballasts including description, wiring diagrams, and ballast installation including a video. Need help understanding t8 ballast wiring diagrams? Learn how to wire a t8. T8 Electronic Ballast Wiring Diagram.
From 2020cadillac.com
T12 To T8 Wiring Diagram Manual EBooks 2Lamp T8 Ballast Wiring Diagram Cadician's Blog T8 Electronic Ballast Wiring Diagram Need help understanding t8 ballast wiring diagrams? Information about fluorescent ballasts including description, wiring diagrams, and ballast installation including a video. The basics of fluorescent lamps and dimming ballasts, including functional principles, lamp varieties, ballast factor, and lifetime. I am installing a new t8 single tube ballast to replace an older ballast. This article provides a detailed guide on how. T8 Electronic Ballast Wiring Diagram.