Refrigeration Td Definition . — so delta t is a temperature change in something, while td (temperature difference) is the difference in. Understanding both measurements can lead to better diagnostics and optimization of hvac systems. — measured evaporator temperature or td (temperature difference) = the suction saturation temperature (not pressure) measured on the suction. Evaporator delta t involves measuring air entering and air leaving temperatures. A system in which a secondary fluid absorbs the refrigerant, releasing heat, then releases the. — an evaporator’s temperature difference (td) is the difference between the saturation temperature of the refrigerant inside the. — evaporator td involves measuring air entering temperature and refrigerant temperature.
from refrigerationbest.blogspot.com
— so delta t is a temperature change in something, while td (temperature difference) is the difference in. — evaporator td involves measuring air entering temperature and refrigerant temperature. — an evaporator’s temperature difference (td) is the difference between the saturation temperature of the refrigerant inside the. — measured evaporator temperature or td (temperature difference) = the suction saturation temperature (not pressure) measured on the suction. Understanding both measurements can lead to better diagnostics and optimization of hvac systems. A system in which a secondary fluid absorbs the refrigerant, releasing heat, then releases the. Evaporator delta t involves measuring air entering and air leaving temperatures.
Refrigeration Multistage Refrigeration System
Refrigeration Td Definition Evaporator delta t involves measuring air entering and air leaving temperatures. A system in which a secondary fluid absorbs the refrigerant, releasing heat, then releases the. — evaporator td involves measuring air entering temperature and refrigerant temperature. — measured evaporator temperature or td (temperature difference) = the suction saturation temperature (not pressure) measured on the suction. Understanding both measurements can lead to better diagnostics and optimization of hvac systems. Evaporator delta t involves measuring air entering and air leaving temperatures. — so delta t is a temperature change in something, while td (temperature difference) is the difference in. — an evaporator’s temperature difference (td) is the difference between the saturation temperature of the refrigerant inside the.
From refrigerationbest.blogspot.com
Refrigeration Working Fluid Refrigeration Refrigeration Td Definition Understanding both measurements can lead to better diagnostics and optimization of hvac systems. A system in which a secondary fluid absorbs the refrigerant, releasing heat, then releases the. — measured evaporator temperature or td (temperature difference) = the suction saturation temperature (not pressure) measured on the suction. — an evaporator’s temperature difference (td) is the difference between the. Refrigeration Td Definition.
From svadba-orel.online
What is a Refrigerated Table Definition and Uses Homes for Sale Refrigeration Td Definition — measured evaporator temperature or td (temperature difference) = the suction saturation temperature (not pressure) measured on the suction. — so delta t is a temperature change in something, while td (temperature difference) is the difference in. — an evaporator’s temperature difference (td) is the difference between the saturation temperature of the refrigerant inside the. A system. Refrigeration Td Definition.
From www.google.ca
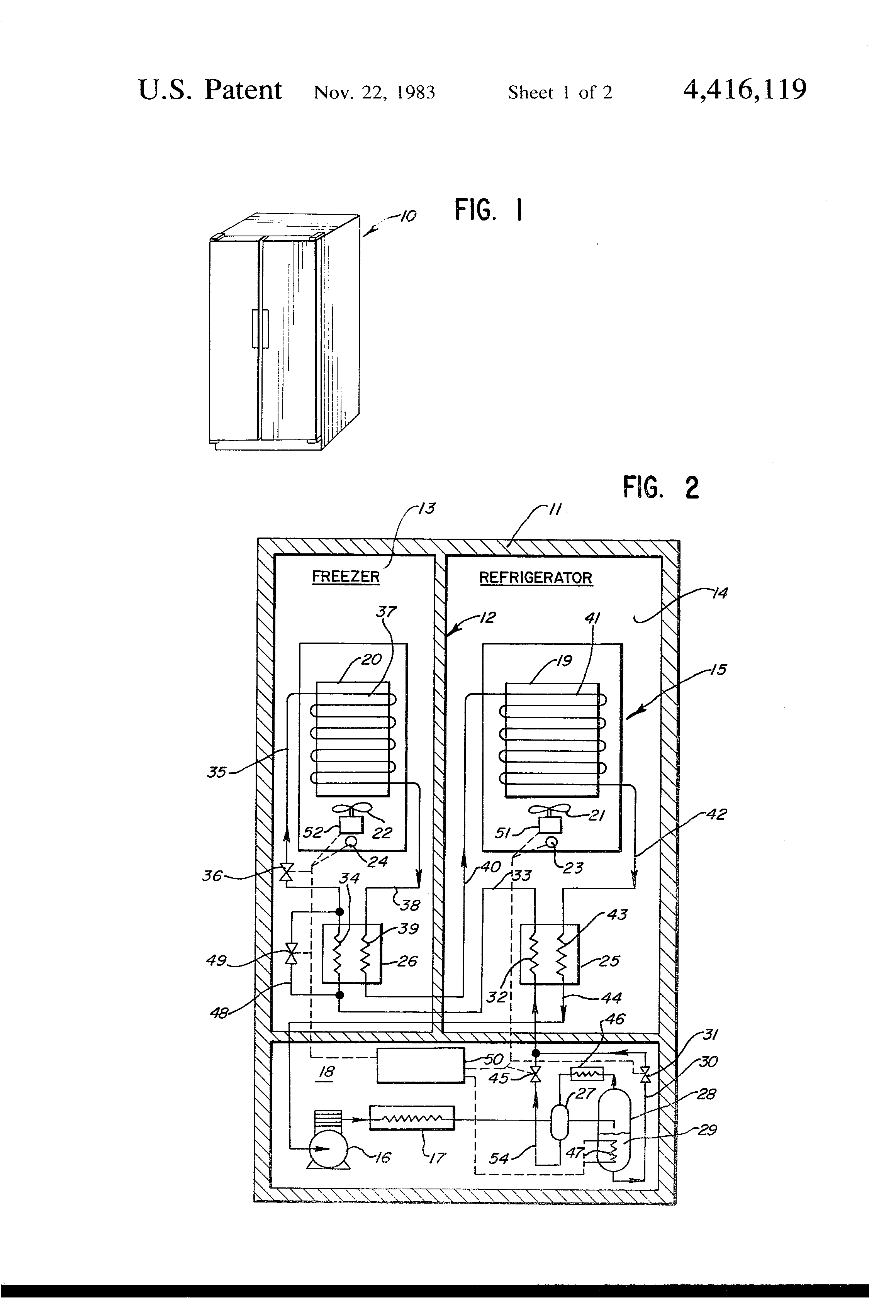
Patent US4416119 Variable capacity binary refrigerant refrigeration Refrigeration Td Definition — measured evaporator temperature or td (temperature difference) = the suction saturation temperature (not pressure) measured on the suction. Understanding both measurements can lead to better diagnostics and optimization of hvac systems. A system in which a secondary fluid absorbs the refrigerant, releasing heat, then releases the. — an evaporator’s temperature difference (td) is the difference between the. Refrigeration Td Definition.
From refrigerationbest.blogspot.com
Refrigeration Causes High Pressure Refrigeration Refrigeration Td Definition A system in which a secondary fluid absorbs the refrigerant, releasing heat, then releases the. — so delta t is a temperature change in something, while td (temperature difference) is the difference in. Evaporator delta t involves measuring air entering and air leaving temperatures. Understanding both measurements can lead to better diagnostics and optimization of hvac systems. —. Refrigeration Td Definition.
From www.scribd.com
Definition of Terms Refrigeration PDF Heat Exchanger Refrigeration Refrigeration Td Definition Evaporator delta t involves measuring air entering and air leaving temperatures. — so delta t is a temperature change in something, while td (temperature difference) is the difference in. — an evaporator’s temperature difference (td) is the difference between the saturation temperature of the refrigerant inside the. — measured evaporator temperature or td (temperature difference) = the. Refrigeration Td Definition.
From refrigerationbest.blogspot.com
Refrigeration Difference Between Refrigeration And Cooling Refrigeration Td Definition — evaporator td involves measuring air entering temperature and refrigerant temperature. Evaporator delta t involves measuring air entering and air leaving temperatures. Understanding both measurements can lead to better diagnostics and optimization of hvac systems. — so delta t is a temperature change in something, while td (temperature difference) is the difference in. — measured evaporator temperature. Refrigeration Td Definition.
From exodlxfvc.blob.core.windows.net
Define Refrigeration And Its Uses at Luis Ricks blog Refrigeration Td Definition — measured evaporator temperature or td (temperature difference) = the suction saturation temperature (not pressure) measured on the suction. — an evaporator’s temperature difference (td) is the difference between the saturation temperature of the refrigerant inside the. A system in which a secondary fluid absorbs the refrigerant, releasing heat, then releases the. — so delta t is. Refrigeration Td Definition.
From refrigerationtoday.blogspot.com
Refrigeration Refrigeration Approach Method Refrigeration Td Definition — an evaporator’s temperature difference (td) is the difference between the saturation temperature of the refrigerant inside the. — evaporator td involves measuring air entering temperature and refrigerant temperature. — so delta t is a temperature change in something, while td (temperature difference) is the difference in. Understanding both measurements can lead to better diagnostics and optimization. Refrigeration Td Definition.
From refconhvac.com
15 Major Components and Controls of Refrigeration System Refcon hvac Refrigeration Td Definition A system in which a secondary fluid absorbs the refrigerant, releasing heat, then releases the. — measured evaporator temperature or td (temperature difference) = the suction saturation temperature (not pressure) measured on the suction. Evaporator delta t involves measuring air entering and air leaving temperatures. — evaporator td involves measuring air entering temperature and refrigerant temperature. Understanding both. Refrigeration Td Definition.
From testbook.com
Refrigeration Definition, Refrigeration Cycle, Working, Uses Refrigeration Td Definition — an evaporator’s temperature difference (td) is the difference between the saturation temperature of the refrigerant inside the. — so delta t is a temperature change in something, while td (temperature difference) is the difference in. — measured evaporator temperature or td (temperature difference) = the suction saturation temperature (not pressure) measured on the suction. Understanding both. Refrigeration Td Definition.
From refrigerationbestest.blogspot.com
Refrigeration Define Superheat Refrigeration Refrigeration Td Definition — evaporator td involves measuring air entering temperature and refrigerant temperature. A system in which a secondary fluid absorbs the refrigerant, releasing heat, then releases the. — an evaporator’s temperature difference (td) is the difference between the saturation temperature of the refrigerant inside the. Evaporator delta t involves measuring air entering and air leaving temperatures. Understanding both measurements. Refrigeration Td Definition.
From www.energypurse.com
Refrigeration System Types and working Refrigeration Td Definition — evaporator td involves measuring air entering temperature and refrigerant temperature. Evaporator delta t involves measuring air entering and air leaving temperatures. — measured evaporator temperature or td (temperature difference) = the suction saturation temperature (not pressure) measured on the suction. A system in which a secondary fluid absorbs the refrigerant, releasing heat, then releases the. —. Refrigeration Td Definition.
From refrigerationtoday.blogspot.com
Refrigeration Dx Refrigeration Systems Operation Refrigeration Td Definition — an evaporator’s temperature difference (td) is the difference between the saturation temperature of the refrigerant inside the. — so delta t is a temperature change in something, while td (temperature difference) is the difference in. — measured evaporator temperature or td (temperature difference) = the suction saturation temperature (not pressure) measured on the suction. Understanding both. Refrigeration Td Definition.
From gaugehow.com
What is Refrigeration? Cooling process vs Refrigeration process Refrigeration Td Definition A system in which a secondary fluid absorbs the refrigerant, releasing heat, then releases the. — an evaporator’s temperature difference (td) is the difference between the saturation temperature of the refrigerant inside the. — evaporator td involves measuring air entering temperature and refrigerant temperature. — so delta t is a temperature change in something, while td (temperature. Refrigeration Td Definition.
From refrigerationbest.blogspot.com
Refrigeration Refrigeration Direct Expansion Refrigeration Td Definition A system in which a secondary fluid absorbs the refrigerant, releasing heat, then releases the. — an evaporator’s temperature difference (td) is the difference between the saturation temperature of the refrigerant inside the. — measured evaporator temperature or td (temperature difference) = the suction saturation temperature (not pressure) measured on the suction. Understanding both measurements can lead to. Refrigeration Td Definition.
From refrigerationbest.blogspot.com
Refrigeration Causes High Pressure Refrigeration Refrigeration Td Definition — so delta t is a temperature change in something, while td (temperature difference) is the difference in. — an evaporator’s temperature difference (td) is the difference between the saturation temperature of the refrigerant inside the. Evaporator delta t involves measuring air entering and air leaving temperatures. A system in which a secondary fluid absorbs the refrigerant, releasing. Refrigeration Td Definition.
From refrigerationtoday.blogspot.com
Refrigeration Refrigeration Charts Pdf Refrigeration Td Definition — evaporator td involves measuring air entering temperature and refrigerant temperature. — so delta t is a temperature change in something, while td (temperature difference) is the difference in. — measured evaporator temperature or td (temperature difference) = the suction saturation temperature (not pressure) measured on the suction. Evaporator delta t involves measuring air entering and air. Refrigeration Td Definition.
From www.youtube.com
Define 'Refrigeration' English YouTube Refrigeration Td Definition Understanding both measurements can lead to better diagnostics and optimization of hvac systems. — measured evaporator temperature or td (temperature difference) = the suction saturation temperature (not pressure) measured on the suction. A system in which a secondary fluid absorbs the refrigerant, releasing heat, then releases the. — an evaporator’s temperature difference (td) is the difference between the. Refrigeration Td Definition.
From www.youtube.com
Define Refrigeration and Tonne of Refrigeration M5.01 Thermal Refrigeration Td Definition A system in which a secondary fluid absorbs the refrigerant, releasing heat, then releases the. Evaporator delta t involves measuring air entering and air leaving temperatures. — an evaporator’s temperature difference (td) is the difference between the saturation temperature of the refrigerant inside the. — evaporator td involves measuring air entering temperature and refrigerant temperature. Understanding both measurements. Refrigeration Td Definition.
From refrigerationbest.blogspot.com
Refrigeration Refrigeration Direct Expansion Refrigeration Td Definition — so delta t is a temperature change in something, while td (temperature difference) is the difference in. Evaporator delta t involves measuring air entering and air leaving temperatures. Understanding both measurements can lead to better diagnostics and optimization of hvac systems. — an evaporator’s temperature difference (td) is the difference between the saturation temperature of the refrigerant. Refrigeration Td Definition.
From blog.kitchenrama.com
Know About The Different Types Of Commercial Refrigeration Before Refrigeration Td Definition A system in which a secondary fluid absorbs the refrigerant, releasing heat, then releases the. — so delta t is a temperature change in something, while td (temperature difference) is the difference in. — measured evaporator temperature or td (temperature difference) = the suction saturation temperature (not pressure) measured on the suction. Understanding both measurements can lead to. Refrigeration Td Definition.
From hvacrschool.com
Rack Refrigeration 101 Definition and Overview HVAC School Refrigeration Td Definition A system in which a secondary fluid absorbs the refrigerant, releasing heat, then releases the. — measured evaporator temperature or td (temperature difference) = the suction saturation temperature (not pressure) measured on the suction. Understanding both measurements can lead to better diagnostics and optimization of hvac systems. — so delta t is a temperature change in something, while. Refrigeration Td Definition.
From www.studocu.com
Refrigeration TIPS jnjn Refrigeration Definition, purpose. What is Refrigeration Td Definition — measured evaporator temperature or td (temperature difference) = the suction saturation temperature (not pressure) measured on the suction. — so delta t is a temperature change in something, while td (temperature difference) is the difference in. — an evaporator’s temperature difference (td) is the difference between the saturation temperature of the refrigerant inside the. Understanding both. Refrigeration Td Definition.
From pdfprof.com
PDF Télécharger 1 ton of refrigeration to kw Gratuit PDF Refrigeration Td Definition Evaporator delta t involves measuring air entering and air leaving temperatures. — measured evaporator temperature or td (temperature difference) = the suction saturation temperature (not pressure) measured on the suction. Understanding both measurements can lead to better diagnostics and optimization of hvac systems. A system in which a secondary fluid absorbs the refrigerant, releasing heat, then releases the. . Refrigeration Td Definition.
From www.achrnews.com
How to Prevent the Compressor From Overheating 20181203 ACHR News Refrigeration Td Definition — evaporator td involves measuring air entering temperature and refrigerant temperature. — measured evaporator temperature or td (temperature difference) = the suction saturation temperature (not pressure) measured on the suction. A system in which a secondary fluid absorbs the refrigerant, releasing heat, then releases the. Evaporator delta t involves measuring air entering and air leaving temperatures. Understanding both. Refrigeration Td Definition.
From refrigerationbest.blogspot.com
Refrigeration Scotsman Refrigeration Supply Refrigeration Td Definition Evaporator delta t involves measuring air entering and air leaving temperatures. — evaporator td involves measuring air entering temperature and refrigerant temperature. A system in which a secondary fluid absorbs the refrigerant, releasing heat, then releases the. — measured evaporator temperature or td (temperature difference) = the suction saturation temperature (not pressure) measured on the suction. Understanding both. Refrigeration Td Definition.
From refrigerationbest.blogspot.com
Refrigeration Refrigeration Cycle Subcooling Superheating Refrigeration Td Definition Evaporator delta t involves measuring air entering and air leaving temperatures. — an evaporator’s temperature difference (td) is the difference between the saturation temperature of the refrigerant inside the. Understanding both measurements can lead to better diagnostics and optimization of hvac systems. — measured evaporator temperature or td (temperature difference) = the suction saturation temperature (not pressure) measured. Refrigeration Td Definition.
From refrigerationbest.blogspot.com
Refrigeration Multistage Refrigeration System Refrigeration Td Definition — evaporator td involves measuring air entering temperature and refrigerant temperature. A system in which a secondary fluid absorbs the refrigerant, releasing heat, then releases the. — measured evaporator temperature or td (temperature difference) = the suction saturation temperature (not pressure) measured on the suction. — so delta t is a temperature change in something, while td. Refrigeration Td Definition.
From refrigerationbest.blogspot.com
Refrigeration Difference Between Refrigeration And Cooling Refrigeration Td Definition A system in which a secondary fluid absorbs the refrigerant, releasing heat, then releases the. — so delta t is a temperature change in something, while td (temperature difference) is the difference in. — measured evaporator temperature or td (temperature difference) = the suction saturation temperature (not pressure) measured on the suction. Evaporator delta t involves measuring air. Refrigeration Td Definition.
From www.youtube.com
One Ton of Refrigeration, Definition and Principle YouTube Refrigeration Td Definition Understanding both measurements can lead to better diagnostics and optimization of hvac systems. — measured evaporator temperature or td (temperature difference) = the suction saturation temperature (not pressure) measured on the suction. — so delta t is a temperature change in something, while td (temperature difference) is the difference in. Evaporator delta t involves measuring air entering and. Refrigeration Td Definition.
From refrigerationbest.blogspot.com
Refrigeration Refrigeration Direct Expansion Refrigeration Td Definition — evaporator td involves measuring air entering temperature and refrigerant temperature. A system in which a secondary fluid absorbs the refrigerant, releasing heat, then releases the. — an evaporator’s temperature difference (td) is the difference between the saturation temperature of the refrigerant inside the. Understanding both measurements can lead to better diagnostics and optimization of hvac systems. Evaporator. Refrigeration Td Definition.
From www.organised-sound.com
Refrigeration Schematic Diagram » Wiring Diagram Refrigeration Td Definition — an evaporator’s temperature difference (td) is the difference between the saturation temperature of the refrigerant inside the. Understanding both measurements can lead to better diagnostics and optimization of hvac systems. Evaporator delta t involves measuring air entering and air leaving temperatures. — evaporator td involves measuring air entering temperature and refrigerant temperature. — measured evaporator temperature. Refrigeration Td Definition.
From pdfprof.com
PDF Télécharger 1 ton of refrigeration to kw Gratuit PDF Refrigeration Td Definition — so delta t is a temperature change in something, while td (temperature difference) is the difference in. Evaporator delta t involves measuring air entering and air leaving temperatures. — an evaporator’s temperature difference (td) is the difference between the saturation temperature of the refrigerant inside the. A system in which a secondary fluid absorbs the refrigerant, releasing. Refrigeration Td Definition.
From realrefrigeration.com.au
refrigerationcycle Real Refrigeration Refrigeration Td Definition A system in which a secondary fluid absorbs the refrigerant, releasing heat, then releases the. — so delta t is a temperature change in something, while td (temperature difference) is the difference in. — an evaporator’s temperature difference (td) is the difference between the saturation temperature of the refrigerant inside the. — evaporator td involves measuring air. Refrigeration Td Definition.
From www.hvacrnews.com.au
So how do you define refrigeration?! HVAC&R News Refrigeration Td Definition A system in which a secondary fluid absorbs the refrigerant, releasing heat, then releases the. — so delta t is a temperature change in something, while td (temperature difference) is the difference in. Evaporator delta t involves measuring air entering and air leaving temperatures. — measured evaporator temperature or td (temperature difference) = the suction saturation temperature (not. Refrigeration Td Definition.