Pcb Hole Pad Size . This is suitable for dip ics, 1/4 watt resistors, small transistor and capacitors. The hole size is usually slightly larger than the component lead to allow for soldering. Level a minimum hole size = maximum lead diameter + 0.25 mm (1) level b minimum hole size = maximum lead diameter + 0.20 mm (2) level c minimum hole size = maximum lead diameter + 0. These pads, which have a hole in the middle to accommodate component leads that pass through the pcb, typically range from about 1.5 mm to 3.5 mm in diameter. There is no single standard pcb pad size. .040 is needed for post headers, and larger holes are. This article discusses the necessity of pcb pad size guidelines and the resources you can use for information on the sizes and shapes of the pads you need. Pad dimensions are tailored to the component lead style and pitch, lead diameter, hole size, soldering.
from www.worthingtonassembly.com
The hole size is usually slightly larger than the component lead to allow for soldering. Level a minimum hole size = maximum lead diameter + 0.25 mm (1) level b minimum hole size = maximum lead diameter + 0.20 mm (2) level c minimum hole size = maximum lead diameter + 0. .040 is needed for post headers, and larger holes are. There is no single standard pcb pad size. This is suitable for dip ics, 1/4 watt resistors, small transistor and capacitors. These pads, which have a hole in the middle to accommodate component leads that pass through the pcb, typically range from about 1.5 mm to 3.5 mm in diameter. This article discusses the necessity of pcb pad size guidelines and the resources you can use for information on the sizes and shapes of the pads you need. Pad dimensions are tailored to the component lead style and pitch, lead diameter, hole size, soldering.
Determining PlatedThruHole Sizes — Worthington Assembly Inc.
Pcb Hole Pad Size This article discusses the necessity of pcb pad size guidelines and the resources you can use for information on the sizes and shapes of the pads you need. This is suitable for dip ics, 1/4 watt resistors, small transistor and capacitors. Pad dimensions are tailored to the component lead style and pitch, lead diameter, hole size, soldering. There is no single standard pcb pad size. .040 is needed for post headers, and larger holes are. The hole size is usually slightly larger than the component lead to allow for soldering. This article discusses the necessity of pcb pad size guidelines and the resources you can use for information on the sizes and shapes of the pads you need. These pads, which have a hole in the middle to accommodate component leads that pass through the pcb, typically range from about 1.5 mm to 3.5 mm in diameter. Level a minimum hole size = maximum lead diameter + 0.25 mm (1) level b minimum hole size = maximum lead diameter + 0.20 mm (2) level c minimum hole size = maximum lead diameter + 0.
From www.pcbaaa.com
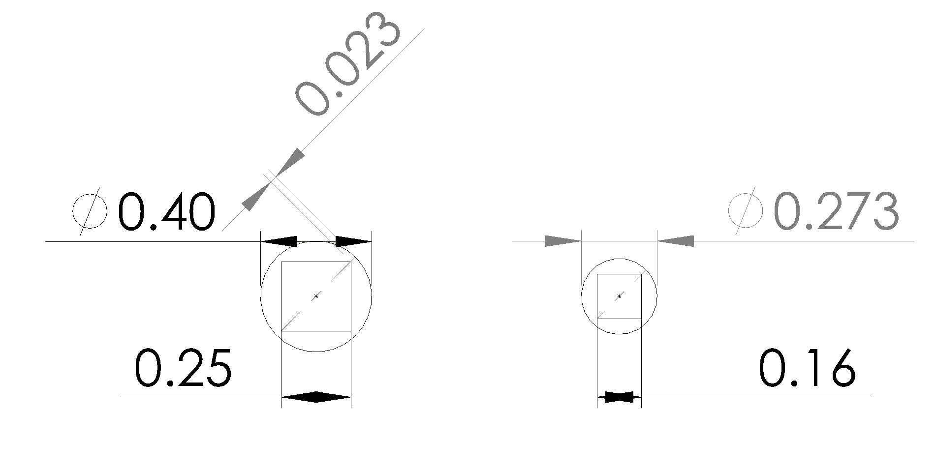
Everything you need to know about PCB through hole IBE Electronics Pcb Hole Pad Size Level a minimum hole size = maximum lead diameter + 0.25 mm (1) level b minimum hole size = maximum lead diameter + 0.20 mm (2) level c minimum hole size = maximum lead diameter + 0. There is no single standard pcb pad size. The hole size is usually slightly larger than the component lead to allow for soldering.. Pcb Hole Pad Size.
From www.wellpcb.com
PCB Hole SizeHow To Drill ItQuickly Review Pcb Hole Pad Size These pads, which have a hole in the middle to accommodate component leads that pass through the pcb, typically range from about 1.5 mm to 3.5 mm in diameter. .040 is needed for post headers, and larger holes are. Pad dimensions are tailored to the component lead style and pitch, lead diameter, hole size, soldering. Level a minimum hole size. Pcb Hole Pad Size.
From www.raypcb.com
How to Measure PCB Hole Size RAYPCB Pcb Hole Pad Size This article discusses the necessity of pcb pad size guidelines and the resources you can use for information on the sizes and shapes of the pads you need. .040 is needed for post headers, and larger holes are. These pads, which have a hole in the middle to accommodate component leads that pass through the pcb, typically range from about. Pcb Hole Pad Size.
From www.pcbaaa.com
The complete guide to PCB pad :types, size, spacing, repair and comparison IBE Electronics Pcb Hole Pad Size Pad dimensions are tailored to the component lead style and pitch, lead diameter, hole size, soldering. There is no single standard pcb pad size. This article discusses the necessity of pcb pad size guidelines and the resources you can use for information on the sizes and shapes of the pads you need. .040 is needed for post headers, and larger. Pcb Hole Pad Size.
From hillmancurtis.com
Via PCB Design Guide Which Type Is Best For You? Pcb Hole Pad Size This is suitable for dip ics, 1/4 watt resistors, small transistor and capacitors. The hole size is usually slightly larger than the component lead to allow for soldering. These pads, which have a hole in the middle to accommodate component leads that pass through the pcb, typically range from about 1.5 mm to 3.5 mm in diameter. Pad dimensions are. Pcb Hole Pad Size.
From www.worthingtonassembly.com
Determining PlatedThruHole Sizes — Worthington Assembly Inc. Pcb Hole Pad Size There is no single standard pcb pad size. Level a minimum hole size = maximum lead diameter + 0.25 mm (1) level b minimum hole size = maximum lead diameter + 0.20 mm (2) level c minimum hole size = maximum lead diameter + 0. This is suitable for dip ics, 1/4 watt resistors, small transistor and capacitors. .040 is. Pcb Hole Pad Size.
From www.pcbaaa.com
The complete guide to PCB pad :types, size, spacing, repair and comparison IBE Electronics Pcb Hole Pad Size Level a minimum hole size = maximum lead diameter + 0.25 mm (1) level b minimum hole size = maximum lead diameter + 0.20 mm (2) level c minimum hole size = maximum lead diameter + 0. This is suitable for dip ics, 1/4 watt resistors, small transistor and capacitors. This article discusses the necessity of pcb pad size guidelines. Pcb Hole Pad Size.
From blog.epectec.com
Flexible PCB Line and Space Limitations to Be Aware Of Pcb Hole Pad Size This article discusses the necessity of pcb pad size guidelines and the resources you can use for information on the sizes and shapes of the pads you need. Level a minimum hole size = maximum lead diameter + 0.25 mm (1) level b minimum hole size = maximum lead diameter + 0.20 mm (2) level c minimum hole size =. Pcb Hole Pad Size.
From electronics.stackexchange.com
pcb What does the hole size and diameter of a via means in Altium? What do they actually Pcb Hole Pad Size This is suitable for dip ics, 1/4 watt resistors, small transistor and capacitors. This article discusses the necessity of pcb pad size guidelines and the resources you can use for information on the sizes and shapes of the pads you need. There is no single standard pcb pad size. Pad dimensions are tailored to the component lead style and pitch,. Pcb Hole Pad Size.
From www.pcbelec.com
Basic Knowledge of PCB Pad Design JHYPCB Pcb Hole Pad Size This is suitable for dip ics, 1/4 watt resistors, small transistor and capacitors. Pad dimensions are tailored to the component lead style and pitch, lead diameter, hole size, soldering. There is no single standard pcb pad size. Level a minimum hole size = maximum lead diameter + 0.25 mm (1) level b minimum hole size = maximum lead diameter +. Pcb Hole Pad Size.
From resources.altium.com
Best Methods for Calculating SMD Pad Size in PCB Design Pcb Hole Pad Size This is suitable for dip ics, 1/4 watt resistors, small transistor and capacitors. This article discusses the necessity of pcb pad size guidelines and the resources you can use for information on the sizes and shapes of the pads you need. The hole size is usually slightly larger than the component lead to allow for soldering. There is no single. Pcb Hole Pad Size.
From blog.mbedded.ninja
Pads, Vias And Holes mbedded.ninja Pcb Hole Pad Size Pad dimensions are tailored to the component lead style and pitch, lead diameter, hole size, soldering. The hole size is usually slightly larger than the component lead to allow for soldering. There is no single standard pcb pad size. .040 is needed for post headers, and larger holes are. Level a minimum hole size = maximum lead diameter + 0.25. Pcb Hole Pad Size.
From electronics.stackexchange.com
pcb Pad hole size for 0.1" Male Headers Electrical Engineering Stack Exchange Pcb Hole Pad Size The hole size is usually slightly larger than the component lead to allow for soldering. There is no single standard pcb pad size. .040 is needed for post headers, and larger holes are. Pad dimensions are tailored to the component lead style and pitch, lead diameter, hole size, soldering. This article discusses the necessity of pcb pad size guidelines and. Pcb Hole Pad Size.
From www.villageinframe.com
Pcb Mounting Hole Size Chart A Pictures Of Hole 2018 Pcb Hole Pad Size There is no single standard pcb pad size. Level a minimum hole size = maximum lead diameter + 0.25 mm (1) level b minimum hole size = maximum lead diameter + 0.20 mm (2) level c minimum hole size = maximum lead diameter + 0. Pad dimensions are tailored to the component lead style and pitch, lead diameter, hole size,. Pcb Hole Pad Size.
From resources.altium.com
Hole Size Tolerance PCB Design Software Altium Pcb Hole Pad Size This article discusses the necessity of pcb pad size guidelines and the resources you can use for information on the sizes and shapes of the pads you need. .040 is needed for post headers, and larger holes are. There is no single standard pcb pad size. The hole size is usually slightly larger than the component lead to allow for. Pcb Hole Pad Size.
From www.electronicsforu.com
Via Hole Types And Their Use In PCBs Design Guide Pcb Hole Pad Size Pad dimensions are tailored to the component lead style and pitch, lead diameter, hole size, soldering. There is no single standard pcb pad size. .040 is needed for post headers, and larger holes are. This article discusses the necessity of pcb pad size guidelines and the resources you can use for information on the sizes and shapes of the pads. Pcb Hole Pad Size.
From www.protoexpress.com
What is a Pad in PCB Design and Development Sierra Circuits Pcb Hole Pad Size The hole size is usually slightly larger than the component lead to allow for soldering. .040 is needed for post headers, and larger holes are. This is suitable for dip ics, 1/4 watt resistors, small transistor and capacitors. There is no single standard pcb pad size. Level a minimum hole size = maximum lead diameter + 0.25 mm (1) level. Pcb Hole Pad Size.
From qtech-us.com
The complete guide to PCB pad :types, size, spacing, repair and comparison Qtech Technology Co. Ltd Pcb Hole Pad Size Pad dimensions are tailored to the component lead style and pitch, lead diameter, hole size, soldering. .040 is needed for post headers, and larger holes are. This is suitable for dip ics, 1/4 watt resistors, small transistor and capacitors. The hole size is usually slightly larger than the component lead to allow for soldering. This article discusses the necessity of. Pcb Hole Pad Size.
From www.pcba-manufacturers.com
A detailed guideline for PCB mount PCBA Manufacturers Pcb Hole Pad Size .040 is needed for post headers, and larger holes are. This is suitable for dip ics, 1/4 watt resistors, small transistor and capacitors. These pads, which have a hole in the middle to accommodate component leads that pass through the pcb, typically range from about 1.5 mm to 3.5 mm in diameter. There is no single standard pcb pad size.. Pcb Hole Pad Size.
From www.raypcb.com
How to Calculate SMD Pad Sizes RAYPCB Pcb Hole Pad Size These pads, which have a hole in the middle to accommodate component leads that pass through the pcb, typically range from about 1.5 mm to 3.5 mm in diameter. Level a minimum hole size = maximum lead diameter + 0.25 mm (1) level b minimum hole size = maximum lead diameter + 0.20 mm (2) level c minimum hole size. Pcb Hole Pad Size.
From www.pcbaaa.com
The complete guide to PCB pad :types, size, spacing, repair and comparison IBE Electronics Pcb Hole Pad Size .040 is needed for post headers, and larger holes are. There is no single standard pcb pad size. The hole size is usually slightly larger than the component lead to allow for soldering. These pads, which have a hole in the middle to accommodate component leads that pass through the pcb, typically range from about 1.5 mm to 3.5 mm. Pcb Hole Pad Size.
From www.jpe-innovations.com
PCB design Typical layout characteristics JPE Pcb Hole Pad Size This is suitable for dip ics, 1/4 watt resistors, small transistor and capacitors. Level a minimum hole size = maximum lead diameter + 0.25 mm (1) level b minimum hole size = maximum lead diameter + 0.20 mm (2) level c minimum hole size = maximum lead diameter + 0. .040 is needed for post headers, and larger holes are.. Pcb Hole Pad Size.
From www.ourpcb.com
PCB Via Information It's Here OurPCB Pcb Hole Pad Size These pads, which have a hole in the middle to accommodate component leads that pass through the pcb, typically range from about 1.5 mm to 3.5 mm in diameter. This is suitable for dip ics, 1/4 watt resistors, small transistor and capacitors. Level a minimum hole size = maximum lead diameter + 0.25 mm (1) level b minimum hole size. Pcb Hole Pad Size.
From www.protoexpress.com
How to Design Correct PCB Footprints Sierra Circuits Pcb Hole Pad Size This article discusses the necessity of pcb pad size guidelines and the resources you can use for information on the sizes and shapes of the pads you need. Pad dimensions are tailored to the component lead style and pitch, lead diameter, hole size, soldering. There is no single standard pcb pad size. Level a minimum hole size = maximum lead. Pcb Hole Pad Size.
From www.protoexpress.com
What is a Pad in PCB Design and Development Sierra Circuits Pcb Hole Pad Size Level a minimum hole size = maximum lead diameter + 0.25 mm (1) level b minimum hole size = maximum lead diameter + 0.20 mm (2) level c minimum hole size = maximum lead diameter + 0. The hole size is usually slightly larger than the component lead to allow for soldering. There is no single standard pcb pad size.. Pcb Hole Pad Size.
From giozxjebo.blob.core.windows.net
Pcb Mounting Hole Standard Size at Carlos Siniard blog Pcb Hole Pad Size .040 is needed for post headers, and larger holes are. These pads, which have a hole in the middle to accommodate component leads that pass through the pcb, typically range from about 1.5 mm to 3.5 mm in diameter. The hole size is usually slightly larger than the component lead to allow for soldering. There is no single standard pcb. Pcb Hole Pad Size.
From resources.altium.com
PCB Via Size and Pad Size Guidelines Zach Peterson Blog Altium Designer Pcb Hole Pad Size These pads, which have a hole in the middle to accommodate component leads that pass through the pcb, typically range from about 1.5 mm to 3.5 mm in diameter. The hole size is usually slightly larger than the component lead to allow for soldering. This is suitable for dip ics, 1/4 watt resistors, small transistor and capacitors. Pad dimensions are. Pcb Hole Pad Size.
From www.worthingtonassembly.com
Determining PlatedThruHole Sizes — Worthington Assembly Inc. Pcb Hole Pad Size Pad dimensions are tailored to the component lead style and pitch, lead diameter, hole size, soldering. This is suitable for dip ics, 1/4 watt resistors, small transistor and capacitors. Level a minimum hole size = maximum lead diameter + 0.25 mm (1) level b minimum hole size = maximum lead diameter + 0.20 mm (2) level c minimum hole size. Pcb Hole Pad Size.
From www.protoexpress.com
What is a Pad in PCB Design and Development Sierra Circuits Pcb Hole Pad Size The hole size is usually slightly larger than the component lead to allow for soldering. .040 is needed for post headers, and larger holes are. This is suitable for dip ics, 1/4 watt resistors, small transistor and capacitors. This article discusses the necessity of pcb pad size guidelines and the resources you can use for information on the sizes and. Pcb Hole Pad Size.
From www.protoexpress.com
What is a Pad in PCB Design and Development Sierra Circuits Pcb Hole Pad Size The hole size is usually slightly larger than the component lead to allow for soldering. This is suitable for dip ics, 1/4 watt resistors, small transistor and capacitors. There is no single standard pcb pad size. Pad dimensions are tailored to the component lead style and pitch, lead diameter, hole size, soldering. Level a minimum hole size = maximum lead. Pcb Hole Pad Size.
From www.protoexpress.com
What is a Pad in PCB Design and Development Sierra Circuits Pcb Hole Pad Size .040 is needed for post headers, and larger holes are. These pads, which have a hole in the middle to accommodate component leads that pass through the pcb, typically range from about 1.5 mm to 3.5 mm in diameter. Pad dimensions are tailored to the component lead style and pitch, lead diameter, hole size, soldering. This article discusses the necessity. Pcb Hole Pad Size.
From atadiat.com
PCB Design Four PCB Marks You May See And Never know What They Are Before Atadiat Pcb Hole Pad Size These pads, which have a hole in the middle to accommodate component leads that pass through the pcb, typically range from about 1.5 mm to 3.5 mm in diameter. There is no single standard pcb pad size. Pad dimensions are tailored to the component lead style and pitch, lead diameter, hole size, soldering. This article discusses the necessity of pcb. Pcb Hole Pad Size.
From www.protoexpress.com
What is a Pad in PCB Design and Development Sierra Circuits Pcb Hole Pad Size There is no single standard pcb pad size. Level a minimum hole size = maximum lead diameter + 0.25 mm (1) level b minimum hole size = maximum lead diameter + 0.20 mm (2) level c minimum hole size = maximum lead diameter + 0. These pads, which have a hole in the middle to accommodate component leads that pass. Pcb Hole Pad Size.
From resources.altium.com
All About PCB Tooling Holes What They Are and Where They Go Blog Altium Designer Pcb Hole Pad Size .040 is needed for post headers, and larger holes are. This article discusses the necessity of pcb pad size guidelines and the resources you can use for information on the sizes and shapes of the pads you need. There is no single standard pcb pad size. The hole size is usually slightly larger than the component lead to allow for. Pcb Hole Pad Size.
From www.circuits-diy.com
How to Choose a PCB Board Size Pcb Hole Pad Size Pad dimensions are tailored to the component lead style and pitch, lead diameter, hole size, soldering. These pads, which have a hole in the middle to accommodate component leads that pass through the pcb, typically range from about 1.5 mm to 3.5 mm in diameter. Level a minimum hole size = maximum lead diameter + 0.25 mm (1) level b. Pcb Hole Pad Size.