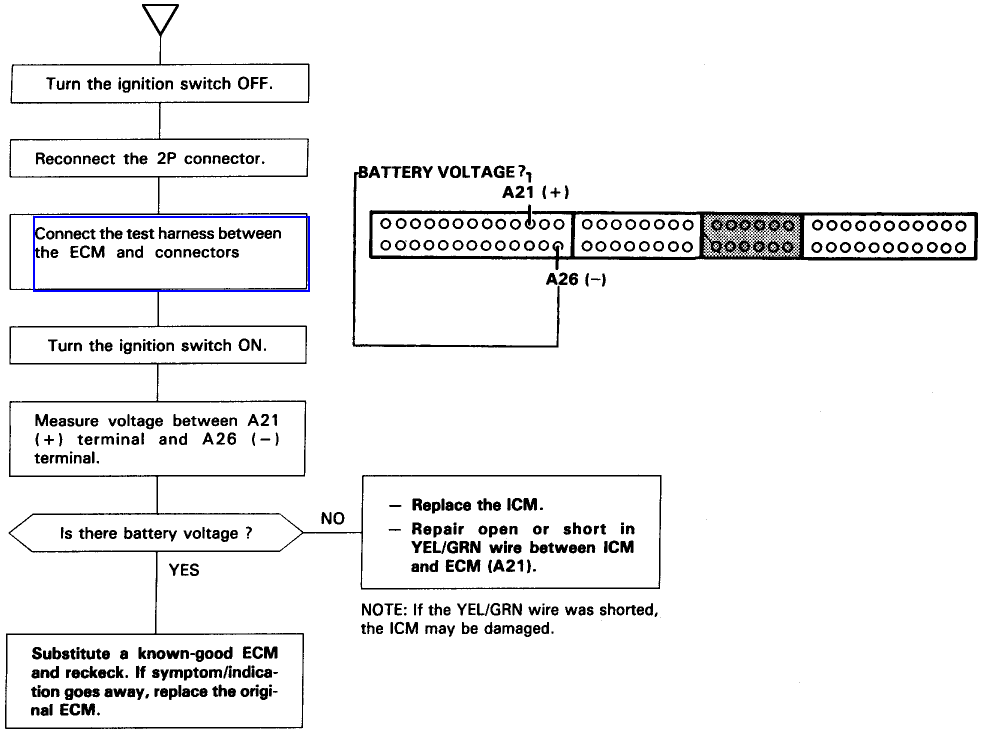
How To Test Distributor Ignitor . the tests shown in this video can be used on most ignition coils with the exception of the 3 and 4 wire coil over plug systems. Bench testing a distributor is a simple and effective way to diagnose issues with your vehicle’s ignition system. about press copyright contact us creators advertise developers terms. #nospark when you have no spa. You'll test the following components:. the yel/grn wire is the control signal from the ecm. • distributor housing needs to be grounded to engine or intake. To test the distributor cap and rotor, remove them and check inside for faults and look closely at Voltage measured her will vary depending on engine speed. Ecm grounds this to trigger igniter. Checking for power at the distributor.
from explainopedia.com
You'll test the following components:. Checking for power at the distributor. the tests shown in this video can be used on most ignition coils with the exception of the 3 and 4 wire coil over plug systems. Bench testing a distributor is a simple and effective way to diagnose issues with your vehicle’s ignition system. the yel/grn wire is the control signal from the ecm. #nospark when you have no spa. Voltage measured her will vary depending on engine speed. Ecm grounds this to trigger igniter. • distributor housing needs to be grounded to engine or intake. To test the distributor cap and rotor, remove them and check inside for faults and look closely at
How To Test A Furnace Ignitor in 3 Easy Steps EXPLAINOPEDIA
How To Test Distributor Ignitor the yel/grn wire is the control signal from the ecm. • distributor housing needs to be grounded to engine or intake. about press copyright contact us creators advertise developers terms. Ecm grounds this to trigger igniter. Bench testing a distributor is a simple and effective way to diagnose issues with your vehicle’s ignition system. #nospark when you have no spa. Checking for power at the distributor. To test the distributor cap and rotor, remove them and check inside for faults and look closely at the tests shown in this video can be used on most ignition coils with the exception of the 3 and 4 wire coil over plug systems. Voltage measured her will vary depending on engine speed. the yel/grn wire is the control signal from the ecm. You'll test the following components:.
From support.expeditionimports.com
EICSB107B Ignitor Module Testing Procedure Expedition Imports How To Test Distributor Ignitor To test the distributor cap and rotor, remove them and check inside for faults and look closely at the yel/grn wire is the control signal from the ecm. You'll test the following components:. Checking for power at the distributor. • distributor housing needs to be grounded to engine or intake. #nospark when you have no spa. the tests. How To Test Distributor Ignitor.
From explainopedia.com
How To Test A Furnace Ignitor in 3 Easy Steps EXPLAINOPEDIA How To Test Distributor Ignitor You'll test the following components:. Checking for power at the distributor. #nospark when you have no spa. Voltage measured her will vary depending on engine speed. Ecm grounds this to trigger igniter. To test the distributor cap and rotor, remove them and check inside for faults and look closely at the tests shown in this video can be used. How To Test Distributor Ignitor.
From heatingsystemwiki.com
How To Test RV Furnace Ignitor? StepByStep Setup Guide How To Test Distributor Ignitor #nospark when you have no spa. Checking for power at the distributor. Bench testing a distributor is a simple and effective way to diagnose issues with your vehicle’s ignition system. the tests shown in this video can be used on most ignition coils with the exception of the 3 and 4 wire coil over plug systems. about press. How To Test Distributor Ignitor.
From www.discounthearth.com
How to Test a Spark Ignitor How To Test Distributor Ignitor To test the distributor cap and rotor, remove them and check inside for faults and look closely at #nospark when you have no spa. the tests shown in this video can be used on most ignition coils with the exception of the 3 and 4 wire coil over plug systems. You'll test the following components:. Checking for power at. How To Test Distributor Ignitor.
From www.youtube.com
Apu ignitor test YouTube How To Test Distributor Ignitor You'll test the following components:. #nospark when you have no spa. Voltage measured her will vary depending on engine speed. Checking for power at the distributor. To test the distributor cap and rotor, remove them and check inside for faults and look closely at • distributor housing needs to be grounded to engine or intake. Ecm grounds this to trigger. How To Test Distributor Ignitor.
From 2020cadillac.com
How To Test An Igniter On A Toyota/lexus Youtube Toyota Igniter How To Test Distributor Ignitor #nospark when you have no spa. You'll test the following components:. Bench testing a distributor is a simple and effective way to diagnose issues with your vehicle’s ignition system. about press copyright contact us creators advertise developers terms. Checking for power at the distributor. the tests shown in this video can be used on most ignition coils with. How To Test Distributor Ignitor.
From garageinglescepas6rh.z14.web.core.windows.net
How To Test Igniter Module How To Test Distributor Ignitor Bench testing a distributor is a simple and effective way to diagnose issues with your vehicle’s ignition system. Voltage measured her will vary depending on engine speed. To test the distributor cap and rotor, remove them and check inside for faults and look closely at Ecm grounds this to trigger igniter. #nospark when you have no spa. the tests. How To Test Distributor Ignitor.
From exobiqevk.blob.core.windows.net
How To Test An Ignitor In A Distributor at David Wildermuth blog How To Test Distributor Ignitor Ecm grounds this to trigger igniter. You'll test the following components:. • distributor housing needs to be grounded to engine or intake. Bench testing a distributor is a simple and effective way to diagnose issues with your vehicle’s ignition system. the tests shown in this video can be used on most ignition coils with the exception of the 3. How To Test Distributor Ignitor.
From www.youtube.com
Carrier Bryant LH33ZG001 Continuity Test (Gas Furnace Ignitor How To Test Distributor Ignitor #nospark when you have no spa. You'll test the following components:. Bench testing a distributor is a simple and effective way to diagnose issues with your vehicle’s ignition system. Voltage measured her will vary depending on engine speed. the tests shown in this video can be used on most ignition coils with the exception of the 3 and 4. How To Test Distributor Ignitor.
From schematiclistkoenig.z19.web.core.windows.net
How To Check An Oven Ignitor How To Test Distributor Ignitor To test the distributor cap and rotor, remove them and check inside for faults and look closely at the tests shown in this video can be used on most ignition coils with the exception of the 3 and 4 wire coil over plug systems. • distributor housing needs to be grounded to engine or intake. the yel/grn wire. How To Test Distributor Ignitor.
From enginevallonanns.z21.web.core.windows.net
Hei Ignition Module Test How To Test Distributor Ignitor You'll test the following components:. Ecm grounds this to trigger igniter. To test the distributor cap and rotor, remove them and check inside for faults and look closely at Checking for power at the distributor. • distributor housing needs to be grounded to engine or intake. the yel/grn wire is the control signal from the ecm. the tests. How To Test Distributor Ignitor.
From axleaddict.com
DIY Auto Service Ignition Systems Operation Diagnosis & Repair How To Test Distributor Ignitor the yel/grn wire is the control signal from the ecm. about press copyright contact us creators advertise developers terms. Voltage measured her will vary depending on engine speed. the tests shown in this video can be used on most ignition coils with the exception of the 3 and 4 wire coil over plug systems. Bench testing a. How To Test Distributor Ignitor.
From www.discounthearth.com
How to Test a Spark Ignitor How To Test Distributor Ignitor Voltage measured her will vary depending on engine speed. the tests shown in this video can be used on most ignition coils with the exception of the 3 and 4 wire coil over plug systems. Bench testing a distributor is a simple and effective way to diagnose issues with your vehicle’s ignition system. the yel/grn wire is the. How To Test Distributor Ignitor.
From www.youtube.com
rotary engine ignitor tester j105 j109 12a electronic distributor rx7 How To Test Distributor Ignitor Bench testing a distributor is a simple and effective way to diagnose issues with your vehicle’s ignition system. #nospark when you have no spa. You'll test the following components:. the yel/grn wire is the control signal from the ecm. Checking for power at the distributor. about press copyright contact us creators advertise developers terms. To test the distributor. How To Test Distributor Ignitor.
From exobiqevk.blob.core.windows.net
How To Test An Ignitor In A Distributor at David Wildermuth blog How To Test Distributor Ignitor To test the distributor cap and rotor, remove them and check inside for faults and look closely at the tests shown in this video can be used on most ignition coils with the exception of the 3 and 4 wire coil over plug systems. Ecm grounds this to trigger igniter. the yel/grn wire is the control signal from. How To Test Distributor Ignitor.
From garagebachkangikfw.z21.web.core.windows.net
How To Test Igniter Module How To Test Distributor Ignitor Voltage measured her will vary depending on engine speed. #nospark when you have no spa. the tests shown in this video can be used on most ignition coils with the exception of the 3 and 4 wire coil over plug systems. You'll test the following components:. the yel/grn wire is the control signal from the ecm. Bench testing. How To Test Distributor Ignitor.
From toolsely.com
How to Test Distributor Using Multimeter 6 Easy Steps How To Test Distributor Ignitor Checking for power at the distributor. Ecm grounds this to trigger igniter. Voltage measured her will vary depending on engine speed. the yel/grn wire is the control signal from the ecm. Bench testing a distributor is a simple and effective way to diagnose issues with your vehicle’s ignition system. about press copyright contact us creators advertise developers terms.. How To Test Distributor Ignitor.
From 4x4earth.com
Ignition problems. Igniter Testing 4x4Earth How To Test Distributor Ignitor Bench testing a distributor is a simple and effective way to diagnose issues with your vehicle’s ignition system. Ecm grounds this to trigger igniter. You'll test the following components:. Voltage measured her will vary depending on engine speed. Checking for power at the distributor. To test the distributor cap and rotor, remove them and check inside for faults and look. How To Test Distributor Ignitor.
From www.youtube.com
How to test a Hot Surface Ignitor YouTube How To Test Distributor Ignitor #nospark when you have no spa. the tests shown in this video can be used on most ignition coils with the exception of the 3 and 4 wire coil over plug systems. To test the distributor cap and rotor, remove them and check inside for faults and look closely at the yel/grn wire is the control signal from. How To Test Distributor Ignitor.
From www.youtube.com
HOW TO TEST IGNITION COIL OF TOYOTA COROLLA 2E ENGINE ELECTRONIC How To Test Distributor Ignitor • distributor housing needs to be grounded to engine or intake. Voltage measured her will vary depending on engine speed. the yel/grn wire is the control signal from the ecm. about press copyright contact us creators advertise developers terms. Bench testing a distributor is a simple and effective way to diagnose issues with your vehicle’s ignition system. #nospark. How To Test Distributor Ignitor.
From homeimprovementcents.com
How To Test Your Furnace Ignitor (And Where To Order The Parts) Home How To Test Distributor Ignitor You'll test the following components:. about press copyright contact us creators advertise developers terms. Ecm grounds this to trigger igniter. Checking for power at the distributor. #nospark when you have no spa. the yel/grn wire is the control signal from the ecm. • distributor housing needs to be grounded to engine or intake. the tests shown in. How To Test Distributor Ignitor.
From www.youtube.com
How to test a distributor pickup coil with a multimeter YouTube How To Test Distributor Ignitor Bench testing a distributor is a simple and effective way to diagnose issues with your vehicle’s ignition system. Checking for power at the distributor. Voltage measured her will vary depending on engine speed. about press copyright contact us creators advertise developers terms. #nospark when you have no spa. the tests shown in this video can be used on. How To Test Distributor Ignitor.
From www.youtube.com
How to Test Distributor Capacitor for Car Ignition Problems YouTube How To Test Distributor Ignitor Checking for power at the distributor. You'll test the following components:. the tests shown in this video can be used on most ignition coils with the exception of the 3 and 4 wire coil over plug systems. the yel/grn wire is the control signal from the ecm. Ecm grounds this to trigger igniter. Voltage measured her will vary. How To Test Distributor Ignitor.
From www.youtube.com
How to test Honda ignition distributor TDC CYP CKP ICM CEL P1381, P1831 How To Test Distributor Ignitor Checking for power at the distributor. • distributor housing needs to be grounded to engine or intake. the tests shown in this video can be used on most ignition coils with the exception of the 3 and 4 wire coil over plug systems. the yel/grn wire is the control signal from the ecm. You'll test the following components:.. How To Test Distributor Ignitor.
From exobiqevk.blob.core.windows.net
How To Test An Ignitor In A Distributor at David Wildermuth blog How To Test Distributor Ignitor #nospark when you have no spa. the tests shown in this video can be used on most ignition coils with the exception of the 3 and 4 wire coil over plug systems. the yel/grn wire is the control signal from the ecm. To test the distributor cap and rotor, remove them and check inside for faults and look. How To Test Distributor Ignitor.
From www.youtube.com
Pertronix Ignitor Install Lucas 25D4 Distributor YouTube How To Test Distributor Ignitor You'll test the following components:. • distributor housing needs to be grounded to engine or intake. Bench testing a distributor is a simple and effective way to diagnose issues with your vehicle’s ignition system. #nospark when you have no spa. the yel/grn wire is the control signal from the ecm. Checking for power at the distributor. the tests. How To Test Distributor Ignitor.
From www.autozone.com
Repair Guides Distributor Ignition System General Information How To Test Distributor Ignitor about press copyright contact us creators advertise developers terms. the tests shown in this video can be used on most ignition coils with the exception of the 3 and 4 wire coil over plug systems. the yel/grn wire is the control signal from the ecm. Voltage measured her will vary depending on engine speed. #nospark when you. How To Test Distributor Ignitor.
From www.team-integra.net
how to test an ignitor in a distributor Team Integra Forums How To Test Distributor Ignitor Bench testing a distributor is a simple and effective way to diagnose issues with your vehicle’s ignition system. Voltage measured her will vary depending on engine speed. the yel/grn wire is the control signal from the ecm. the tests shown in this video can be used on most ignition coils with the exception of the 3 and 4. How To Test Distributor Ignitor.
From jeepfixes.com
How to Test Distributor 10 Easy Steps (2024) How To Test Distributor Ignitor the yel/grn wire is the control signal from the ecm. Ecm grounds this to trigger igniter. Checking for power at the distributor. #nospark when you have no spa. To test the distributor cap and rotor, remove them and check inside for faults and look closely at Bench testing a distributor is a simple and effective way to diagnose issues. How To Test Distributor Ignitor.
From www.team-integra.net
how to test an ignitor in a distributor Team Integra Forums How To Test Distributor Ignitor • distributor housing needs to be grounded to engine or intake. Voltage measured her will vary depending on engine speed. the yel/grn wire is the control signal from the ecm. #nospark when you have no spa. Bench testing a distributor is a simple and effective way to diagnose issues with your vehicle’s ignition system. To test the distributor cap. How To Test Distributor Ignitor.
From www.youtube.com
How to test a hot surface Ignitor Gas Furnace Igniter Bryant YouTube How To Test Distributor Ignitor You'll test the following components:. Ecm grounds this to trigger igniter. the yel/grn wire is the control signal from the ecm. the tests shown in this video can be used on most ignition coils with the exception of the 3 and 4 wire coil over plug systems. To test the distributor cap and rotor, remove them and check. How To Test Distributor Ignitor.
From www.autozone.com
Repair Guides Distributor Ignition System Igniter How To Test Distributor Ignitor Voltage measured her will vary depending on engine speed. Bench testing a distributor is a simple and effective way to diagnose issues with your vehicle’s ignition system. To test the distributor cap and rotor, remove them and check inside for faults and look closely at about press copyright contact us creators advertise developers terms. Ecm grounds this to trigger. How To Test Distributor Ignitor.
From www.rx7club.com
(IGNITION) How To Test your ignitors Mazda RX7 Forum How To Test Distributor Ignitor the tests shown in this video can be used on most ignition coils with the exception of the 3 and 4 wire coil over plug systems. about press copyright contact us creators advertise developers terms. #nospark when you have no spa. Checking for power at the distributor. Bench testing a distributor is a simple and effective way to. How To Test Distributor Ignitor.
From circuitwiringsymbol55.z21.web.core.windows.net
How To Test Toyota Igniter How To Test Distributor Ignitor the yel/grn wire is the control signal from the ecm. Ecm grounds this to trigger igniter. Checking for power at the distributor. #nospark when you have no spa. • distributor housing needs to be grounded to engine or intake. the tests shown in this video can be used on most ignition coils with the exception of the 3. How To Test Distributor Ignitor.
From heatingsystemwiki.com
How To Test RV Furnace Ignitor? StepByStep Setup Guide How To Test Distributor Ignitor the tests shown in this video can be used on most ignition coils with the exception of the 3 and 4 wire coil over plug systems. Voltage measured her will vary depending on engine speed. #nospark when you have no spa. the yel/grn wire is the control signal from the ecm. Ecm grounds this to trigger igniter. You'll. How To Test Distributor Ignitor.