Train Axle Diagram . The shape of the track structure has achieved. in train 18, 50% coaches are powered coaches i.e. 83 rows the main notations are the whyte notation (based on counting the wheels), the aar wheel arrangement notation (based. The axle carries the weight of the motor through a. the track structure is determined based on the speed and axle load of the train. the motor weight is distributed between the transom of the bogie and the axle. in a train parts diagram, you will find a range of essential components, including the locomotive, wagons or cars, couplers, brakes, wheels, and axles.
from www.nhvr.gov.au
the motor weight is distributed between the transom of the bogie and the axle. the track structure is determined based on the speed and axle load of the train. in a train parts diagram, you will find a range of essential components, including the locomotive, wagons or cars, couplers, brakes, wheels, and axles. The shape of the track structure has achieved. The axle carries the weight of the motor through a. in train 18, 50% coaches are powered coaches i.e. 83 rows the main notations are the whyte notation (based on counting the wheels), the aar wheel arrangement notation (based.
National Class 2 Road Train Authorisation Notice Operator's Guide NHVR
Train Axle Diagram the track structure is determined based on the speed and axle load of the train. in a train parts diagram, you will find a range of essential components, including the locomotive, wagons or cars, couplers, brakes, wheels, and axles. the motor weight is distributed between the transom of the bogie and the axle. the track structure is determined based on the speed and axle load of the train. The axle carries the weight of the motor through a. in train 18, 50% coaches are powered coaches i.e. The shape of the track structure has achieved. 83 rows the main notations are the whyte notation (based on counting the wheels), the aar wheel arrangement notation (based.
From es-academic.com
Eje (mecánica) Train Axle Diagram 83 rows the main notations are the whyte notation (based on counting the wheels), the aar wheel arrangement notation (based. the track structure is determined based on the speed and axle load of the train. the motor weight is distributed between the transom of the bogie and the axle. The shape of the track structure has achieved.. Train Axle Diagram.
From www.nhvr.gov.au
National Class 2 Road Train Authorisation Notice Operator's Guide NHVR Train Axle Diagram in a train parts diagram, you will find a range of essential components, including the locomotive, wagons or cars, couplers, brakes, wheels, and axles. The axle carries the weight of the motor through a. the track structure is determined based on the speed and axle load of the train. the motor weight is distributed between the transom. Train Axle Diagram.
From www.researchgate.net
Axle arrangements of three highspeed railway trains ͑ a ͒ French TGV Train Axle Diagram in train 18, 50% coaches are powered coaches i.e. the track structure is determined based on the speed and axle load of the train. The shape of the track structure has achieved. the motor weight is distributed between the transom of the bogie and the axle. 83 rows the main notations are the whyte notation (based. Train Axle Diagram.
From exozgttzj.blob.core.windows.net
Drivetrain Swap Awd To Rwd at William Reser blog Train Axle Diagram The shape of the track structure has achieved. The axle carries the weight of the motor through a. 83 rows the main notations are the whyte notation (based on counting the wheels), the aar wheel arrangement notation (based. the motor weight is distributed between the transom of the bogie and the axle. in a train parts diagram,. Train Axle Diagram.
From www.google.com
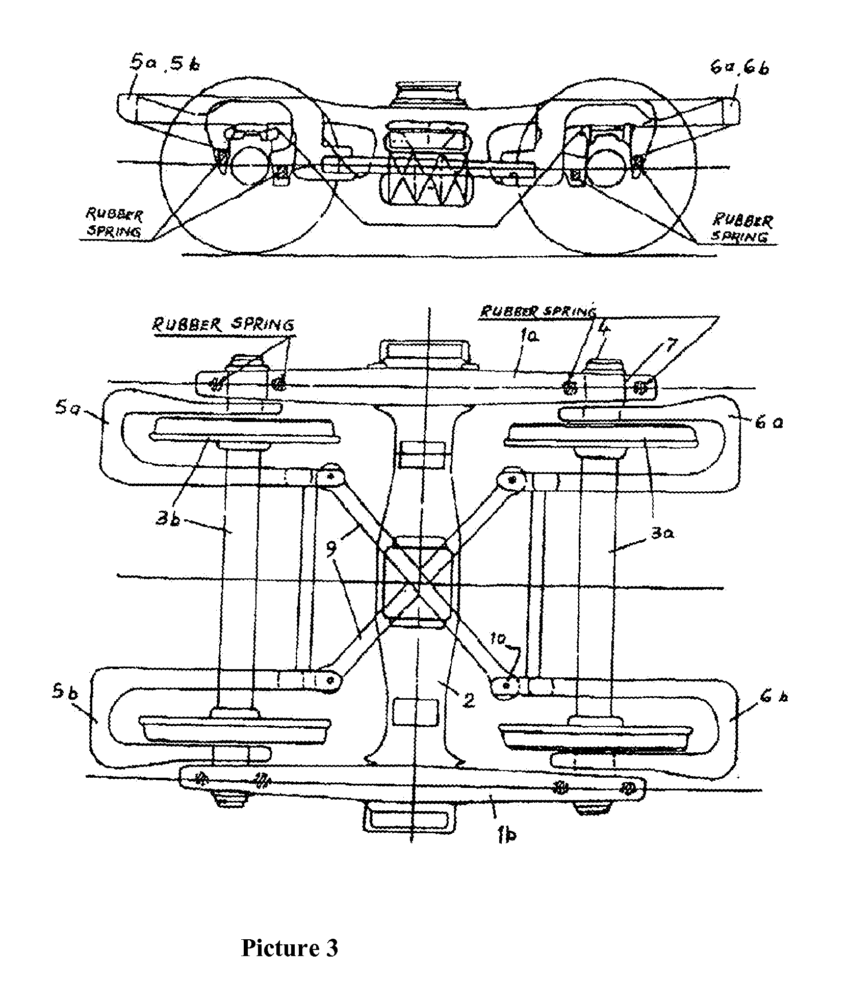
Patent EP2157007A1 Twoaxle bogie for railway vehicle with radially Train Axle Diagram the track structure is determined based on the speed and axle load of the train. The axle carries the weight of the motor through a. in train 18, 50% coaches are powered coaches i.e. 83 rows the main notations are the whyte notation (based on counting the wheels), the aar wheel arrangement notation (based. The shape of. Train Axle Diagram.
From www.weingartz.com
ARIMain WEINGARTZ Train Axle Diagram The axle carries the weight of the motor through a. The shape of the track structure has achieved. 83 rows the main notations are the whyte notation (based on counting the wheels), the aar wheel arrangement notation (based. the track structure is determined based on the speed and axle load of the train. in train 18, 50%. Train Axle Diagram.
From sunmarkauto.com
CV Axles Drive Axles SunMark Automotive Train Axle Diagram in train 18, 50% coaches are powered coaches i.e. The shape of the track structure has achieved. in a train parts diagram, you will find a range of essential components, including the locomotive, wagons or cars, couplers, brakes, wheels, and axles. the track structure is determined based on the speed and axle load of the train. . Train Axle Diagram.
From www.chegg.com
Solved A train axle is shown in the figure below. The total Train Axle Diagram in train 18, 50% coaches are powered coaches i.e. the track structure is determined based on the speed and axle load of the train. in a train parts diagram, you will find a range of essential components, including the locomotive, wagons or cars, couplers, brakes, wheels, and axles. 83 rows the main notations are the whyte. Train Axle Diagram.
From ohitssewcute.blogspot.com
39 front axle assembly diagram Wiring Diagram Niche Train Axle Diagram in a train parts diagram, you will find a range of essential components, including the locomotive, wagons or cars, couplers, brakes, wheels, and axles. The shape of the track structure has achieved. 83 rows the main notations are the whyte notation (based on counting the wheels), the aar wheel arrangement notation (based. the track structure is determined. Train Axle Diagram.
From www.sbstrailers.com
How To Measure An Axle How To Guides SBS Trailers Train Axle Diagram the track structure is determined based on the speed and axle load of the train. The axle carries the weight of the motor through a. in train 18, 50% coaches are powered coaches i.e. in a train parts diagram, you will find a range of essential components, including the locomotive, wagons or cars, couplers, brakes, wheels, and. Train Axle Diagram.
From tricountywheelandrim.com
AXLE MEASUREMENT SPRING AXLE Diagrams Train Axle Diagram The shape of the track structure has achieved. the track structure is determined based on the speed and axle load of the train. in a train parts diagram, you will find a range of essential components, including the locomotive, wagons or cars, couplers, brakes, wheels, and axles. The axle carries the weight of the motor through a. . Train Axle Diagram.
From dxoqmubrt.blob.core.windows.net
Weight Of A Rail Car Wheel And Axle at Rosemary Terrell blog Train Axle Diagram 83 rows the main notations are the whyte notation (based on counting the wheels), the aar wheel arrangement notation (based. The axle carries the weight of the motor through a. the track structure is determined based on the speed and axle load of the train. in train 18, 50% coaches are powered coaches i.e. in a. Train Axle Diagram.
From www.alamy.com
Oldfashioned train wagon axle and wheel structure using leaf springs Train Axle Diagram The shape of the track structure has achieved. the motor weight is distributed between the transom of the bogie and the axle. the track structure is determined based on the speed and axle load of the train. 83 rows the main notations are the whyte notation (based on counting the wheels), the aar wheel arrangement notation (based.. Train Axle Diagram.
From locomotive.wikia.com
Diesel Wheel Axle Wiki FANDOM powered by Wikia Train Axle Diagram The shape of the track structure has achieved. the track structure is determined based on the speed and axle load of the train. 83 rows the main notations are the whyte notation (based on counting the wheels), the aar wheel arrangement notation (based. the motor weight is distributed between the transom of the bogie and the axle.. Train Axle Diagram.
From www.mdpi.com
Applied Sciences Free FullText Railway Axle and Wheel Assembly Train Axle Diagram in a train parts diagram, you will find a range of essential components, including the locomotive, wagons or cars, couplers, brakes, wheels, and axles. The axle carries the weight of the motor through a. the track structure is determined based on the speed and axle load of the train. 83 rows the main notations are the whyte. Train Axle Diagram.
From www.chegg.com
Solved A train axle is shown in the figure below. The total Train Axle Diagram The shape of the track structure has achieved. The axle carries the weight of the motor through a. in train 18, 50% coaches are powered coaches i.e. the track structure is determined based on the speed and axle load of the train. 83 rows the main notations are the whyte notation (based on counting the wheels), the. Train Axle Diagram.
From www.researchgate.net
(PDF) Influence of train axle load on wheelrail interface friction Train Axle Diagram 83 rows the main notations are the whyte notation (based on counting the wheels), the aar wheel arrangement notation (based. The shape of the track structure has achieved. in train 18, 50% coaches are powered coaches i.e. the motor weight is distributed between the transom of the bogie and the axle. in a train parts diagram,. Train Axle Diagram.
From www.researchgate.net
(PDF) Railway Wheelsets History, Research and Developments Train Axle Diagram The axle carries the weight of the motor through a. in a train parts diagram, you will find a range of essential components, including the locomotive, wagons or cars, couplers, brakes, wheels, and axles. 83 rows the main notations are the whyte notation (based on counting the wheels), the aar wheel arrangement notation (based. The shape of the. Train Axle Diagram.
From www.researchgate.net
A schematic diagram of the twoaxle railway bogie model. Download Train Axle Diagram 83 rows the main notations are the whyte notation (based on counting the wheels), the aar wheel arrangement notation (based. the track structure is determined based on the speed and axle load of the train. The shape of the track structure has achieved. The axle carries the weight of the motor through a. in a train parts. Train Axle Diagram.
From www.alamy.com
Detail view of the tender axle box of a UK built steam that Train Axle Diagram in a train parts diagram, you will find a range of essential components, including the locomotive, wagons or cars, couplers, brakes, wheels, and axles. in train 18, 50% coaches are powered coaches i.e. 83 rows the main notations are the whyte notation (based on counting the wheels), the aar wheel arrangement notation (based. the motor weight. Train Axle Diagram.
From www.youtube.com
ANSYS WB FINITE ELEMENT ANALYSIS Rotating wheels of a train axle Train Axle Diagram in train 18, 50% coaches are powered coaches i.e. in a train parts diagram, you will find a range of essential components, including the locomotive, wagons or cars, couplers, brakes, wheels, and axles. 83 rows the main notations are the whyte notation (based on counting the wheels), the aar wheel arrangement notation (based. the track structure. Train Axle Diagram.
From www.semanticscholar.org
Design and Dynamic Analysis of Wheel Axle Semantic Scholar Train Axle Diagram 83 rows the main notations are the whyte notation (based on counting the wheels), the aar wheel arrangement notation (based. in train 18, 50% coaches are powered coaches i.e. The axle carries the weight of the motor through a. the track structure is determined based on the speed and axle load of the train. the motor. Train Axle Diagram.
From avspare.com
POWER TRAIN AXLE DX190W3 Doosan parts catalog online Train Axle Diagram the track structure is determined based on the speed and axle load of the train. The shape of the track structure has achieved. The axle carries the weight of the motor through a. 83 rows the main notations are the whyte notation (based on counting the wheels), the aar wheel arrangement notation (based. in train 18, 50%. Train Axle Diagram.
From journals.sagepub.com
Lightweighting of railway axles for the reduction of unsprung mass and Train Axle Diagram in train 18, 50% coaches are powered coaches i.e. the track structure is determined based on the speed and axle load of the train. The axle carries the weight of the motor through a. in a train parts diagram, you will find a range of essential components, including the locomotive, wagons or cars, couplers, brakes, wheels, and. Train Axle Diagram.
From www.researchgate.net
Passenger tilting train configuration and approximate axle loads Train Axle Diagram The axle carries the weight of the motor through a. 83 rows the main notations are the whyte notation (based on counting the wheels), the aar wheel arrangement notation (based. in a train parts diagram, you will find a range of essential components, including the locomotive, wagons or cars, couplers, brakes, wheels, and axles. the track structure. Train Axle Diagram.
From www.mdpi.com
Machines Free FullText A Coupling Model of HighSpeed TrainAxle Train Axle Diagram in a train parts diagram, you will find a range of essential components, including the locomotive, wagons or cars, couplers, brakes, wheels, and axles. the track structure is determined based on the speed and axle load of the train. 83 rows the main notations are the whyte notation (based on counting the wheels), the aar wheel arrangement. Train Axle Diagram.
From www.autozone.com
Repair Guides Train Axle Diagram in a train parts diagram, you will find a range of essential components, including the locomotive, wagons or cars, couplers, brakes, wheels, and axles. the motor weight is distributed between the transom of the bogie and the axle. The axle carries the weight of the motor through a. in train 18, 50% coaches are powered coaches i.e.. Train Axle Diagram.
From www.mdpi.com
Applied Sciences Free FullText Railway Axle and Wheel Assembly Train Axle Diagram The axle carries the weight of the motor through a. the motor weight is distributed between the transom of the bogie and the axle. The shape of the track structure has achieved. in a train parts diagram, you will find a range of essential components, including the locomotive, wagons or cars, couplers, brakes, wheels, and axles. in. Train Axle Diagram.
From www.chegg.com
Solved A train axle is shown in the figure below. The total Train Axle Diagram the track structure is determined based on the speed and axle load of the train. The axle carries the weight of the motor through a. 83 rows the main notations are the whyte notation (based on counting the wheels), the aar wheel arrangement notation (based. in train 18, 50% coaches are powered coaches i.e. The shape of. Train Axle Diagram.
From www.mdpi.com
Machines Free FullText A Coupling Model of HighSpeed TrainAxle Train Axle Diagram 83 rows the main notations are the whyte notation (based on counting the wheels), the aar wheel arrangement notation (based. the track structure is determined based on the speed and axle load of the train. the motor weight is distributed between the transom of the bogie and the axle. in train 18, 50% coaches are powered. Train Axle Diagram.
From www.youtube.com
Wheel axle, Axle box, Bearing, and Gear components and its Train Axle Diagram the track structure is determined based on the speed and axle load of the train. The shape of the track structure has achieved. The axle carries the weight of the motor through a. 83 rows the main notations are the whyte notation (based on counting the wheels), the aar wheel arrangement notation (based. the motor weight is. Train Axle Diagram.
From www.chegg.com
Solved A train axle is shown in the figure below. The total Train Axle Diagram in a train parts diagram, you will find a range of essential components, including the locomotive, wagons or cars, couplers, brakes, wheels, and axles. The axle carries the weight of the motor through a. the motor weight is distributed between the transom of the bogie and the axle. in train 18, 50% coaches are powered coaches i.e.. Train Axle Diagram.
From www.chegg.com
Solved A train axle is shown in the figure. The total Train Axle Diagram The axle carries the weight of the motor through a. 83 rows the main notations are the whyte notation (based on counting the wheels), the aar wheel arrangement notation (based. the track structure is determined based on the speed and axle load of the train. in a train parts diagram, you will find a range of essential. Train Axle Diagram.
From www.wikiwand.com
Drivetrain Wikiwand Train Axle Diagram in a train parts diagram, you will find a range of essential components, including the locomotive, wagons or cars, couplers, brakes, wheels, and axles. 83 rows the main notations are the whyte notation (based on counting the wheels), the aar wheel arrangement notation (based. in train 18, 50% coaches are powered coaches i.e. The shape of the. Train Axle Diagram.
From www.researchgate.net
Railway axle geometries and crack positions for which fracture Train Axle Diagram the track structure is determined based on the speed and axle load of the train. the motor weight is distributed between the transom of the bogie and the axle. in a train parts diagram, you will find a range of essential components, including the locomotive, wagons or cars, couplers, brakes, wheels, and axles. The shape of the. Train Axle Diagram.