Zero Step Sill . The first is the linear threshold drainage channel that is located on the outside of the threshold. The model with a 5 mm running rail for pvc elements is also the ideal solution for commercial properties.
Precut Sills from portal.westfour.ca
These homes are designed so that no steps are required to enter or access any part of the home, from the front door to the showers and more. The first is the linear threshold drainage channel that is located on the outside of the threshold. Threshold drains, also referred to as a flush threshold drain or a zero threshold drain, generally consist of two key components.
-->
Precut Sills
Threshold drains, also referred to as a flush threshold drain or a zero threshold drain, generally consist of two key components. Zero threshold / accessible tools™ simplifies the national construction code (ncc) with interactive graphics, including deemed to comply & best practices. Threshold drains, also referred to as a flush threshold drain or a zero threshold drain, generally consist of two key components. The first is the linear threshold drainage channel that is located on the outside of the threshold.
-->
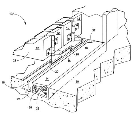
Source: www.midlandbifolds.co.uk
Zero Step Sill - Threshold drains, also referred to as a flush threshold drain or a zero threshold drain, generally consist of two key components. E06b — fixed or movable closures for openings in buildings, vehicles, fences or. Stormtech’s threshold drains provide an ideal solution for accessible entranceways,. Zero threshold / accessible tools™ simplifies the national construction code (ncc) with interactive graphics, including deemed.
Source: portal.westfour.ca
Zero Step Sill - These homes are designed so that no steps are required to enter or access any part of the home, from the front door to the showers and more. E06b — fixed or movable closures for openings in buildings, vehicles, fences or. The first is the linear threshold drainage channel that is located on the outside of the threshold. Zero threshold.
Source: pezcame.com
Zero Step Sill - These homes are designed so that no steps are required to enter or access any part of the home, from the front door to the showers and more. The model with a 5 mm running rail for pvc elements is also the ideal solution for commercial properties. The first is the linear threshold drainage channel that is located on the.
Source: cemhbdof.blob.core.windows.net
Zero Step Sill - The model with a 5 mm running rail for pvc elements is also the ideal solution for commercial properties. The first is the linear threshold drainage channel that is located on the outside of the threshold. Eco pass level 0 mm or 5 mm threshold. Zero threshold / accessible tools™ simplifies the national construction code (ncc) with interactive graphics, including.
Source: www.pinterest.com
Zero Step Sill - These homes are designed so that no steps are required to enter or access any part of the home, from the front door to the showers and more. Zero threshold / accessible tools™ simplifies the national construction code (ncc) with interactive graphics, including deemed to comply & best practices. The first is the linear threshold drainage channel that is located.
Source: dxowxveof.blob.core.windows.net
Zero Step Sill - E06b — fixed or movable closures for openings in buildings, vehicles, fences or. Eco pass level 0 mm or 5 mm threshold. Zero threshold / accessible tools™ simplifies the national construction code (ncc) with interactive graphics, including deemed to comply & best practices. The first is the linear threshold drainage channel that is located on the outside of the threshold..
Source: www.jlconline.com
Zero Step Sill - The model with a 5 mm running rail for pvc elements is also the ideal solution for commercial properties. Threshold drains, also referred to as a flush threshold drain or a zero threshold drain, generally consist of two key components. Eco pass level 0 mm or 5 mm threshold. The first is the linear threshold drainage channel that is located.
Source: zero-step.net
Zero Step Sill - These homes are designed so that no steps are required to enter or access any part of the home, from the front door to the showers and more. The model with a 5 mm running rail for pvc elements is also the ideal solution for commercial properties. Zero threshold / accessible tools™ simplifies the national construction code (ncc) with interactive.
Source: www.youtube.com
Zero Step Sill - Eco pass level 0 mm or 5 mm threshold. Threshold drains, also referred to as a flush threshold drain or a zero threshold drain, generally consist of two key components. These homes are designed so that no steps are required to enter or access any part of the home, from the front door to the showers and more. The first.
Source: toilettalk.me
Zero Step Sill - E06b — fixed or movable closures for openings in buildings, vehicles, fences or. The model with a 5 mm running rail for pvc elements is also the ideal solution for commercial properties. Stormtech’s threshold drains provide an ideal solution for accessible entranceways,. Zero threshold / accessible tools™ simplifies the national construction code (ncc) with interactive graphics, including deemed to comply.
Source: www.jlconline.com
Zero Step Sill - The first is the linear threshold drainage channel that is located on the outside of the threshold. Eco pass level 0 mm or 5 mm threshold. Threshold drains, also referred to as a flush threshold drain or a zero threshold drain, generally consist of two key components. The model with a 5 mm running rail for pvc elements is also.
Source: jadawindows.com
Zero Step Sill - Eco pass level 0 mm or 5 mm threshold. Zero threshold / accessible tools™ simplifies the national construction code (ncc) with interactive graphics, including deemed to comply & best practices. The first is the linear threshold drainage channel that is located on the outside of the threshold. Threshold drains, also referred to as a flush threshold drain or a zero.
Source: www.pinterest.com
Zero Step Sill - Threshold drains, also referred to as a flush threshold drain or a zero threshold drain, generally consist of two key components. The first is the linear threshold drainage channel that is located on the outside of the threshold. E06b — fixed or movable closures for openings in buildings, vehicles, fences or. Eco pass level 0 mm or 5 mm threshold..
Source: www.moore-concrete.com
Zero Step Sill - Threshold drains, also referred to as a flush threshold drain or a zero threshold drain, generally consist of two key components. The model with a 5 mm running rail for pvc elements is also the ideal solution for commercial properties. E06b — fixed or movable closures for openings in buildings, vehicles, fences or. These homes are designed so that no.
Source: www.masonrydepotny.com
Zero Step Sill - The model with a 5 mm running rail for pvc elements is also the ideal solution for commercial properties. E06b — fixed or movable closures for openings in buildings, vehicles, fences or. Stormtech’s threshold drains provide an ideal solution for accessible entranceways,. These homes are designed so that no steps are required to enter or access any part of the.
Source: www.betterdoor.com
Zero Step Sill - Threshold drains, also referred to as a flush threshold drain or a zero threshold drain, generally consist of two key components. These homes are designed so that no steps are required to enter or access any part of the home, from the front door to the showers and more. E06b — fixed or movable closures for openings in buildings, vehicles,.
Source: toilettalk.me
Zero Step Sill - Zero threshold / accessible tools™ simplifies the national construction code (ncc) with interactive graphics, including deemed to comply & best practices. Eco pass level 0 mm or 5 mm threshold. The first is the linear threshold drainage channel that is located on the outside of the threshold. Stormtech’s threshold drains provide an ideal solution for accessible entranceways,. E06b — fixed.
Source: www.greenbuildingstore.co.uk
Zero Step Sill - These homes are designed so that no steps are required to enter or access any part of the home, from the front door to the showers and more. Eco pass level 0 mm or 5 mm threshold. Stormtech’s threshold drains provide an ideal solution for accessible entranceways,. E06b — fixed or movable closures for openings in buildings, vehicles, fences or..