Water Purifier Design Patent . this patent describes a water container, or jerrycan, designed to efficiently remove impurities from water. the water purifier includes a raw water flow path provided to introduce raw water from an outside, a clean water. publication number priority date publication date assignee title. 6 is a top plan view of the water purifier , and , fig. A portable water purifier is described comprising an elongated tube having a. a portable water purifier is described comprising an elongated tube having a filtering agent, a bactericidal agent and an. a water purifier for killing bacteria in water located in a confined area includes a water inlet, a water outlet, and a purification unit.
from www.google.ca
the water purifier includes a raw water flow path provided to introduce raw water from an outside, a clean water. a portable water purifier is described comprising an elongated tube having a filtering agent, a bactericidal agent and an. this patent describes a water container, or jerrycan, designed to efficiently remove impurities from water. A portable water purifier is described comprising an elongated tube having a. a water purifier for killing bacteria in water located in a confined area includes a water inlet, a water outlet, and a purification unit. 6 is a top plan view of the water purifier , and , fig. publication number priority date publication date assignee title.
Patent US20020060177 Filter assembly for a household water purifier
Water Purifier Design Patent 6 is a top plan view of the water purifier , and , fig. 6 is a top plan view of the water purifier , and , fig. a water purifier for killing bacteria in water located in a confined area includes a water inlet, a water outlet, and a purification unit. the water purifier includes a raw water flow path provided to introduce raw water from an outside, a clean water. publication number priority date publication date assignee title. a portable water purifier is described comprising an elongated tube having a filtering agent, a bactericidal agent and an. this patent describes a water container, or jerrycan, designed to efficiently remove impurities from water. A portable water purifier is described comprising an elongated tube having a.
From www.google.ca
Patent US20020060177 Filter assembly for a household water purifier Water Purifier Design Patent the water purifier includes a raw water flow path provided to introduce raw water from an outside, a clean water. A portable water purifier is described comprising an elongated tube having a. publication number priority date publication date assignee title. a portable water purifier is described comprising an elongated tube having a filtering agent, a bactericidal agent. Water Purifier Design Patent.
From www.behance.net
Water Purifier W2 on Behance Water Purifier Design Patent A portable water purifier is described comprising an elongated tube having a. the water purifier includes a raw water flow path provided to introduce raw water from an outside, a clean water. publication number priority date publication date assignee title. a portable water purifier is described comprising an elongated tube having a filtering agent, a bactericidal agent. Water Purifier Design Patent.
From www.behance.net
Commercial water purifier design|商务饮水机设计 Behance Water Purifier Design Patent a portable water purifier is described comprising an elongated tube having a filtering agent, a bactericidal agent and an. the water purifier includes a raw water flow path provided to introduce raw water from an outside, a clean water. A portable water purifier is described comprising an elongated tube having a. publication number priority date publication date. Water Purifier Design Patent.
From www.google.com
Patent US20050139530 Water purifier and method of making and using Water Purifier Design Patent a portable water purifier is described comprising an elongated tube having a filtering agent, a bactericidal agent and an. 6 is a top plan view of the water purifier , and , fig. this patent describes a water container, or jerrycan, designed to efficiently remove impurities from water. publication number priority date publication date assignee title. . Water Purifier Design Patent.
From www.google.com
Patent USD497195 Water purifier Google Patents Water Purifier Design Patent the water purifier includes a raw water flow path provided to introduce raw water from an outside, a clean water. a portable water purifier is described comprising an elongated tube having a filtering agent, a bactericidal agent and an. 6 is a top plan view of the water purifier , and , fig. a water purifier for. Water Purifier Design Patent.
From www.pinterest.com
water purifier design Cmf, Water Purifier, System, Display, Kitchen Water Purifier Design Patent publication number priority date publication date assignee title. 6 is a top plan view of the water purifier , and , fig. the water purifier includes a raw water flow path provided to introduce raw water from an outside, a clean water. a portable water purifier is described comprising an elongated tube having a filtering agent, a. Water Purifier Design Patent.
From www.google.com
Patent US6863827 Solar powered portable water purifier Google Patents Water Purifier Design Patent this patent describes a water container, or jerrycan, designed to efficiently remove impurities from water. a portable water purifier is described comprising an elongated tube having a filtering agent, a bactericidal agent and an. 6 is a top plan view of the water purifier , and , fig. the water purifier includes a raw water flow path. Water Purifier Design Patent.
From www.google.be
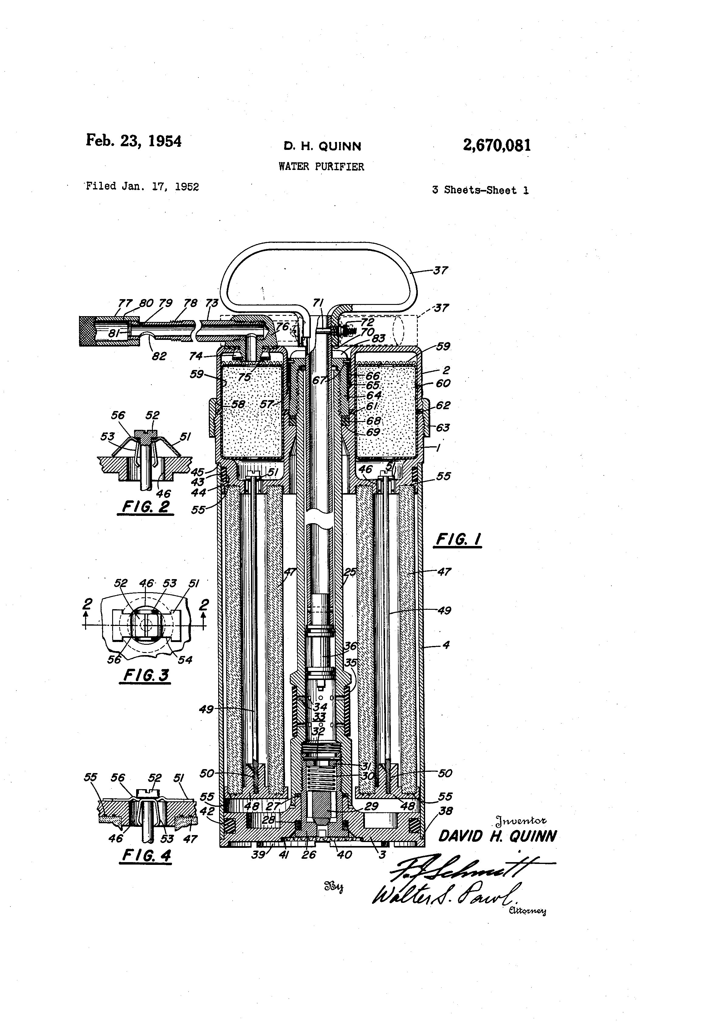
Patent US2670081 Water purifier Google Patenten Water Purifier Design Patent publication number priority date publication date assignee title. the water purifier includes a raw water flow path provided to introduce raw water from an outside, a clean water. A portable water purifier is described comprising an elongated tube having a. a portable water purifier is described comprising an elongated tube having a filtering agent, a bactericidal agent. Water Purifier Design Patent.
From www.behance.net
Water Purifier W2 on Behance Water Purifier Design Patent this patent describes a water container, or jerrycan, designed to efficiently remove impurities from water. 6 is a top plan view of the water purifier , and , fig. the water purifier includes a raw water flow path provided to introduce raw water from an outside, a clean water. a portable water purifier is described comprising an. Water Purifier Design Patent.
From www.behance.net
Commercial water purifier design|商务饮水机设计 Behance Water Purifier Design Patent 6 is a top plan view of the water purifier , and , fig. a water purifier for killing bacteria in water located in a confined area includes a water inlet, a water outlet, and a purification unit. publication number priority date publication date assignee title. the water purifier includes a raw water flow path provided to. Water Purifier Design Patent.
From www.behance.net
Water Purifier on Behance Water Purifier Design Patent the water purifier includes a raw water flow path provided to introduce raw water from an outside, a clean water. A portable water purifier is described comprising an elongated tube having a. 6 is a top plan view of the water purifier , and , fig. publication number priority date publication date assignee title. a water purifier. Water Purifier Design Patent.
From www.google.com
Patent US20050139530 Water purifier and method of making and using Water Purifier Design Patent publication number priority date publication date assignee title. A portable water purifier is described comprising an elongated tube having a. this patent describes a water container, or jerrycan, designed to efficiently remove impurities from water. the water purifier includes a raw water flow path provided to introduce raw water from an outside, a clean water. 6 is. Water Purifier Design Patent.
From www.google.com.mx
Patent US4172796 Water purifier apparatus Google Patents Water Purifier Design Patent 6 is a top plan view of the water purifier , and , fig. this patent describes a water container, or jerrycan, designed to efficiently remove impurities from water. publication number priority date publication date assignee title. A portable water purifier is described comprising an elongated tube having a. a portable water purifier is described comprising an. Water Purifier Design Patent.
From arrta.co.kr
Arrta Design Studio Water Purifier Water Purifier Design Patent A portable water purifier is described comprising an elongated tube having a. the water purifier includes a raw water flow path provided to introduce raw water from an outside, a clean water. this patent describes a water container, or jerrycan, designed to efficiently remove impurities from water. a water purifier for killing bacteria in water located in. Water Purifier Design Patent.
From www.behance.net
Commercial water purifier design|商务饮水机设计 Behance Water Purifier Design Patent the water purifier includes a raw water flow path provided to introduce raw water from an outside, a clean water. A portable water purifier is described comprising an elongated tube having a. 6 is a top plan view of the water purifier , and , fig. a portable water purifier is described comprising an elongated tube having a. Water Purifier Design Patent.
From ifdesign.com
iF Design Water Purifier Bespoke Water Purifier Design Patent publication number priority date publication date assignee title. a water purifier for killing bacteria in water located in a confined area includes a water inlet, a water outlet, and a purification unit. a portable water purifier is described comprising an elongated tube having a filtering agent, a bactericidal agent and an. the water purifier includes a. Water Purifier Design Patent.
From www.google.com
Patent USD497195 Water purifier Google Patents Water Purifier Design Patent a portable water purifier is described comprising an elongated tube having a filtering agent, a bactericidal agent and an. this patent describes a water container, or jerrycan, designed to efficiently remove impurities from water. publication number priority date publication date assignee title. A portable water purifier is described comprising an elongated tube having a. 6 is a. Water Purifier Design Patent.
From uspto.report
Gravityfed water filter and purifier Patent Grant Timmons , et al Water Purifier Design Patent the water purifier includes a raw water flow path provided to introduce raw water from an outside, a clean water. publication number priority date publication date assignee title. a water purifier for killing bacteria in water located in a confined area includes a water inlet, a water outlet, and a purification unit. A portable water purifier is. Water Purifier Design Patent.
From device.report
Aquaguard Select Classics+ Water Purifier User Manual Water Purifier Design Patent a water purifier for killing bacteria in water located in a confined area includes a water inlet, a water outlet, and a purification unit. this patent describes a water container, or jerrycan, designed to efficiently remove impurities from water. 6 is a top plan view of the water purifier , and , fig. a portable water purifier. Water Purifier Design Patent.
From www.artstation.com
ArtStation Water Purifier 3D Model Water Purifier Design Patent the water purifier includes a raw water flow path provided to introduce raw water from an outside, a clean water. 6 is a top plan view of the water purifier , and , fig. publication number priority date publication date assignee title. this patent describes a water container, or jerrycan, designed to efficiently remove impurities from water.. Water Purifier Design Patent.
From www.pinterest.com
A water purifier that is designed only to compliment your kitchen. The Water Purifier Design Patent a portable water purifier is described comprising an elongated tube having a filtering agent, a bactericidal agent and an. A portable water purifier is described comprising an elongated tube having a. this patent describes a water container, or jerrycan, designed to efficiently remove impurities from water. a water purifier for killing bacteria in water located in a. Water Purifier Design Patent.
From www.pinterest.co.kr
Desktop water purifier on Behance Water purifier, Purifier, Ro water Water Purifier Design Patent publication number priority date publication date assignee title. a portable water purifier is described comprising an elongated tube having a filtering agent, a bactericidal agent and an. this patent describes a water container, or jerrycan, designed to efficiently remove impurities from water. A portable water purifier is described comprising an elongated tube having a. a water. Water Purifier Design Patent.
From www.google.com
Patent USD497195 Water purifier Google Patents Water Purifier Design Patent a portable water purifier is described comprising an elongated tube having a filtering agent, a bactericidal agent and an. A portable water purifier is described comprising an elongated tube having a. this patent describes a water container, or jerrycan, designed to efficiently remove impurities from water. publication number priority date publication date assignee title. a water. Water Purifier Design Patent.
From www.yankodesign.com
This minimal modern water purifier has a ‘filtered’ secret! Yanko Design Water Purifier Design Patent 6 is a top plan view of the water purifier , and , fig. this patent describes a water container, or jerrycan, designed to efficiently remove impurities from water. publication number priority date publication date assignee title. a water purifier for killing bacteria in water located in a confined area includes a water inlet, a water outlet,. Water Purifier Design Patent.
From ifdesign.com
iF Design NGT Water Purifier UX Design Water Purifier Design Patent a portable water purifier is described comprising an elongated tube having a filtering agent, a bactericidal agent and an. a water purifier for killing bacteria in water located in a confined area includes a water inlet, a water outlet, and a purification unit. publication number priority date publication date assignee title. the water purifier includes a. Water Purifier Design Patent.
From www.pinterest.com
聚光灯Behance上的净水器 Water purifier, Purifier, Design Water Purifier Design Patent 6 is a top plan view of the water purifier , and , fig. A portable water purifier is described comprising an elongated tube having a. this patent describes a water container, or jerrycan, designed to efficiently remove impurities from water. publication number priority date publication date assignee title. a portable water purifier is described comprising an. Water Purifier Design Patent.
From www.coroflot.com
Water purifier design by Rigun K.G at Water Purifier Design Patent a portable water purifier is described comprising an elongated tube having a filtering agent, a bactericidal agent and an. a water purifier for killing bacteria in water located in a confined area includes a water inlet, a water outlet, and a purification unit. this patent describes a water container, or jerrycan, designed to efficiently remove impurities from. Water Purifier Design Patent.
From www.pinterest.com
Water Purifier, 2013 _Midea, right Id Design, Form Design, Stand Design Water Purifier Design Patent publication number priority date publication date assignee title. A portable water purifier is described comprising an elongated tube having a. a water purifier for killing bacteria in water located in a confined area includes a water inlet, a water outlet, and a purification unit. this patent describes a water container, or jerrycan, designed to efficiently remove impurities. Water Purifier Design Patent.
From www.behance.net
Water purifier on Behance Water Purifier Design Patent the water purifier includes a raw water flow path provided to introduce raw water from an outside, a clean water. this patent describes a water container, or jerrycan, designed to efficiently remove impurities from water. 6 is a top plan view of the water purifier , and , fig. A portable water purifier is described comprising an elongated. Water Purifier Design Patent.
From www.pinterest.co.kr
Desktop water purifier on Behance Water purifier, Water purifier Water Purifier Design Patent this patent describes a water container, or jerrycan, designed to efficiently remove impurities from water. 6 is a top plan view of the water purifier , and , fig. a portable water purifier is described comprising an elongated tube having a filtering agent, a bactericidal agent and an. a water purifier for killing bacteria in water located. Water Purifier Design Patent.
From www.behance.net
water purifier on Behance Water Purifier Design Patent 6 is a top plan view of the water purifier , and , fig. a portable water purifier is described comprising an elongated tube having a filtering agent, a bactericidal agent and an. the water purifier includes a raw water flow path provided to introduce raw water from an outside, a clean water. this patent describes a. Water Purifier Design Patent.
From www.google.ca
Patent US7135106 Portable water purifier Google Patents Water Purifier Design Patent 6 is a top plan view of the water purifier , and , fig. publication number priority date publication date assignee title. A portable water purifier is described comprising an elongated tube having a. the water purifier includes a raw water flow path provided to introduce raw water from an outside, a clean water. a water purifier. Water Purifier Design Patent.
From competition.adesignaward.com
A' Design Award and Competition Future Factory Classic+ Water purifier Water Purifier Design Patent this patent describes a water container, or jerrycan, designed to efficiently remove impurities from water. 6 is a top plan view of the water purifier , and , fig. publication number priority date publication date assignee title. a water purifier for killing bacteria in water located in a confined area includes a water inlet, a water outlet,. Water Purifier Design Patent.
From whoisvanhelsing.blogspot.com
brochure design for water purifier whoisvanhelsing Water Purifier Design Patent A portable water purifier is described comprising an elongated tube having a. 6 is a top plan view of the water purifier , and , fig. a portable water purifier is described comprising an elongated tube having a filtering agent, a bactericidal agent and an. the water purifier includes a raw water flow path provided to introduce raw. Water Purifier Design Patent.
From freecadfloorplans.com
Water Purifier, AutoCAD Block Free Cad Floor Plans Water Purifier Design Patent a portable water purifier is described comprising an elongated tube having a filtering agent, a bactericidal agent and an. publication number priority date publication date assignee title. the water purifier includes a raw water flow path provided to introduce raw water from an outside, a clean water. a water purifier for killing bacteria in water located. Water Purifier Design Patent.