Led Data Sheet . J series® 2835 3‐v leds. Find pdf datasheets of various led diodes from different manufacturers and suppliers. Search by part number, manufacturer, description, or keyword. 5mm leds can be so bright, they are often used as illumination (lighting something. Green 3mm, red 5mm and white 10mm leds. Find led datasheets from various manufacturers and distributors on alldatasheet. Browse by company name or led type and download the. Learn how to read and use the datasheet of a 5mm led, which has information on its dimensions, brightness, color, and. J series® leds extend cree led’s industry‐leading.
from studylib.net
Learn how to read and use the datasheet of a 5mm led, which has information on its dimensions, brightness, color, and. Find led datasheets from various manufacturers and distributors on alldatasheet. Browse by company name or led type and download the. Find pdf datasheets of various led diodes from different manufacturers and suppliers. Search by part number, manufacturer, description, or keyword. 5mm leds can be so bright, they are often used as illumination (lighting something. J series® 2835 3‐v leds. Green 3mm, red 5mm and white 10mm leds. J series® leds extend cree led’s industry‐leading.
Cree XLamp XML LED Data Sheet
Led Data Sheet Green 3mm, red 5mm and white 10mm leds. Search by part number, manufacturer, description, or keyword. Green 3mm, red 5mm and white 10mm leds. J series® 2835 3‐v leds. Browse by company name or led type and download the. Find pdf datasheets of various led diodes from different manufacturers and suppliers. Learn how to read and use the datasheet of a 5mm led, which has information on its dimensions, brightness, color, and. Find led datasheets from various manufacturers and distributors on alldatasheet. 5mm leds can be so bright, they are often used as illumination (lighting something. J series® leds extend cree led’s industry‐leading.
From smdleddokoeri.blogspot.com
Smd Led Epistar 3528 Smd Led Datasheet Led Data Sheet Find led datasheets from various manufacturers and distributors on alldatasheet. 5mm leds can be so bright, they are often used as illumination (lighting something. Learn how to read and use the datasheet of a 5mm led, which has information on its dimensions, brightness, color, and. Browse by company name or led type and download the. J series® 2835 3‐v leds.. Led Data Sheet.
From smdleddokoeri.blogspot.com
Smd Led Smd Led Datasheet Led Data Sheet Find pdf datasheets of various led diodes from different manufacturers and suppliers. Search by part number, manufacturer, description, or keyword. J series® leds extend cree led’s industry‐leading. Find led datasheets from various manufacturers and distributors on alldatasheet. Browse by company name or led type and download the. Learn how to read and use the datasheet of a 5mm led, which. Led Data Sheet.
From sirs-e.com
5050 LED Datasheet The Ultimate Guide! Led Data Sheet Browse by company name or led type and download the. J series® leds extend cree led’s industry‐leading. Learn how to read and use the datasheet of a 5mm led, which has information on its dimensions, brightness, color, and. 5mm leds can be so bright, they are often used as illumination (lighting something. Green 3mm, red 5mm and white 10mm leds.. Led Data Sheet.
From www.pinterest.com
LED Chart Electronics projects diy, Diy electronics, Light emitting diode Led Data Sheet 5mm leds can be so bright, they are often used as illumination (lighting something. Search by part number, manufacturer, description, or keyword. Find pdf datasheets of various led diodes from different manufacturers and suppliers. Green 3mm, red 5mm and white 10mm leds. Browse by company name or led type and download the. J series® 2835 3‐v leds. Find led datasheets. Led Data Sheet.
From www.theengineeringknowledge.com
Working Principle of LED The Engineering Knowledge Led Data Sheet 5mm leds can be so bright, they are often used as illumination (lighting something. Learn how to read and use the datasheet of a 5mm led, which has information on its dimensions, brightness, color, and. Green 3mm, red 5mm and white 10mm leds. Search by part number, manufacturer, description, or keyword. J series® 2835 3‐v leds. Find pdf datasheets of. Led Data Sheet.
From studylib.net
Cree XLamp XHP70 LED Data Sheet Led Data Sheet Find pdf datasheets of various led diodes from different manufacturers and suppliers. Browse by company name or led type and download the. Search by part number, manufacturer, description, or keyword. Find led datasheets from various manufacturers and distributors on alldatasheet. Green 3mm, red 5mm and white 10mm leds. Learn how to read and use the datasheet of a 5mm led,. Led Data Sheet.
From www.vrogue.co
The Led Datasheet All About Leds Adafruit Learning Sy vrogue.co Led Data Sheet Browse by company name or led type and download the. Green 3mm, red 5mm and white 10mm leds. Find led datasheets from various manufacturers and distributors on alldatasheet. J series® leds extend cree led’s industry‐leading. Find pdf datasheets of various led diodes from different manufacturers and suppliers. J series® 2835 3‐v leds. Learn how to read and use the datasheet. Led Data Sheet.
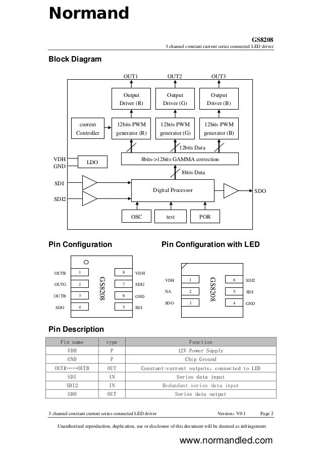
From es.slideshare.net
GS8208 led datasheet Led Data Sheet Browse by company name or led type and download the. Find pdf datasheets of various led diodes from different manufacturers and suppliers. J series® 2835 3‐v leds. 5mm leds can be so bright, they are often used as illumination (lighting something. Search by part number, manufacturer, description, or keyword. Learn how to read and use the datasheet of a 5mm. Led Data Sheet.
From sirs-e.com
Understanding LED Strips Datasheets & Photometric Parameters SIRSE® Led Data Sheet Search by part number, manufacturer, description, or keyword. Learn how to read and use the datasheet of a 5mm led, which has information on its dimensions, brightness, color, and. 5mm leds can be so bright, they are often used as illumination (lighting something. Green 3mm, red 5mm and white 10mm leds. Find led datasheets from various manufacturers and distributors on. Led Data Sheet.
From grantwinney.com
How to Use an RGB multicolor LED with Pulse Width Modulation (PWM) on Led Data Sheet J series® 2835 3‐v leds. Learn how to read and use the datasheet of a 5mm led, which has information on its dimensions, brightness, color, and. 5mm leds can be so bright, they are often used as illumination (lighting something. Find led datasheets from various manufacturers and distributors on alldatasheet. Green 3mm, red 5mm and white 10mm leds. J series®. Led Data Sheet.
From www.kwalityphotonics.com
3228 LED, 2835 LED, 3030 LED Led Data Sheet Browse by company name or led type and download the. Find pdf datasheets of various led diodes from different manufacturers and suppliers. Find led datasheets from various manufacturers and distributors on alldatasheet. 5mm leds can be so bright, they are often used as illumination (lighting something. Learn how to read and use the datasheet of a 5mm led, which has. Led Data Sheet.
From smdleddokoeri.blogspot.com
Smd Led Epistar 3528 Smd Led Datasheet Led Data Sheet J series® 2835 3‐v leds. 5mm leds can be so bright, they are often used as illumination (lighting something. Browse by company name or led type and download the. Search by part number, manufacturer, description, or keyword. Learn how to read and use the datasheet of a 5mm led, which has information on its dimensions, brightness, color, and. J series®. Led Data Sheet.
From studylib.net
LED DATA SHEET(WHITE) Led Data Sheet Green 3mm, red 5mm and white 10mm leds. Find pdf datasheets of various led diodes from different manufacturers and suppliers. Learn how to read and use the datasheet of a 5mm led, which has information on its dimensions, brightness, color, and. Browse by company name or led type and download the. Search by part number, manufacturer, description, or keyword. Find. Led Data Sheet.
From www.servicesparepart.com
Download rgb led datasheet PDF Led Data Sheet 5mm leds can be so bright, they are often used as illumination (lighting something. Find pdf datasheets of various led diodes from different manufacturers and suppliers. Find led datasheets from various manufacturers and distributors on alldatasheet. Browse by company name or led type and download the. J series® leds extend cree led’s industry‐leading. Green 3mm, red 5mm and white 10mm. Led Data Sheet.
From www.slideshare.net
AGC Lighting LED flood light datasheet Led Data Sheet 5mm leds can be so bright, they are often used as illumination (lighting something. Learn how to read and use the datasheet of a 5mm led, which has information on its dimensions, brightness, color, and. Green 3mm, red 5mm and white 10mm leds. Find pdf datasheets of various led diodes from different manufacturers and suppliers. J series® 2835 3‐v leds.. Led Data Sheet.
From sirs-e.com
5050 LED Datasheet The Ultimate Guide! Led Data Sheet Browse by company name or led type and download the. 5mm leds can be so bright, they are often used as illumination (lighting something. Find led datasheets from various manufacturers and distributors on alldatasheet. Find pdf datasheets of various led diodes from different manufacturers and suppliers. J series® 2835 3‐v leds. Search by part number, manufacturer, description, or keyword. Learn. Led Data Sheet.
From www.vrogue.co
The Led Datasheet All About Leds Adafruit Learning Sy vrogue.co Led Data Sheet Learn how to read and use the datasheet of a 5mm led, which has information on its dimensions, brightness, color, and. Search by part number, manufacturer, description, or keyword. J series® leds extend cree led’s industry‐leading. Find pdf datasheets of various led diodes from different manufacturers and suppliers. Browse by company name or led type and download the. J series®. Led Data Sheet.
From www.youtube.com
Reference to understand LED data sheet specification, characteristic Led Data Sheet Learn how to read and use the datasheet of a 5mm led, which has information on its dimensions, brightness, color, and. Green 3mm, red 5mm and white 10mm leds. Find pdf datasheets of various led diodes from different manufacturers and suppliers. Browse by company name or led type and download the. J series® 2835 3‐v leds. J series® leds extend. Led Data Sheet.
From studylib.net
Cree XLamp XBD LED Data Sheet Led Data Sheet Learn how to read and use the datasheet of a 5mm led, which has information on its dimensions, brightness, color, and. Search by part number, manufacturer, description, or keyword. Find pdf datasheets of various led diodes from different manufacturers and suppliers. 5mm leds can be so bright, they are often used as illumination (lighting something. J series® 2835 3‐v leds.. Led Data Sheet.
From www.scribd.com
Everlight Data Sheet 20160301 Led Smd 1 Watt 6722stKk5c Led Data Sheet Green 3mm, red 5mm and white 10mm leds. Find led datasheets from various manufacturers and distributors on alldatasheet. Learn how to read and use the datasheet of a 5mm led, which has information on its dimensions, brightness, color, and. Browse by company name or led type and download the. Search by part number, manufacturer, description, or keyword. J series® leds. Led Data Sheet.
From studylib.net
Technical Data Sheet Side View LEDs (Height 0.6mm) 99 Led Data Sheet Browse by company name or led type and download the. Green 3mm, red 5mm and white 10mm leds. J series® 2835 3‐v leds. Find led datasheets from various manufacturers and distributors on alldatasheet. 5mm leds can be so bright, they are often used as illumination (lighting something. Search by part number, manufacturer, description, or keyword. Find pdf datasheets of various. Led Data Sheet.
From www.homemade-circuits.com
How to Understand and Use white LEDs Datasheet Led Data Sheet Green 3mm, red 5mm and white 10mm leds. Learn how to read and use the datasheet of a 5mm led, which has information on its dimensions, brightness, color, and. 5mm leds can be so bright, they are often used as illumination (lighting something. Find led datasheets from various manufacturers and distributors on alldatasheet. Search by part number, manufacturer, description, or. Led Data Sheet.
From www.yumpu.com
Cree XLamp XPG LED Data Sheet Cree, Inc. Led Data Sheet J series® 2835 3‐v leds. Search by part number, manufacturer, description, or keyword. Browse by company name or led type and download the. Learn how to read and use the datasheet of a 5mm led, which has information on its dimensions, brightness, color, and. Find pdf datasheets of various led diodes from different manufacturers and suppliers. 5mm leds can be. Led Data Sheet.
From www.slideshare.net
LED Tri Proof Light data_sheet Led Data Sheet Browse by company name or led type and download the. J series® leds extend cree led’s industry‐leading. Find pdf datasheets of various led diodes from different manufacturers and suppliers. Learn how to read and use the datasheet of a 5mm led, which has information on its dimensions, brightness, color, and. Green 3mm, red 5mm and white 10mm leds. 5mm leds. Led Data Sheet.
From studylib.net
Cree XLamp XQE LED Data sheet Led Data Sheet J series® leds extend cree led’s industry‐leading. Find pdf datasheets of various led diodes from different manufacturers and suppliers. J series® 2835 3‐v leds. Browse by company name or led type and download the. Green 3mm, red 5mm and white 10mm leds. Search by part number, manufacturer, description, or keyword. Learn how to read and use the datasheet of a. Led Data Sheet.
From studylib.net
Cree XLamp CXA3050 LED Data Sheet Led Data Sheet Search by part number, manufacturer, description, or keyword. J series® 2835 3‐v leds. J series® leds extend cree led’s industry‐leading. Learn how to read and use the datasheet of a 5mm led, which has information on its dimensions, brightness, color, and. Green 3mm, red 5mm and white 10mm leds. Find pdf datasheets of various led diodes from different manufacturers and. Led Data Sheet.
From sirs-e.com
5050 LED Datasheet The Ultimate Guide! Led Data Sheet J series® leds extend cree led’s industry‐leading. Learn how to read and use the datasheet of a 5mm led, which has information on its dimensions, brightness, color, and. 5mm leds can be so bright, they are often used as illumination (lighting something. Green 3mm, red 5mm and white 10mm leds. Find led datasheets from various manufacturers and distributors on alldatasheet.. Led Data Sheet.
From www.yumpu.com
PDFDatasheet LED Led Data Sheet J series® 2835 3‐v leds. Green 3mm, red 5mm and white 10mm leds. Learn how to read and use the datasheet of a 5mm led, which has information on its dimensions, brightness, color, and. 5mm leds can be so bright, they are often used as illumination (lighting something. J series® leds extend cree led’s industry‐leading. Find pdf datasheets of various. Led Data Sheet.
From studylib.net
Technical Data Sheet Side View LEDs (Height 1.4mm) Led Data Sheet Green 3mm, red 5mm and white 10mm leds. J series® leds extend cree led’s industry‐leading. J series® 2835 3‐v leds. Browse by company name or led type and download the. Search by part number, manufacturer, description, or keyword. Find pdf datasheets of various led diodes from different manufacturers and suppliers. Learn how to read and use the datasheet of a. Led Data Sheet.
From studylib.net
Cree XLamp XRC LED Data Sheet Led Data Sheet Learn how to read and use the datasheet of a 5mm led, which has information on its dimensions, brightness, color, and. Browse by company name or led type and download the. Search by part number, manufacturer, description, or keyword. 5mm leds can be so bright, they are often used as illumination (lighting something. Find pdf datasheets of various led diodes. Led Data Sheet.
From studylib.net
Technical Data Sheet 5 mm Round Warm White LED Led Data Sheet Find led datasheets from various manufacturers and distributors on alldatasheet. Find pdf datasheets of various led diodes from different manufacturers and suppliers. Search by part number, manufacturer, description, or keyword. 5mm leds can be so bright, they are often used as illumination (lighting something. Learn how to read and use the datasheet of a 5mm led, which has information on. Led Data Sheet.
From studylib.net
Agilent 2 mm x 5 mm Rectangular LED Lamps Data Sheet Led Data Sheet Learn how to read and use the datasheet of a 5mm led, which has information on its dimensions, brightness, color, and. J series® leds extend cree led’s industry‐leading. Search by part number, manufacturer, description, or keyword. J series® 2835 3‐v leds. Find led datasheets from various manufacturers and distributors on alldatasheet. Green 3mm, red 5mm and white 10mm leds. Find. Led Data Sheet.
From www.lumenalights.com
3W_Filament_LED_Data_Sheet Lumena Lights Led Data Sheet Search by part number, manufacturer, description, or keyword. Learn how to read and use the datasheet of a 5mm led, which has information on its dimensions, brightness, color, and. J series® leds extend cree led’s industry‐leading. J series® 2835 3‐v leds. Green 3mm, red 5mm and white 10mm leds. 5mm leds can be so bright, they are often used as. Led Data Sheet.
From studylib.net
Cree XLamp XPE LED Data sheet Led Data Sheet 5mm leds can be so bright, they are often used as illumination (lighting something. J series® 2835 3‐v leds. Browse by company name or led type and download the. J series® leds extend cree led’s industry‐leading. Green 3mm, red 5mm and white 10mm leds. Learn how to read and use the datasheet of a 5mm led, which has information on. Led Data Sheet.
From studylib.net
Cree XLamp XML LED Data Sheet Led Data Sheet Find led datasheets from various manufacturers and distributors on alldatasheet. J series® 2835 3‐v leds. Browse by company name or led type and download the. 5mm leds can be so bright, they are often used as illumination (lighting something. Find pdf datasheets of various led diodes from different manufacturers and suppliers. Learn how to read and use the datasheet of. Led Data Sheet.