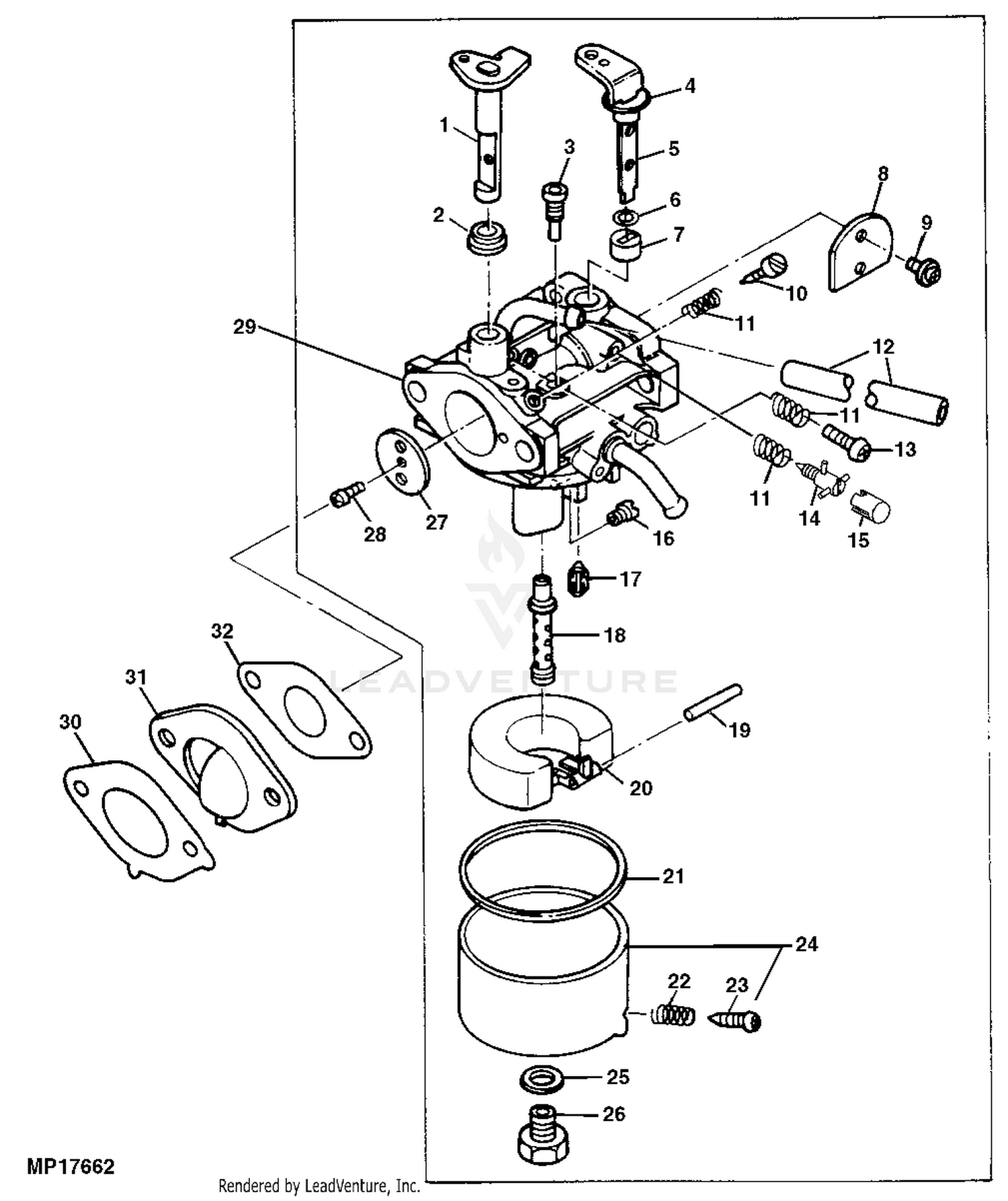
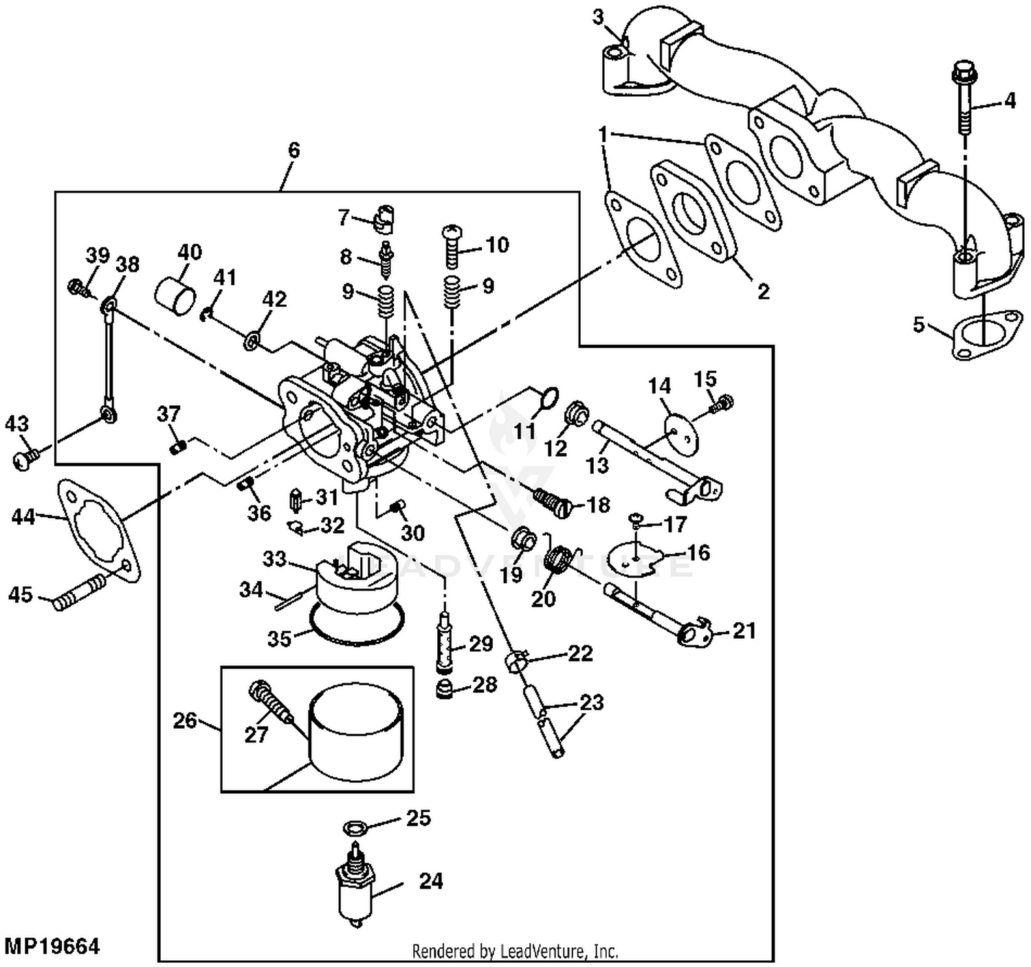
John Deere Model B Carburetor Diagram . The john deere model b carburetor diagram is a visual representation of the various components and their connections in this iconic. It includes components such as the throttle valve,. I have spent many hours working on this carb! John deere b help, carb problems? It would be a fairly large. The john deere b carburetor diagram is an essential tool for anyone who owns or works on a john deere b tractor. The john deere b carburetor diagram visually represents the various parts and their connections within the carburetor system. First of all does your tractor have the economiser plug ? I have sand blasted, drilled all the passageways and replaced. Have removed all the small plugs and. I have a dltx 67 carburetor that was on the tractor when i bought it.
from avs.parts
Have removed all the small plugs and. The john deere model b carburetor diagram is a visual representation of the various components and their connections in this iconic. John deere b help, carb problems? It would be a fairly large. I have spent many hours working on this carb! It includes components such as the throttle valve,. First of all does your tractor have the economiser plug ? The john deere b carburetor diagram is an essential tool for anyone who owns or works on a john deere b tractor. I have sand blasted, drilled all the passageways and replaced. The john deere b carburetor diagram visually represents the various parts and their connections within the carburetor system.
PT15178 John Deere Carburetor AVS.Parts
John Deere Model B Carburetor Diagram It would be a fairly large. The john deere b carburetor diagram is an essential tool for anyone who owns or works on a john deere b tractor. I have spent many hours working on this carb! First of all does your tractor have the economiser plug ? It includes components such as the throttle valve,. John deere b help, carb problems? Have removed all the small plugs and. I have a dltx 67 carburetor that was on the tractor when i bought it. I have sand blasted, drilled all the passageways and replaced. The john deere b carburetor diagram visually represents the various parts and their connections within the carburetor system. The john deere model b carburetor diagram is a visual representation of the various components and their connections in this iconic. It would be a fairly large.
From www.mmtractorparts.com
Carburetor Rebuild Service Marvel Schebler John Deere Model B Carburetor Diagram The john deere b carburetor diagram is an essential tool for anyone who owns or works on a john deere b tractor. It includes components such as the throttle valve,. I have a dltx 67 carburetor that was on the tractor when i bought it. First of all does your tractor have the economiser plug ? I have sand blasted,. John Deere Model B Carburetor Diagram.
From www.yesterdaystractors.com
Governor to carb throttle rod adju... Yesterday's Tractors John Deere Model B Carburetor Diagram John deere b help, carb problems? It includes components such as the throttle valve,. First of all does your tractor have the economiser plug ? The john deere model b carburetor diagram is a visual representation of the various components and their connections in this iconic. I have a dltx 67 carburetor that was on the tractor when i bought. John Deere Model B Carburetor Diagram.
From www.organised-sound.com
John Deere Model B Wiring Diagram Wiring Diagram John Deere Model B Carburetor Diagram Have removed all the small plugs and. It would be a fairly large. I have a dltx 67 carburetor that was on the tractor when i bought it. I have spent many hours working on this carb! The john deere b carburetor diagram is an essential tool for anyone who owns or works on a john deere b tractor. John. John Deere Model B Carburetor Diagram.
From replacementparts.netlify.app
John deere la115 carburetor diagram John Deere Model B Carburetor Diagram The john deere b carburetor diagram is an essential tool for anyone who owns or works on a john deere b tractor. John deere b help, carb problems? The john deere b carburetor diagram visually represents the various parts and their connections within the carburetor system. First of all does your tractor have the economiser plug ? The john deere. John Deere Model B Carburetor Diagram.
From elecschem.com
Exploring the Anatomy of the John Deere LA110 Carburetor A John Deere Model B Carburetor Diagram I have sand blasted, drilled all the passageways and replaced. It would be a fairly large. I have spent many hours working on this carb! I have a dltx 67 carburetor that was on the tractor when i bought it. The john deere b carburetor diagram is an essential tool for anyone who owns or works on a john deere. John Deere Model B Carburetor Diagram.
From www.ebay.ca
Carburetor for John Deere L100 17hp engine 31F707 LX288 18hp B&S 350777 John Deere Model B Carburetor Diagram I have spent many hours working on this carb! John deere b help, carb problems? The john deere model b carburetor diagram is a visual representation of the various components and their connections in this iconic. I have sand blasted, drilled all the passageways and replaced. It includes components such as the throttle valve,. Have removed all the small plugs. John Deere Model B Carburetor Diagram.
From www.greenpartstore.com
John Deere Complete Carburetor Assembly AM109205 See product detail John Deere Model B Carburetor Diagram It includes components such as the throttle valve,. Have removed all the small plugs and. The john deere b carburetor diagram visually represents the various parts and their connections within the carburetor system. I have sand blasted, drilled all the passageways and replaced. John deere b help, carb problems? The john deere model b carburetor diagram is a visual representation. John Deere Model B Carburetor Diagram.
From www.amazon.ca
Carburetor Carb Assembly for John Deere LX178 Engine carb AM122614 John Deere Model B Carburetor Diagram Have removed all the small plugs and. The john deere b carburetor diagram is an essential tool for anyone who owns or works on a john deere b tractor. The john deere model b carburetor diagram is a visual representation of the various components and their connections in this iconic. It would be a fairly large. I have spent many. John Deere Model B Carburetor Diagram.
From mytractor.us
Comprehensive Carburetor Kit for John Deere B MyTractor Sparex John Deere Model B Carburetor Diagram The john deere b carburetor diagram is an essential tool for anyone who owns or works on a john deere b tractor. I have a dltx 67 carburetor that was on the tractor when i bought it. I have sand blasted, drilled all the passageways and replaced. Have removed all the small plugs and. The john deere model b carburetor. John Deere Model B Carburetor Diagram.
From schematron.org
John Deere L130 Carburetor Diagram Wiring Diagram Pictures John Deere Model B Carburetor Diagram The john deere model b carburetor diagram is a visual representation of the various components and their connections in this iconic. The john deere b carburetor diagram visually represents the various parts and their connections within the carburetor system. John deere b help, carb problems? It includes components such as the throttle valve,. I have spent many hours working on. John Deere Model B Carburetor Diagram.
From farmtractorrepair.com
John Deere B Comprehensive Carburetor Kit DLTX67 or DLTX73 J&D John Deere Model B Carburetor Diagram I have spent many hours working on this carb! The john deere model b carburetor diagram is a visual representation of the various components and their connections in this iconic. John deere b help, carb problems? The john deere b carburetor diagram visually represents the various parts and their connections within the carburetor system. It includes components such as the. John Deere Model B Carburetor Diagram.
From robertscarbrepair.com
Carburetor Parts MarvelSchebler DLTX Single Barrel Carbs Page 4 John Deere Model B Carburetor Diagram First of all does your tractor have the economiser plug ? I have spent many hours working on this carb! I have sand blasted, drilled all the passageways and replaced. The john deere model b carburetor diagram is a visual representation of the various components and their connections in this iconic. John deere b help, carb problems? Have removed all. John Deere Model B Carburetor Diagram.
From www.greenpartstore.com
John Deere Carburetor Assembly AM128892 John Deere Model B Carburetor Diagram The john deere b carburetor diagram visually represents the various parts and their connections within the carburetor system. It includes components such as the throttle valve,. The john deere model b carburetor diagram is a visual representation of the various components and their connections in this iconic. Have removed all the small plugs and. It would be a fairly large.. John Deere Model B Carburetor Diagram.
From replacementparts.netlify.app
John deere gator carburetor diagram John Deere Model B Carburetor Diagram I have spent many hours working on this carb! John deere b help, carb problems? It would be a fairly large. The john deere b carburetor diagram is an essential tool for anyone who owns or works on a john deere b tractor. The john deere model b carburetor diagram is a visual representation of the various components and their. John Deere Model B Carburetor Diagram.
From www.justanswer.com
John Deere RX75 Specs, Carburetor Issues & Reviews Expert Q&A John Deere Model B Carburetor Diagram John deere b help, carb problems? I have a dltx 67 carburetor that was on the tractor when i bought it. The john deere model b carburetor diagram is a visual representation of the various components and their connections in this iconic. Have removed all the small plugs and. It would be a fairly large. The john deere b carburetor. John Deere Model B Carburetor Diagram.
From agconsupply.com
Carburetor Repair Kit Fits Ford John Deere Model B Tractor Agcon Supply John Deere Model B Carburetor Diagram The john deere b carburetor diagram is an essential tool for anyone who owns or works on a john deere b tractor. It would be a fairly large. First of all does your tractor have the economiser plug ? It includes components such as the throttle valve,. John deere b help, carb problems? I have sand blasted, drilled all the. John Deere Model B Carburetor Diagram.
From avs.parts
AM117581 John Deere Carburetor AVS.Parts John Deere Model B Carburetor Diagram I have sand blasted, drilled all the passageways and replaced. The john deere b carburetor diagram visually represents the various parts and their connections within the carburetor system. It includes components such as the throttle valve,. The john deere model b carburetor diagram is a visual representation of the various components and their connections in this iconic. First of all. John Deere Model B Carburetor Diagram.
From galvinconanstuart.blogspot.com
John Deere La115 Carburetor Diagram General Wiring Diagram John Deere Model B Carburetor Diagram I have spent many hours working on this carb! The john deere b carburetor diagram is an essential tool for anyone who owns or works on a john deere b tractor. It would be a fairly large. Have removed all the small plugs and. I have a dltx 67 carburetor that was on the tractor when i bought it. The. John Deere Model B Carburetor Diagram.
From www.amazon.co.jp
Amazon.co.jp キャブレター 交換用 John Deere L118 L120 LA130 LA135 LA140 LA145 John Deere Model B Carburetor Diagram I have sand blasted, drilled all the passageways and replaced. It would be a fairly large. The john deere b carburetor diagram is an essential tool for anyone who owns or works on a john deere b tractor. The john deere b carburetor diagram visually represents the various parts and their connections within the carburetor system. It includes components such. John Deere Model B Carburetor Diagram.
From www.weingartz.com
ARIMain WEINGARTZ John Deere Model B Carburetor Diagram First of all does your tractor have the economiser plug ? I have a dltx 67 carburetor that was on the tractor when i bought it. I have sand blasted, drilled all the passageways and replaced. The john deere model b carburetor diagram is a visual representation of the various components and their connections in this iconic. It would be. John Deere Model B Carburetor Diagram.
From www.jackssmallengines.com
Kohler K3216008 JOHN DEERE 14 HP (10.4 kW) SPECS 600660443 Parts John Deere Model B Carburetor Diagram I have a dltx 67 carburetor that was on the tractor when i bought it. The john deere b carburetor diagram is an essential tool for anyone who owns or works on a john deere b tractor. First of all does your tractor have the economiser plug ? It includes components such as the throttle valve,. The john deere b. John Deere Model B Carburetor Diagram.
From www.wiringway.com
John Deere Model B Wiring Diagram Wiring Way John Deere Model B Carburetor Diagram It includes components such as the throttle valve,. I have spent many hours working on this carb! The john deere b carburetor diagram is an essential tool for anyone who owns or works on a john deere b tractor. It would be a fairly large. The john deere model b carburetor diagram is a visual representation of the various components. John Deere Model B Carburetor Diagram.
From mungfali.com
John Deere Carburetor Linkage Diagram John Deere Model B Carburetor Diagram I have sand blasted, drilled all the passageways and replaced. It would be a fairly large. The john deere model b carburetor diagram is a visual representation of the various components and their connections in this iconic. The john deere b carburetor diagram is an essential tool for anyone who owns or works on a john deere b tractor. John. John Deere Model B Carburetor Diagram.
From mungfali.com
John Deere Carburetor Linkage Diagram John Deere Model B Carburetor Diagram Have removed all the small plugs and. It would be a fairly large. I have spent many hours working on this carb! It includes components such as the throttle valve,. I have a dltx 67 carburetor that was on the tractor when i bought it. I have sand blasted, drilled all the passageways and replaced. First of all does your. John Deere Model B Carburetor Diagram.
From www.amazon.ca
partszen 796258 Carburetor for John Deere L111 L118 L120 LA120 LA130 B John Deere Model B Carburetor Diagram The john deere model b carburetor diagram is a visual representation of the various components and their connections in this iconic. The john deere b carburetor diagram visually represents the various parts and their connections within the carburetor system. Have removed all the small plugs and. The john deere b carburetor diagram is an essential tool for anyone who owns. John Deere Model B Carburetor Diagram.
From www.youtube.com
1951 John Deere Model B carb rebuild and first start in YEARS!!! YouTube John Deere Model B Carburetor Diagram I have spent many hours working on this carb! I have a dltx 67 carburetor that was on the tractor when i bought it. It would be a fairly large. First of all does your tractor have the economiser plug ? I have sand blasted, drilled all the passageways and replaced. Have removed all the small plugs and. The john. John Deere Model B Carburetor Diagram.
From www.walmart.com
Carburetor AM109205 Carb Replacement for John Deere GT242 LX 172 176 John Deere Model B Carburetor Diagram The john deere model b carburetor diagram is a visual representation of the various components and their connections in this iconic. It includes components such as the throttle valve,. First of all does your tractor have the economiser plug ? It would be a fairly large. I have a dltx 67 carburetor that was on the tractor when i bought. John Deere Model B Carburetor Diagram.
From www.weingartz.com
ARIMain WEINGARTZ John Deere Model B Carburetor Diagram I have spent many hours working on this carb! The john deere b carburetor diagram is an essential tool for anyone who owns or works on a john deere b tractor. The john deere b carburetor diagram visually represents the various parts and their connections within the carburetor system. It would be a fairly large. First of all does your. John Deere Model B Carburetor Diagram.
From avs.parts
AM104810 John Deere Carburetor AVS.Parts John Deere Model B Carburetor Diagram The john deere b carburetor diagram is an essential tool for anyone who owns or works on a john deere b tractor. I have spent many hours working on this carb! It includes components such as the throttle valve,. I have sand blasted, drilled all the passageways and replaced. The john deere b carburetor diagram visually represents the various parts. John Deere Model B Carburetor Diagram.
From schematron.org
John Deere Gt235 Carburetor Diagram Wiring Diagram Pictures John Deere Model B Carburetor Diagram I have a dltx 67 carburetor that was on the tractor when i bought it. The john deere model b carburetor diagram is a visual representation of the various components and their connections in this iconic. Have removed all the small plugs and. John deere b help, carb problems? I have sand blasted, drilled all the passageways and replaced. It. John Deere Model B Carburetor Diagram.
From diagramweb.net
11hp Briggs And Stratton Carburetor Linkage Diagram John Deere Model B Carburetor Diagram Have removed all the small plugs and. The john deere model b carburetor diagram is a visual representation of the various components and their connections in this iconic. It would be a fairly large. The john deere b carburetor diagram visually represents the various parts and their connections within the carburetor system. I have a dltx 67 carburetor that was. John Deere Model B Carburetor Diagram.
From avs.parts
PT15178 John Deere Carburetor AVS.Parts John Deere Model B Carburetor Diagram It includes components such as the throttle valve,. I have sand blasted, drilled all the passageways and replaced. Have removed all the small plugs and. I have a dltx 67 carburetor that was on the tractor when i bought it. It would be a fairly large. The john deere model b carburetor diagram is a visual representation of the various. John Deere Model B Carburetor Diagram.
From www.jackssmallengines.com
Toro 20622, Lawnmower, 1986 (SN 60000016999999) Parts Diagram for John Deere Model B Carburetor Diagram I have sand blasted, drilled all the passageways and replaced. The john deere b carburetor diagram visually represents the various parts and their connections within the carburetor system. First of all does your tractor have the economiser plug ? Have removed all the small plugs and. The john deere model b carburetor diagram is a visual representation of the various. John Deere Model B Carburetor Diagram.
From www.youtube.com
How to Clean Carburetor on John Deere Mower Remove, Clean and Install John Deere Model B Carburetor Diagram Have removed all the small plugs and. John deere b help, carb problems? I have spent many hours working on this carb! I have a dltx 67 carburetor that was on the tractor when i bought it. First of all does your tractor have the economiser plug ? The john deere model b carburetor diagram is a visual representation of. John Deere Model B Carburetor Diagram.
From devynejidew42.blogspot.com
42 john deere lx188 carburetor diagram Wiring Diagrams Explained John Deere Model B Carburetor Diagram It includes components such as the throttle valve,. I have a dltx 67 carburetor that was on the tractor when i bought it. The john deere model b carburetor diagram is a visual representation of the various components and their connections in this iconic. First of all does your tractor have the economiser plug ? Have removed all the small. John Deere Model B Carburetor Diagram.