Flareless Fittings . Flareless fittings are used extensively to connect tubing to threaded components, such as valves and tools. Parker has numerous options in flareless and bite type fitting to exceed the performance and requirements of governing standards and provide superior sealing capability to your. Explore our comprehensive range of flareless fittings, designed for robust and reliable hydraulic systems in industrial applications. The next level of corrosion protection. They are ideal for systems with high vibration, as. Parker's ferulok 24° flareless fittings create a visible heavy bite allowing easy inspection and a rear compression grip which firmly holds the nut and tubing, dampening the effects of. Flareless 24° bite type fittings. They require less time and care than flare fittings. Flareless fittings are common because they can be used with a wide variety of tubing types and because connections are easy to make. Often used in outdoor,damp, and washdown. Parker has numerous options in flareless and bite type fittings that provide superior sealing capability for your system.
from www.herberaircraft.com
Parker has numerous options in flareless and bite type fitting to exceed the performance and requirements of governing standards and provide superior sealing capability to your. Flareless fittings are used extensively to connect tubing to threaded components, such as valves and tools. Parker's ferulok 24° flareless fittings create a visible heavy bite allowing easy inspection and a rear compression grip which firmly holds the nut and tubing, dampening the effects of. Parker has numerous options in flareless and bite type fittings that provide superior sealing capability for your system. They are ideal for systems with high vibration, as. Often used in outdoor,damp, and washdown. Flareless fittings are common because they can be used with a wide variety of tubing types and because connections are easy to make. The next level of corrosion protection. They require less time and care than flare fittings. Flareless 24° bite type fittings.
Aeroquip Eaton 666/667 Globeseal™ Flareless Fittings
Flareless Fittings Parker has numerous options in flareless and bite type fitting to exceed the performance and requirements of governing standards and provide superior sealing capability to your. Often used in outdoor,damp, and washdown. They require less time and care than flare fittings. Flareless fittings are common because they can be used with a wide variety of tubing types and because connections are easy to make. Parker has numerous options in flareless and bite type fitting to exceed the performance and requirements of governing standards and provide superior sealing capability to your. Parker has numerous options in flareless and bite type fittings that provide superior sealing capability for your system. They are ideal for systems with high vibration, as. Explore our comprehensive range of flareless fittings, designed for robust and reliable hydraulic systems in industrial applications. Parker's ferulok 24° flareless fittings create a visible heavy bite allowing easy inspection and a rear compression grip which firmly holds the nut and tubing, dampening the effects of. Flareless 24° bite type fittings. Flareless fittings are used extensively to connect tubing to threaded components, such as valves and tools. The next level of corrosion protection.
From www.herberaircraft.com
Aeroquip Eaton 666/667 Globeseal™ Flareless Fittings Flareless Fittings Flareless fittings are common because they can be used with a wide variety of tubing types and because connections are easy to make. Flareless 24° bite type fittings. Parker's ferulok 24° flareless fittings create a visible heavy bite allowing easy inspection and a rear compression grip which firmly holds the nut and tubing, dampening the effects of. Flareless fittings are. Flareless Fittings.
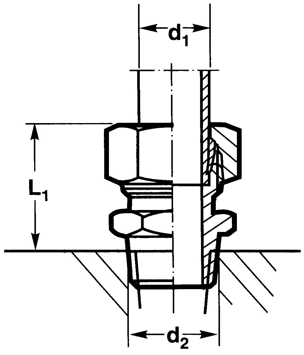
From www.bonanza.com
Hoke Gyrolok 8TMT8 Brass Flareless Tube Fitting 1/2" NPT x 1/2" Comp x Flareless Fittings The next level of corrosion protection. Often used in outdoor,damp, and washdown. Flareless 24° bite type fittings. Parker's ferulok 24° flareless fittings create a visible heavy bite allowing easy inspection and a rear compression grip which firmly holds the nut and tubing, dampening the effects of. Parker has numerous options in flareless and bite type fittings that provide superior sealing. Flareless Fittings.
From www.amazon.com
Parker 61HD8 Flareless Tube Fitting, HiDuty, Tube, Brass, Compression Flareless Fittings Parker has numerous options in flareless and bite type fittings that provide superior sealing capability for your system. Often used in outdoor,damp, and washdown. The next level of corrosion protection. They are ideal for systems with high vibration, as. Explore our comprehensive range of flareless fittings, designed for robust and reliable hydraulic systems in industrial applications. Flareless fittings are used. Flareless Fittings.
From www.pipingmaterial.ae
Flareless fittings and 24 Degree Fittings suppliers in UAE Flareless Fittings The next level of corrosion protection. Parker has numerous options in flareless and bite type fitting to exceed the performance and requirements of governing standards and provide superior sealing capability to your. Parker has numerous options in flareless and bite type fittings that provide superior sealing capability for your system. Flareless fittings are common because they can be used with. Flareless Fittings.
From piperindustries.com
Piper Industries Flareless Fittings Flareless Fittings Flareless fittings are common because they can be used with a wide variety of tubing types and because connections are easy to make. Flareless fittings are used extensively to connect tubing to threaded components, such as valves and tools. Parker's ferulok 24° flareless fittings create a visible heavy bite allowing easy inspection and a rear compression grip which firmly holds. Flareless Fittings.
From ecommdev.parker.com
62HD86 Brass flareless tube fitting, HiDuty Parker NA Flareless Fittings Parker has numerous options in flareless and bite type fitting to exceed the performance and requirements of governing standards and provide superior sealing capability to your. Flareless fittings are common because they can be used with a wide variety of tubing types and because connections are easy to make. They are ideal for systems with high vibration, as. The next. Flareless Fittings.
From www.bandemfg.com
B&E Manufacturing Flareless Fittings Flareless Fittings Parker's ferulok 24° flareless fittings create a visible heavy bite allowing easy inspection and a rear compression grip which firmly holds the nut and tubing, dampening the effects of. Flareless fittings are common because they can be used with a wide variety of tubing types and because connections are easy to make. They require less time and care than flare. Flareless Fittings.
From ph.parker.com
62HDBH2 Brass flareless tube fitting, HiDuty Parker NA Flareless Fittings The next level of corrosion protection. Often used in outdoor,damp, and washdown. Parker has numerous options in flareless and bite type fittings that provide superior sealing capability for your system. Flareless 24° bite type fittings. Explore our comprehensive range of flareless fittings, designed for robust and reliable hydraulic systems in industrial applications. They are ideal for systems with high vibration,. Flareless Fittings.
From onlinechiropracticeducation.com
Fittings Parker 68HD68 Flareless Tube Fitting HiDuty Compression and Flareless Fittings Flareless fittings are common because they can be used with a wide variety of tubing types and because connections are easy to make. They require less time and care than flare fittings. Explore our comprehensive range of flareless fittings, designed for robust and reliable hydraulic systems in industrial applications. Parker's ferulok 24° flareless fittings create a visible heavy bite allowing. Flareless Fittings.
From www.eaton.com
Tube fittings Hose fittings and connectors Eaton Models or Flareless Fittings Explore our comprehensive range of flareless fittings, designed for robust and reliable hydraulic systems in industrial applications. Parker has numerous options in flareless and bite type fitting to exceed the performance and requirements of governing standards and provide superior sealing capability to your. Flareless fittings are common because they can be used with a wide variety of tubing types and. Flareless Fittings.
From ecommdev.parker.com
165HD8 Brass flareless tube fitting, HiDuty Parker NA Flareless Fittings Parker's ferulok 24° flareless fittings create a visible heavy bite allowing easy inspection and a rear compression grip which firmly holds the nut and tubing, dampening the effects of. Parker has numerous options in flareless and bite type fitting to exceed the performance and requirements of governing standards and provide superior sealing capability to your. Often used in outdoor,damp, and. Flareless Fittings.
From piperindustries.com
Piper Industries Flareless Fittings Flareless Fittings Explore our comprehensive range of flareless fittings, designed for robust and reliable hydraulic systems in industrial applications. Flareless fittings are common because they can be used with a wide variety of tubing types and because connections are easy to make. They require less time and care than flare fittings. The next level of corrosion protection. Parker's ferulok 24° flareless fittings. Flareless Fittings.
From piperindustries.com
Piper Industries Flareless Fittings Flareless Fittings The next level of corrosion protection. Flareless 24° bite type fittings. They require less time and care than flare fittings. Often used in outdoor,damp, and washdown. They are ideal for systems with high vibration, as. Flareless fittings are used extensively to connect tubing to threaded components, such as valves and tools. Parker has numerous options in flareless and bite type. Flareless Fittings.
From www.bandemfg.com
B&E Manufacturing Flareless Fittings Flareless Fittings Often used in outdoor,damp, and washdown. They require less time and care than flare fittings. Flareless fittings are common because they can be used with a wide variety of tubing types and because connections are easy to make. Parker's ferulok 24° flareless fittings create a visible heavy bite allowing easy inspection and a rear compression grip which firmly holds the. Flareless Fittings.
From www.amazon.com
Parker 169HD88 Flareless Tube Fitting, HiDuty, Tube to Pipe, Brass Flareless Fittings They require less time and care than flare fittings. Often used in outdoor,damp, and washdown. Parker has numerous options in flareless and bite type fittings that provide superior sealing capability for your system. Flareless fittings are used extensively to connect tubing to threaded components, such as valves and tools. The next level of corrosion protection. Explore our comprehensive range of. Flareless Fittings.
From www.worldwidefittings.com
Steel Flareless Fittings World Wide Fittings Flareless Fittings The next level of corrosion protection. They are ideal for systems with high vibration, as. Flareless fittings are used extensively to connect tubing to threaded components, such as valves and tools. Parker has numerous options in flareless and bite type fittings that provide superior sealing capability for your system. They require less time and care than flare fittings. Flareless fittings. Flareless Fittings.
From www.raptorsupplies.com
Parker 8 FBUS Tube Fitting, Straight, 1/2 Inch Outside Diameter Flareless Fittings Parker's ferulok 24° flareless fittings create a visible heavy bite allowing easy inspection and a rear compression grip which firmly holds the nut and tubing, dampening the effects of. Often used in outdoor,damp, and washdown. The next level of corrosion protection. Explore our comprehensive range of flareless fittings, designed for robust and reliable hydraulic systems in industrial applications. They require. Flareless Fittings.
From phstage.parker.com
Click to View CAD Model Flareless Fittings Often used in outdoor,damp, and washdown. Flareless fittings are used extensively to connect tubing to threaded components, such as valves and tools. Parker has numerous options in flareless and bite type fitting to exceed the performance and requirements of governing standards and provide superior sealing capability to your. Flareless 24° bite type fittings. Parker has numerous options in flareless and. Flareless Fittings.
From piperindustries.com
Piper Industries Flareless Fittings Flareless Fittings Flareless fittings are common because they can be used with a wide variety of tubing types and because connections are easy to make. Explore our comprehensive range of flareless fittings, designed for robust and reliable hydraulic systems in industrial applications. Flareless fittings are used extensively to connect tubing to threaded components, such as valves and tools. They are ideal for. Flareless Fittings.
From piperindustries.com
Piper Industries Flareless Fittings Flareless Fittings They require less time and care than flare fittings. Parker's ferulok 24° flareless fittings create a visible heavy bite allowing easy inspection and a rear compression grip which firmly holds the nut and tubing, dampening the effects of. Often used in outdoor,damp, and washdown. The next level of corrosion protection. Flareless fittings are used extensively to connect tubing to threaded. Flareless Fittings.
From www.qchydraulics.com
SSFS2405 Flareless NPT Female Connector QC Hydraulics Flareless Fittings Flareless fittings are common because they can be used with a wide variety of tubing types and because connections are easy to make. Often used in outdoor,damp, and washdown. The next level of corrosion protection. Parker has numerous options in flareless and bite type fittings that provide superior sealing capability for your system. They require less time and care than. Flareless Fittings.
From piperindustries.com
Piper Industries Flareless Fittings Flareless Fittings Parker has numerous options in flareless and bite type fitting to exceed the performance and requirements of governing standards and provide superior sealing capability to your. They are ideal for systems with high vibration, as. Parker has numerous options in flareless and bite type fittings that provide superior sealing capability for your system. They require less time and care than. Flareless Fittings.
From piperindustries.com
Piper Industries Flareless Fittings Flareless Fittings Often used in outdoor,damp, and washdown. Parker has numerous options in flareless and bite type fitting to exceed the performance and requirements of governing standards and provide superior sealing capability to your. They require less time and care than flare fittings. The next level of corrosion protection. Flareless fittings are common because they can be used with a wide variety. Flareless Fittings.
From piperindustries.com
Piper Industries Flareless Fittings Flareless Fittings Flareless fittings are used extensively to connect tubing to threaded components, such as valves and tools. The next level of corrosion protection. Parker has numerous options in flareless and bite type fittings that provide superior sealing capability for your system. Parker's ferulok 24° flareless fittings create a visible heavy bite allowing easy inspection and a rear compression grip which firmly. Flareless Fittings.
From www.qchydraulics.com
Flareless Tube Fittings Stainless Steel Manufacturer Flareless Fittings Flareless fittings are used extensively to connect tubing to threaded components, such as valves and tools. Often used in outdoor,damp, and washdown. They are ideal for systems with high vibration, as. Parker has numerous options in flareless and bite type fittings that provide superior sealing capability for your system. They require less time and care than flare fittings. Parker's ferulok. Flareless Fittings.
From www.amazon.de
Parker 68hd812 flareless Tube Fitting, hiduty, Tube zu Rohr, Messing Flareless Fittings They are ideal for systems with high vibration, as. Often used in outdoor,damp, and washdown. Parker has numerous options in flareless and bite type fittings that provide superior sealing capability for your system. Flareless fittings are common because they can be used with a wide variety of tubing types and because connections are easy to make. They require less time. Flareless Fittings.
From www.fittingcoupling.com
C2404 Flareless x Male Pipe SAE 080102 SAE J514 Flareless Tube Fitting Flareless Fittings Flareless fittings are common because they can be used with a wide variety of tubing types and because connections are easy to make. Often used in outdoor,damp, and washdown. They are ideal for systems with high vibration, as. They require less time and care than flare fittings. Parker's ferulok 24° flareless fittings create a visible heavy bite allowing easy inspection. Flareless Fittings.
From www.myssp.com
SAE Flareless Tube Fittings SSP Flareless Fittings The next level of corrosion protection. Flareless fittings are common because they can be used with a wide variety of tubing types and because connections are easy to make. They require less time and care than flare fittings. They are ideal for systems with high vibration, as. Flareless fittings are used extensively to connect tubing to threaded components, such as. Flareless Fittings.
From ph.parker.com
179HD64 Brass flareless tube fitting, HiDuty Parker NA Flareless Fittings They require less time and care than flare fittings. Explore our comprehensive range of flareless fittings, designed for robust and reliable hydraulic systems in industrial applications. Parker's ferulok 24° flareless fittings create a visible heavy bite allowing easy inspection and a rear compression grip which firmly holds the nut and tubing, dampening the effects of. Parker has numerous options in. Flareless Fittings.
From www.smartlockfitting.com
Benefits of Flareless Fittings Learn More SmartLock Flareless Fittings Explore our comprehensive range of flareless fittings, designed for robust and reliable hydraulic systems in industrial applications. Parker has numerous options in flareless and bite type fitting to exceed the performance and requirements of governing standards and provide superior sealing capability to your. They are ideal for systems with high vibration, as. Flareless 24° bite type fittings. Parker has numerous. Flareless Fittings.
From www.omega1.com
OmegaBite Advantages of Flareless Tube Fittings Flareless Fittings Parker has numerous options in flareless and bite type fittings that provide superior sealing capability for your system. Explore our comprehensive range of flareless fittings, designed for robust and reliable hydraulic systems in industrial applications. Parker's ferulok 24° flareless fittings create a visible heavy bite allowing easy inspection and a rear compression grip which firmly holds the nut and tubing,. Flareless Fittings.
From piperindustries.com
Piper Industries Flareless Fittings Flareless Fittings They require less time and care than flare fittings. Parker has numerous options in flareless and bite type fittings that provide superior sealing capability for your system. Flareless fittings are common because they can be used with a wide variety of tubing types and because connections are easy to make. Parker has numerous options in flareless and bite type fitting. Flareless Fittings.
From www.hydraulic-supply.com
Metric Flareless NPT Fittings 1036 Hydraulic Supply Co. Flareless Fittings They require less time and care than flare fittings. Explore our comprehensive range of flareless fittings, designed for robust and reliable hydraulic systems in industrial applications. The next level of corrosion protection. Parker has numerous options in flareless and bite type fitting to exceed the performance and requirements of governing standards and provide superior sealing capability to your. Flareless 24°. Flareless Fittings.
From www.raptorsupplies.com
Parker 12 HBUSS 1DCL1 Tube Fitting, Straight, 3/4 Inch Outside Flareless Fittings Flareless fittings are common because they can be used with a wide variety of tubing types and because connections are easy to make. Flareless fittings are used extensively to connect tubing to threaded components, such as valves and tools. Parker's ferulok 24° flareless fittings create a visible heavy bite allowing easy inspection and a rear compression grip which firmly holds. Flareless Fittings.
From piperindustries.com
Piper Industries Flareless Fittings Flareless Fittings Flareless fittings are used extensively to connect tubing to threaded components, such as valves and tools. Parker has numerous options in flareless and bite type fitting to exceed the performance and requirements of governing standards and provide superior sealing capability to your. Parker's ferulok 24° flareless fittings create a visible heavy bite allowing easy inspection and a rear compression grip. Flareless Fittings.