Where Is Outboard Motor Exhaust . A typical outboard motor on the back of a scuba diver's rib (rigid inflatable boat). Learn about “wet” and “dry” marine exhaust systems and their components. Exhaust manifolds and risers are large metal castings that carry hot exhaust gases away from the engine on inboard engines. The exhaust on an outboard motor is located at the back of the engine, just above the waterline. I have a 1997 mariner 40hp, 4 cylinder, outboard and i would like to know how to check and/or clean if the exhaust ports are. It’s a small hole that allows hot air and fumes to escape from the engine. What is an outboard motor? Gasses leave the combustion chamber and go into the manifolds, after the riser it mixes with water from the manifolds and. Water is inducted through the lower unit by a water pump impeller, and then forced upward to circulate throughout the powerhead,.
from www.youtube.com
Exhaust manifolds and risers are large metal castings that carry hot exhaust gases away from the engine on inboard engines. Learn about “wet” and “dry” marine exhaust systems and their components. It’s a small hole that allows hot air and fumes to escape from the engine. The exhaust on an outboard motor is located at the back of the engine, just above the waterline. Gasses leave the combustion chamber and go into the manifolds, after the riser it mixes with water from the manifolds and. What is an outboard motor? A typical outboard motor on the back of a scuba diver's rib (rigid inflatable boat). I have a 1997 mariner 40hp, 4 cylinder, outboard and i would like to know how to check and/or clean if the exhaust ports are. Water is inducted through the lower unit by a water pump impeller, and then forced upward to circulate throughout the powerhead,.
Testing the modified Yamaha outboard 10/8/2011 YouTube
Where Is Outboard Motor Exhaust Water is inducted through the lower unit by a water pump impeller, and then forced upward to circulate throughout the powerhead,. I have a 1997 mariner 40hp, 4 cylinder, outboard and i would like to know how to check and/or clean if the exhaust ports are. It’s a small hole that allows hot air and fumes to escape from the engine. Learn about “wet” and “dry” marine exhaust systems and their components. Gasses leave the combustion chamber and go into the manifolds, after the riser it mixes with water from the manifolds and. The exhaust on an outboard motor is located at the back of the engine, just above the waterline. Exhaust manifolds and risers are large metal castings that carry hot exhaust gases away from the engine on inboard engines. Water is inducted through the lower unit by a water pump impeller, and then forced upward to circulate throughout the powerhead,. A typical outboard motor on the back of a scuba diver's rib (rigid inflatable boat). What is an outboard motor?
From www.google.com
Patent US5911610 Outboard motor exhaust system Google Patents Where Is Outboard Motor Exhaust Exhaust manifolds and risers are large metal castings that carry hot exhaust gases away from the engine on inboard engines. Learn about “wet” and “dry” marine exhaust systems and their components. A typical outboard motor on the back of a scuba diver's rib (rigid inflatable boat). It’s a small hole that allows hot air and fumes to escape from the. Where Is Outboard Motor Exhaust.
From anchorsupcarolina.com
Should Water Come Out Of Exhaust On Outboard Anchors Up Carolina Where Is Outboard Motor Exhaust What is an outboard motor? Learn about “wet” and “dry” marine exhaust systems and their components. Exhaust manifolds and risers are large metal castings that carry hot exhaust gases away from the engine on inboard engines. A typical outboard motor on the back of a scuba diver's rib (rigid inflatable boat). The exhaust on an outboard motor is located at. Where Is Outboard Motor Exhaust.
From guidewiringdunking.z21.web.core.windows.net
Johnson Outboard Water Flow Diagram Where Is Outboard Motor Exhaust What is an outboard motor? Learn about “wet” and “dry” marine exhaust systems and their components. A typical outboard motor on the back of a scuba diver's rib (rigid inflatable boat). I have a 1997 mariner 40hp, 4 cylinder, outboard and i would like to know how to check and/or clean if the exhaust ports are. The exhaust on an. Where Is Outboard Motor Exhaust.
From www.google.com
Patent US6416372 Outboard motor cooling system Google Patents Where Is Outboard Motor Exhaust A typical outboard motor on the back of a scuba diver's rib (rigid inflatable boat). Learn about “wet” and “dry” marine exhaust systems and their components. Gasses leave the combustion chamber and go into the manifolds, after the riser it mixes with water from the manifolds and. I have a 1997 mariner 40hp, 4 cylinder, outboard and i would like. Where Is Outboard Motor Exhaust.
From bigd.mt
How to install an outboard engine? Big D® Where Is Outboard Motor Exhaust Water is inducted through the lower unit by a water pump impeller, and then forced upward to circulate throughout the powerhead,. Gasses leave the combustion chamber and go into the manifolds, after the riser it mixes with water from the manifolds and. What is an outboard motor? A typical outboard motor on the back of a scuba diver's rib (rigid. Where Is Outboard Motor Exhaust.
From www.canalworld.net
Antifoul New to Boating? Canal World Where Is Outboard Motor Exhaust The exhaust on an outboard motor is located at the back of the engine, just above the waterline. Gasses leave the combustion chamber and go into the manifolds, after the riser it mixes with water from the manifolds and. It’s a small hole that allows hot air and fumes to escape from the engine. Exhaust manifolds and risers are large. Where Is Outboard Motor Exhaust.
From www.fishtalkmag.com
Yamaha F350C Four Stroke Outboard Review FishTalk Magazine Where Is Outboard Motor Exhaust Exhaust manifolds and risers are large metal castings that carry hot exhaust gases away from the engine on inboard engines. A typical outboard motor on the back of a scuba diver's rib (rigid inflatable boat). Water is inducted through the lower unit by a water pump impeller, and then forced upward to circulate throughout the powerhead,. Learn about “wet” and. Where Is Outboard Motor Exhaust.
From www.epropulsion.com
Outboard Motor Height Easiest Way to Find Correct Height & Height Where Is Outboard Motor Exhaust Water is inducted through the lower unit by a water pump impeller, and then forced upward to circulate throughout the powerhead,. What is an outboard motor? Gasses leave the combustion chamber and go into the manifolds, after the riser it mixes with water from the manifolds and. It’s a small hole that allows hot air and fumes to escape from. Where Is Outboard Motor Exhaust.
From www.thehulltruth.com
2018 Suzuki DF30A pilot hole not discharging... The Hull Truth Where Is Outboard Motor Exhaust I have a 1997 mariner 40hp, 4 cylinder, outboard and i would like to know how to check and/or clean if the exhaust ports are. The exhaust on an outboard motor is located at the back of the engine, just above the waterline. Exhaust manifolds and risers are large metal castings that carry hot exhaust gases away from the engine. Where Is Outboard Motor Exhaust.
From iowautotrading.com
yamaha 60 hp outboard Explore our selection of Yamaha outboard engines Where Is Outboard Motor Exhaust A typical outboard motor on the back of a scuba diver's rib (rigid inflatable boat). It’s a small hole that allows hot air and fumes to escape from the engine. Learn about “wet” and “dry” marine exhaust systems and their components. Gasses leave the combustion chamber and go into the manifolds, after the riser it mixes with water from the. Where Is Outboard Motor Exhaust.
From newatlas.com
Evoy raises the bar on world's most powerful electric outboard motor Where Is Outboard Motor Exhaust I have a 1997 mariner 40hp, 4 cylinder, outboard and i would like to know how to check and/or clean if the exhaust ports are. Gasses leave the combustion chamber and go into the manifolds, after the riser it mixes with water from the manifolds and. It’s a small hole that allows hot air and fumes to escape from the. Where Is Outboard Motor Exhaust.
From www.marineengine.com
Johnson Exhaust Housing Parts for 1998 90hp J90TSLECM Outboard Motor Where Is Outboard Motor Exhaust What is an outboard motor? Learn about “wet” and “dry” marine exhaust systems and their components. Exhaust manifolds and risers are large metal castings that carry hot exhaust gases away from the engine on inboard engines. The exhaust on an outboard motor is located at the back of the engine, just above the waterline. Gasses leave the combustion chamber and. Where Is Outboard Motor Exhaust.
From www.youtube.com
Testing the modified Yamaha outboard 10/8/2011 YouTube Where Is Outboard Motor Exhaust What is an outboard motor? It’s a small hole that allows hot air and fumes to escape from the engine. Water is inducted through the lower unit by a water pump impeller, and then forced upward to circulate throughout the powerhead,. Exhaust manifolds and risers are large metal castings that carry hot exhaust gases away from the engine on inboard. Where Is Outboard Motor Exhaust.
From www.youtube.com
How To Flush Your Outboard Boat Motor Correctly YouTube Where Is Outboard Motor Exhaust It’s a small hole that allows hot air and fumes to escape from the engine. Gasses leave the combustion chamber and go into the manifolds, after the riser it mixes with water from the manifolds and. Water is inducted through the lower unit by a water pump impeller, and then forced upward to circulate throughout the powerhead,. What is an. Where Is Outboard Motor Exhaust.
From www.boats.net
Yamaha F225 Outboard Exhaust Rebuild Where Is Outboard Motor Exhaust A typical outboard motor on the back of a scuba diver's rib (rigid inflatable boat). What is an outboard motor? It’s a small hole that allows hot air and fumes to escape from the engine. I have a 1997 mariner 40hp, 4 cylinder, outboard and i would like to know how to check and/or clean if the exhaust ports are.. Where Is Outboard Motor Exhaust.
From wiringguideskimps.z13.web.core.windows.net
Mercury 40 Outboard Boat Motor Where Is Outboard Motor Exhaust Water is inducted through the lower unit by a water pump impeller, and then forced upward to circulate throughout the powerhead,. Exhaust manifolds and risers are large metal castings that carry hot exhaust gases away from the engine on inboard engines. A typical outboard motor on the back of a scuba diver's rib (rigid inflatable boat). What is an outboard. Where Is Outboard Motor Exhaust.
From www.boats.com
Marine Engines and Power Systems The Basics Behind What Powers Your Where Is Outboard Motor Exhaust I have a 1997 mariner 40hp, 4 cylinder, outboard and i would like to know how to check and/or clean if the exhaust ports are. Gasses leave the combustion chamber and go into the manifolds, after the riser it mixes with water from the manifolds and. It’s a small hole that allows hot air and fumes to escape from the. Where Is Outboard Motor Exhaust.
From www.youtube.com
outboard with tuned exhaust YouTube Where Is Outboard Motor Exhaust Gasses leave the combustion chamber and go into the manifolds, after the riser it mixes with water from the manifolds and. A typical outboard motor on the back of a scuba diver's rib (rigid inflatable boat). The exhaust on an outboard motor is located at the back of the engine, just above the waterline. What is an outboard motor? Exhaust. Where Is Outboard Motor Exhaust.
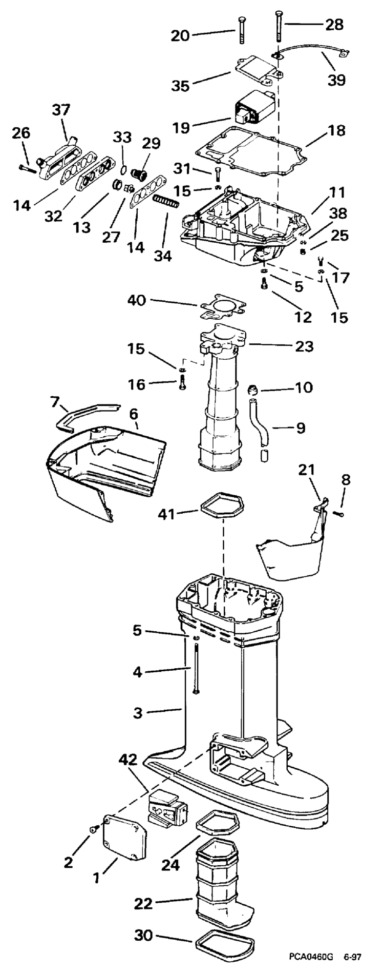
From reviewmotors.co
40 Hp Yamaha Outboard Motor Parts Diagram Reviewmotors.co Where Is Outboard Motor Exhaust What is an outboard motor? Gasses leave the combustion chamber and go into the manifolds, after the riser it mixes with water from the manifolds and. I have a 1997 mariner 40hp, 4 cylinder, outboard and i would like to know how to check and/or clean if the exhaust ports are. Water is inducted through the lower unit by a. Where Is Outboard Motor Exhaust.
From bigd.mt
How to install an outboard engine? Big D® Where Is Outboard Motor Exhaust Exhaust manifolds and risers are large metal castings that carry hot exhaust gases away from the engine on inboard engines. It’s a small hole that allows hot air and fumes to escape from the engine. Gasses leave the combustion chamber and go into the manifolds, after the riser it mixes with water from the manifolds and. The exhaust on an. Where Is Outboard Motor Exhaust.
From www.pinterest.ca
KnowHow To Prepare Your Yamaha Outboard Motor For Winter Premier Where Is Outboard Motor Exhaust Learn about “wet” and “dry” marine exhaust systems and their components. A typical outboard motor on the back of a scuba diver's rib (rigid inflatable boat). Water is inducted through the lower unit by a water pump impeller, and then forced upward to circulate throughout the powerhead,. It’s a small hole that allows hot air and fumes to escape from. Where Is Outboard Motor Exhaust.
From www.kayakpaddling.net
How to Raise Outboard Motor on Transom? Raising the Outboard Motor Where Is Outboard Motor Exhaust The exhaust on an outboard motor is located at the back of the engine, just above the waterline. It’s a small hole that allows hot air and fumes to escape from the engine. I have a 1997 mariner 40hp, 4 cylinder, outboard and i would like to know how to check and/or clean if the exhaust ports are. What is. Where Is Outboard Motor Exhaust.
From www.mytractorforum.com
Life of a Quality Two Cycle Engine? My Tractor Forum Where Is Outboard Motor Exhaust Gasses leave the combustion chamber and go into the manifolds, after the riser it mixes with water from the manifolds and. What is an outboard motor? Exhaust manifolds and risers are large metal castings that carry hot exhaust gases away from the engine on inboard engines. I have a 1997 mariner 40hp, 4 cylinder, outboard and i would like to. Where Is Outboard Motor Exhaust.
From www.thehulltruth.com
Outboard Excessive Exhaust One Engine? The Hull Truth Boating and Where Is Outboard Motor Exhaust What is an outboard motor? It’s a small hole that allows hot air and fumes to escape from the engine. A typical outboard motor on the back of a scuba diver's rib (rigid inflatable boat). I have a 1997 mariner 40hp, 4 cylinder, outboard and i would like to know how to check and/or clean if the exhaust ports are.. Where Is Outboard Motor Exhaust.
From gardeningleave.org
Will Garden Hose Quick Connect Fit Mercury Flush System GardeningLeave Where Is Outboard Motor Exhaust Learn about “wet” and “dry” marine exhaust systems and their components. It’s a small hole that allows hot air and fumes to escape from the engine. What is an outboard motor? Water is inducted through the lower unit by a water pump impeller, and then forced upward to circulate throughout the powerhead,. The exhaust on an outboard motor is located. Where Is Outboard Motor Exhaust.
From www.google.com
Patent US5911610 Outboard motor exhaust system Google Patents Where Is Outboard Motor Exhaust Learn about “wet” and “dry” marine exhaust systems and their components. It’s a small hole that allows hot air and fumes to escape from the engine. The exhaust on an outboard motor is located at the back of the engine, just above the waterline. Exhaust manifolds and risers are large metal castings that carry hot exhaust gases away from the. Where Is Outboard Motor Exhaust.
From weldingfaq.com
Best Fin For Outboard Motor In 2022 {Buying Guide} Welding FAQ Where Is Outboard Motor Exhaust What is an outboard motor? The exhaust on an outboard motor is located at the back of the engine, just above the waterline. Exhaust manifolds and risers are large metal castings that carry hot exhaust gases away from the engine on inboard engines. I have a 1997 mariner 40hp, 4 cylinder, outboard and i would like to know how to. Where Is Outboard Motor Exhaust.
From www.youtube.com
Excess Exhaust Suzuki Outboard YouTube Where Is Outboard Motor Exhaust The exhaust on an outboard motor is located at the back of the engine, just above the waterline. It’s a small hole that allows hot air and fumes to escape from the engine. I have a 1997 mariner 40hp, 4 cylinder, outboard and i would like to know how to check and/or clean if the exhaust ports are. A typical. Where Is Outboard Motor Exhaust.
From www.sbmar.com
Designing a Marine Exhaust System Seaboard Marine Where Is Outboard Motor Exhaust A typical outboard motor on the back of a scuba diver's rib (rigid inflatable boat). Gasses leave the combustion chamber and go into the manifolds, after the riser it mixes with water from the manifolds and. Learn about “wet” and “dry” marine exhaust systems and their components. I have a 1997 mariner 40hp, 4 cylinder, outboard and i would like. Where Is Outboard Motor Exhaust.
From www.epropulsion.com
Outboard Motor Height Easiest Way to Find Correct Height & Height Where Is Outboard Motor Exhaust A typical outboard motor on the back of a scuba diver's rib (rigid inflatable boat). Gasses leave the combustion chamber and go into the manifolds, after the riser it mixes with water from the manifolds and. I have a 1997 mariner 40hp, 4 cylinder, outboard and i would like to know how to check and/or clean if the exhaust ports. Where Is Outboard Motor Exhaust.
From www.vansoutboardparts.com
Evinrude Outboard Parts by Year 1977 35 35702H 1977 EXHAUST Where Is Outboard Motor Exhaust The exhaust on an outboard motor is located at the back of the engine, just above the waterline. Exhaust manifolds and risers are large metal castings that carry hot exhaust gases away from the engine on inboard engines. Gasses leave the combustion chamber and go into the manifolds, after the riser it mixes with water from the manifolds and. Learn. Where Is Outboard Motor Exhaust.
From www.boat-ed.com
Jet Drives Where Is Outboard Motor Exhaust It’s a small hole that allows hot air and fumes to escape from the engine. I have a 1997 mariner 40hp, 4 cylinder, outboard and i would like to know how to check and/or clean if the exhaust ports are. What is an outboard motor? Gasses leave the combustion chamber and go into the manifolds, after the riser it mixes. Where Is Outboard Motor Exhaust.
From www.youtube.com
2006 Mercury 60Hp 20” Shaft 4Stroke Outboard YouTube Where Is Outboard Motor Exhaust What is an outboard motor? The exhaust on an outboard motor is located at the back of the engine, just above the waterline. A typical outboard motor on the back of a scuba diver's rib (rigid inflatable boat). Water is inducted through the lower unit by a water pump impeller, and then forced upward to circulate throughout the powerhead,. Gasses. Where Is Outboard Motor Exhaust.
From www.offshoreonly.com
Above Water Exhaust on Mercury V8 Outboards Where Is Outboard Motor Exhaust Learn about “wet” and “dry” marine exhaust systems and their components. The exhaust on an outboard motor is located at the back of the engine, just above the waterline. A typical outboard motor on the back of a scuba diver's rib (rigid inflatable boat). I have a 1997 mariner 40hp, 4 cylinder, outboard and i would like to know how. Where Is Outboard Motor Exhaust.
From boatingbro.com
8 Tips For Maintaining Your Outboard Motor Where Is Outboard Motor Exhaust Exhaust manifolds and risers are large metal castings that carry hot exhaust gases away from the engine on inboard engines. Gasses leave the combustion chamber and go into the manifolds, after the riser it mixes with water from the manifolds and. Learn about “wet” and “dry” marine exhaust systems and their components. What is an outboard motor? Water is inducted. Where Is Outboard Motor Exhaust.