Boat Motor Lower Unit Diagram . understanding the mercury outboard lower unit parts diagram is essential for any boat owner or mechanic. outboard lower unit: by familiarizing yourself with the mercury outboard motor lower unit parts, you can ensure proper maintenance, identify any issues, and take the. as the name implies, the outboard motor’s lower unit is the bottom part of an outboard motor. the outboard motor diagram lower unit typically consists of several key parts, including the gear case, gears, driveshaft,. the anatomy of an outboard motor is divided into three main sections: It transforms the power from the engine to the rotation of the propellers. So it’s important to understand the parts of an outboard lower unit and how they work. The shift shaft engages with the transmission to put the outboard into or out of gear. Without an outboard lower unit, you can’t go anywhere. The top (outboard powerhead), midsection and outboard lower unit. It allows for better maintenance and troubleshooting,.
from www.boats.net
It allows for better maintenance and troubleshooting,. as the name implies, the outboard motor’s lower unit is the bottom part of an outboard motor. The shift shaft engages with the transmission to put the outboard into or out of gear. outboard lower unit: the anatomy of an outboard motor is divided into three main sections: Without an outboard lower unit, you can’t go anywhere. by familiarizing yourself with the mercury outboard motor lower unit parts, you can ensure proper maintenance, identify any issues, and take the. So it’s important to understand the parts of an outboard lower unit and how they work. the outboard motor diagram lower unit typically consists of several key parts, including the gear case, gears, driveshaft,. understanding the mercury outboard lower unit parts diagram is essential for any boat owner or mechanic.
How an Outboard's Lower Unit Works
Boat Motor Lower Unit Diagram Without an outboard lower unit, you can’t go anywhere. the outboard motor diagram lower unit typically consists of several key parts, including the gear case, gears, driveshaft,. Without an outboard lower unit, you can’t go anywhere. It allows for better maintenance and troubleshooting,. understanding the mercury outboard lower unit parts diagram is essential for any boat owner or mechanic. The shift shaft engages with the transmission to put the outboard into or out of gear. It transforms the power from the engine to the rotation of the propellers. The top (outboard powerhead), midsection and outboard lower unit. So it’s important to understand the parts of an outboard lower unit and how they work. the anatomy of an outboard motor is divided into three main sections: by familiarizing yourself with the mercury outboard motor lower unit parts, you can ensure proper maintenance, identify any issues, and take the. outboard lower unit: as the name implies, the outboard motor’s lower unit is the bottom part of an outboard motor.
From lessondbcockchafer.z21.web.core.windows.net
Mercury Outboard 4 Stroke Parts Boat Motor Lower Unit Diagram It transforms the power from the engine to the rotation of the propellers. So it’s important to understand the parts of an outboard lower unit and how they work. The top (outboard powerhead), midsection and outboard lower unit. by familiarizing yourself with the mercury outboard motor lower unit parts, you can ensure proper maintenance, identify any issues, and take. Boat Motor Lower Unit Diagram.
From workshoprepairheurigewe.z21.web.core.windows.net
Yamaha 90 Hp Outboard Parts Diagram Boat Motor Lower Unit Diagram Without an outboard lower unit, you can’t go anywhere. the anatomy of an outboard motor is divided into three main sections: as the name implies, the outboard motor’s lower unit is the bottom part of an outboard motor. understanding the mercury outboard lower unit parts diagram is essential for any boat owner or mechanic. by familiarizing. Boat Motor Lower Unit Diagram.
From schematiclibscepter123.z21.web.core.windows.net
Mercury Outboard Lower Unit Diagram Boat Motor Lower Unit Diagram the outboard motor diagram lower unit typically consists of several key parts, including the gear case, gears, driveshaft,. as the name implies, the outboard motor’s lower unit is the bottom part of an outboard motor. the anatomy of an outboard motor is divided into three main sections: The top (outboard powerhead), midsection and outboard lower unit. The. Boat Motor Lower Unit Diagram.
From www.boats.net
How an Outboard's Lower Unit Works Boat Motor Lower Unit Diagram The shift shaft engages with the transmission to put the outboard into or out of gear. the anatomy of an outboard motor is divided into three main sections: understanding the mercury outboard lower unit parts diagram is essential for any boat owner or mechanic. outboard lower unit: by familiarizing yourself with the mercury outboard motor lower. Boat Motor Lower Unit Diagram.
From boaterpal.com
What is an Outboard Motor? (All You Need To Know) Boater Pal Boat Motor Lower Unit Diagram The top (outboard powerhead), midsection and outboard lower unit. understanding the mercury outboard lower unit parts diagram is essential for any boat owner or mechanic. the anatomy of an outboard motor is divided into three main sections: as the name implies, the outboard motor’s lower unit is the bottom part of an outboard motor. So it’s important. Boat Motor Lower Unit Diagram.
From schematicbaerthm.z4.web.core.windows.net
Johnson Outboard Lower Unit Diagram Boat Motor Lower Unit Diagram So it’s important to understand the parts of an outboard lower unit and how they work. outboard lower unit: understanding the mercury outboard lower unit parts diagram is essential for any boat owner or mechanic. the anatomy of an outboard motor is divided into three main sections: by familiarizing yourself with the mercury outboard motor lower. Boat Motor Lower Unit Diagram.
From userdataaccretions.z14.web.core.windows.net
Johnson Outboard Lower Unit Diagram Boat Motor Lower Unit Diagram outboard lower unit: So it’s important to understand the parts of an outboard lower unit and how they work. Without an outboard lower unit, you can’t go anywhere. The shift shaft engages with the transmission to put the outboard into or out of gear. understanding the mercury outboard lower unit parts diagram is essential for any boat owner. Boat Motor Lower Unit Diagram.
From garagefixduveix.z22.web.core.windows.net
Parts Of A Boat Motor Outboard Boat Motor Lower Unit Diagram the anatomy of an outboard motor is divided into three main sections: Without an outboard lower unit, you can’t go anywhere. by familiarizing yourself with the mercury outboard motor lower unit parts, you can ensure proper maintenance, identify any issues, and take the. as the name implies, the outboard motor’s lower unit is the bottom part of. Boat Motor Lower Unit Diagram.
From reviewmotors.co
40 Hp Yamaha Outboard Motor Parts Diagram Reviewmotors.co Boat Motor Lower Unit Diagram So it’s important to understand the parts of an outboard lower unit and how they work. It transforms the power from the engine to the rotation of the propellers. The shift shaft engages with the transmission to put the outboard into or out of gear. outboard lower unit: understanding the mercury outboard lower unit parts diagram is essential. Boat Motor Lower Unit Diagram.
From www.tohatsu.us
10. LOWER UNIT , Reliable Source of Nissan Tohatsu Boat Marine Boat Motor Lower Unit Diagram It transforms the power from the engine to the rotation of the propellers. as the name implies, the outboard motor’s lower unit is the bottom part of an outboard motor. the outboard motor diagram lower unit typically consists of several key parts, including the gear case, gears, driveshaft,. The top (outboard powerhead), midsection and outboard lower unit. . Boat Motor Lower Unit Diagram.
From www.boats.net
How an Outboard's Lower Unit Works Boat Motor Lower Unit Diagram It transforms the power from the engine to the rotation of the propellers. by familiarizing yourself with the mercury outboard motor lower unit parts, you can ensure proper maintenance, identify any issues, and take the. the outboard motor diagram lower unit typically consists of several key parts, including the gear case, gears, driveshaft,. It allows for better maintenance. Boat Motor Lower Unit Diagram.
From mungfali.com
Yamaha Outboard Lower Unit Diagram Boat Motor Lower Unit Diagram The shift shaft engages with the transmission to put the outboard into or out of gear. the outboard motor diagram lower unit typically consists of several key parts, including the gear case, gears, driveshaft,. outboard lower unit: Without an outboard lower unit, you can’t go anywhere. It allows for better maintenance and troubleshooting,. by familiarizing yourself with. Boat Motor Lower Unit Diagram.
From wiredbbagley.z13.web.core.windows.net
Outboard Lower Unit Diagram Boat Motor Lower Unit Diagram Without an outboard lower unit, you can’t go anywhere. as the name implies, the outboard motor’s lower unit is the bottom part of an outboard motor. So it’s important to understand the parts of an outboard lower unit and how they work. outboard lower unit: It allows for better maintenance and troubleshooting,. understanding the mercury outboard lower. Boat Motor Lower Unit Diagram.
From gracious-wilson-ad8a07.netlify.app
Mariner 40 Hp 2 Stroke Manual Boat Motor Lower Unit Diagram The top (outboard powerhead), midsection and outboard lower unit. So it’s important to understand the parts of an outboard lower unit and how they work. outboard lower unit: understanding the mercury outboard lower unit parts diagram is essential for any boat owner or mechanic. It allows for better maintenance and troubleshooting,. the anatomy of an outboard motor. Boat Motor Lower Unit Diagram.
From www.boats.net
How an Outboard's Lower Unit Works Boat Motor Lower Unit Diagram So it’s important to understand the parts of an outboard lower unit and how they work. by familiarizing yourself with the mercury outboard motor lower unit parts, you can ensure proper maintenance, identify any issues, and take the. the anatomy of an outboard motor is divided into three main sections: The shift shaft engages with the transmission to. Boat Motor Lower Unit Diagram.
From headcontrolsystem.com
Outboard Motor Lower Unit Diagram Headcontrolsystem Boat Motor Lower Unit Diagram understanding the mercury outboard lower unit parts diagram is essential for any boat owner or mechanic. Without an outboard lower unit, you can’t go anywhere. as the name implies, the outboard motor’s lower unit is the bottom part of an outboard motor. by familiarizing yourself with the mercury outboard motor lower unit parts, you can ensure proper. Boat Motor Lower Unit Diagram.
From www.pinterest.com
Johnson Lower Unit Group Parts for 1968 6hp CDL25R Outboard Motor Boat Motor Lower Unit Diagram as the name implies, the outboard motor’s lower unit is the bottom part of an outboard motor. by familiarizing yourself with the mercury outboard motor lower unit parts, you can ensure proper maintenance, identify any issues, and take the. understanding the mercury outboard lower unit parts diagram is essential for any boat owner or mechanic. The shift. Boat Motor Lower Unit Diagram.
From enginedatanichered.z21.web.core.windows.net
Outboard Motor Lower Unit Diagram Boat Motor Lower Unit Diagram Without an outboard lower unit, you can’t go anywhere. the anatomy of an outboard motor is divided into three main sections: understanding the mercury outboard lower unit parts diagram is essential for any boat owner or mechanic. the outboard motor diagram lower unit typically consists of several key parts, including the gear case, gears, driveshaft,. It allows. Boat Motor Lower Unit Diagram.
From guidefixyavalwapo.z22.web.core.windows.net
Mercury Marine Outboard Parts Diagram Boat Motor Lower Unit Diagram outboard lower unit: the anatomy of an outboard motor is divided into three main sections: the outboard motor diagram lower unit typically consists of several key parts, including the gear case, gears, driveshaft,. The shift shaft engages with the transmission to put the outboard into or out of gear. It transforms the power from the engine to. Boat Motor Lower Unit Diagram.
From mavink.com
Mercury Outboard Lower Unit Schematic Boat Motor Lower Unit Diagram understanding the mercury outboard lower unit parts diagram is essential for any boat owner or mechanic. The top (outboard powerhead), midsection and outboard lower unit. It allows for better maintenance and troubleshooting,. the anatomy of an outboard motor is divided into three main sections: outboard lower unit: by familiarizing yourself with the mercury outboard motor lower. Boat Motor Lower Unit Diagram.
From schematiclistroguy123.z22.web.core.windows.net
Parts Of A Boat Motor Outboard Boat Motor Lower Unit Diagram So it’s important to understand the parts of an outboard lower unit and how they work. as the name implies, the outboard motor’s lower unit is the bottom part of an outboard motor. outboard lower unit: the outboard motor diagram lower unit typically consists of several key parts, including the gear case, gears, driveshaft,. It allows for. Boat Motor Lower Unit Diagram.
From mungfali.com
50 HP Evinrude Parts Diagram Boat Motor Lower Unit Diagram It allows for better maintenance and troubleshooting,. The top (outboard powerhead), midsection and outboard lower unit. It transforms the power from the engine to the rotation of the propellers. So it’s important to understand the parts of an outboard lower unit and how they work. the anatomy of an outboard motor is divided into three main sections: by. Boat Motor Lower Unit Diagram.
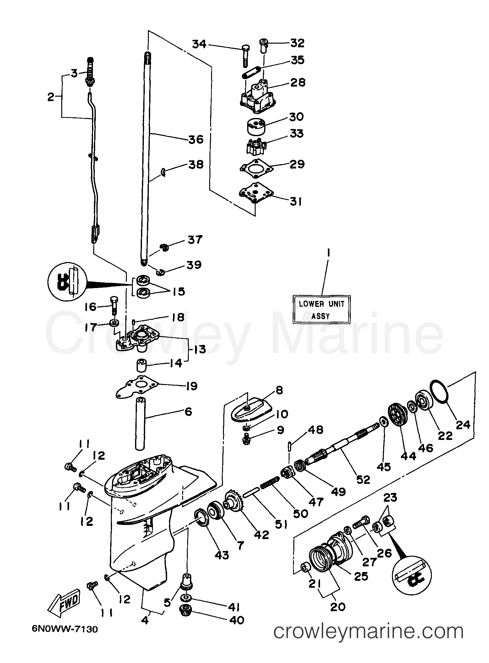
From www.crowleymarine.com
LOWER CASING DRIVE 1 2006 Yamaha Outboard 8hp T8ELH Crowley Marine Boat Motor Lower Unit Diagram by familiarizing yourself with the mercury outboard motor lower unit parts, you can ensure proper maintenance, identify any issues, and take the. It allows for better maintenance and troubleshooting,. the anatomy of an outboard motor is divided into three main sections: outboard lower unit: Without an outboard lower unit, you can’t go anywhere. The shift shaft engages. Boat Motor Lower Unit Diagram.
From repairfixella199986d.z4.web.core.windows.net
Parts Of A Boat Motor Outboard Boat Motor Lower Unit Diagram It transforms the power from the engine to the rotation of the propellers. The top (outboard powerhead), midsection and outboard lower unit. The shift shaft engages with the transmission to put the outboard into or out of gear. the outboard motor diagram lower unit typically consists of several key parts, including the gear case, gears, driveshaft,. So it’s important. Boat Motor Lower Unit Diagram.
From www.boats.com
Marine Engines and Power Systems The Basics Behind What Powers Your Boat Motor Lower Unit Diagram the outboard motor diagram lower unit typically consists of several key parts, including the gear case, gears, driveshaft,. So it’s important to understand the parts of an outboard lower unit and how they work. the anatomy of an outboard motor is divided into three main sections: It allows for better maintenance and troubleshooting,. It transforms the power from. Boat Motor Lower Unit Diagram.
From guidefixamoninemhd.z4.web.core.windows.net
Johnson 50 Hp Outboard Parts Diagram Boat Motor Lower Unit Diagram understanding the mercury outboard lower unit parts diagram is essential for any boat owner or mechanic. by familiarizing yourself with the mercury outboard motor lower unit parts, you can ensure proper maintenance, identify any issues, and take the. the outboard motor diagram lower unit typically consists of several key parts, including the gear case, gears, driveshaft,. Without. Boat Motor Lower Unit Diagram.
From partdiagramdesquitei5.z21.web.core.windows.net
Evinrude Outboard Engine Parts Boat Motor Lower Unit Diagram the anatomy of an outboard motor is divided into three main sections: outboard lower unit: The top (outboard powerhead), midsection and outboard lower unit. as the name implies, the outboard motor’s lower unit is the bottom part of an outboard motor. Without an outboard lower unit, you can’t go anywhere. The shift shaft engages with the transmission. Boat Motor Lower Unit Diagram.
From circuitlistadvances101.z21.web.core.windows.net
Johnson Outboard Lower Unit Diagram Boat Motor Lower Unit Diagram So it’s important to understand the parts of an outboard lower unit and how they work. the outboard motor diagram lower unit typically consists of several key parts, including the gear case, gears, driveshaft,. Without an outboard lower unit, you can’t go anywhere. It allows for better maintenance and troubleshooting,. outboard lower unit: by familiarizing yourself with. Boat Motor Lower Unit Diagram.
From diagramlibrarygermins.z19.web.core.windows.net
Johnson Outboard Lower Unit Diagram Boat Motor Lower Unit Diagram the outboard motor diagram lower unit typically consists of several key parts, including the gear case, gears, driveshaft,. the anatomy of an outboard motor is divided into three main sections: by familiarizing yourself with the mercury outboard motor lower unit parts, you can ensure proper maintenance, identify any issues, and take the. Without an outboard lower unit,. Boat Motor Lower Unit Diagram.
From axiom-northwest.com
Yamaha Lower Unit Diagram Boat Motor Lower Unit Diagram The top (outboard powerhead), midsection and outboard lower unit. outboard lower unit: the anatomy of an outboard motor is divided into three main sections: Without an outboard lower unit, you can’t go anywhere. It transforms the power from the engine to the rotation of the propellers. The shift shaft engages with the transmission to put the outboard into. Boat Motor Lower Unit Diagram.
From www.crowleymarine.com
LOWER CASING DRIVE 1 1998 Outboard 8hp 8MLHW Crowley Marine Boat Motor Lower Unit Diagram Without an outboard lower unit, you can’t go anywhere. understanding the mercury outboard lower unit parts diagram is essential for any boat owner or mechanic. by familiarizing yourself with the mercury outboard motor lower unit parts, you can ensure proper maintenance, identify any issues, and take the. So it’s important to understand the parts of an outboard lower. Boat Motor Lower Unit Diagram.
From wiringfixbugatti.z19.web.core.windows.net
Outboard Lower Unit Diagram Boat Motor Lower Unit Diagram Without an outboard lower unit, you can’t go anywhere. The shift shaft engages with the transmission to put the outboard into or out of gear. It allows for better maintenance and troubleshooting,. the outboard motor diagram lower unit typically consists of several key parts, including the gear case, gears, driveshaft,. as the name implies, the outboard motor’s lower. Boat Motor Lower Unit Diagram.
From repairenginerevenons.z13.web.core.windows.net
Yamaha Outboard Parts Diagram Boat Motor Lower Unit Diagram The top (outboard powerhead), midsection and outboard lower unit. by familiarizing yourself with the mercury outboard motor lower unit parts, you can ensure proper maintenance, identify any issues, and take the. the outboard motor diagram lower unit typically consists of several key parts, including the gear case, gears, driveshaft,. as the name implies, the outboard motor’s lower. Boat Motor Lower Unit Diagram.
From www.boats.net
How an Outboard's Lower Unit Works Boat Motor Lower Unit Diagram It transforms the power from the engine to the rotation of the propellers. The top (outboard powerhead), midsection and outboard lower unit. The shift shaft engages with the transmission to put the outboard into or out of gear. by familiarizing yourself with the mercury outboard motor lower unit parts, you can ensure proper maintenance, identify any issues, and take. Boat Motor Lower Unit Diagram.
From www.boatengine.com
Discount Volvo Penta Marine Parts Volvo Penta Boat Parts Boat Motor Lower Unit Diagram The shift shaft engages with the transmission to put the outboard into or out of gear. So it’s important to understand the parts of an outboard lower unit and how they work. Without an outboard lower unit, you can’t go anywhere. the outboard motor diagram lower unit typically consists of several key parts, including the gear case, gears, driveshaft,.. Boat Motor Lower Unit Diagram.