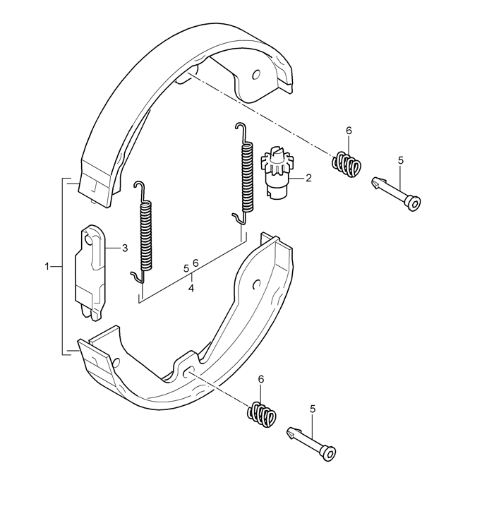
Porsche Cayenne Parking Brake Adjustment . You have to lift the car, then rotate the wheel until you see the screw adjustment. Because of the parking brake and it's action on the rear pad, you need to manually set the. We’ll demonstrate start and end lining change mode, steps 1 & 2 of 5 when adjusting electronic parking brake lining gap. I bought the car with the parking brake fault code. Porsche cayenne 2011 epb programming after replacement by launch x431. We’ll be using the iscan. I'm thinking the car was towed, and the parking brake was engaged. Adjust brake shoes (on both wheels). To do this, unscrew the plugs (arrow) and turn the brake disc with the opening towards the adjustment device position. The addition of the parking brakes seems like an afterthought with the design of the 914 calipers.
from nemigaparts.com
Adjust brake shoes (on both wheels). We’ll be using the iscan. I bought the car with the parking brake fault code. I'm thinking the car was towed, and the parking brake was engaged. To do this, unscrew the plugs (arrow) and turn the brake disc with the opening towards the adjustment device position. We’ll demonstrate start and end lining change mode, steps 1 & 2 of 5 when adjusting electronic parking brake lining gap. The addition of the parking brakes seems like an afterthought with the design of the 914 calipers. Porsche cayenne 2011 epb programming after replacement by launch x431. You have to lift the car, then rotate the wheel until you see the screw adjustment. Because of the parking brake and it's action on the rear pad, you need to manually set the.
Porsche Cayenne (2007 2010) Footoperat. parking brake. Actuator
Porsche Cayenne Parking Brake Adjustment We’ll be using the iscan. The addition of the parking brakes seems like an afterthought with the design of the 914 calipers. Adjust brake shoes (on both wheels). Porsche cayenne 2011 epb programming after replacement by launch x431. We’ll demonstrate start and end lining change mode, steps 1 & 2 of 5 when adjusting electronic parking brake lining gap. We’ll be using the iscan. You have to lift the car, then rotate the wheel until you see the screw adjustment. Because of the parking brake and it's action on the rear pad, you need to manually set the. I'm thinking the car was towed, and the parking brake was engaged. To do this, unscrew the plugs (arrow) and turn the brake disc with the opening towards the adjustment device position. I bought the car with the parking brake fault code.
From nemigaparts.com
Porsche Cayenne (2007 2010) Footoperat. parking brake. Actuator Porsche Cayenne Parking Brake Adjustment Adjust brake shoes (on both wheels). We’ll demonstrate start and end lining change mode, steps 1 & 2 of 5 when adjusting electronic parking brake lining gap. Because of the parking brake and it's action on the rear pad, you need to manually set the. I'm thinking the car was towed, and the parking brake was engaged. I bought the. Porsche Cayenne Parking Brake Adjustment.
From www.pelicanparts.com
Porsche Cayenne Parking Brake Adjustment 20032008 Pelican Parts Porsche Cayenne Parking Brake Adjustment I'm thinking the car was towed, and the parking brake was engaged. To do this, unscrew the plugs (arrow) and turn the brake disc with the opening towards the adjustment device position. Because of the parking brake and it's action on the rear pad, you need to manually set the. We’ll be using the iscan. You have to lift the. Porsche Cayenne Parking Brake Adjustment.
From www.ebay.com
20112018 PORSCHE CAYENNE RIGHT REAR EMERGENCY PARKING BRAKE ADJUST Porsche Cayenne Parking Brake Adjustment I'm thinking the car was towed, and the parking brake was engaged. I bought the car with the parking brake fault code. We’ll be using the iscan. To do this, unscrew the plugs (arrow) and turn the brake disc with the opening towards the adjustment device position. We’ll demonstrate start and end lining change mode, steps 1 & 2 of. Porsche Cayenne Parking Brake Adjustment.
From www.porscheatlantaperimeterparts.com
Porsche Cayenne Parking Brake Actuator. Cayenne Hybrid; Right. Right. W Porsche Cayenne Parking Brake Adjustment I'm thinking the car was towed, and the parking brake was engaged. We’ll demonstrate start and end lining change mode, steps 1 & 2 of 5 when adjusting electronic parking brake lining gap. Because of the parking brake and it's action on the rear pad, you need to manually set the. Porsche cayenne 2011 epb programming after replacement by launch. Porsche Cayenne Parking Brake Adjustment.
From www.youtube.com
HOW TO REPLACE FRONT BREAK PADS Brake wear light on porsche cayenne Porsche Cayenne Parking Brake Adjustment The addition of the parking brakes seems like an afterthought with the design of the 914 calipers. Porsche cayenne 2011 epb programming after replacement by launch x431. I bought the car with the parking brake fault code. Because of the parking brake and it's action on the rear pad, you need to manually set the. We’ll be using the iscan.. Porsche Cayenne Parking Brake Adjustment.
From www.pelicanparts.com
Porsche Cayenne Parking Brake Adjustment 20032008 Pelican Parts Porsche Cayenne Parking Brake Adjustment We’ll be using the iscan. We’ll demonstrate start and end lining change mode, steps 1 & 2 of 5 when adjusting electronic parking brake lining gap. The addition of the parking brakes seems like an afterthought with the design of the 914 calipers. You have to lift the car, then rotate the wheel until you see the screw adjustment. I'm. Porsche Cayenne Parking Brake Adjustment.
From ahparts.com
2014 Porsche Cayenne Parking Brake Switch Assy 95861325100, Porsche Cayenne Parking Brake Adjustment Porsche cayenne 2011 epb programming after replacement by launch x431. To do this, unscrew the plugs (arrow) and turn the brake disc with the opening towards the adjustment device position. We’ll demonstrate start and end lining change mode, steps 1 & 2 of 5 when adjusting electronic parking brake lining gap. The addition of the parking brakes seems like an. Porsche Cayenne Parking Brake Adjustment.
From garagefixklug99.z19.web.core.windows.net
Fault Electric Parking Brake Porsche Cayenne Porsche Cayenne Parking Brake Adjustment Adjust brake shoes (on both wheels). I'm thinking the car was towed, and the parking brake was engaged. I bought the car with the parking brake fault code. To do this, unscrew the plugs (arrow) and turn the brake disc with the opening towards the adjustment device position. Porsche cayenne 2011 epb programming after replacement by launch x431. We’ll demonstrate. Porsche Cayenne Parking Brake Adjustment.
From www.youtube.com
Porsche Cayenne Front Brakes DIY! YouTube Porsche Cayenne Parking Brake Adjustment We’ll demonstrate start and end lining change mode, steps 1 & 2 of 5 when adjusting electronic parking brake lining gap. To do this, unscrew the plugs (arrow) and turn the brake disc with the opening towards the adjustment device position. I bought the car with the parking brake fault code. You have to lift the car, then rotate the. Porsche Cayenne Parking Brake Adjustment.
From www.pelicanparts.com
Porsche Cayenne Parking Brake Strut Replacement 20032008 Pelican Porsche Cayenne Parking Brake Adjustment Porsche cayenne 2011 epb programming after replacement by launch x431. The addition of the parking brakes seems like an afterthought with the design of the 914 calipers. I'm thinking the car was towed, and the parking brake was engaged. We’ll be using the iscan. You have to lift the car, then rotate the wheel until you see the screw adjustment.. Porsche Cayenne Parking Brake Adjustment.
From www.iscantech.com
Porsche Electronic Parking Brake (EPB) Adjustment & Calibration iSCAN Porsche Cayenne Parking Brake Adjustment Because of the parking brake and it's action on the rear pad, you need to manually set the. We’ll demonstrate start and end lining change mode, steps 1 & 2 of 5 when adjusting electronic parking brake lining gap. I'm thinking the car was towed, and the parking brake was engaged. I bought the car with the parking brake fault. Porsche Cayenne Parking Brake Adjustment.
From www.autoatlanta.com
Porsche Cayenne Parts Porsche Cayenne Parking Brake Adjustment Porsche cayenne 2011 epb programming after replacement by launch x431. Because of the parking brake and it's action on the rear pad, you need to manually set the. To do this, unscrew the plugs (arrow) and turn the brake disc with the opening towards the adjustment device position. Adjust brake shoes (on both wheels). The addition of the parking brakes. Porsche Cayenne Parking Brake Adjustment.
From www.pelicanparts.com
Porsche Cayenne Parking Brake Adjustment 20032008 Pelican Parts Porsche Cayenne Parking Brake Adjustment I bought the car with the parking brake fault code. Porsche cayenne 2011 epb programming after replacement by launch x431. We’ll be using the iscan. Adjust brake shoes (on both wheels). The addition of the parking brakes seems like an afterthought with the design of the 914 calipers. Because of the parking brake and it's action on the rear pad,. Porsche Cayenne Parking Brake Adjustment.
From www.yourmechanic.com
How to Adjust a Parking Brake Shoe YourMechanic Advice Porsche Cayenne Parking Brake Adjustment To do this, unscrew the plugs (arrow) and turn the brake disc with the opening towards the adjustment device position. The addition of the parking brakes seems like an afterthought with the design of the 914 calipers. I'm thinking the car was towed, and the parking brake was engaged. We’ll demonstrate start and end lining change mode, steps 1 &. Porsche Cayenne Parking Brake Adjustment.
From www.youtube.com
Porsche Cayenne Electronic Parking Brake YouTube Porsche Cayenne Parking Brake Adjustment You have to lift the car, then rotate the wheel until you see the screw adjustment. I'm thinking the car was towed, and the parking brake was engaged. Adjust brake shoes (on both wheels). Porsche cayenne 2011 epb programming after replacement by launch x431. We’ll demonstrate start and end lining change mode, steps 1 & 2 of 5 when adjusting. Porsche Cayenne Parking Brake Adjustment.
From www.youtube.com
Porsche Cayenne Parking brake calibration done Part4 YouTube Porsche Cayenne Parking Brake Adjustment We’ll be using the iscan. We’ll demonstrate start and end lining change mode, steps 1 & 2 of 5 when adjusting electronic parking brake lining gap. Adjust brake shoes (on both wheels). I bought the car with the parking brake fault code. You have to lift the car, then rotate the wheel until you see the screw adjustment. The addition. Porsche Cayenne Parking Brake Adjustment.
From www.youtube.com
Porsche Cayenne Parking brake in service mode after replacing rear Porsche Cayenne Parking Brake Adjustment I bought the car with the parking brake fault code. Because of the parking brake and it's action on the rear pad, you need to manually set the. The addition of the parking brakes seems like an afterthought with the design of the 914 calipers. Porsche cayenne 2011 epb programming after replacement by launch x431. You have to lift the. Porsche Cayenne Parking Brake Adjustment.
From www.youtube.com
DIY changing rear brakes (and adjusting parking brake) on a water Porsche Cayenne Parking Brake Adjustment To do this, unscrew the plugs (arrow) and turn the brake disc with the opening towards the adjustment device position. Porsche cayenne 2011 epb programming after replacement by launch x431. I bought the car with the parking brake fault code. The addition of the parking brakes seems like an afterthought with the design of the 914 calipers. We’ll be using. Porsche Cayenne Parking Brake Adjustment.
From parts.byersporsche.com
Porsche Cayenne Parking Brake Actuator. Cayenne Hybrid; Left. Left. W Porsche Cayenne Parking Brake Adjustment Porsche cayenne 2011 epb programming after replacement by launch x431. You have to lift the car, then rotate the wheel until you see the screw adjustment. We’ll demonstrate start and end lining change mode, steps 1 & 2 of 5 when adjusting electronic parking brake lining gap. Adjust brake shoes (on both wheels). I'm thinking the car was towed, and. Porsche Cayenne Parking Brake Adjustment.
From www.pelicanparts.com
Porsche Boxster Parking Brake Adjustment 986 / 987 (199708) Pelican Porsche Cayenne Parking Brake Adjustment The addition of the parking brakes seems like an afterthought with the design of the 914 calipers. Porsche cayenne 2011 epb programming after replacement by launch x431. I bought the car with the parking brake fault code. We’ll demonstrate start and end lining change mode, steps 1 & 2 of 5 when adjusting electronic parking brake lining gap. Adjust brake. Porsche Cayenne Parking Brake Adjustment.
From www.renntech.org
2005 Cayenne Handbrake/parking brake issue 9PA, 9PA1 (Cayenne Porsche Cayenne Parking Brake Adjustment The addition of the parking brakes seems like an afterthought with the design of the 914 calipers. We’ll be using the iscan. Adjust brake shoes (on both wheels). To do this, unscrew the plugs (arrow) and turn the brake disc with the opening towards the adjustment device position. Porsche cayenne 2011 epb programming after replacement by launch x431. I bought. Porsche Cayenne Parking Brake Adjustment.
From www.aliexpress.com
For Porsche Cayenne Car Parking Brake Switch Button Control Adjust Knob Porsche Cayenne Parking Brake Adjustment Porsche cayenne 2011 epb programming after replacement by launch x431. Because of the parking brake and it's action on the rear pad, you need to manually set the. We’ll be using the iscan. You have to lift the car, then rotate the wheel until you see the screw adjustment. The addition of the parking brakes seems like an afterthought with. Porsche Cayenne Parking Brake Adjustment.
From www.pelicanparts.com
Porsche Cayenne Parking Brake Adjustment 20032008 Pelican Parts Porsche Cayenne Parking Brake Adjustment The addition of the parking brakes seems like an afterthought with the design of the 914 calipers. I'm thinking the car was towed, and the parking brake was engaged. We’ll demonstrate start and end lining change mode, steps 1 & 2 of 5 when adjusting electronic parking brake lining gap. Adjust brake shoes (on both wheels). We’ll be using the. Porsche Cayenne Parking Brake Adjustment.
From www.youtube.com
Porsche Cayenne Electronic Parking brake failed Part1 YouTube Porsche Cayenne Parking Brake Adjustment Porsche cayenne 2011 epb programming after replacement by launch x431. Because of the parking brake and it's action on the rear pad, you need to manually set the. We’ll demonstrate start and end lining change mode, steps 1 & 2 of 5 when adjusting electronic parking brake lining gap. You have to lift the car, then rotate the wheel until. Porsche Cayenne Parking Brake Adjustment.
From www.pelicanparts.com
Porsche Cayenne Parking Brake Adjustment 20032008 Pelican Parts Porsche Cayenne Parking Brake Adjustment I bought the car with the parking brake fault code. Porsche cayenne 2011 epb programming after replacement by launch x431. You have to lift the car, then rotate the wheel until you see the screw adjustment. The addition of the parking brakes seems like an afterthought with the design of the 914 calipers. We’ll demonstrate start and end lining change. Porsche Cayenne Parking Brake Adjustment.
From www.pelicanparts.com
Porsche Cayenne Parking Brake Adjustment 20032008 Pelican Parts Porsche Cayenne Parking Brake Adjustment I'm thinking the car was towed, and the parking brake was engaged. Because of the parking brake and it's action on the rear pad, you need to manually set the. We’ll be using the iscan. Adjust brake shoes (on both wheels). The addition of the parking brakes seems like an afterthought with the design of the 914 calipers. We’ll demonstrate. Porsche Cayenne Parking Brake Adjustment.
From www.pelicanparts.com
Porsche Cayenne Parking Brake Adjustment 20032008 Pelican Parts Porsche Cayenne Parking Brake Adjustment To do this, unscrew the plugs (arrow) and turn the brake disc with the opening towards the adjustment device position. The addition of the parking brakes seems like an afterthought with the design of the 914 calipers. I bought the car with the parking brake fault code. I'm thinking the car was towed, and the parking brake was engaged. We’ll. Porsche Cayenne Parking Brake Adjustment.
From www.youtube.com
Porsche Cayenne Parking brake Part3 YouTube Porsche Cayenne Parking Brake Adjustment You have to lift the car, then rotate the wheel until you see the screw adjustment. We’ll be using the iscan. Porsche cayenne 2011 epb programming after replacement by launch x431. The addition of the parking brakes seems like an afterthought with the design of the 914 calipers. We’ll demonstrate start and end lining change mode, steps 1 & 2. Porsche Cayenne Parking Brake Adjustment.
From www.pelicanparts.com
Porsche Cayenne Parking Brake Strut Replacement 20032008 Pelican Porsche Cayenne Parking Brake Adjustment Porsche cayenne 2011 epb programming after replacement by launch x431. Because of the parking brake and it's action on the rear pad, you need to manually set the. Adjust brake shoes (on both wheels). To do this, unscrew the plugs (arrow) and turn the brake disc with the opening towards the adjustment device position. We’ll demonstrate start and end lining. Porsche Cayenne Parking Brake Adjustment.
From www.pelicanparts.com
Porsche Cayenne Parking Brake Strut Replacement 20032008 Pelican Porsche Cayenne Parking Brake Adjustment Adjust brake shoes (on both wheels). To do this, unscrew the plugs (arrow) and turn the brake disc with the opening towards the adjustment device position. Porsche cayenne 2011 epb programming after replacement by launch x431. You have to lift the car, then rotate the wheel until you see the screw adjustment. We’ll be using the iscan. I'm thinking the. Porsche Cayenne Parking Brake Adjustment.
From www.yourmechanic.com
How to Adjust a Parking Brake Shoe YourMechanic Advice Porsche Cayenne Parking Brake Adjustment You have to lift the car, then rotate the wheel until you see the screw adjustment. I bought the car with the parking brake fault code. Adjust brake shoes (on both wheels). The addition of the parking brakes seems like an afterthought with the design of the 914 calipers. We’ll be using the iscan. We’ll demonstrate start and end lining. Porsche Cayenne Parking Brake Adjustment.
From www.pelicanparts.com
Porsche Cayenne Parking Brake Strut Replacement 20032008 Pelican Porsche Cayenne Parking Brake Adjustment You have to lift the car, then rotate the wheel until you see the screw adjustment. The addition of the parking brakes seems like an afterthought with the design of the 914 calipers. We’ll demonstrate start and end lining change mode, steps 1 & 2 of 5 when adjusting electronic parking brake lining gap. I bought the car with the. Porsche Cayenne Parking Brake Adjustment.
From www.pelicanparts.com
Porsche Cayenne Parking Brake Adjustment 20032008 Pelican Parts Porsche Cayenne Parking Brake Adjustment We’ll be using the iscan. I'm thinking the car was towed, and the parking brake was engaged. We’ll demonstrate start and end lining change mode, steps 1 & 2 of 5 when adjusting electronic parking brake lining gap. Because of the parking brake and it's action on the rear pad, you need to manually set the. I bought the car. Porsche Cayenne Parking Brake Adjustment.
From www.pelicanparts.com
Porsche Cayenne Parking Brake Strut Replacement 20032008 Pelican Porsche Cayenne Parking Brake Adjustment We’ll demonstrate start and end lining change mode, steps 1 & 2 of 5 when adjusting electronic parking brake lining gap. Adjust brake shoes (on both wheels). You have to lift the car, then rotate the wheel until you see the screw adjustment. We’ll be using the iscan. To do this, unscrew the plugs (arrow) and turn the brake disc. Porsche Cayenne Parking Brake Adjustment.
From www.ebay.it
95861325100 For Porsche Cayenne Parking Brake Switch Button Control Porsche Cayenne Parking Brake Adjustment I bought the car with the parking brake fault code. Porsche cayenne 2011 epb programming after replacement by launch x431. To do this, unscrew the plugs (arrow) and turn the brake disc with the opening towards the adjustment device position. Adjust brake shoes (on both wheels). The addition of the parking brakes seems like an afterthought with the design of. Porsche Cayenne Parking Brake Adjustment.